Oracle® ZFS Storage Appliance 설치 설⁠명⁠서

인쇄 보기 종료

업데이트 날짜: 2016년 7월
 
 

DE2-24C Disk Shelf 설치

다음 절차를 사용하여 Oracle Storage Drive Enclosure DE2-24C를 설치합니다. 이 경우 캐비닛의 수직 공간에 4 표준 마운팅 랙 장치(4RU) 또는 랙 구멍 12개가 필요합니다.

시작하기 전에

  • 설치 필수 조건Disk Shelf 개요를 검토하십시오.

  • 캐비닛이 기울어지지 않게 하려면 가장 무거운 장비인 Disk Shelf를 항상 캐비닛의 맨 아래부터 설치하십시오.

  • 지금 및 향후 Disk Shelf를 컨트롤러에 케이블로 연결하는 데 대비하려면 컨트롤러를 캐비닛의 중간에 마운트하십시오.

  • M6 크기의 나사산 구멍이 있는 캐비닛에 설치하는 경우 나사가 제공되지 않습니다.


Caution

주의  -  섀시가 무겁기 때문에 이 절차를 수행하려면 최소 두 명의 인원 또는 들어올리는 기계가 필요합니다. 이 절차를 혼자서 수행할 경우에는 장비가 손상되거나 부상을 입을 수 있습니다. 전원 공급 장치 핸들을 사용하여 섀시를 들어 올리지 마십시오.


  1. 캐비닛 아래쪽에서 모든 기울임 방지 및 고정 장치를 펼칩니다.
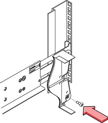
  2. 캐비닛 아래쪽에서 시작하여 적절한 RU(랙 장치) 높이(랙 구멍 8개)를 찾습니다. 나사산이 없는 범용 19인치 또는 Sun Rack II 캐비닛을 사용하는 경우 제공된 케이지 너트 하나를 해당 랙 홀에 끼웁니다.
    image:케이지 너트를 오른쪽 랙 포스트에 삽입하는 방법을 자세히 보여주는 그림
  3. 각 레일 끝에 나사를 준비합니다.
    • 사각형 구멍 나사산이 없는 캐비닛 - 준비 사항이 없습니다.

    • 둥근 구멍 나사산이 없는 캐비닛 - 각 레일 끝에서 나사를 빼내어 버립니다. 둥근 구멍 캐비닛용 나사를 찾아 옆에 놓습니다.

    • 나사산이 있는 캐비닛 - 나사를 빼서 반대 방향(레일 플랜지 안쪽에서)에 끼워 위치 핀 역할을 하도록 합니다. 또한 각 앞쪽 레일 끝에서 클립 너트를 빼내어 버립니다.

  4. 레일 플랜지를 캐비닛 플랜지 안쪽에 배치하고 레일 레이블이 캐비닛 안쪽을 향하게 하여 레일 앞쪽을 캐비닛 안쪽에 배치합니다.
    • 사각형 구멍 나사산이 없는 캐비닛 - 나사 헤드를 랙 구멍 안에 끼웁니다.

    • 둥근 구멍 나사산이 없는 캐비닛 - 랙을 관통하여 각 레일의 앞쪽에 나사 2개를 설치합니다. 랙의 케이지 너트에 설치하거나 레일에 클립 너트를 설치하지 마십시오.

    • 나사산이 있는 캐비닛 - 위치 핀을 랙 구멍 안에 끼웁니다.

  5. 레일 길이를 조정하여 맞춥니다.
    image:랙에 맞도록 확장 중인 레일을 보여주는 그림
  6. 랙을 관통하여 각 레일의 뒤쪽에 나사 1개를 설치합니다.
  7. 레일의 잠금 나사 2개를 조입니다.
    image:레일에서 잠금 나사 2개의 위치를 보여주는 그림
  8. 들어올리는 기계를 사용하거나 두 명의 인원이 Disk Shelf 양쪽을 잡아서 조심스럽게 들어올리고 왼쪽과 오른쪽 레일의 아래 선반에 Shelf를 놓습니다. 전원 공급 장치 핸들을 사용하여 들어 올리지 마십시오.
    image:랙에 Shelf를 설치하는 올바른 방법을 보여주는 그림
  9. Shelf를 캐비닛쪽으로 조심스럽게 밉니다. Shelf가 레일 안쪽에 완전히 장착되었는지 확인합니다. 다시 장착하기 위해 Shelf를 빼는 경우 Shelf를 계속 받칩니다.
  10. 앞쪽 측면 캡을 빼고, 나사 2개를 앞쪽 각 측면에 설치하고, 캡을 다시 끼웁니다.
  11. 레일마다 긴 패치락 나사 하나를 설치하여 Shelf 뒤쪽을 랙 뒤쪽에 고정합니다.
    image:레일에 설치할 긴 패치락 나사를 보여주는 그림