2 Gateway Screening (GWS) Overview
Chapter 2, Gateway Screening (GWS) Overview, contains an overview of the Gateway Screening feature and the procedures for provisioning the GLS card, gateway screening stop action sets, the threshold for gateway screening activity, and the maximum number of gateway screening rejected messages.
Introduction
This chapter provides an overview of the gateway screening feature and procedures for provisioning these items in the database:
- GLS cards
- Gateway screening stop action sets
- The threshold for gateway screening activity
- Setting the maximum number of gateway screening rejected messages
The gateway screening tables are loaded onto Link Interface Modules (LIMs) or service modules. Service modules can be any of these cards:
- EAGLE-Service Module 4 GB (E5-SM4G or E5-SM8G-B cards)
The use of the service modules in the EAGLE is dependent on the combination of global title translation features that are being used in the EAGLE. for more information on the global title translation features, go to Database Administration - GTT User's Guide.
The gateway screening tables provide screening of MTP (LIMs) and SCCP (service modules) messages.
MTP Screening consists of the following items:
- Allowed Originating Point Code (OPC)
- Blocked Originating Point Code (BLKOPC)
- Allowed Signaling Information Octet (SIO)
- Allowed Destination Point Code (DPC)
- Blocked Destination Point Code (BLKDPC)
- Allowed Affected Destination Field (DESTFLD)
- Allowed ISUP Message Type (ISUP) - ISUP and TUP messages can be screened by the allowed ISUP message type screen.
SCCP Screening consists of the following items:
- Allowed Calling Party Address (CGPA)
- Allowed Translation Type (TT)
- Allowed Called Party Address (CDPA)
- Allowed Affected Point Code (AFTPC).
The procedures shown in this manual use a variety of commands. If more information than what is shown in these procedures is needed, go to Commands User's Guide to find the required information.
The EAGLE's role in the SS7 network is to provide SS7 message transport between originating and destination signaling points. EAGLEs that route messages to and from other networks also perform gateway screening. The screening process results in a message being accepted into the network or rejected. The criteria for message screening depends on the type of message received by the EAGLE, and the contents of the EAGLE screening tables.
Gateway screening functions on the EAGLE reside within the
LIM and the service modules and are defined using screening tables or screen
sets which contain a set of rules. Each screen set is uniquely identified by a
screen set name. Each rule in the screen set is identified by a screening
reference name. Each screening reference belongs to a specific category, which
indicates the criteria that is used to either accept or reject an incoming MSU.
For example, the category
blkopc rejects all MSUs with the OPCs
specified in the screening reference. The screening parameters (point codes,
routing indicator, subsystem number, etc.) are used to match information in the
SS7 message. The screening data is defined by the attributes discussed in the
Gateway Screening Attributes
section.
Each group of screening references is referred to as a
screen set and is identified by a particular screen set name (scrn). The screen set is applied to a particular
linkset. This allows the capability, for example, for specific OPCs with
particular SIOs and DPCs to be allowed into the network.
With the SEAS interface, the screen set function is
performed by a gateway linkset. A gateway linkset combines the functions of a
gateway screening screen set and an SS7 linkset specifying the
gwsa=on and
scrn parameters. Like an EAGLE gateway
screening screen set, a gateway linkset defines the screening references that
are to be used to screen the messages on the linkset. It also defines the
linkset whose messages are to be screened. A gateway linkset can only be
configured from a SEAS terminal and not from an EAGLE terminal. The linkset
attributes of a gateway linkset can be displayed on an EAGLE terminal with the
rtrv-ls command. A gateway linkset is
shown by the entry
SEAS in the
SCRN field of the
rtrv-ls command output. The gateway
screening portion of the gateway linkset can only be displayed on the SEAS
interface.
There are two basic functions, allow and block. In an
allowed screen (for example, allowed DPC), if a match is found and the next
screening function identifier (nsfi) is equal
to anything but
stop, the next screening reference
(nsr) is identified and the screening process
continues to the next screen identified by the
nsfi and
nsr parameters. If the next screening
function identifier is
stop, the message is processed and no
further screening takes place. If no match is found, the message is rejected.
In a blocked screen (for example, blocked DPC), if a match
is found and the next screening function identifier is
fail, the message is rejected and no
further screening takes place. If no match is found and the next screening
function identifier is equal to anything but
stop, the next screening reference is
identified and the screening process continues to the next screen identified by
the
nsfi and
nsr parameters. If the next screening
function identifier is equal to
stop, the message is processed and no
further screening takes place.
When the screening process stops, other actions can be assigned to the screen set. These actions, called gateway screening stop actions, define the actions the EAGLE can perform on the MSU that passes gateway screening. For more information on configuring gateway screening stop actions, go to the Configuring Gateway Screening Stop Action Sets procedure. The EAGLE currently uses these gateways screening stop actions.
RDCT– redirect the MSU for the DTA featureCNCF– convert the PIP parameter with the GN parameter or the GN parameter with the PIP parameter in the ISUPIAM message for the Calling Name Conversion Facility feature.TLNP– ISUPIAMs that pass gateway screening are processed either by the ISUPNP with EPAP feature (if the ISUPNP with EPAP feature is enabled and turned on) or by the Triggerless LNP feature (if the Triggerless LNP feature is turned on).TINP– ISUP IAMs that pass gateway screening are intercepted by the Triggerless ISUP based Number Portability (TINP) feature and converted to include the routing number (RN) if the call is to a ported number. This gateway screening stop action can be specified only if the TINP feature is enabled.
The allowed OPC and DPC screens are useful in the gateway screening process when specifying particular sets of point codes that are allowed to send messages to another network or receive messages from another network. The blocked OPC and DPC screens are useful in the gateway screening process specifying particular sets of point codes that are not allowed to send SS7 messages to another network or receive SS7 messages from another network.
TUP Message Screening
TUP messages are screened using the Allowed ISUP Message
Type screen. The TUP protocol is an obsolete predecessor to the ISUP protocol
that remains in use in some areas. To screen for TUP messages, a screen set
must be defined to screen for messages containing the service indicator value
of 4. This is accomplished by defining an allowed SIO screen in the screen set
containing the
si=4 parameter.
Since both ISUP and TUP messages are screened using the allowed ISUP message type screen, it is recommended that the screen set contain an allowed SIO screen to screen for ISUP messages, messages containing the service indicator value of 5. Each of these entries in the allowed SIO screen should have separate next screening functions. This allows the screening rules after the allowed SIO screen to have two separate streams, one that ends with screening ISUP messages, the other that ends with screening TUP messages.
The TUP messages can be screened for point codes before the allowed SIO screen with the allowed and blocked OPC screens, and after the SIO screen with the allowed and blocked DPC screens. However, if the screen set does not contain an allowed SIO screen that screens for TUP messages (messages with the service indicator value of 4), the message will be treated by the allowed ISUP message type screen as an ISUP message.
The following commands show how a screen set can be provisioned to screen for TUP and ISUP messages.
ent-scr-isup:sr=is01:isupmt=10:nsfi=stop
ent-scr-isup:sr=tu01:tupmt=1:nsfi=stop
ent-scr-dpc:sr=dpc4:ni=1:nc=2:ncm=3:nsfi=isup:nsr=tu01
ent-scr-dpc:sr=dpc5:ni=7:nc=1:ncm=0:nsfi=isup:nsr=is01
ent-scr-sio:sr=si02:nic=2:pri=0:si=4:nsfi=dpc:nsr=dpc4
ent-scr-sio:sr=si02:nic=2:pri=0:si=5:nsfi=dpc:nsr=dpc5
ent-scrset:scrn=ist2:nsr=si02:nsfi=sio
In this example screen set configuration, messages are
screened by the allowed SIO screen
si02 for either ISUP or TUP messages.
ISUP messages are further screened by the allowed DPC screen
dpc5 and TUP messages are screened by
the allowed DPC screen
dpc4. The ISUP messages containing the
ANSI point code 001-002-003 are passed onto the allowed ISUP screen
is01. The TUP messages containing the
ANSI point code 007-001-000 are passed onto the allowed ISUP screen
tu01.
Note:
The gateway screening rules are entered in reverse of the order that the screening process takes place.Gateway Screening States
Gateway screening on a particular linkset can be set to function in one of four states:
NO
SCREENING – Screening is not performed. All message signaling units (MSUs)
are passed. This state is set by the
gwsa=off and
gwsm=off parameters of the
ent-ls or
chg-ls commands.
SCREEN
AND REPORT – Screening is performed. When an MSU fails screening it is
discarded, an output message is generated, and measurements are pegged. This
state is set by the
gwsa=on and
gwsm=on parameters of the
ent-ls or
chg-ls commands.
SCREEN
AND DON'T REPORT – Screening is performed. When an MSU fails screening it
is discarded and measurements are pegged, but no output message is generated.
This state is set by the
gwsa=on and
gwsm=off parameters of the
ent-ls or
chg-ls commands.
SCREEN
TEST MODE – Screening is performed, but all MSUs are passed. When an MSU
fails screening, an output message is generated, but the MSU is still passed.
This state is set by the
gwsa=off and
gwsm=on parameters of the
ent-ls or
chg-ls commands.
Caution:
When Gateway Screening is in the screen test mode, any action in the gateway screening stop action set specified by theactname parameter at the end of the
gateway screening process will be performed.
The
gwsa and
gwsm parameters are described in the
Linkset Parameters
section.
Linkset Parameters
Optional parameters of the enter linkset (ent-ls) command or the change linkset (chg-ls) command are used to set the screening state.
These parameters are:
SCRN – the name of the gateway screening screen set that is associated with the linkset.
GWSA – Gateway screening action – The value
on allows gateway screening to be
performed on the linkset. The value
off, does not allow gateway screening to
be performed on the linkset. This parameter can only be specified if the
scrn parameter is specified.
GWSM – Gateway screening messaging – The value
on allows output messages to be
generated. The value
off does not allow output messages to be
generated. This parameter can only be specified if the
scrn parameter is specified.
GWSD – Gateway screening MSU discard – If gateway
screening cannot be performed and the
gwsd parameter is set to
on, all MSUs on the linkset are
discarded. These are two examples of why gateway screening could not be
performed.
- No GLS cards are configured and installed in the EAGLE.
- The screen set is too big to be loaded onto the LIM or
service module.
The value
offdoes not allow messages to be discarded. This parameter can only be specified if thescrnandgwsa=onparameters are specified.Note:
Discarding all MSUs on a linkset will not allow any MSUs on the linkset to be routed. It is recommended that the value specified for thegwsdparameter isoff. Thegwsdparameter should only set toonif you wish screen MSUs for gateway screening rather than routing MSUs through the EAGLE.
Refer to
Commands User's Guide for more information on
the
ent-ls or
chg-ls commands.
Gateway Screening Attributes
Each screen has attributes which hold information required to perform a particular screening function. The following attributes are required in order to implement all of the screening functions.
The screen set name(scrn)
is a four character (one alpha and up to three alphanumeric) value that
specifies the name of the screen set.
The screening reference (sr) is a four character (one alpha and up to three
alphanumeric) value. Combined with the next screening function identifier
(nsfi), it uniquely defines a screening table.
The network identifier for ANSI point codes (ni) is an integer between 0 and 255, the asterisk “*”,
or the character “c”.
The network cluster for ANSI point codes (nc) is an integer between 0 and 255, the asterisk “*”,
or the character “c”.
The network cluster member for ANSI point codes (ncm)
is an integer between 0 and 255, the asterisk “*”, or the character “c”.
The zone for ITU international point codes (zone) is an integer between 0 and 7, the asterisk “*”,
or the character “c”.
The area for ITU international point codes (area) is an integer between 0 and 255, the asterisk
“*”, or the character “c”.
The ID for ITU international point codes (id) is an integer between 0 and 7, the asterisk “*”, or
the character “c”.
The 14-bit ITU national point code (npc) is an integer between 1 and 16383, the asterisk
“*”, or the character “c”. The EAGLE supports
different formats for 14-bit ITU national point codes as defined by the
npcfmti parameter of the
chg-stpopts command. No matter what
format is defined by the
npcfmti parameter, the 14-bit ITU
national point code must be entered as an integer for gateway screening. If the
format of the 14-bit ITU national point code that you wish to enter for gateway
screening is not a single integer, the point code value must be converted into
a single integer value. For more information on converting 14-bit ITU national
point code values, see the
14-Bit ITU National Point Code Formats
section. For more information on the different ITU national point code formats,
see the 14-Bit ITU National Point Code Formats section in Chapter 2,
Configuring Destination Tables in
Database Administration - SS7 User's Guide.
Gateway Screening supports using ITU international spare point codes in addition
to ITU international point codes, and 14-bit ITU national spare point codes in
addition to 14-bit ITU national point codes. The
pcst parameter is used to specify the
whether or not the ITU international and 14-bit ITU national point codes are
spare point codes (pcst=s parameter) or not
(pcst=none parameter). For more information
about ITU international and 14-bit ITU national spare point codes, see Chapter
2, Configuring Destination Tables in
Database Administration - SS7 User's Guide.
Gateway Screening does not support using private point codes.
The main signaling area value for 24-bit ITU national
point codes (msa) is an integer between 0 and
255, the asterisk “*”, or the character “c”.
The sub-signaling area value for 24-bit ITU national point
codes (ssa) is an integer between 0 and 255,
the asterisk “*”, or the character “c”.
The signaling point value for 24-bit ITU national point
codes (sp) is an integer between 0 and 255,
the asterisk “*”, or the character “c”.
The ISUP message type (isupmt)/TUP message type (tupmt) is an integer between 0 and 255, or the
character “*”. This parameter specifies either an ISUP message type or a TUP
message type for the ISUP screening reference specified in the
sr parameter.
The service indicator (si) is an integer between 0 and 15. This parameter
specifies a service indicator for the SIO screening reference specified in the
sr parameter. The service indicator is
the first 4 bits of an SIO.
The network indicator code (nic) is an integer between 0 and 3 or an “*”
(asterisk). This parameter specifies a network indicator code for the SIO
screening reference specified in the
sr parameter. The network indicator code
is the last 2 bits of an SIO.
The H0 heading code (h0)
is an integer between 0 and 15, or an “*” (asterisk). This parameter specifies
the first four bits of a message type for the SIO screening reference.
The H1 heading code (h1)
is an integer between 0 and 15, or an “*” (asterisk). This parameter specifies
last four bits of a message type for the SIO screening reference.
The message priority (pri) is an integer between 0 and 3. This parameter
specifies the message priorities for the SIO screening reference.
The subsystem number (ssn) is an integer between 0 and 255 or an “*”
(asterisk). This parameter identifies the SCP application that should receive
the message.
The routing indicator (ri) is destination point code (DPC), global title
translation (GT), or “*” (asterisk). This parameter indicates whether a
subsequent global title translation is required.
- gt – indicates that a subsequent translation is required.
- dpc – indicates that no further translation is required.
- * (asterisk) – indicates all possible values (DPC and GT).
The translation type (type) is an integer between 0 and 255 or a “*”
(asterisk). Identifies the type of global title translation. It is the decimal
representation of the 1-byte field used in SS7.
The SCCP message type (sccpmt) is an integer with the values 9 (UDT messages),
10 (UDTS messages), 17 (XUDT messages), 18 (XUDTS messages), or “*” (asterisk).
This parameter specifies one of these message types and is part of the calling
party address screen.
The SCCP management (SCMG) format ID (scmgfid) is an integer from 1 to 255 or “*” (asterisk).
This parameter specifies the function and format of an SCMG message and is part
of the called party address screen.
The next screening function identifier (nsfi) is the screen function that is required to
continue processing the message. It is the next step in processing the message.
The values for this attribute are:
opc,
blkopc,
sio,
dpc,
blkdpc,
destfld,
isup
cgpa,
tt,
cdpa,
aftpc,
stop, and
fail.
The next screening reference (nsr) is a four character (one alpha and up to three
alphanumeric) value. Combined with the next screening function identifier
(nsfi), it uniquely defines the next screening
table to be used in the gateway screening process.
The gateway screening stop action set name (actname) is a six character (one alpha and up to five
alphanumeric characters) value. Specified only with the
nsfi=stop parameter, the gateway
screening stop action set defines the additional actions the EAGLE can perform
on MSUs that pass gateway screening.
The asterisk, or “*”, is a single entry that indicates all possible values for that parameter.
These attributes are not used on all screens. The following list shows which attributes are required for each screening function. There are two types of attributes, search keys and results. The search keys are used to match fields in the SS7 message in order to determine the screening function result. The result is determined by matching a search key with information in the current SS7 message. The result indicates the next step in the screening process.
- Screen Set screening function
- Search Key - SCRN
- Result - NSFI, NSR, ACTNAME
- Allowed OPC screening function
- Search Key - SR, NI, NC, NCM,.ZONE, AREA, ID, NPC, MSA, SSA, SP, PCST
- Result - NSFI, NSR, ACTNAME
- Blocked OPC screening function
- Search Key - SR, NI, NC, NCM,.ZONE, AREA, ID, NPC, MSA, SSA, SP, PCST
- Result - NSFI, NSR, ACTNAME
- Allowed SIO screening function
- Search Key - SR, NIC, SI, H0, H1, PRI
- Result - NSFI, NSR, ACTNAME
- Allowed DPC screening function
- Search Key - SR, NI, NC, NCM,.ZONE, AREA, ID, NPC, MSA, SSA, SP, PCST
- Result - NSFI, NSR, ACTNAME
- Blocked Allowed DPC screening function
- Search Key - SR, NI, NC, NCM,.ZONE, AREA, ID, NPC, MSA, SSA, SP, PCST
- Result - NSFI, NSR, ACTNAME
- Allowed DESTFLD screening function
- Search Key - SR, NI, NC, NCM,.ZONE, AREA, ID, NPC, MSA, SSA, SP, PCST
- Result - NSFI, ACTNAME
- Allowed ISUP screening function
- Search Key - SR, ISUPMT, TUPMT
- Result - NSFI, ACTNAME
Note:
The Allowed ISUP Screening function table contains both the ISUP message type (ISUPMT) and TUP message type (TUPMT). Only one of these parameters can be specified for an allowed ISUP screen. The parameter value to be used is dependent on the service indicator (SI) value specified in the allowed SIO screen: SI=5 for an ISUP message type, SI=4 for a TUP message type.
- Allowed CGPA screening function
- Search Key - SR, NI, NC, NCM,.ZONE, AREA, ID, NPC, MSA, SSA, SP, RI, SSN, SCCPMT, PCST
- Result - NSFI, NSR, ACTNAME
- Allowed TT screening function
- Search Key - SR, TYPE
- Result - NSFI, NSR, ACTNAME
- Allowed CDPA screening function
- Search Key - SR, NI, NC, NCM,.ZONE, AREA, ID, NPC, MSA, SSA, SP, SSN, SCMGFID, PCST
- Result - NSFI, NSR, ACTNAME
- Allowed AFTPC screening function
- Search Key - SR, NI, NC, NCM,.ZONE, AREA, ID, NPC, MSA, SSA, SP, SSN, PCST
- Result - NSFI, ACTNAME
Note:
The NSR attribute can only be specified when the NSFI is not STOP. The NSR cannot be specified with the ACTNAME attribute. The ACTNAME attribute can only be specified when the NSFI is STOP. The ACTNAME parameter cannot be specified with the NSR parameter. NSFI and NSR can only be defined once per screening table.
Use of the Character “c” for the NI, NC, NCM, ZONE, AREA, ID, NPC, MSA, SSA, and SP Parameters
The character
“c” is used in the
blocked OPC or DPC screens (for parameters
ni,
nc,
ncm,
zone,
area,
id,
npc,
msa,
ssa, and
sp) to allow the screening process to
continue for messages with point codes that do not match any point codes in the
blocked OPC or DPC screens. The character
“c” is used this way.
When screening for a blocked OPC or DPC and the point code being screened does
not match any of the point codes in the blocked OPC or DPC screens, the message
is not rejected and the screening process continues. To allow the screening
process to continue, the blocked OPC and blocked DPC screens must have at least
one entry consisting of a screening reference, a point code, a next screening
function identifier, and a next screening reference. The point code is in the
form of
ni=c,
nc=c,
ncm=c
(for ANSI point codes),
zone=c,
area=c,
id=c (for ITU international point
codes),
npc=c (for 14-bit ITU national point codes),
and
msa=c,
ssa=c,
sp=c (for 24-bit ITU national point
codes). When the character
“c” is specified, the
next screening function identifier and next screening reference must be
specified, unless the next screening function identifier is stop (nsfi=stop). Then the next screening reference cannot be
specified.
When the point code does not match any entries in the
blocked OPC or DPC screens, the screening process is directed to the screening
reference with the point code
c-c-c or
npc=c. The next screening function
identifier and next screening reference in this entry are examined to determine
the next step in the screening process.
When a blocked OPC or DPC screen is created, the first
entry for the
ni-nc-ncm,
zone-area-id, or
msa-ssa-sp must be
c-c-c, or the
npc must “c.” Subsequent entries can be specific point codes.
If the character
“c” is specified for
any parameters
ni,
nc,
ncm,
zone,
area,
id,
msa,
ssa, or
sp, it must be specified for all three
parameters. No other values can be used. For example, a point code
c-c-255 is not allowed. The point code must be
c-c-c. The “*” (asterisk) value cannot be used with the character
“c” (for example, a
point code
c-c-*
is not allowed).
ANSI, ITU international, or 24-bit ITU national point
codes using the value “c” can be entered by
specifying only the
ni=c parameter (for ANSI point codes),
zone=c parameter (for ITU
international point codes), or
msa=c parameter (for 24-bit ITU
national point codes), and the
nc,
ncm,
area,
id,
ssa, and
sp parameters can be omitted.
The
pcst and
npcst parameters, for specifying the
ITU international and 14-bit ITU national spare point codes, cannot be used
with point codes containing the character “c”.
Specifying a Range of Values for Gateway Screening Parameters
The values of these gateway screening parameters can be specified as a range of values.
ni – the network
identifier for an ANSI point code
nc – the network
cluster for an ANSI point code
ncm – the network
cluster member for an ANSI point code
pri – the message
priority in the SIO field of an MSU
h0 – the H0 heading
code in the SIF field of an MSU
h1 – the H1 heading
code in the SIF field of an MSU
type – the translation
type in the called party address field of an MSU
isupmt – the ISUP
message type
tupmt – the TUP message
type
A range of values is specified with the values that
define the range separated by two ampersands (&&), for example,
:ni=025&&100 specifies all
network indicators for ANSI point codes from 25 to 100.
A range of values for an ANSI point code parameter can be specified with asterisks (*) or single values for other point code parameters. Table 2-1 shows the valid combinations of these parameter values.
Table 2-1 Valid Value Combinations for ANSI Point Code Parameters
| NI | NC | NCM |
|---|---|---|
| Single Value | Single Value | Single Value |
| Single Value | Single Value | Range of Values |
| Single Value | Single Value | Asterisk |
| Single Value | Range of Values | Asterisk |
| Single Value | Asterisk | Asterisk |
| Range of Values | Asterisk | Asterisk |
| Asterisk | Asterisk | Asterisk |
A range of values for the H0 and H1 heading codes can be specified with asterisks (*) or single values for other heading code parameter. Table 2-2 shows the valid combinations of these parameter values.
Table 2-2 Valid Value Combinations for H0 and H1 Parameters
| H0 | H1 |
|---|---|
| Single Value | Single Value |
| Single Value | Range of Values |
| Single Value | Asterisk |
| Range of Values | Asterisk |
| Asterisk | Asterisk |
When changing or removing an existing gateway screening entry, the ANSI point code values, priority values, H0 and H1 heading code values, translation type, ISUP message type, or TUP message type values specified with the command must match the values configured in the database for the specified screening reference. If a command is specified with a parameter value that is part of a range of values for that parameter already configured for that screening reference, the command is rejected.
For example, the database contains a gateway screening
entry for the range of allowed OPCs 010-010-010 to 010-010-100 in Allowed OPC
screening reference
opc1. If an attempt is made to remove
or change Allowed OPC screening reference
opc1 and the ANSI point code
010-010-025 is specified. The command is rejected because point code
010-010-025 is a part of the point code range configured in the database. To
remove or change Allowed OPC screening reference
opc1, these point code parameters must
be specified with the command,
ni=010,
nc=010,
ncm=010&&100.
If the ANSI point code, priority value, H0 and H1
heading code values, or translation type values specified with an enter command
is within the range of values already configured for the specified screening
reference, the command is rejected. For example, the
ent-scr-opc command is entered with
the point code 010-010-050 assigned to screening reference
opc1. If the database contains the
range of point codes 010-010-010 to 010-010-100, specified as
ni=010,
nc=010,
ncm=010&&100, the command is
rejected. If the database contains an entry for all point codes with the
network identifier of 010 and network cluster of 010,
ni=010,
nc=010,
ncm=*, the command is rejected.
A range of values can be specified when displaying gateway screening entries. The range of values does not have to match the values configured in the database. The range of values specified with a retrieve command is used to limit the number of entries to search for. There are some restrictions for using ANSI point code values with retrieve commands. Table 2-3 shows the valid combinations of the ANSI point code parameters.
Table 2-3 Valid Parameter Combinations for ANSI Point Code Parameters
| NI | NC | NCM |
|---|---|---|
| Single value | Single value | Single value, a range of values, an asterisk, or the NCM value not specified |
| Single value | A range of values, an asterisk, or the NC value is not specified | The NCM value is not specified |
| A range of NI values, an asterisk, or the NI value is not specified | The NC value is not specified | The NCM value is not specified |
The range of values are displayed in the output of the retrieve commands the same way as they were entered. The following are examples of outputs containing ranges of values.
rtrv-scr-blkdpc:sr=iec:ni=240:nc=001:ncm=010&&018
rlghncxa03w 06-10-25 15:25:30 GMT EAGLE5 36.0.0
SCREEN = BLOCKED DPC
SR NI NC NCM NSFI NSR/ACT
IEC 240 001 010&&020 STOP -------
rtrv-scr-sio:sr=iec:nic=1:si=1
rlghncxa03w 06-10-25 15:25:30 GMT EAGLE5 36.0.0
SCREEN = ALLOWED SIO
SR NIC PRI SI H0 H1 NSFI NSR/ACT
IEC 2 0&&2 1 08&&11 * BLKDPC WDB2
IEC 2 1 1 11 03&&07 DPC ABC2
rtrv-scr-tt:all=yes
rlghncxa03w 06-10-25 15:25:30 GMT EAGLE5 36.0.0
SCREEN = ALLOWED TT
SR TYPE NSFI NSR/ACT
IEC 005&&010 STOP ------
IEC 012 STOP ------
IEC 016 CDPA IEC
WRD2 243 STOP ------
WRD4 * STOP ------
Use of the Asterisk “*”
for the ZONE, AREA, ID, MSA, SSA, and SP Parameters
A range of values for an ITU-I or 24-bit ITU-N point code parameter can be specified using a combination of asterisks (*) and single values for the point code parameters. Table 2-4 shows the valid combinations of the ITU-I parameter values.
Table 2-4 Valid Value Combinations for ITU-I Point Code Parameters
| ZONE | AREA | ID |
|---|---|---|
| Single Value | Single Value | Single Value |
| Single Value | Single Value | Asterisk |
| Single Value | Asterisk | Asterisk |
| Asterisk | Asterisk | Asterisk |
Table 2-5 shows the valid combinations of the 24-bit ITU-N parameter values.
Table 2-5 Valid Value Combinations for 24-Bit ITU-N Point Code Parameters
| MSA | SSA | SP |
|---|---|---|
| Single Value | Single Value | Single Value |
| Single Value | Single Value | Asterisk |
| Single Value | Asterisk | Asterisk |
| Asterisk | Asterisk | Asterisk |
Table 2-6 shows the valid combinations of the ITU-I point code parameters used with the retrieve commands when displaying ITU-I gateway screening entries.
Table 2-6 Valid Parameter Combinations for ITU-I Point Code Parameters
| ZONE | AREA | ID |
|---|---|---|
| Single value | Single value | Single value, an asterisk, or the ID value not specified |
| Single value | An asterisk, or the AREA value is not specified | The ID value is not specified |
| An asterisk, or the ZONE value is not specified | The AREA value is not specified | The ID value is not specified |
Table 2-7 shows the valid combinations of the 24-bit ITU-N point code parameters used with the retrieve commands when displaying 24-bit ITU-N gateway screening entries.
Table 2-7 Valid Parameter Combinations for 24-bit ITU-N Point Code Parameters
| MSA | SSA | SP |
|---|---|---|
| Single value | Single value | Single value, an asterisk, or the SP value not specified |
| Single value | An asterisk, or the SSA value is not specified | The SP value is not specified |
| An asterisk, or the MSA value is not specified | The SSA value is not specified | The SP value is not specified |
User Interface Requirements
A screening table is created, modified, displayed and removed using these on-line commands. For more information on these commands, go to Commands User's Guide.
- Screen Set –
ent-scrset,chg-scrset,dlt-scrset,rtrv-scrset - Allowed Originating Point Code –
ent-scr-opc,chg-scr-opc,dlt-scr-opc,rtrv-scr-opc - Blocked Originating Point Code –
ent-scr-blkopc,chg-scr-blkopc,dlt-scr-blkopc,rtrv-scr-blkopc - Allowed Service Information Octet –
ent-scr-sio,chg-scr-sio,dlt-scr-sio,rtrv-scr-sio - Allowed Destination Point Code –
ent-scr-dpc,chg-scr-dpc,dlt-scr-dpc,rtrv-scr-dpc - Blocked Destination Point Code –
ent-scr-blkdpc,chg-scr-blkdpc,dlt-scr-blkdpc,rtrv-scr-blkdpc - Allowed Affected Destination Field –
ent-scr-destfld,chg-scr-destfld,dlt-scr-destfld,rtrv-scr-destfld - Allowed ISUP/TUP Message Type –
ent-scr-isup,chg-scr-isup,dlt-scr-isup,rtrv-scr-isup - Allowed Calling Party Address –
ent-scr-cgpa,chg-scr-cgpa,dlt-scr-cgpa,rtrv-scr-cgpa - Allowed Called Party Address –
ent-scr-cdpa,chg-scr-cdpa,dlt-scr-cdpa,rtrv-scr-cdpa - Allowed Translation Type –
ent-scr-tt,chg-scr-tt,dlt-scr-tt,rtrv-scr-tt - Allowed Affected Point Code –
ent-scr-aftpc,chg-scr-aftpc,dlt-scr-aftpc,rtrv-scr-aftpc - Gateway Screening Stop Action Sets –
chg-gws-actset,rtrv-gws-actset
Command Summary
This section briefly describes each type of command used
in this chapter. There are four commands for each screening function. One to
enter the screening information (ent), one to
change the screening information after it has been entered (chg), one to delete screening information (dlt), and one to display the screening information
(rtrv).
If the command is not accepted, a “Command Rejected” message is displayed. If the command is accepted, a time stamp and a “Command Completed” message is displayed. For example:
E2361 Cmd Rej: Screen set name not defined
or
rlghncxa03w 06-10-25 15:25:30 GMT EAGLE5 36.0.0
ENT-SCR-OPC: MASP A - COMPLTD
Any time a screen set is affected by a command (for
example, an entry is added to, removed from, or changed in the screen set) a
“Screen Set Affected” message is displayed indicating the percentage of memory
that screen set occupies (100% = the maximum space available). This information
is useful in determining how “full” the screen set is at any given time. The
percentages are calculated after the command is executed. For example, the
output message, ENT-SCR-OPC: SCREEN SET AFFECTED - SS01 25% FULL, indicates
that after an entry was added to screen set SS01 by the
ent-scr-opc command, it occupied 25%
of the maximum space available. The following is an example of the output that
can be received when a screen set is affected.
Extended Processing Time Required -- Please Wait
Notice: The number of screensets affected is 2.
ENT-SCR-OPC: SCREEN SET AFFECTED - ss01 25% FULL
ENT-SCR-OPC: SCREEN SET AFFECTED - ss04 35% FULL
ENT-SCR-OPC: MASP A - COMPLTD
When a new screen set is created it immediately occupies
space which may or may not be over the allowed limit. The user must know how
much space has been occupied by the new screen set. For example, if the screen
set
SCR1 is created, the output of the
ent-scrset command has the following
format:
Extended Processing Time Required -- Please Wait
Notice: The number of screensets affected is 1.
ENT-SCRSET: SCREEN SET AFFECTED - scr1 95% FULL
ENT-SCRSET: MASP A - COMPLTD
Note:
A screen set can be over 100% full, but it is not recommended that the screen set remain in this condition. The gateway screening process will not function properly using a screen set that is over 100% full. Some entries must be removed from the screen set to reduce the screen set capacity to 100% or below.Enter Commands
All of the parameters in the enter command are mandatory. If the enter command contains a screening reference that does not exist, a new screening table is created. If the screening reference exists, and an entry that matches the specified parameters does not already exist, a new entry is added to the screening table. If an entry exists already, the command is rejected.
Change Commands
At least one parameter must be changed in the change commands. Parameters that are considered part of the search key must be specified in every chg command (for example, the ni, nc, ncm, zone, area, id, npc, msa, ssa, and sp parameters for the chg-scr-opc command). Each of these parameters has a corresponding “new” parameter (for example, nni, nnc, nncm, nzone, narea, nid, nnpc, nmsa, nssa, nsp) which may be specified in order to change the entry in the screening table. Parameters that are not part of the search key may be specified, but do not have “new” values. For example, the nsfi, nsr, ri, and actname parameters do not have “new” parameters (for example, nnsfi, nnsr, nri, or nactname). If a “new” parameter is not specified, it assumes the value of the corresponding search key parameter. For example, if the nni parameter is not specified, then the ni parameter does not change since the nni parameter assumes the value of the ni parameter. If, however, a “new” parameter is specified, it must follow the same rules as the search keys. For example, if the nni and nncm parameters are not specified, and the nnc parameter is specified as an “*” (asterisk), then the ncm parameter must be an “*” (asterisk). The new data must not already exist in the screening table. If an entry already exists which matches the new data, the command is rejected.
Delete Commands
The use of the asterisk value in a delete command implies the deletion of a specific entry containing that asterisk value, not the deletion of multiple entries whose values may be in the range implied by the asterisk. For example, entering dlt-scr-opc:sr=opc1:ni=*:nc=*:ncm=* cannot be used to remove all entries in opc1.
When the last entry is deleted from a screening table, the entire table is deleted, unless it is referenced by another screening table. If a screening table is referenced and an attempt is made to delete the last entry in the screening table, an error message is displayed.
Retrieve Commands
The retrieve commands for each screening function have
the same parameters as the enter commands with an additional parameter called
all. The
all parameter defaults to
no, and can only be specified if no
other parameters are specified. If the
all parameter is specified and is
yes, then a detailed output consisting
of every entry in each rule of the indicated screening function type is
displayed. There are no rules associated with parameter combinations (for
example, if the
nc parameter is equal to * then the
ncm parameter must be “*”). If an
entry is specified using a “*”, then only the entries where that parameter is a
“*” is output.
If the NSFI has a value other than STOP or FAIL, then
the name of the screening reference to be used in the next step of the gateway
screening process (NSR) must be specified. The value of the NSR is shown in the
NSR/ACT field.
If the NSFI is STOP, no NSR value can be specified. The
gateway screening stop action sets can be specified with the
actname parameter if the NSFI is STOP.
If a gateway screening stop set has been assigned to the screen, the
NSR/ACT field shows the name of the
gateway screening stop action set. for more information on the gateway
screening stop action sets, go to the
Configuring Gateway Screening Stop Action Sets
procedure.
If the NSFI is FAIL or STOP and no NSR or ACTNAME value
is assigned to the screen, the entry
------ is shown in the
NSR/ACT field.
The following is an example of a detailed output using
the
rtrv-scr-opc command with the
all=yes parameter specified.
rlghncxa03w 06-10-25 15:25:30 GMT EAGLE5 36.0.0
SCREEN = ALLOWED OPC
SR NI NC NCM NSFI NSR/ACT
IEC 240 001 010&&200 STOP ------
IEC 241 * * CGPA cg04
SR ZONE AREA ID NSFI NSR/ACT
IEC 1 003 4 BLKOPC blk1
IEC 1 003 5 STOP COPY
SR NPC NSFI NSR/ACT
IEC 00235 CGPA cg04
IEC 00240 CGPA cg01
SR NI NC NCM NSFI NSR/ACT
WRD2 243 015&&075 * STOP RDCT
WRD3 243 105 002 CGPA WRD4
SR NPC NSFI NSR/ACT
WRD4 00245 BLKOPC blk3
WRD4 00247 STOP CR
For the
rtrv-scrset:all=yes command, the
output consists of every screen set and every screening table in each screen
set, in addition to the fields displayed from the
rtrv-scrset command with no
parameters. The following is an example of the detailed output of the
rtrv-scrset:all=yes command.
rlghncxa03w 06-10-25 15:25:30 GMT EAGLE5 36.0.0
SCRN NSFI NSR/ACT RULES DESTFLD
SS01 OPC IEC 120 Y
DPC GOOP 33
SIO WRD1 5
SS02 STOP ------ 0 Y
SS03 DPC WRD1 56 Y
SIO WRD2 10
BLKDPC WRD5 30
Parameters that are not specified default to “all
possible values” for that parameter. If no parameters are specified (except for
the
rtrv-scrset command), a summary output
is displayed. A summary output consists of three columns of information, the
screening references for the specified screen (SR), and an indicator of whether the screen table is
referenced or not (REF), and the number of
entries in the screening reference (RULES).
The following is an example of a summary output using the
rtrv-scr-opc command with no
parameters.
rlghncxa03w 06-10-25 15:25:30 GMT EAGLE5 36.0.0
SCREEN = ALLOWED OPC
SR REF RULES
IEC YES 2
WRD2 YES 1
WRD3 NO 4
WRD4 YES 9
For the
rtrv-scrset command, if no parameters
are specified, the output displays the following information.
- The capacity of the gateway screening database, as a percentage of the maximum capacity
- The percentage of the maximum number of the CDPA and AFTPC tables
- The total number of screen sets in the database with the percentage of the screen set capacity
- The number of SEAS and EAGLE screen sets being used
- The screen set name (
SCRN) - The next screening function that should be used in
the gateway screening process (
NSFI) - The next screening reference or the gateway screening
stop action set name (
NSR/ACT) - The memory capacity (percentage) of each screen set
(
FULL) - The number of entries (rules) in the screen set
(
RULES) - The number of tables in the screen set (
TABLES) - Whether the automatic allowed affected destination
screening (
DESTFLD) for network management messages is applied against the routing table, self point codes, and capability point codes. When this parameter is on, the automatic screening is applied at the end of the provisioned screen set.
The following is an example of the output of the
rtrv-scrset command with no
parameters.
rlghncxa03w 06-10-25 15:25:30 GMT EAGLE5 36.0.0
ENTIRE GWS DATABASE IS 1% FULL
CDPA + AFTPC TABLES ARE 1% FULL
SCREEN SET TABLE IS (7 OF 255) 2% FULL
THERE ARE 0 SEAS SCREEN SETS USED ( prefix 00nn )
THERE ARE 7 EAGLE SCREEN SETS USED
SCRN NSFI NSR/ACT FULL RULES TABLES DESTFLD
ss01 OPC opc1 51% 2075 22 Y
ss02 OPC opc2 2% 75 22 Y
ss03 OPC opc3 2% 75 22 Y
ss04 OPC opc1 51% 2075 22 N
ss07 OPC opc1 51% 2075 22 Y
ss09 OPC opc1 51% 2075 22 N
ss28 OPC opc1 51% 2075 22 Y
The outputs of the retrieve commands contains the following fields. There are certain fields that are used with specific commands and these are noted in the description of the field.
AREA
– The area value of an ITU international point code, expressed as
zone-area-id. This field is used with
all screening functions except screen set, allowed SIO, and allowed TT
screening functions.
DESTFLD – Whether the automatic allowed affected destination screening for network management messages is applied against the routing table, self point codes, and capability point codes. When this parameter is on, the automatic screening is applied at the end of the provisioned screen set. This field is only used with the screen set function.
FULL – The capacity of allowed memory a given screen set occupies, expressed as percentage. This field is only used with the screen set function.
H0
– The H0 heading code in the service information field. The
H0 field shows the first four bits of
the message type indicator in the SIO field. This field is only used with the
allowed SIO screening function.
H1
– The H1 heading code in the service information field. The
H1 field shows the last four bits of
the message type indicator in the SIO field. This field is only used with the
allowed SIO screening function.
ID
– The ID value of an ITU international point code, expressed as
zone-area-id. This field is used with
all screening functions except screen set, allowed SIO, and allowed TT
screening functions.
ISUPMT/TUPMT – The ISUP message type ( ISUPMT ) in the service information field of an ISUP message or the TUP message type ( TUPMT ) in the service information field of a TUP message. This field is used only with allowed ISUP screening functions.
MSA
– The main signaling area value of a 24-bit ITU national point
code, expressed as
msa-ssa-sp. This field is used with
all screening functions except screen set, allowed SIO, and allowed TT
screening functions.
NC
– The network cluster of an ANSI point code, expressed as
ni-nc-ncm. This field is used with all
screening functions except screen set, allowed SIO, and allowed TT screening
functions.
NCM
– The network cluster member of an ANSI point code, expressed as
ni-nc-ncm. This field is used with all
screening functions except screen set, allowed SIO, and allowed TT screening
functions.
NI
– The network identifier of an ANSI point code, expressed as
ni-nc-ncm. This field is used with all
screening functions except screen set, allowed SIO, and allowed TT screening
functions.
NIC – The network indicator code in the service information octet. This field is only used with the allowed SIO screening function.
NPC – The ITU national point code. This field is used with all screening functions except screen set, allowed SIO, and allowed TT screening functions.
NSFI – The next screening function identifier. The next screening function identifier specifies the next screening function that should be used in the gateway screening process. This field is used with all screening functions.
NSR/ACT – The next screening reference or the gateway screening stop action set name. The next screening reference is the name of the of the next gateway screening entity that should be used in the screening process. The gateway screening stop action set name is the name of the gateway screening stop action set assigned to the screen defining the additional action to be performed on the MSU that passes gateway screening. This field is used with all screening functions.
PRI – The priority of a message in the service information octet. This field is only used with the allowed SIO screening function.
REF
– An indicator of whether the specified screening table is
referenced by another screening table. This field is used with the summary
outputs of all retrieve commands except the retrieve screen set (rtrv-scrset) command.
RI – The routing indicator in the called party address (CDPA). This field is only used with the allowed CGPA screening function.
RULES – The number of entries in the screen. This field is only used with the screen set function.
SCCPMT – The SCCP message type. This field is only used with the allowed calling party address function.
SCMGFID – The SCCP management (SCMG) format ID, which defines the function and format of each SCMG message. This field is only used with the allowed called party address function.
SCRN – The name of the screen set. This field is only used with the screen set function.
SI – The service indicator for the service information octet, which are the last two bits of the subservice field. This field is only used with the allowed SIO screening function.
SP
– The signaling point value of a 24-bit ITU national point code,
expressed as
msa-ssa-sp. This field is used with
all screening functions except screen set, allowed SIO, and allowed TT
screening functions.
SR – The name of the screening reference. This field is used with all screening functions except the screen set screening function.
SSA
– The sub-signaling area value of a 24-bit ITU national point
code, expressed as
msa-ssa-sp. This field is used with
all screening functions except screen set, allowed SIO, and allowed TT
screening functions.
SSN – The subsystem number of a given point code. This field is only used with the allowed CGPA, allowed CDPA, and allowed AFTPC screening functions.
TABLES – The number of tables in the screen. This field is only used with the screen set function.
TYPE – The translation type that is allowed for global title translation. This field is only used with the allowed TT screening function.
ZONE
– The zone value of an ITU international point code, expressed as
zone-area-id. This field is used with
all screening functions except screen set, allowed SIO, and allowed TT
screening functions.
The ITU international and 14-bit ITU national spare
point codes are displayed in the output of the Gateway Screening retrieve
commands with the spare point code subtype prefix “s-”.
14-Bit ITU National Point Code Formats
Gateway screening only allows 14-bit ITU national point
codes to be provisioned in the database by the enter, delete, or change gateway
screening commands, and displayed by the gateway screening retrieve commands as
a single number. If a format other than a single number (14-0-0-0) for the
14-bit ITU national point code has been defined by the
npcfmti parameter of the
chg-stpopts command, the 14-bit ITU
national point code must be converted into a single number so that it can be
used by gateway screening.
For example, the format of the 14-bit ITU national point code is 4-4-4-2 and the user would like to add point code value 7-7-7-1 into the allowed OPC screen. The point code value 7-7-7-1 would have to be converted to a single number so that the point code can be added to the allowed OPC screen. To determine what multiple part 14-bit ITU national point code is represented by the single number 14-bit ITU national point code in the gateway screening table, the single number point code must be converted to a multiple part point code.
To convert a single number 14-bit ITU national point code to a multiple part point code, perform the Converting Single Number 14-Bit ITU National Point Codes procedure.
To convert a multiple part 14-bit ITU national point code to a single number point code, perform the Converting Multiple Part 14-Bit ITU National Point Codes procedure.
For a definition of the different formats that can be used for 14-bit ITU national point codes, see the 14-Bit ITU National Point Code Formats section in Chapter 2, Configuring Destination Tables in the Database Administration Manual - SS7.
Converting Single Number 14-Bit ITU National Point Codes
To convert a single number 14-bit ITU national point
code to a multiple part 14-bit ITU national point code, perform these steps. To
make this conversion, you will need to know the format of the 14-bit ITU
national point code. This can be verified in the
NPCFMTI field of the
rtrv-stpopts command output. For this
example, the 14-bit ITU national point codes 14781 and 695 are converted to
point codes using the 3-8-3-0 format.
Converting Multiple Part 14-Bit ITU National Point Codes
To convert multiple part 14-bit ITU national point codes
to a single number, perform these steps. To make this conversion, you will need
to know the format of the 14-bit ITU national point code. This can be verified
in the
NPCFMTI field of the
rtrv-stpopts command output. For this
example, the 14-bit ITU national point codes 7-55-5 and 0-86-7, using the
3-8-3-0 point code format, are converted into a single number.
Gateway Screening Using Duplicate ITU National Point Codes
Note:
The Duplicate ITU National Point Code feature applies only to 14-bit ITU national point codes.Gateway screening does not support the Duplicate ITU
National Point Code Support feature. The point code value specified with the
npc parameter can only be a 5-digit
number and cannot contain any group code values. However, by assigning a
different screenset to the linksets that have different group codes, you can
screen on ITU national point codes that have group codes assigned to them. The
screenset is assigned to the linkset with the
scrn parameter of either the
ent-ls or
chg-ls command.
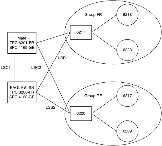
For example, in the network in Figure 2-1, if you want to screen out MSUs coming from OPC 6217 in group GE, but allow MSUs coming from OPC 6217 in group FR, you could assign different screensets to linksets LSB1 and LSB2. The screenset assigned to linkset LSB1 would allow MSUs from OPC 6217. The screenset assigned to linkset LSB2 would block MSUs from OPC 6217.
Figure 2-1 Sample Network Showing Gateway Screening Using Duplicate ITU National Point Codes

Gateway Screening Configuration
Gateway screening can be configured in a variety of ways, depending on the criteria you wish to screen the messages for. The examples used in these procedures are based on seven example configurations (Figure 2-3 through Figure 2-9). Each example configuration shows the screening order used by the EAGLE, with the screening criteria for each screen, and the order that these screens are added to the database to achieve the screening order, with the command entry required to enter the screening criteria into the database.
Each procedure adding a gateway screening entity to the database contains a table showing the parameters and the data used for the command examples.
Note:
The gateway screening rules table can contain a maximum of 362,700 rules.The EAGLE can contain a maximum of 255 screen sets.
Each screen set can contain a maximum of 4,000 rules, however the total number of rules contained in all the screen sets cannot exceed 362,700.
These general rules apply to configuring gateway screening entities in the database. Each procedure contains any rules that are specific to that procedure.
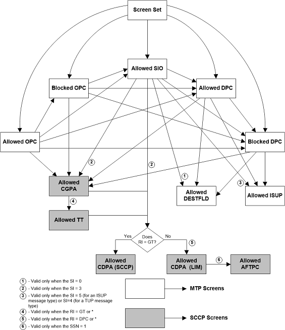
Figure 2-2 The Gateway Screening Process

Gateway Screening Configuration Examples
Example 1
Example 1 screens the messages in a linkset for the following criteria. Figure 2-3 shows the screening order the EAGLE uses and the order that the screens must be entered into the database.
- Allow into the EAGLE messages containing the
following items
The OPC 001-001-001
The DPC 003-003-003
The calling party address (CGPA) 006-006-006, with the subsystem number of 253 and the routing indicator (
ri) ofdpcand the SCCP message type of UDTThe called party address (CDPA) 003-003-003 with the subsystem number of 001, and the SCMG format ID of 050
The allowed affected point code (AFTPC) of 008-008-008 with the subsystem number of 250
- Block from the EAGLE messages containing these items
The OPC 001-002-002
The DPC 004-004-004
Figure 2-3 Gateway Screening Configuration - Example 1

Example 2
Example 2 screens the messages in a linkset for the following criteria. Figure 2-4 shows the screening order the EAGLE uses and the order that the screens must be entered into the database.
- Allow messages containing the following items into
the EAGLE
The following SIO information:
- The network indicator code of 2 (
nic=2) - The service indicator of 3 (
si=3) - Message priorities ranging from 1 to 3 (
:pri=1&&3)
The calling party address (CGPA) 7-100-4, with the subsystem number of 254 and the routing indicator (
ri) of*, and the SCCP message type of UDTSThe called party address (CDPA) 5-117-2 with the subsystem number of 254
- The network indicator code of 2 (
- Block messages containing the OPC 4-250-3 from the EAGLE
Figure 2-4 Gateway Screening Configuration - Example 2

Example 3
Example 3 screens the messages in a linkset for the following criteria. Figure 2-5 shows the screening order the EAGLE uses and the order that the screens must be entered into the database.
- Allow into the EAGLE messages containing the
following items
The DPCs from 070-070-025 to 070-070-135
The calling party address (CGPA) 007-007-007, with the subsystem number of 250 and the routing indicator (
ri) ofgtand the SCCP Message type of XUDTThe translation type (TT) 250
The called party address (CDPA) 006-006-006 with the subsystem number of 253
- Block messages containing the DPC 005-005-005 from the EAGLE
-
Automatic Destination Field screening is on.
Figure 2-5 Gateway Screening Configuration - Example 3

Example 4
Example 4 screens the messages in a linkset for the following criteria. Figure 2-6 shows the screening order the EAGLE uses and the order that the screens must be entered into the database.
- Allow messages containing the following items into
the EAGLE
The following SIO information:
- The network indicator code of 2 (
nic=2) - The service indicator of 3 (
si=3) - Message priority of 3 (
pri=3)
The called party address (CDPA) 007-007-007 with the subsystem number of 001 and SCMG format ID of 100
The allowed affected point code (AFTPC) of 010-010-010 with the subsystem number of 015
- The network indicator code of 2 (
- Automatic Destination Field screening is on.
Figure 2-6 Gateway Screening Configuration - Example 4

Example 5
Example 5 screens the messages in a linkset for the following criteria. Figure 2-7 shows the screening order the EAGLE uses and the order that the screens must be entered into the database.
- Allow into the EAGLE messages containing the
following items
The OPC 010-010-010
The following SIO information:
- The network indicator code of 2 (
nic=2) - The service indicator of 0 (
si=0) - Heading code 0 of 4 (
h0=4) - Heading code 1 of 5 (
h1=5) - Message priority of 3 (
pri=3)
The allowed affected destination field (DESTFLD) of 100-100-100
- The network indicator code of 2 (
- Block messages containing the OPC 020-020-020 from the EAGLE
Figure 2-7 Gateway Screening Configuration - Example 5

Example 6
Example 6 screens the messages in a linkset for the following criteria. Figure 2-8 shows the screening order the EAGLE uses and the order that the screens must be entered into the database.
- Allow into the EAGLE messages containing the
following items
The OPC 015-015-015
The following SIO information:
- The network indicator code of 2 (
nic=2) - The service indicator of 5 (
si=5) - Message priority of 3 (
pri=3)
The allowed ISUP message type (ISUP) of 135
- The network indicator code of 2 (
- Block messages containing the OPC 025-025-025 from the EAGLE
Figure 2-8 Gateway Screening Configuration - Example 6

Example 7
Example 7 screens the messages in a linkset for the following criteria. Figure 2-9 shows the screening order the EAGLE uses and the order that the screens must be entered into the database.
- Allow into the EAGLE messages containing the
following items:
- TUP messages containing these items:
The OPC 017-017-017
The DPC 050-034-049
The following SIO information:
- The network indicator code of 2 (
nic=2) - The service indicator of 4 (
si=4) - Message priority of 3 (
pri=3)
The allowed TUP message type of 100
- The network indicator code of 2 (
- ISUP messages containing these items:
The OPC 017-017-017
The DPC 073-200-059
The following SIO information:
- The network indicator code of 2 (
nic=2) - The service indicator of 5 (
si=5) - Message priority of 3 (
pri=3)
The allowed ISUP message type of 139
- The network indicator code of 2 (
- TUP messages containing these items:
Figure 2-9 Gateway Screening Configuration - Example 7

Adding a GLS Card
This procedure is used to add a card to support the
gateway screening feature (a GLS card), shown in
Table 2-9,
using the
ent-card command.
Table 2-9 GLS Card Types
| Card Type | Part Number |
|---|---|
| SLIC | 7094646 |
The
ent-card command uses these
parameters.
:loc – The location of
the card being added to the database.
:type – The type of
card being added to the database. For this procedure, the value of this
parameter is
tsm.
:appl – The application
software that is assigned to the card. For this procedure, the value of this
parameter is
gls.
:force – Allow the LIM
to be added to the database even if there are not enough service modules to
support the number of LIMs in the EAGLE. This parameter is obsolete and is no
longer used.
The shelf to which the card is to be added, must already
be in the database. This can be verified with the
rtrv-shlf command. If the shelf is not
in the database, see the Adding a Shelf procedure in
Database Administration – System Management User's
Guide.
The card cannot be added to the database if the specified card location already has a card assigned to it.
Before the card can be configured in the database for
the gateway screening feature, the gateway screening feature must be turned on
with the
chg-feat command. The
rtrv-feat command can verify that the
gateway screening feature is on.
Note:
After the Gateway Screening feature is turned on with thechg-feat command, the feature cannot
be turned off.
The EAGLE can contain a maximum of eight GLS cards. The examples in this procedure are used to add a GLS card in card slot 1212 to the database.
Adding a GLS Card
Figure 2-10 Add a GLS Card to the Database - Sheet 1 of 5

Figure 2-11 Add a GLS Card to the Database - Sheet 2 of 5

Figure 2-12 Add a GLS Card to the Database - Sheet 3 of 5

Figure 2-13 Add a GLS Card to the Database - Sheet 4 of 5

Figure 2-14 Add a GLS Card to the Database - Sheet 5 of 5

Removing a GLS Card
This procedure is used to remove GLS cards, used by
gateway screening, from the database using the
dlt-card command. The card cannot be
removed if it does not exist in the database.
Caution:
If the GLS card is the last GLS card in service, removing this card from the database will disable the Gateway Screening feature.The examples in this procedure are used to remove the GLS card in card location 1205.
Canceling the
REPT-STAT-CARD Command
Because the
rept-stat-card command used in this
procedure can output information for a long period of time, the
rept-stat-card command can be canceled
and the output to the terminal stopped. There are three ways that the
rept-stat-card command can be
canceled.
- Press the
F9function key on the keyboard at the terminal where therept-stat-cardcommand was entered. - Enter the
canc-cmdwithout thetrmparameter at the terminal where therept-stat-cardcommand was entered. - Enter the
canc-cmd:trm=<xx>, where<xx>is the terminal where therept-stat-cardcommand was entered, from another terminal other that the terminal where therept-stat-cardcommand was entered. To enter thecanc-cmd:trm=<xx>command, the terminal must allow Security Administration commands to be entered from it and the user must be allowed to enter Security Administration commands. The terminal’s permissions can be verified with thertrv-secu-trmcommand. The user’s permissions can be verified with thertrv-userorrtrv-secu-usercommands.
For more information about the
canc-cmd command, go to
Commands User's Guide.
Figure 2-15 Remove a GLS Card

E5-OAM Integrated GLS Feature Activation Procedure
This procedure is used to activate the integrated generic loading services (GLS) feature.
Before this feature can be enabled, the Eagle must have an E5 maintenance and administration subsystem processor (MASP) and the GWS feature must be activated. The GWS feature is unaffected by this feature being enabled and turned on.
The integrated GLS feature can be turned off after the feature is turned on; however, it cannot be disabled once the feature is enabled.
The Integrated GLS feature cannot be enabled with a temporary Feature Access Key (FAK).
For details about the commands used in this procedure, refer to Commands User's Guide.
- The E5-MASPs support GLS functionality. That means the E5-MASPs are able to accept the binding requests for GWS screen sets from network cards, bind the requested screen sets successfully, and load the screen sets to the requested network cards.
- The GLS cards shall remain in IS-NR state but will not serve any new binding requests from network cards.
- When Eagle is running in duplex mode, both active and standby E5-MASPs handle the binding request. The screenset binding load is dynamically distributed between Active and Standby E5 MASP. In simplex mode, active E5-MASP handles all binding requests from network cards.
When the integrated GLS feature is turned off (enabled or not), the E5-MASPs will not serve requests for binding screen sets. The GLS cards will handle new screenset binding requests.
When the integrated GLS feature activation procedure is completed, all GLS functionality automatically migrates from E5-TSM cards to E5-MASPs.
Activating the Integrated GLS Feature
Complete these steps to activate the integrated GLS feature.
- Verify that the GWS feature activated using the
rtrv-featcommand. - If the GWS feature is not activated, activate the GWS feature using the instructions provided in Gateway Screening Configuration before proceeding.
- Enter the
enable-ctrl-featcommand to enable the integrated GLS feature:enable-ctrl-feat:partnum=893038901:fak=<Feature Access Key>. - Enter
chg-ctrl-feat:partnum=893038901:status=on
Configuring Gateway Screening Stop Action Sets
This procedure is used to add a gateway screening stop
action set to the database or change an existing gateway screening stop action
set using the
chg-gws-actset command.
The gateway screening stop action sets define the
actions that are performed on the MSU when the gateway screening process has
stopped. These gateway screening stop action sets replace the
copy and
redirect parameters that have been
used with the gateway screening commands when the gateway screening process
stops.
The database can contain a maximum of 16 gateway screening stop action sets, with each set containing a maximum of 10 gateway screening stop actions. These are the current gateway screening stop actions.
- RDCT – redirect the MSU for the DTA feature
- CNCF – convert the PIP parameter with the GN parameter or the GN parameter with the PIP parameter in the ISUP IAM message for the Calling Name Conversion Facility feature.
- TLNP – ISUP IAMs that pass gateway screening are processed either by the ISUP NP with EPAP feature or by the Triggerless LNP feature. This gateway screening stop action is discussed in more detail in the Configuring TLNP Gateway Screening Stop Action Sets procedure.
- TINP – ISUP IAMs that pass gateway screening are intercepted by the Triggerless ISUP based Number Portability (TINP) feature and converted to include the routing number (RN) if the call is to a ported number. This gateway screening stop action can be specified only if the TINP stop action is assigned to a stop action set. If the TINP feature is enabled and turned on, the ISUP NP with EPAP feature (if the ISUP NP with EPAP feature is enabled) is overridden.
- TIF, TIF2, TIF3 - TIF processing is applied to the
messages that pass Gateway Screening. These gateway screening stop actions can
be specified only if the
tinp,tif,tif2, ortif3stop action is already assigned to a gateway screening stop action set, or if any of these features are enabled.- TIF Number Portability
- TIF SCS Forwarding
- TIF Simple Number Substitution
- TIF Selective Screening
- SCCP - This gateway screening stop action is
associated with the MTP Routed GWS Stop Action feature (part number 893035601)
and can be specified only if this feature is enabled. If this stop action is
configured and the MTP Routed GWS Stop Action feature is turned on, MTP routed
SCCP UDT/XUDT messages that pass Gateway Screening are forwarded to the service
modules for further processing.
Note:
The MTP Msgs for SCCP Apps feature (part number 893017401) takes precedence over the MTP Routed GWS Stop Action feature. If the MTP Msgs for SCCP Apps feature is enabled and turned on, all MTP routed SCCP messages are forwarded to the service modules for further processing whether or not the SCCP gateway screening stop action is specified. - NONE – no action is performed on the MSU.
- DUP - This gateway screening stop action is used to duplicate the incoming MSU without affecting the processing of the original MSU. The duplicated MSU will be routed to a point code specified in the STPOPTS table under the GDPC parameter. The duplicated MSU is a priority 0 message.
- STRIP - This gateway screening stop action is used to de-capsulate the MSU that was encapsulated by the REDIRECT stop action.
Caution:
When Gateway Screening is in the screen test mode, as defined by the linkset parametersgwsa=off and
gwsm=on, any action in the gateway
screening stop action sets created in this procedure will be performed.
The
chg-gws-actset command uses these
parameters.
:actid – The ID number
of the gateway screening stop action set. The value of this parameter is from 4
to 16.
:actname – The name of
the gateway screening stop action set consisting of 1 alphabetic character
followed by up to 5 alphanumeric characters.
:force – The
force=yes parameter must be specified
when changing the gateway screening stop actions of an existing gateway
screening stop action set.
:all=none – sets the
value of each gateway screening stop action in the gateway screening stop
action set to
none. Refer to the procedure
Removing Gateway Screening Stop Action Sets
for information about using this parameter.
:act1 to
:act10 – The ten gateway screening
stop actions for each gateway screening stop action set. Gateway screening stop
action 1 (act1) is the first stop action to be
performed and gateway screening stop action 10 (act10) is the last stop action to be performed on the
MSU.
The first three gateway screening stop action sets
(actid=1,
actid=2, and
actid=3) are already defined with the
existing gateway screening stop actions shown in
Table 2-10.
Table 2-10 Gateway Screening Stop Action Definitions If the CNCF Feature Is Off
| Gateway Screening Stop Action ID | Gateway Screening Stop Action Set Name | Stop Action 1 | Stop Action 2 | Action Performed by the EAGLE |
|---|---|---|---|---|
| 2 | rdct | rdct | — | redirect the MSU for the DTA feature |
The word
none cannot be used for the
actname parameter.
The
force=yes parameter must be specified
when changing an existing gateway screening stop action set.
If the
copy gateway screening action is
specified with the
chg-gws-actset command, it must be
specified with the
act1 parameter.
A specific gateway screening stop action can only be
specified once in a specific gateway screening stop action set. For example,
the
chg-gws-actset command cannot be
executed if the
copy gateway screening stop action is
specified for gateway screening stop action parameters
act1 and
act2 as shown in this command example.
chg-gws-actset:actid=4:act1=copy:act2=copy
The value of the
actname parameter must be unique. The
value of this parameter is used by the
actname parameter in the gateway
screening commands and is shown in the
NSR/ACT field of the outputs of the
retrieve gateway screening commands to define the action that is performed on
the MSU that passes gateway screening.
When a gateway screening stop action set is being
entered in to the database for the first time, the name of the gateway
screening stop action set (actname) must be
added to the database before any gateway screening stop actions are assigned to
the gateway screening stop action set.
Table 2-11
shows the combinations of parameter values that can be specified for
act1,
act2, and
act3 parameters for gateway screening
stop action sets 4 through 16.
Table 2-11 Gateway Screening Stop Action Set Parameter Combinations
| ACT1 | ACT2 | ACT3 |
|---|---|---|
| cncf | ||
| copy | cncf | |
| copy | cncf | rdct |
| cncf | rdct | |
| tinp | ||
| copy | tinp | |
| tif | ||
| copy | tif | |
| copy | cncf | tif |
| cncf | tif | |
| tif2 | ||
| copy | tif2 | |
| copy | cncf | tif2 |
| cncf | tif2 | |
| tif3 | ||
| copy | tif3 | |
| copy | cncf | tif3 |
| cncf | tif3 | |
| sccp | ||
| copy | sccp | |
|
A blank entry in this table means that the ACT2 or ACT3 parameter has no value. The cncf stop action can be specified only if the CNCF feature is turned on. The tinp stop action can be specified only if the tinp stop action is assigned to a stop action set. The tif, tif2, or tif3 stop actions can be specified only if
one or more of these features are enabled.
The
|
||
Figure 2-16 Configure Gateway Screening Stop Action Sets - Sheet 1 of 4

Figure 2-17 Configure Gateway Screening Stop Action Sets - Sheet 2 of 4

Figure 2-18 Configure Gateway Screening Stop Action Sets - Sheet 3 of 4

Figure 2-19 Configure Gateway Screening Stop Action Sets - Sheet 4 of 4

Configuring TLNP Gateway Screening Stop Action Sets
This procedure is used to add a gateway screening stop
action set containing the TLNP gateway screening stop action to the database
using the
chg-gws-actset command.
The gateway screening stop action sets define the actions that are performed on the MSU when the gateway screening process has stopped.
The database can contain a maximum of 16 gateway screening stop action sets, with each set containing a maximum of 10 gateway screening stop actions. For this procedure only two gateway screening stop actions can be used.
- TLNP – ISUP IAMs that pass gateway screening are
processed either by the ISUP NP with EPAP feature (if the ISUP NP with EPAP
feature is enabled and turned on) or by the Triggerless LNP feature (if the LNP
feature is enabled and the Triggerless LNP feature is turned on). The ISUP NP
with EPAP feature is discussed in more detail in
G-Port User's Guide. The Triggerless LNP
feature is discussed in more detail in
ELAP Administration and LNP Feature Activation
Guide.
The status of the ISUP NP with EPAP feature can be verified with the
rtrv-ctrl-featcommand. The ISUP NP with EPAP feature also requires that the G-Port feature is enabled and that Gateway Screening feature is turned on. The status of the G-Port feature can be verified with thertrv-ctrl-featcommand. The status of the Gateway Screening feature can be verified with thertrv-featcommand. Enabling the G-Port feature is discussed in more detail in G-Port User's Guide.Caution:
When Gateway Screening is in the screen test mode, as defined by the linkset parametersgwsa=offandgwsm=on, any action in the gateway screening stop action sets created in this procedure will be performed.
The
chg-gws-actset command in this
procedure uses these parameters.
:actid – The ID number
of the gateway screening stop action set. The value of this parameter is from 4
to 16.
:actname – The name of
the gateway screening stop action set consisting of 1 alphabetic character
followed by up to 5 alphanumeric characters. The word
none cannot be used for the
actname parameter.
:force – The
force=yes parameter must be specified
when changing the gateway screening stop actions of an existing gateway
screening stop action set.
:act1 and
:act2 – Only two gateway screening
stop action sets can be defined with the TLNP gateway screening stop action:
- One set with only the TLNP gateway Screening stop
action (defined with the
act1=tlnpparameter). - Another set with the COPY and TLNP gateway screening
stop action (defined by the
act1=copyandact2=tlnpparameters).
The value of the
actname parameter must be unique. The
value of this parameter is used by the
actname parameter in the gateway
screening commands and is shown in the
NSR/ACT field of the outputs of the
retrieve gateway screening commands to define the action that is performed on
the MSU that passes gateway screening.
When a gateway screening stop action set is being
entered into the database for the first time, the name of the gateway screening
stop action set (actname) must be added to the
database before any gateway screening stop actions are assigned to the gateway
screening stop action set.
The
tlnp gateway screening stop action
cannot be specified with either the
cncf (calling name conversion
facility) or
rdct (redirect) gateway screening
actions in the same gateway screening action set.
Table 2-12 Sample TLNP Gateway Screening Stop Action Set Configuration
| ACTID | ACTNAME | ACT1 | ACT2 | ACT3 |
|---|---|---|---|---|
| 4 | TLNP | tlnp | — | — |
| 5 | CPNP | copy | tlnp | — |
Figure 2-20 Configure TLNP Gateway Screening Stop Action Sets - Sheet 1 of 7

Figure 2-21 Configure TLNP Gateway Screening Stop Action Sets - Sheet 2 of 7

Figure 2-22 Configure TLNP Gateway Screening Stop Action Sets - Sheet 3 of 7

Figure 2-23 Configure TLNP Gateway Screening Stop Action Sets - Sheet 4 of 7

Figure 2-24 Configure TLNP Gateway Screening Stop Action Sets - Sheet 5 of 7

Figure 2-25 Configure TLNP Gateway Screening Stop Action Sets - Sheet 6 of 7

Figure 2-26 Configure TLNP Gateway Screening Stop Action Sets - Sheet 7 of 7

Removing Gateway Screening Stop Action Sets
This procedure is used to remove a gateway screening
stop action set from the database or a gateway screening stop action from a
gateway screening stop action set from the database using the
chg-gws-actset command.
The database can contain a maximum of 16 gateway screening stop action sets, with each set containing a maximum of 10 gateway screening stop actions. Five gateway screening stop actions have been defined.
The
chg-gws-actset command uses these
parameters in this procedure.
:actid – The ID number
of the gateway screening stop action set. The value of this parameter is from 4
to 16.
:force – The
force=yes parameter must be specified
when changing the gateway screening stop actions of an existing gateway
screening stop action set.
:all=none – Sets the
value of each gateway screening stop action in the gateway screening stop
action set to
none.
:act1 to
:act10 – One of ten gateway screening
stop actions being removed from the gateway screening stop action set.
The first three gateway screening stop action sets
(actid=1,
actid=2, and
actid=3) cannot be changed or removed.
No other optional parameters can be specified
all=none parameter.
The
force=yes parameter must be specified
when changing an existing gateway screening stop action set.
Figure 2-27 Remove Gateway Screening Stop Action Sets

Setting the Threshold for Reporting Gateway Screening Activity
This procedure is used to set the threshold for
reporting these gateway screening activities using the
set-gtwy-acthresh command.
- The threshold for MSUs received on a gateway link set.
- The threshold for MSUs rejected on a gateway link set because of screening.
These thresholds are set on a linkset basis. These gateway screening activities are reported only if the threshold is set and only if the threshold is reached.
The
set-gtwy-acthresh command uses these
parameters.
:intrvl – The
examination period, in minutes, during which the gateway screening activity
thresholds are to be tested.
:lsn – The name of the
linkset that the thresholds are assigned to.
:recv – The threshold
for MSUs received on the gateway link set.
:rej – The threshold
for MSUs rejected on the gateway link set because of screening.
Canceling the
RTRV-LS Command
Because the
rtrv-ls command used in this procedure
can output information for a long period of time, the
rtrv-ls command can be canceled and
the output to the terminal stopped. There are three ways that the
rtrv-ls command can be canceled.
- Press the
F9function key on the keyboard at the terminal where thertrv-lscommand was entered. - Enter the
canc-cmdwithout thetrmparameter at the terminal where thertrv-lscommand was entered. - Enter the
canc-cmd:trm=<xx>, where<xx>is the terminal where thertrv-lscommand was entered, from another terminal other that the terminal where thertrv-lscommand was entered. To enter thecanc-cmd:trm=<xx>command, the terminal must allow Security Administration commands to be entered from it and the user must be allowed to enter Security Administration commands. The terminal’s permissions can be verified with thertrv-secu-trmcommand. The user’s permissions can be verified with thertrv-userorrtrv-secu-usercommands.
For more information about the
canc-cmd command, go to
Commands User's Guide.
Figure 2-28 Set the Threshold for Reporting Gateway Screening Activity

Setting the Maximum Number of Gateway Screening Rejected Messages
When an MSU is rejected because of gateway screening, a
UIM is sent to the terminal alerting the user that the MSU has been rejected.
The EAGLE allows the user to configure the maximum number of these UIMs that
can be sent to the terminal for a specified time period. This procedure is used
to configure the maximum number of UIMs sent to the terminal and the time
period using the
set-scrrej-prmtrs command.
The
set-scrrej-prmtrs
command uses these parameters.
:limit – the number of
UIMs to be sent to the EAGLE terminals during the time period specified by the
intrvl parameter. The values for this
parameter range from 0 to 9999.
:intrvl – the amount of
time, in minutes, that the maximum number of UIMs, defined by the
limit parameter, can be sent to the
EAGLE terminals.
The examples in this procedure are used to set the number of UIMs to 500 and the time period to 20 minutes.
Figure 2-29 Set the Maximum Number of Gateway Screening Rejected Messages

Activating the MTP Routed GWS Stop Action Feature
This procedure is used to enable and turn on the MTP Routed GWS Stop Action feature using the feature’s part number and a feature access key.
Note:
As of Release 46.3, the fak parameter is no longer required. This parameter is only used for backward compatibility.The feature access key for the MTP Routed GWS Stop Action feature is based on the feature’s part number and the serial number of the EAGLE, making the feature access key site-specific.
The
enable-ctrl-feat command enables the
feature by inputting the feature’s access key and the feature’s part number
with these parameters:
:fak – The feature
access key provided by Oracle. The feature access key contains 13 alphanumeric
characters and is not case sensitive.
:partnum – The
Oracle-issued part number of the MTP Routed GWS Stop Action feature, 893035601.
The
enable-ctrl-feat command requires that
the database contain a valid serial number for the EAGLE, and that this serial
number is locked. This can be verified with the
rtrv-serial-num command. The EAGLE is
shipped with a serial number in the database, but the serial number is not
locked. The serial number can be changed, if necessary, and locked once the
EAGLE is on-site, with the
ent-serial-num command. The
ent-serial-num command uses these
parameters.
:serial – The serial
number assigned to the EAGLE. The serial number is not case sensitive.
:lock – Specifies
whether or not the serial number is locked. This parameter has only one value,
yes, which locks the serial number.
Once the serial number is locked, it cannot be changed.
Note:
To enter and lock the EAGLE’s serial number, theent-serial-num command must be entered
twice, once to add the correct serial number to the database with the
serial parameter, then again with the
serial and the
lock=yes parameters to lock the serial
number. You should verify that the serial number in the database is correct
before locking the serial number. The serial number can be found on a label
affixed to the control shelf (shelf 1100).
This feature cannot be temporarily enabled (with the temporary feature access key).
Once this feature is enabled, provisioning for this
feature can be performed, but the feature will not work until the feature is
turned on with the
chg-ctrl-feat command. The
chg-ctrl-feat command uses these
parameters.
:partnum – The
Oracle-issued part number of the MTP Routed GWS Stop Action feature, 893035601.
:status=on – used to
turn the MTP Routed GWS Stop Action feature on.
Once the MTP Routed GWS Stop Action feature has been turned on, it be can be turned off. For more information on turning the MTP Routed GWS Stop Action feature off, refer to the Turning Off the MTP Routed GWS Stop Action Feature procedure.
The status of the features in the EAGLE is shown with
the
rtrv-ctrl-feat command.
When the MTP Routed GWS Stop Action feature is turned on, MTP routed SCCP UDT/XUDT messages that pass gateway screening are forwarded to the service modules for further processing.
Figure 2-30 Activate the MTP Routed GWS Stop Action - Sheet 1 of 4 Feature

Figure 2-31 Activate the MTP Routed GWS Stop Action - Sheet 2 of 4

Figure 2-32 Activate the MTP Routed GWS Stop Action - Sheet 3 of 4

Figure 2-33 Activate the MTP Routed GWS Stop Action - Sheet 4 of 4

Turning Off the MTP Routed GWS Stop Action Feature
This procedure is used to turn off the MTP Routed GWS
Stop Action feature, using the
chg-ctrl-feat command.
The
chg-ctrl-feat command uses the
following parameters:
:partnum - The part
number of the MTP Routed GWS Stop Action feature, 893035601.
:status=off – used to
turn off the MTP Routed GWS Stop Action feature.
The status of the MTP Routed GWS Stop Action feature
must be
on and is shown with the
rtrv-ctrl-feat command.
Caution:
If the MTP Routed GWS Stop Action feature is turned off, MTP routed SCCP UDT/XUDT messages that pass gateway screening will not be forwarded to the service modules for further processing.Figure 2-34 Turning Off the MTP Routed GWS Stop Action Feature
