C H A P T E R  1

Tray Overviews

This chapter describes the process of installing the Sun StorageTek 2500 Series Array. It contains the following sections:


Sun StorageTek 2500 Series Array Overview

The Sun StorageTek 2540 Array, the Sun StorageTek 2530 Array, the Sun StorageTek 2510 Array, and the Sun StorageTek 2501 Expansion Tray are a family of storage products that provide high-capacity, high-reliability storage in a compact configuration.

The Sun StorageTek 2500 Series Array is a modular, rack-mountable controller tray. It is scalable from a single controller tray configuration to a maximum configuration of one controller tray and three additional drive expansion trays. This would create a storage array configuration with a total of 48 drives attached behind the controllers (one controller tray and three drive expansion trays).

All four of the trays can be installed in the following cabinets:

The Sun StorageTek 2540 Array, the Sun StorageTek 2530 Array and the Sun StorageTek 2510 Array contains disk drives for storing data. The controller tray, typically with two controller modules, provides the interface between a data host and the disk drives. The Sun StorageTek 2540 Array provides a Fibre Channel connection between the data host and the controller tray. The Sun StorageTek 2530 Array provides a Serial Attached SCSI (SAS) connection between the data host and the controller tray. The Sun StorageTek 2510 Array provides iSCSI connections using Ethernet between the data host and the controller tray.

The Sun StorageTek 2501 drive expansion tray provides additional storage. You can attach the drive expansion tray to any of the 2500 series arrays.

You manage the array with the Sun StorageTek Common Array Manager software.

FIGURE 1-1 Sun StorageTek 2500 Series Array Connection Example Using Fibre Channel


Figure showing the Sun StorageTek 2500 Series Array and its components.[ D ]


Installation Tasks Checklist

The following checklist (TABLE 1-1) outlines the tasks required for installing the Sun StorageTek 2500 Array hardware and tells you where you can find detailed procedures. To ensure a successful installation, perform the tasks in the order in which they are presented.

Before you begin to install the array, do the following:

The Sun StorageTek 2500 Series Array Site Preparation Guide has information about the physical dimensions of the trays as well as the service clearance and the power requirements of the cabinet. This document should be used to prepare your site layout prior to the installation.

 


TABLE 1-1 Sun StorageTek 2500 Series Array Hardware Installation Checklist

Step

Installation Task

Where to Find Procedure

  1.  

Review the hardware overview in this chapter.

 

  1.  

Unpack the cabinet and move it into position.

Unpacking guide attached to the outside of the shipping carton

  1.  

Install and secure the cabinet.

  • Sun StorageTek Expansion Cabinet Installation and Service Manual
  • Sun Rack Installation Guide
  1.  

Unpack the rackmounting kit and check its contents.

Preparing the Universal Rail Kit

  1.  

Unpack the tray box and check its contents.

Preparing the Tray

  1.  

Prepare the cabinet for installation.

Preparing the Cabinet

  1.  

Attach the rails to the cabinet.

Attaching the Rails to a Cabinet

  1.  

Mount the controller tray and expansion trays in the cabinet.

Installing a Tray in a Cabinet

  1.  

Attach the power cables.

Connecting the Power Cables

  1.  

Cable the controller tray and expansion trays.

Inter-tray Cabling

  1.  

Connect the management host.

Connecting the Management Host

  1.  

Connect the data hosts.

Connecting Data Hosts to the 2510 Array

Connecting Data Hosts to the 2530 Array

Connecting Data Hosts to the 2540 Array

 

  1.  

Turn on the power.

Powering On the Storage Array


Table showing the Sun StorageTek 2500 Series Array hardware installation checklist: Steps, installation tasks, and procedure locations within this document.

When the tasks in TABLE 1-1 are complete, you can install the Common Array Manager software on an external management host, install and upgrade firmware from the management host, and perform initial array setup and system configuration. See the Sun StorageTek Common Array Manager Software Installation Guide for complete information on software-related tasks. For iSCSI configuration, see -A P P E N D I XAppendix A.


Front-Access Components of the Trays

Components that are accessed through the front of the Sun StorageTek 2540 Array, the Sun StorageTek 2530 Array, and the Sun StorageTek 2510 Array are identical in appearance.

The front-access components include the following:

FIGURE 1-2 Front-Access Components on the Controller Tray and the Drive Expansion Tray


Figure showing the end caps, the disk drives, and the tray LEDs on the front of the trays. [ D ]


LEDs on the Front of the Trays

The four LEDs on the front of the Sun StorageTek 2540 Array, the Sun StorageTek 2530 Array, the Sun StorageTek 2510 Array, and the Sun StorageTek 2501 Expansion tray are identical in appearance and function. The LEDs are located on the left-side endcap of the tray.

 

FIGURE 1-3 Location of the LEDs on the Front of the Trays


Figure showing the LEDs on the front of the controller tray or a drive expansion tray.The figure shows the Locate LED, the Service Action Required LED, the Over Temperature LED, and the Power LED. The LEDs help to determine the status and diagnose problems in a controller tray or a drive expansion tray.

 


TABLE 1-2 Description of the LEDs on the Front of the Trays

Location

LED

Color

On

Off

1

Locate

White

The locate light is turned on manually by CAM to help you find the tray that requires attention.

Normal condition

2

Service Action Required (Fault)

Amber

A component within the tray requires attention.

The components in the tray are operating normally.

3

Over Temperature

Amber

The tray temperature has reached the high-end of its operating range and requires attention.

The tray temperature is within operational range.

4

Power

Green

Tray is powered on.

Tray is not powered on.


Table showing the location and interpretations of the LEDs on the front of the controller trays and the drive expansion tray.The LEDs include the Locate LED, the Service Action Required (Fault) LED, the Over Temperature LED, and the Power LED.


Rear-Access Components of the Trays

This section reviews the components that can be accessed from the back of a:

Sun StorageTek 2500 Series Array

Components that are accessed from the rear of the Sun StorageTek 2500 Series Array controller trays include:


FIGURE 1-4 Controller Tray Rear-Access Components

Figure showing controller tray components that are accessed from the rear, including the controller CRUs and the power-fan assembly CRUs.

Sun StorageTek 2501 Drive Expansion Tray

Components that are accessed from the rear of the Sun StorageTek 2501 Drive Expansion Tray are:

FIGURE 1-5 Drive Expansion Tray Rear-Access Components


Figure showing drive expansion tray components that are accessed from the rear, including the IOM CRUs and the power-fan assembly CRUs.

Controllers

The Sun StorageTek 2540, 2530, and 2510 Arrays usually have two controllers (single-controller configurations are available, but are not recommended). The controllers manage the input/output (I/O) between the volumes and the data host. The controllers have an Ethernet connection to the management host for out-of-band management and contain a battery that provides backup power to the cache memory for up to three days in the event of a power loss.

Because each controller tray contains two controllers, the data path through one controller can fail and the other controller provides a redundant data path to all of the disk drives. If a controller fails, you can replace the failed controller while the power is applied and the storage array is processing data (a hot swap).



Note - Replacement controllers might not be at the same level of firmware. If necessary, use CAM to upgrade the firmware for the new controller so that it matches the configuration database (baseline firmware release level or later).


Each controller has a media access control (MAC) address that identifies it on the network. The MAC address for a controller is on a label on the controller. The MAC address label is attached to the controller at the rear of the tray near the serial port.

The tray ID numbers are set by the trays themselves on first power on. However, you can change the setting through the Common Array Manager software. The tray ID numbers on both of the controllers in one controller tray are identical under optimal operating conditions.

Sun StorageTek 2540 Array

This Fibre Channel (FC) controller tray provides the following capabilities:

When fiber-optic cables are used to connect to the data host, a Small Form-factor Pluggable (SFP) transceiver is required to make the connection.


FIGURE 1-6 Sun StorageTek 2540 Array Ports

Figure that shows the controller connectors on the Sun StorageTek 2540 Array.[ D ]

SFP Transceivers

You can connect the Sun StorageTek 2540 Array to either copper host interface cables or fiber optic host interface cables. If you use fiber-optic cables, you must install an SFP transceiver in each interface port on the controller where a fiber-optic cable is to be installed. The SFP transceiver is required to translate the optical signals from the fiber-optic cable into digital signals for the controller.



Note - The SFP transceiver shown might look different from those that are shipped with your controller tray. The difference does not affect transceiver performance.


FIGURE 1-7 SFP Transceiver for the Sun StorageTek 2540 Array


Figure showing how a fiber-optic cable connects to an SFP transceiver and the data host connector.

Sun StorageTek 2530 Array

This SAS controller tray provides the following capabilities:

FIGURE 1-8 Sun StorageTek 2530 Array Controller Ports


Figure showing how a fiber-optic cable connects to an SFP transceiver and the data host connector.

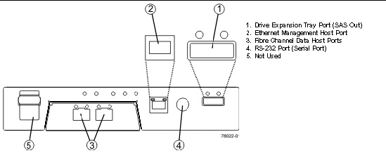
Sun StorageTek 2510 Array

This iSCSI controller tray provides the following capabilities:

FIGURE 1-9 Sun StorageTek 2510 Array Ports


Figure that shows the Sun StorageTek 2530 Array controller connectors.The connectors include the drive expansion tray connector (SAS out), the Ethernet management host connector, the SAS data host connectors, and the RS-232 diagnostics port connector.

Controller Tray and Drive Expansion Tray Power-Fan Assembly

The power-fan assembly for the Sun StorageTek 2540 Array, the Sun StorageTek 2530 Array, and the Sun StorageTek 2510 Array is identical and interchangeable.



Note - A minimum of two disk drives must be operating in a controller tray or in a drive expansion tray to avoid generating a power-fan assembly error.


The power-fan assembly contains an integrated cooling fan. The power supply provides power to the internal components by converting incoming AC voltage to DC voltage. The fan circulates air inside of the tray by pulling air in through the vents on the front of the assembly and pushing the air out of the vents on the back of each fan.

Each tray contains two power-fan assemblies. If one power supply is turned off or malfunctions, the other power supply maintains electrical power to the tray. Likewise, the fans provide redundant cooling. If one of the fans in either fan housing fails, the remaining fan continues to provide sufficient cooling to operate the tray. The remaining fan runs at a higher speed until the failed fan is replaced. Replace the failed fan as soon as possible.

Sun StorageTek 2501 Expansion Tray

The drive expansion tray expands the storage capacity of a storage array. The controllers in the controller tray can connect to the drive expansion tray and access the disk drives in the drive expansion tray for additional storage. A drive expansion tray contains both physical components (disk drives, Input/Output Modules (IOMs), and power-fan assemblies) and logical components (virtual disks and volumes).

Expansion Tray IOM

The expansion tray contains two IOMs that provide the interface between the disk drives in the expansion tray and the controllers in the controller tray. Each controller in the controller tray connects to an IOM.

If one IOM fails, the other IOM provides a redundant data path to the disk drives. You can replace a failed IOM while the power to the storage array is turned on and the storage array is processing data (a hot swap).

Drive Expansion Tray IOM Ports

The IOM uses SAS cables to enable the controller tray to communicate with the disk drives in the drive expansion trays. Each IOM in a drive expansion tray has two SAS expansion ports. One port shows an up arrow, and the other port shows a down arrow.


FIGURE 1-10 SAS Ports on the Expansion Tray IOM

Figure showing the SAS connectors and the serial connector on the IOM of the drive expansion tray.

When connecting the SAS cable from an IOM in one drive expansion tray to an IOM in another drive expansion tray, connect from a port with a down arrow to a port with an up arrow.



Note - If the cable is plugged into two ports with arrows of the same direction, communication between the two drive expansion trays is lost.



LEDs on the Rear of the Trays

Controller LEDs on the Sun StorageTek 2540 and Sun StorageTek 2510 Arrays

FIGURE 1-11 Locations of the Controller LEDs on the Sun StorageTek 2540 and 2510 Arrays


Figure showing the location of the LEDs on the rear of the Sun StorageTek 2540 Array controller CRU.


TABLE 1-3 Descriptions of the Controller LEDs on the 2540 and 2510 Arrays

Location

LED

Color

On

Off

1

Link Fault

Amber

At least one link has an error, or an incompatible connection has been made.[1]

Normal condition

2

Drive Link

Green

At least one link is active.

At least one link has an error

3

Battery Fault

Amber

Indicates a fault within the battery backup unit.

Normal condition

4

Cache Active

Green

Steady green indicates that data is in the cache.

Indicates that all data has been written to the disk and the cache is empty.

5

Service Action Allowed

Blue

The controller can be removed from the controller tray.

The controller cannot be removed from the controller tray.

6

Service Action Required (Fault)

Amber

Indicates a fault within the controller.

Normal condition

7

Power

Green

Tray is powered on.

Tray is not powered on.

8

Ethernet Link

Green

The connection is active.

The connection is not active.

9

Ethernet 100BASE-TX

Green

100BASE-TX connection is active.

The 100BASE-TX connection is not active.

10 and 11

Host Link (2540)

Green

Both LEDs on indicate a 4-Gb/s data rate from the management software host.

Left LED on and right LED off indicate a 1-Gb/s data rate from the management software host.

Right LED on and left LED off indicate a 2-Gb/s data rate from the management software host.

Both LEDs off indicate no link to the management software host.

10

Ethernet Link (2510)

Green

The connection is active.

The connection is not active.

11

Ethernet 1000BASE-TX (2510)

Green

1000BASE-TX connection is active.

The 1000BASE-TX connection is not active.


Table showing the name and the normal or problem status of the LEDs on the rear of the Sun StorageTek 2540 Array controller CRU.The LEDs include the Link Fault LED, the Drive Link LED, the Battery Fault LED, the Cache Active LED, the Service Action Allowed LED, the Service Action Required (Fault) LED, the Power LED, the Ethernet Link LED, the Ethernet 100BASE-TX LED, and the Host Link LED.

Controller LEDs on the Sun StorageTek 2530 Array

FIGURE 1-12 Locations of the Controller LEDs on the Sun StorageTek 2530 Array


Figure showing the location of the LEDs on the rear of the Sun StorageTek 2530 Array controller CRU.


TABLE 1-4 Descriptions of the Controller LEDs on the Sun StorageTek 2530 Array

Location

LED

Color

On

Off

1

Link Fault

Amber

At least one link has an error, or an incompatible connection has been made.[2]

Normal condition.

2

Link

Green

At least one link is active.

All links have failed.

3

Battery Fault

Amber

Indicates a fault within the battery backup unit.

Normal condition.

4

Cache Active

Green

Steady green indicates that data is in the cache.

Indicates that all data has been written to the disk and the cache is empty.

5

Service Action Allowed

Blue

The controller can be removed from the controller tray.

The controller cannot be removed from the controller tray.

6

Service Action Required (Fault)

Amber

Indicates a fault within the controller.

Normal condition

7

Power

Green

Tray is powered on.

Tray is not powered on.

8

Ethernet Link

Green

The connection is active.

The connection is not active.

9

Ethernet 100BASE-TX

Green

100BASE-TX connection is active.

The 100BASE-TX connection is not active.


Table showing the name and the normal status or the problem status of the LEDs on the rear of the Sun StorageTek 2530 Array.The LEDs include the Link Fault LED and the Link LED for the drive expansion tray connector and the three data host connectors, the Battery Fault LED, the Cache Active LED, the Service Action Allowed LED, the Service Action Required (Fault) LED, the Power LED, the Ethernet Link LED, and the Ethernet 100BASE-TX LED.

Controller Tray and Drive Expansion Tray Power-Fan Assembly LEDs

The power-fan assembly LEDs for the Sun StorageTek 2540 Array, the Sun StorageTek 2530 Array, the Sun StorageTek 2510 Array, and the Sun StorageTek 2501 drive expansion tray are identical.

FIGURE 1-13 Locations of the Power-Fan Assembly LEDs


Figure showing the locations of the power-fan assembly LEDs.

 


TABLE 1-5 Descriptions of the Power-Fan Assembly LEDs

Location

LED

Color

On

Off

1

DC Power (DC Good)

Green

DC power from the power-fan assembly is available.

DC power from the power-fan assembly is not available.

2

Service Action Allowed

Blue

The power-fan assembly can be removed from the tray.

The power-fan assembly cannot be removed from the tray.

3

Fault

Amber

A fault exists within the power-fan assembly.

Normal condition

4

Power (AC Good)

Green

The assembly is powered on.

The assembly is not powered on.


Table showing the descriptions of the power-fan assembly LEDs.The power-fan assembly LEDs include the DC Power (DC Good) LED, the Service Action Allowed LED, the Fault LED, and the Power (AC Good) LED.

IOM LEDs on the Sun StorageTek 2501 Expansion Tray

FIGURE 1-14 Locations of the IOM LEDs


Figure showing the location of the IOM LEDs.

 


TABLE 1-6 Descriptions of the IOM LEDs

Location

LED

Color

On

Off

1

IOM Link Fault

Amber

A link error occurred, or an incompatible connection has been made.[3]

No errors have occurred.

2

IOM Link

Green

The link is active.

A link error occurred.

3

Service Action Allowed

Blue

The IOM can be removed from the drive expansion tray.

The IOM cannot be removed from the drive expansion tray.

4

Service Action Required (Fault)

Amber

A fault exists within the IOM.

Normal condition

5

Power

Green

The IOM tray is powered on.

The IOM is not powered on.


Table showing the descriptions of the IOM LEDs.The IOM LEDs include the IOM Link Fault LED, the IOM Link LED, the Service Action Allowed LED, the Service Action Required (Fault) LED, and the Power LED.


Service Action LEDs

Each controller, power-fan assembly, IOM, and disk drive has a Service Action Allowed LED. The Service Action Allowed LED indicates when you can remove a component safely. See LEDs on the Rear of the Trays for the locations and descriptions of the Service Action Allowed LEDs on a controller tray and a drive expansion tray, and see LEDs on the Disk Drives for disk drive Service Allowed LEDs.



caution icon Caution - Potential loss of data access - Never remove a power-fan assembly, a controller module, or a disk drive unless the Service Action Allowed LED is turned on or you are given specific instructions to do so by the Service Advisor feature of the Common Array Manager software.


If a CRU or module fails and must be replaced, the Service Action Required LED on that module turns on to indicate that a service action is required. The Service Action Allowed LED turns on if it is safe to remove the CRU or module. If there are data availability dependencies or other conditions that dictate that a CRU or module should not be removed, the Service Action Allowed LED remains off.

The Service Action Allowed LED automatically turns on or turns off as conditions change. In most cases, the Service Action Allowed LED turns on when the Service Action Required (Fault) LED is turned on for a CRU or module.



Note - If the Service Action Required (Fault) LED is turned on but the Service Action Allowed LED is turned off for a particular CRU or module, you might have to service another component first. Check the Service Advisor feature of the Common Array Manager software to determine the action you should take.



Disk Drives

Disk drives for the Sun StorageTek 2500 Series Array have three components:

The disk drives can be Serial Advance Technology Attachment (SATA) disk drives, Fibre Channel (FC) disk drives, or SAS disk drives.

Controller trays or drive expansion trays hold up to 12 disk drives, for a maximum of 48 disk drives in a storage array. To reach the maximum of 48 disk drives, the storage array must consist of one controller tray and three drive expansion trays.

Access to disk drives is from the front of the tray.

Refer to the storage array release notes for supported drives.

Disk drives can be mixed, provided you adhere to these additional rules:

FIGURE 1-15 Disk Drives


Figure showing disk drive locations.

The physical locations of the disk drives are numbered 1 through 12, from left to right, and from top to bottom. The right end cap has numbers on the side showing the numbers of the adjacent drives. The Service Advisor feature of the Common Array Manager software automatically detects a disk drive’s tray ID and slot designation.


LEDs on the Disk Drives

FIGURE 1-16 Locations of the Disk Drive LEDs


Figure showing the locations of the disk drive LEDs.

 


TABLE 1-7 Descriptions of the Disk Drive LEDs

Location

LED

Color

General Behavior

1

Service Action Allowed

Blue

On - The disk drive can be removed from the tray.

Off - The disk drive cannot be removed from the tray.

2

Fault

Amber

On - The disk drive has a problem.

Off - Normal condition.

3

Power

Green

Off - The power is turned off.

On - The power is on and the disk drive is operating normally.

On and blinking (0.5 s on, 0.5 s off) -Disk drive
I/O activity is taking place.


Table showing the descriptions of the disk drive LEDs.The disk drive LEDs include the Service Action Allowed LED, the Fault LED, and the Power LED.

 


TABLE 1-8 Disk Drive States Represented by the LEDs

Disk Drive State

Power
(Green LED)

Fault
(Amber LED)

Power is not applied.

Off

Off

Normal operation, power is turned on, no disk drive I/O activity is occurring.

On, solid

Off

Normal operation, disk drive I/O activity is occurring.

On, blinking

Off

Service action required, a fault condition exists, and the disk drive is offline.

On, solid

On, solid


Table showing the states represented by the disk drive LEDs. The states of the LEDs include the Power LED in the on state, the off state, the solid state, and the blinking state; and the Fault LED in the on state, the off state, the solid state.


Array Management Software

The Sun StorageTek 2500 Series Array is managed by the Sun StorageTek Common Array Manager software. The Common Array Manager provides web browser-based management and configuration from an external management host, data host software that controls the data path between the data host and the array, and a remote command-line interface (CLI) client that provides the same control and monitoring capability as the web browser, and is scriptable for running frequently performed tasks.

The Common Array Manager software includes Service Advisor, an online reference full of hardware and software configuration and troubleshooting information and procedures.

For information about installing the Common Array Manager software and configuring and managing the array, see the Sun StorageTek Common Array Manager Software Installation Guide.


Service Advisor and Customer-Replaceable Units

The majority of replaceable units are designed to be replaceable by customers.

To see a list of the hardware components that can be replaced at the customer site refer to Service Advisor in the Sun StorageTek Common Array Manager software.

The Service Advisor also provides information and procedures for replacing array components.



Note - The replaceable components inside your controller tray or drive expansion tray are referred to as either customer replaceable units (CRUs) or as modules.


 


1 (TableFootnote) Note - The Sun StorageTek 2500 Series arrays use 4x wide-port SAS connectors. Connections less than 4x wide will generate a link fault.
2 (TableFootnote) Note - The Sun StorageTek 2500 Series arrays use 4x wide-port SAS connectors. Connections less than 4x wide will generate a link fault.
3 (TableFootnote) Note - The Sun StorageTek 2500 Series arrays use 4x wide-port SAS connectors. Connections less than 4x wide will generate a link fault.