| Omitir V�nculos de navegaci�n | |
| Salir de la Vista de impresi�n | |
|
Guía de instalación del servidor Sun Fire X4800 M2 |
Descripción general de la instalación
Componentes y funciones del panel frontal y posterior
Montaje del servidor en un bastidor
Herramientas y personal necesarios
Instalación del equipo opcional
Cómo desempaquetar el servidor
Contenido del kit de montaje en bastidor
Montaje del servidor en un bastidor
Cómo retirar componentes para reducir el peso
Cómo reemplazar los componentes del servidor
Cómo instalar el hardware de montaje en bastidor en un bastidor con orificios cuadrados
Cómo insertar el servidor en el bastidor
Instalar y retirar soportes de transporte
Cómo instalar los soportes de transporte
Cómo retirar los soportes de transporte
Extracción del servidor del bastidor
Asistencia técnica para el servidor
Cómo determinar la estrategia de administración del servidor
Configuración del sistema operativo Solaris preinstalado
Comunicación con Oracle ILOM y la consola del sistema
Asignación de recursos de interrupción y E/S
El kit de montaje en bastidor contiene soportes de adaptador, soportes traseros, carriles guía, tuercas en jaula y tornillos.
![]() | Precaución - El servidor pesa alrededor de 180 libras (100 kg) cuando tiene todos los componentes instalados. Para reducir el riesgo de lesiones personales graves o daños en el equipo, utilice un dispositivo de elevación mecánica para instalar el servidor en el bastidor. Si no dispone de un dispositivo de elevación, extraiga los componentes como se describe en Cómo retirar componentes para reducir el peso. Esto reduce el peso del servidor a 80 libras (45 kg). Cargue siempre el equipo en el bastidor desde abajo para que no sea muy pesado y no se vuelque. Instale la barra anticaída del bastidor para evitar que éste se vuelque durante la instalación del equipo. |
Nota - Para instalar hardware de montaje en bastidor en bastidores con orificios cuadrados, consulte Cómo instalar el hardware de montaje en bastidor en un bastidor con orificios cuadrados.
Para esta tarea, se necesitan los tornillos y conectores siguientes:
|
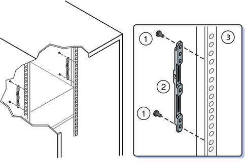
El servidor se entrega con dos juegos de soportes de adaptador: uno para bastidores con orificios cuadrados (1) y otro para bastidores con orificios redondos (2). Los soportes de adaptador para bastidores con orificios cuadrados (1) tienen agujeros roscados. Al contrario de los soportes de adaptador para bastidores con orificios redondos (roscados) (2). Consulte la figura siguiente.
Nota - Las flechas de los soportes de adaptador (3) indican cómo deben orientarse los soportes. Asegúrese de colocar todos los soportes con la flecha “Top” (3) apuntando hacia arriba.

Coloque los soportes de adaptador de modo que la parte inferior de estos quede alineada con la parte inferior del espacio (5RU) donde estará colocado el servidor y que la flecha etiquetada como “Top” apunte hacia arriba.
Utilice tres tornillos M6 x 12 o 10-32 x 10 para cada lado. Introduzca los tornillos desde dentro del bastidor, a través del soporte de adaptador y, por último, en los agujeros roscados del poste.
Nota - La caja auxiliar incluye una plantilla impresa que puede utilizar para que le sea más fácil alinear los soportes de adaptador.
Coloque los soportes de adaptador de modo que la parte inferior de estos quede alineada con la parte inferior del espacio (5RU) donde estará colocado el servidor y que la flecha etiquetada como “Top” apunte hacia arriba.
Introduzca dos tornillos (1) desde el interior del bastidor, a través de los agujeros superior e inferior del soporte de adaptador (2) y, por último, enrósquelos en el poste (3).
Nota - No utilice el tornillo central en el soporte de adaptador. Está reservado para el kit de soportes de transporte opcional descrito en Instalar y retirar soportes de transporte.
Para bastidores M6, utilice dos tornillos M6 x 12 por lado.
Para bastidores 10-32, utilice dos tornillos de tope 10-32 por lado.

Utilice dos tornillos M6 x 16 o dos tornillos 10-32 x 10 mm (3) por lado.
Antes de apretar los tornillos, deslice los soportes (1) hacia arriba hasta el tope. Los agujeros de los soportes son ovalados, de modo que se pueden mover un poco hacia arriba y hacia abajo cuando los tornillos están flojos.

Debe retirarlos antes de instalar el servidor en el bastidor. Se utilizan para otros productos.

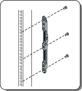
Los carriles guía se expanden (1) para ajustarse al bastidor, a continuación, se introducen en las ranuras de los soportes de adaptador (2) y se acoplan en su posición (3).
Asegúrese de colocar los carriles guía en la orientación correcta. Tienen las etiquetas “FRONT LEFT” y “FRONT RIGHT”.

Gracias a ellos, los carriles guía no se saldrán sin querer de los soportes de adaptador.

Pasos siguientes