| Oracle® Database Applianceオーナーズ・ガイド リリース2.6 for Linux x86-64 部品番号 B66175-05 |
|
|
この章の内容は次のとおりです。
設置を開始する前に、次の項の手順を実行してください。
![]() | 注意 - 機器の破損:コンポーネントを取り外してシステムを軽量にする場合、先にESDの注意を確認してください。 |
![]() | 注意 - 機器の破損:静電破壊を回避するには、コンポーネントを設置または使用する際に次の事項に注意してください。 |
静電気防止放電マット、静電気防止バッグまたは使い捨ての静電気防止マットなど、静電気を防止する面にコンポーネントを設置してください。
システム・コンポーネントを取り扱う際は、シャーシの金属表面に接続された静電気防止用ストラップを装着してください。
設置を開始する前に、システムのラック取付けに必要なスタッフ、工具および機器を用意します。
|
4本柱のラックにシステムを設置する方法の詳細は、ラック取付けガイドおよび調整テンプレートを参照してください。このテンプレートは、アクセサリ・キットのシステムに含まれています。
ラック取付けハードウェアは、次の表の要件を満たす特別なラックにのみ使用できます。
|
![]() | 注意 - 人的傷害や機器の破損: ラックの上側が重くなって倒れないように、常に下から上にラックに機器を搭載してください。機器の設置中にラックが倒れないように、ラックの転倒防止バーを伸ばしてください。地震キットがラックに設置され、床に固定されている場合、この注意は適用されません。 |
ラック取付けガイドおよび調整テンプレートは、アクセサリ・キットでシステムとともに発送されます。ラックにシステムを挿入する場合は、このテンプレートを使用してください。
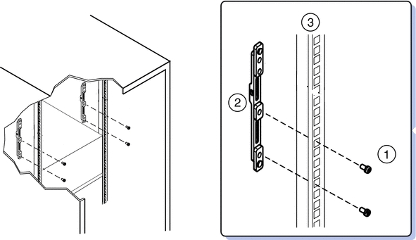
次の図は、ラック取付けキットに同梱されるハードウェアを示しています。

|
この項は、次のトピックで構成されています。
2人でラックにシステムを持ち上げられるようにシステムを軽量にするため、コンポーネントを取り外すことができます。システム・コンポーネントを取り外すと、重量を約96ポンド(43.5kg)に減らすことができます。
システムを軽量にするには、次のコンポーネントを取り外します。
サーバー・ノード
電源
システムからコンポーネントを取り外す手順および関連する安全情報は、製品ドキュメントの一部である『Oracle Database Applianceサービス・マニュアル』を参照してください。
ラック取付けハードウェアは、棚レール、前面および背面のアダプタ金具、背面の留め具およびねじで構成されます。
![]() | 注意 - 人的傷害や機器の破損: システムの設置には機械式リフトを使用するか、「システムを軽量にするためのコンポーネントの取外し」に記載されている注意に従ってください。コンポーネントを取り外すと、重量をコンポーネントが完全に取り付けられている状態の160ポンド(72.6kg)から約96ポンド(43.5kg)に減らすことができます。 |
![]() | 注意 - 転倒注意: ラックの上側が重くなって倒れないように、常に下から上にラックに機器を搭載してください。設置中にラックが倒れないように、ラックの転倒防止バーを伸ばしてください。 |
![]() | 注意 - 動作周囲温度の上昇: 「環境仕様」で指定されている最高周囲温度を超えない環境に、この機器を設置してください。システムが密閉されたラック・アセンブリや複数ユニットのラック・アセンブリに設置されている場合、ラック環境の動作周囲温度が室内周囲温度より高くなる場合があります。 |
![]() | 注意 - 熱損傷: 空気の流れを妨げないように、ラックにこの機器を設置してください。 |
![]() | 注意 - 回路の過負荷: 電源回路への機器の接続および回路の過負荷によって発生する可能性のある過電流対策および電源配線の影響を考慮してください。この問題に対処する場合、機器のネームプレートにある電力定格に注意してください。 |
![]() | 注意 - 機器の破損: ラックに取り付けた機器の接地を確実に維持してください。分岐回路への直接接続以外の電源の接続(テーブル・タップの使用など)には注意してください。 |
また、そのテンプレートを使用して、アダプタ金具とラック・ポストの位置を合わせます。
ラック取付けガイドおよび調整テンプレートの下端をラックの最も低い位置に合わせます。すべての矢印をラック・ポストの穴に合せます。ラックに4RUのスペースがあることを確認します。
システムは、角穴型ラックに1セット[1]、丸穴型ラックに1セット[2]の合計2セットのアダプタ金具とともに発送されます。
アダプタ金具には、角穴型ラック用または丸穴型ラック用のいずれかを示すラベルがあります。また、アダプタ金具の矢印は、向きを示します。すべての金具は"Top"の矢印が上を向くように設置してください。
次の図は、角穴型ラック[1]および丸穴型ラック[2]に取り付けられる前面のアダプタ金具を示しています。
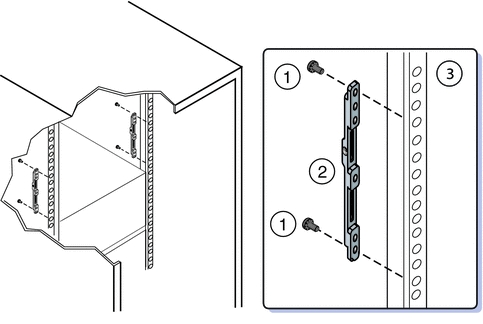
![]() | 注意 - システム障害: 棚が内側および間隔がラックの前面の正しい方向に棚レールを取り付けてください。そうしないと、システムが落下するおそれがあります。 |
これらのねじは、棚レールが誤ってアダプタ金具から外れることを防ぎます。
関連項目
開始する前に
開始する前に、「ラックへのラック取付けハードウェアの設置手順」の手順を実行します。
機械式リフトの使用をお薦めします。
![]() | 注意 - 人的傷害や機器の破損: システムの設置には機械式リフトを使用するか、「システムを軽量にするためのコンポーネントの取外し」に記載されている注意に従ってください。コンポーネントを取り外すと、重量をコンポーネントが完全に取り付けられている状態の160ポンド(72.6kg)から約96ポンド(43.5kg)に減らすことができます。 |
![]() | 注意 - 転倒注意: ラックの上側が重くなって倒れないように、常に下から上にラックに機器を搭載してください。設置中にラックが倒れないように、ラックの転倒防止バーを伸ばしてください。 |
![]() | 注意 - 落下注意: システムがラック内に12インチ(305mm)を超えて挿入され、棚レールで確実に支えられるまで、システムを離さないでください。ラック内に12インチ(305mm)を超えて挿入されるまで、棚レールはシステムを確実に支えられません。 |
ねじ穴のある丸穴型ラックでは、4個のM6 x 12mmねじまたは4個の10-32 x 10mmねじを使用します。
角穴型ラックでは、4個のM6 x 16mmねじを使用します。
手順は、製品ドキュメントの一部であるサービス・マニュアルを参照してください。
この項は、次のトピックで構成されています。
システムがラックで発送される場合、システムを使用する前に発送用金具を取り外す必要があります。「発送用金具の取外し手順」を参照してください。
ラックのシステムを別の宛先に発送する場合は、「発送用金具の設置手順」を参照してください。
次の図は、移動キットに含まれるハードウェアを示しています。

|
システムがラックで発送される場合、発送用金具で支える必要があります。システムを使用する前に、前面の発送用金具を取り外す必要があります。背面の発送用金具の取外しはオプションです。
前面の発送用金具には、未使用のねじを格納するために使用される8つのねじ穴(4つのM6および4つの10-32)があります。ラックのねじ山に合うねじを取り外して、それらを使用してシステムの前面をラックに固定します。
発送用金具を再設置する必要がある場合に備えて、前面の発送用金具にねじを格納できます。
ラックのシステムを別の場所に移動または発送する場合、発送用金具を設置する必要があります。
2個の長いねじを締めて、発送用金具およびシステムをラックに固定します。
発送用金具が取り外される場合に使用できるように、ねじを格納します。
![]() | 注意 - 機器の破損: 少なくとも1個の上部のねじが確実に締められていないかぎり、下部のねじを取り外さないでください。そうしないと、システムが落下するおそれがあります。 |
4個のねじ[1](M6 x 16mmねじまたは10-32 x 10mmねじ)を使用して、背面の発送用金具をラックに固定します。これらのねじは最後まで締め付けないでください。ねじは金具を支える程度に締める必要がありますが、まだ金具が少し動くようにしておきます。
金具をポストに固定する必要がありますが、まだ少し動くようにします。
必要に応じて、金具を動かせる程度にねじを緩めて、システムの底面に金具を押し込み、ねじを締めます。
![]() | 注意 - 機器の破損: 発送中のシステムの破損を防止するため、底面の発送用金具をシステムの底面に確実に固定する必要があります。 |
次の項では、ラックからシステムおよびラック取付けハードウェアを取り外す方法について説明します。
この手順では、システムの電源が切断され、システムの移動を制限するケーブルまたはコードが取り外されていることを前提とします。
![]() | 注意 - 人的傷害や機器の破損: システムの設置には機械式リフトを使用するか、「システムを軽量にするためのコンポーネントの取外し」に記載されている注意に従ってください。コンポーネントを取り外すと、重量をコンポーネントが完全に取り付けられている状態の160ポンド(72.6kg)から約96ポンド(43.5kg)に減らすことができます。 |
![]() | 注意 - 落下注意: ラックからの距離が12インチ(305mm)を超えると、棚レールはシステムの重量を低減します。ラックからの距離が12インチ(305mm)を超えるまで、システムの重量を支える必要があります。 |
各棚レールの前部を持ち上げてから、後部を持ち上げます。
アダプタ金具[2]からフランジが取り外されてから、棚レールを収縮します。