10 ラックへのOracle Database Appliance X3-2の設置
この章では、サーバー・ノードおよびストレージ・シェルフのラックへの設置方法について説明します。ここの内容は、次のとおりです。
 | 注意 - 人的傷害や機器の破損: ラックには常に下から上に機器を設置してください。サーバー・ノードを設置する前に、オプションのストレージ・エクスパンション・シェルフおよびストレージ・シェルフを設置します。次に、サーバー・ノード1を設置する前にサーバー・ノード0を設置します。ストレージ・シェルフの設置手順は、「ラックへのストレージ・シェルフの設置」を参照してください。
|
 | 注意 - システム障害: Oracle Database Appliance X3-2機器は一緒に設置する必要のある適合セットで出荷されます。別システムの機器と混合すると、システム障害が発生することがあります。
|
ラック取付けの準備
この項では、Oracle Database Appliance X3-2のラック取り付けを準備します。
この項の内容は次のとおりです。
ESDの注意
 | 注意 - 機器の破損:静電破壊を回避するには、コンポーネントを設置または使用する際に次の事項に注意してください。
|
出荷パレットの内容
Oracle Database Appliance X3-2は、1つのパレット上にシステム全体が載って出荷されます。これには、すべてのサーバー・ノード、ストレージ・シェルフ、取付けハードウェア、ケーブルおよびラベルが含まれます。
 | 注意 - システム障害: 出荷内のすべてのアイテムは1つのシステムとして一緒に使用されるように設計されています。別の出荷のコンポーネントと混合しないでください。システム障害が発生することがあります。詳細は、「コンポーネントの互換性の確認」を参照してください。
|
この出荷内のアイテムは次のとおりです。
ストレージ・エクスパンション・シェルフを注文した場合は、別に出荷されます。
設置の流れ
機器のラックへの設置は、必ず下から開始して上へ向かって作業してください。Oracle Database Appliance X3-2の場合、次の順序で機器を設置します。
関連情報:
コンポーネントの互換性の確認
システムのすべてのコンポーネントには、システムに固有の最上位レベル識別子(TLI)番号があります。両方のサーバー・ノード、ストレージ・シェルフ、およびストレージ・エクスパンション・シェルフ(オプション)のTLIは同じである必要があります。
注意 - 最初の設置後に、ストレージ・エクスパンション・シェルフを追加する場合、そのTLIはシステムのその他の部分とは異なります。
- 両方のサーバー・ノード、ストレージ・シェルフ、および(ある場合)ストレージ・エクスパンション・シェルフのTLIを探します。
TLIラベルは、コンポーネントの上部、左側、前面近くにあります。
- すべてのコンポーネントのTLI番号が同じであることを確認します。
必要なツールおよび機器
設置を開始する前に、次のツールおよび機器を用意します。
設置用のラックの固定
 | 注意 - 人的傷害や機器の破損: 人的傷害のリスクを軽減するには、ラック・キャビネットを固定し、サーバーの設置前に転倒防止デバイスを伸ばします。
|
次の手順の詳細な説明は、ラックのドキュメントを参照してください。
- ラック・キャビネットの前面および背面ドアを開き、取り外します。
注意 - 前面および背面ドアは、設置の邪魔になる場合にのみ、取り外す必要があります。
- 設置中にラック・キャビネットが倒れないように、ラック・キャビネットの前面の底にある、転倒防止脚または転倒防止バーを完全に伸ばします。
- ラック・キャビネットの下に回転防止用の水平調整脚がある場合、床に向けて完全に伸ばします。
関連情報
ラベルの貼付
Oracle Database Appliance X3-2は、各サーバー・ノードおよびストレージ・シェルフの前面に貼付する、ラベル・キットとともに発送されます。
サーバー・ノードおよびストレージ・シェルフへのラベルの貼付
- ラベルを探します。
発送キットには、4枚のラベルがあるシートが含まれています。
- ラベルを貼付する場所がきれいで、油分や塵がないことを確認します。
- 次のように、ラベルを貼付します。
各ラベルの裏紙をはがして、アプライアンスのフロント・パネルの右側の対応する場所に、ラベルを貼付します。
サーバー・ノード1: このラベルを上のサーバー・ノードに貼付します[1]。
サーバー・ノード0: このラベルを下のサーバー・ノードに貼付します[2]。
ストレージ・シェルフ: このラベルをサーバー・ノード0のすぐ下のストレージ・シェルフに貼付します[3]。
ストレージ・エクスパンション・シェルフ(オプション): 存在する場合、このラベルを一番下のストレージ・シェルフに貼付します[4]。
ラックへのストレージ・シェルフの設置手順
ここに示す手順を使用して、ラックにストレージ・シェルフを設置します。
Oracle Database Appliance X3-2には1つのストレージ・シェルフが必要で、ストレージ・エクスパンション・シェルフと呼ばれる、2つ目のストレージ・シェルフが含まれることもあります。どちらも同じ方法で設置します。
ストレージ・エクスパンション・シェルフがある場合は、先に設置します。
既存のシステムにストレージ・エクスパンション・シェルフを追加する場合の詳細は、「既存のシステムへのストレージ・エクスパンション・シェルフの設置手順」を参照してください。
ラックへのストレージ・シェルフの設置手順
ストレージ・シェルフのラック取付けキットには、2つのラック・レール、長いM6ねじおよび短いM6ねじ、10mmレンチが含まれます。
開始する前に
この作業には、ねじ山のあるラックおよびねじ山のないラックの両方の手順が含まれています。
- レールをラックに設置します。
- ねじ山のないラックの場合:
- フロント・レール位置ペグ[1]を、ラックの前面の適切な穴の完全な内側に配置します。
レール・フランジ[2]はキャビネット・フランジの内側で、レールのラベルはキャビネットの内側に面している必要があります。
- 1個のねじをラックの前面からレールの一番上の穴に挿入して緩く締めます[3]。
- 1個のねじをラックの背面からレールの裏側に挿入して緩く締めます[4]。

| |
1
| 位置ペグ
|
2
| レール・フランジおよびラベル
|
3
| 前面の取付け用ねじ
|
4
| 背面の取付け用ねじ
|
|
- ねじ山のあるラックの場合:
- T20 Torxドライバを使用して、レールの前面および背面から、レール位置ペグを取り外します[1]。
- 10mmレンチ(支給)を使用して、位置ペグを取り外したレールの端にピンを挿入します[1]。
- レールの前面をキャビネットの内側に配置し、レール・フランジはキャビネット・フランジの内側で、レールのラベルはキャビネットの内側に面しているようにします[2]。
ピンはラックの穴の内側の位置に完全に合わせる必要があります。
- 1個のねじをラックの前面からレールの一番上の穴に挿入して緩く締めます[3]。
ねじ山のあるラック用のねじには、シャフトの頂上近くにねじ山のない領域があります。これらのねじをレールに通す前に、ねじ山がラックを通過してねじが自由に回転するまで、ラックに通します。
 | 注意 - 機械的障害。ねじ山のあるラックにストレージ・シェルフを設置する場合、部分的にねじ山のないシャフトのあるねじを必ず使用してください。これらをレールに通す前に、ねじ山がラックを通過してねじが自由に回転するまで、確実にラックに通します。
|

| |
1
| ピン(位置ペグと交換)
|
2
| レール・フランジおよびラベル
|
3
| 前面の取付け用ねじ
|
|
- レールの脚を収まるように調整し、対応する背面のラックの穴の内側の背面ピンを探します[1]。
- 1個のねじをラックの背面からレールの裏側に挿入して緩く締めます[2]。

| |
1
| ピン(位置ペグと交換)
|
2
| 背面の取付け用ねじ
|
|
- ラックに完全に収まるまで、棚レール上のストレージ・シェルフを注意深くスライドします。
 | 注意 - 機器の損傷: 電源およびファン・モジュールのハンドルを使用してストレージ・シェルフを持ち上げないでください。 |
 | 注意 - 人的傷害や機器の破損: 機械式リフトを使用するか、3名で行ってください。3名で行う場合、2名でストレージ・シェルフを所定の位置に持ち上げ、離す前にレールの上に安全に乗っていることをもう1名が確認します。
|
- ストレージ・シェルフを、ラックから約7.8インチ(200 mm)まで引き出します。
- レールをラックに固定する4個のねじを締めます(前面に2個、背面に2個)。
- ストレージ・シェルフをスライドしてラックに戻し、レール上に安全に乗っていることを確認します。
- ストレージ・シェルフの前面の両端をカバーしている前エンド・キャップを取り外します[1]。パチンと外します。
- 両端で1個の短いねじを使用してストレージ・シェルフの前面をラックに固定します。
- エンド・キャップをストレージ・シェルフにパチンと戻します。
- レールごとに1個の短いねじを使用して、ストレージ・シェルフの背面をレール上のねじ穴に固定します。
- これらの手順をオプションのストレージ・エクスパンション・シェルフに繰り返します。
関連情報
既存のシステムへのストレージ・エクスパンション・シェルフの設置手順
開始する前に
この作業は、ストレージ・エクスパンション・シェルフを含まないOracle Database Appliance X3–2が正しく設置され、動作していることを前提とします。
この作業を完了するのに、システムを停止する必要はありません。
次の例外条件に注意してください。
ストレージ・エクスパンション・シェルフは通常、Oracle Database Applianceの下部の、ストレージ・シェルフの下に設置されます。しかし、ラックは通常、下から上へプロビジョニングされる必要があるので、空きがない場合があります。そのような場合、システム全体を再度ラックに取り付けなくても済むように、サーバー・ノードの上、または別のラックに配置することもできます。
「コンポーネントの互換性の確認」で説明しているように、ストレージ・エクスパンション・シェルフの最上位レベル識別子(TLI)はシステムのその他の部分と一致しません。
- ラベルを貼付します。
エクスパンション・ストレージ・シェルフの発送には"EXPANSION STORAGE SHELF"と書かれたラベルが含まれます。「ラベルの貼付」の説明に従い、このラベルを貼付します。
- 「ラックへのストレージ・シェルフの設置」の説明に従い、エクスパンション・ストレージ・シェルフを設置します。
- 「Oracle Database Appliance X3-2の配線と電源投入」の説明に従い、エクスパンション・ストレージ・シェルフの配線を行います。
 | 注意 - データの損失。ケーブルを正しく配線するように注意してください。 |
- 両方の電源スイッチをオンの位置にします。
エクスパンション・ストレージ・シェルフの電源を入れます。
- 『Oracle Database Applianceスタート・ガイド』のOracle Database Appliance X3–2へのストレージ・エクスパンション・シェルフの追加に関する項に従い、新しいストレージがOracle Database Appliance X3–2に追加されたことを確認します。
ラックへのサーバー・ノードの設置
この項の手順を使用して、ラックにサーバー・ノードを設置します。
この項の内容は次のとおりです。
ラック取付けハードウェアの確認
- ラック取付けハードウェアが揃っていることを確認します。
各サーバー・ノードのラック取付けキットには、2個のスライド・レール、2個の取付け用金具、およびオプションで固定ねじが含まれます。
注意 - ラック取付けキットの設置カードでは、スライド・レールおよびケーブル管理アーム・オプションを使用した、サーバーの4本柱のラックへの設置の簡易手順が示されます。
注意 - 番号は図のフレーム2を参照しています。
| |
1
| スライド・レール
|
2
| 取付け用金具
|
3
| 4個のM4 x 5ファインピッチ取付け用金具固定ねじ(オプション)
|
4
| 設置カード
|
|
関連情報
取付け用金具の設置
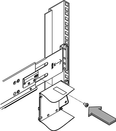
サーバーの両側への取付け用金具の設置手順は次のとおりです。
- スライド・レール・ロックがサーバーの前面にくるように、取付け用金具の位置をシャーシに合わせ、取付け用金具の5個の鍵穴をシャーシの側面の5個の位置決めピンに合わせます。

| |
1
| シャーシ前面
|
2
| スライド・レール・ロック
|
3
| 取付け用金具
|
4
| 取付け用金具クリップ
|
|
- 5個のシャーシ位置決めピンの頭が取付け用金具の5つの鍵穴からはみ出している状態で、取付け用金具クリップがカチッという音をたててロックされるまで、取付け用金具をシャーシの前面に向かって引っ張ります。
- 背面の位置決めピンが取付け用金具クリップにはまっていることを確認します。
- 手順1から3を繰り返して、サーバーの反対側の残りの取付け用金具を設置します。
関連情報
ラック取付け位置のマーク
ラック取付けの設置カードを使用して、スライド・レールの正しい取付け穴を特定します。
注意 - 下から上へラックに搭載してください。
- ラック・キャビネットにサーバーを設置するための1ラック・ユニット(1RU)以上の垂直空間があることを確認します。
「ラックの要件」を参照してください。
- ラック取付けの設置カードをフロント・レールに置きます。
カードの下端がサーバーの下端に対応します。設置カードの下端から測ります。
- 前面スライド・レールの取付け穴をマークします。
- 背面スライド・レールの取付け穴をマークします。
関連情報
工具不要のスライド・レール・アセンブリの接続
この手順を使用して、工具不要のスライド・レール・アセンブリをラックに接続します。
- ボール・ベアリング・トラックが前方で、適切な位置で固定されるように、スライド・レール・アセンブリを正しい向きに置きます。

| |
1
| スライド・レール
|
2
| ボール・ベアリング・トラック
|
3
| 固定機構
|
|
- ラックの左側または右側のいずれかから、スライド・レール・アセンブリの背面をラック・レールの内側に合わせ、カチッという音がしてロックされるまでアセンブリを押します。
- スライド・レール・アセンブリの前面をラック・レールの前面の外側に合わせ、カチッという音がしてロックされるまでアセンブリを押します。
- 手順1から3を繰り返して、ラックの反対側にスライド・レール・アセンブリを接続します。
関連情報
スライド・レール・アセンブリへのサーバーの設置
この手順を使用して、サーバー・シャーシを、取付け用金具を使用して、ラックに取付けられたスライド・レール・アセンブリに設置します。
 | 注意 - 人的傷害や機器の破損: 1)サーバーの重量のため、この手順には2名以上が必要です。2)ラックの上側が重くなって倒れないように、常に下から上にラックに機器を搭載してください。機器の設置中にラックが倒れないように、ラックの転倒防止バーを伸ばしてください。
|
- スライド・レールをラック内のスライド・レール・アセンブリへできるかぎり押し込みます。
- 取付け用金具の後ろの端が、ラックに取付けられたスライド・レール・アセンブリと揃うようにサーバーの位置を決めます。
- 取付け用金具をスライド・レールに挿入して、取付け用金具がスライド・レールの終端にくるまで(約30cmまたは12インチ)、サーバーをラックに押し込みます。

| |
1
| 取付け用金具のスライド・レールへの挿入
|
2
| スライド・レールの解放ボタン
|
3
| スライド・レール・ロック
|
|
- サーバーをラックに押し込みながら、同時に各取付け用金具の緑色のスライド・レール解放ボタンを押したままにします。スライド・レールのロック(取付け用金具の前面)がスライド・レール・アセンブリに着くまで、サーバーをラックに押し込み続けます。
この機構はカチッと音がします。
 | 注意 - 機器の破損: オプションのケーブル管理アームを設置する前に、サーバーが安全にラックに取り付けられており、スライド・レール・ロックが取付け用金具にはまっていることを確認します。
|
関連情報
ケーブル管理アームの設置
この手順を使用してケーブル管理アーム(CMA)を設置します。これによりサーバーの背面に接続されたケーブルを管理できます。
- CMAを開けます。
次の図は、CMAコンポーネントを示しています。

| |
1
| コネクタA
|
2
| 前面のスライド・バー
|
3
| 面ファスナー・ストラップ(6)
|
4
| コネクタB
|
5
| コネクタC
|
6
| コネクタD
|
7
| スライド・レール・ラッチ金具(コネクタDで使用)
|
8
| 背面のスライド・バー
|
9
| ケーブル・カバー
|
10
| ケーブル・カバー(未使用)
|
|
- サーバー用のフラット・ケーブル・カバーがCMAに取り付けられていることを確認します。
CMAには上部が平らなケーブル・カーバーが取り付けられて発送される必要があります。上部が丸いケーブル・カバーのセットがパッケージに含まれていることがあります。それらは使用しません。
- 6個の面ファスナー・ストラップがCMAに装着されていることを確認します。
注意 - 前に示したとおり、前面のスライド・バーにある2個の面ファスナー・ストラップが、スライド・バーの上の穴を通って装着されていることを確認します。これにより、サーバーをラックから引き出したり、ラックに戻すときに、面ファスナー・ストラップがスライド・バーの伸縮の邪魔になりません。
- CMAの取付けを容易にするために、サーバーをラックの前面から約13cm (5インチ)引き出します。
- CMAを機器ラックの後ろに持っていき、サーバーの後ろに作業するのに十分な空間があることを確認します。
注意 - この手順に出てくる"左"および"右"は、機器ラックの背面に向かっていると仮定しています。
 | 注意 - 機器の損傷: この設置手順全体で、4つの取付け地点のすべてで固定されるまで、CMAを支えて、重さで垂れ下がらないようにします。
|
- CMAのコネクタAを、カチッと音がして正しい位置に固定されるまで、左スライド・レールの前スロットに挿入します[フレーム1および2]。
コネクタAのつまみ(コールアウト1参照)はスライド・レールの前スロットに挿入されます(コールアウト2)。
前面のスライド・バーの左側をやさしく引っ張り、コネクタAが正しく収まっていることを確認します。

| |
1
| コネクタAのつまみ
|
2
| 左スライド・レールの前スロット
|
|
- CMAのコネクタBを、カチッと音がして正しい位置に固定されるまで、右スライド・レールの前スロットに挿入します[フレーム1および2]。
コネクタBのつまみ(コールアウト1)はスライド・レールの前スロットに挿入されます(コールアウト2)。
前面のスライド・バーの右側をやさしく引っ張り、コネクタBが正しく収まっていることを確認します。

| |
1
| コネクタBのつまみ
|
2
| 右スライド・レールの前スロット
|
|
- CMAのコネクタCを右スライド・レールに取り付けるには、次の手順を実行します。
- 固定用ばね(コールアウト1)が右スライド・レールの内側(サーバー側)に来るように、コネクタCをスライド・レールに合わせます[フレーム1]。

- コネクタCを、カチッと音がして正しい位置に固定されるまで、右スライド・レールに挿入します[フレーム2および3]。
- CMAの背面のスライド・バーの右側をやさしく引っ張り、コネクタCが正しく収まっていることを確認します。
- CMAのコネクタDの取付けを準備するには、スライド・レール・ラッチ金具を固定しているテープを取り外し、ラッチ金具の位置がコネクタDと完全に合っていることを確認します[フレーム1および2]。
注意 - CMAは、コネクタDにテープで貼られたスライド・レール・ラッチ金具とともに出荷されます。このコネクタを取り付ける前に、テープを剥がす必要があります。
- スライド・レール・ラッチ金具を正しい位置で保持しながら、コネクタDおよびそれに関連するスライド・レール・ラッチ金具を、カチッと音がしてコネクタDが正しい位置に固定されるまで挿入します[フレーム1および2]。
注意 - コネクタDをスライド・レールに挿入するときに、コネクタDとラッチ金具は1つのアセンブリとしてスライド・レールに取り付けます。
CMAの背面のスライド・バーの左側をやさしく引っ張り、コネクタDが正しく収まっていることを確認します。
注意 - スライド・レール・ラッチ金具には緑色の解放つまみがあります。コネクタDを取り外せるように、このつまみを使用して、ラッチ金具を解放して取り外します。
- CMAがその重みで垂れ下がる前に、4つのCMAの接続地点をやさしく引っ張り、CMAコネクタが完全に固定されていることを確認します。
- ケーブルをCMAに通す前に、スライド・レールおよびCMAが適切に作動していることを確認するには、CMAが完全に伸ばされるまで、ラックの前面からサーバーを引き出します。
- サーバーをラックに戻すには、次の手順を実行します。
注意 - サーバーがラックから完全に引き出されている場合、2セットの
スライド・レールの終端を解放してサーバーをラックに戻す必要があります。
- 終端の最初のセットはレバーからなり、各スライド・レールの内側、サーバーのバック・パネルのすぐ後ろにあります。これらのレバーには"PUSH"というラベルが付いています。両方のレバーを同時に押し込み、サーバーをラックに向けてスライドします。
サーバーは約46cm (18インチ)スライドして止まります。
続行する前に、CMAがひっかからずに引っ込むことを確認します。
- 終端の2番目のセットはスライド・レールの解放ボタンからなり、各取付け金具の前のそばにあります。両方の緑色のスライド・レール解放ボタンを同時に押し、両方のスライド・レール・ロックがはまるまで、サーバーをラックに完全に押し込みます。
- 必要に応じて、ケーブルをサーバーに接続します。
サーバー・ケーブルの接続手順については、第11章「ケーブルおよび電源コードの接続とOracle Database Appliance X3-2の電源投入」で説明しています。
電源コードを含む、すべてのケーブルは、CMAを通る必要があります。
- CMAケーブル・カバーを開け、サーバー・ケーブルをCMAのケーブル・トラフに通して、ケーブル・カバーを閉じ、ケーブルを6個の面ファスナー・ストラップで固定します。
次の順序で、ケーブルをケーブル・トラフに通します。
- 最初に、最も前のケーブル・トラフを通ります。
- 次に、小さなケーブル・トラフを通ります。
- 次に、最も後ろのケーブル・トラフを通ります。
注意 - 前面のスライド・バーにある面ファスナー・ストラップでケーブルを固定する場合、面ファスナー・ストラップがスライド・バーの底を巻き込まないようにします。そうしないと、サーバーをラックから引き出したり、ラックに戻すときに、スライド・バーの伸縮が妨げられます。
- 固定されたケーブルは、接続するサーバーの上部より上、または底よりも下に伸びないようにします。そうしないと、サーバーをラックから引き出したり、ラックに戻すときに、ラック内に設置された他の機器の邪魔になることがあります。
注意 - 必要な場合、追加の面ファスナー・ストラップでケーブルを固定し、他の機器の邪魔にならないようにします。
関連情報
スライド・レールおよびCMAの機能の確認
次の手順を使用して、スライド・レールおよびCMAが正しく機能していることを確認します。
注意 - この手順は2名で行う必要があります。1名はサーバーをラックから出し入れし、もう1名がケーブルおよびCMAを観察します。
- スライド・レールが終端に着くまで、サーバーをラックからゆっくりと引き出します。
- 接続されたケーブルにねじれや引っかかりがないか検査します。
- スライド・レールでCMAが完全に伸びることを確認します。
- 次の手順に示すように、サーバーをラックに押し戻します。
サーバーがラックから完全に引き出されている場合、2セットのスライド・レールの終端を解放してサーバーをラックに戻す必要があります。
- 終端の最初のセットはレバーからなり、各スライド・レールの内側、サーバーのバック・パネルのすぐ後ろにあります。これらのレバーには"PUSH"というラベルが付いています。両方のレバーを同時に押し込み、サーバーをラックに向けてスライドします。
サーバーは約46cm (18インチ)スライドして止まります。
続行する前に、ケーブルおよびCMAが引っかからずに引っ込むことを確認します。
- 終端の2番目のセットはスライド・レールの解放ボタンからなり、各取付け金具の前のそばにあります。両方の緑色のスライド・レール解放ボタンを同時に押し、両方のスライド・レール・ロックがはまるまで、サーバーをラックに完全に押し込みます。
- 必要に応じて、ケーブル・ストラップとCMAを調整します。
関連情報