安装 DE2-24P 磁盘机框
使用以下过程安装 Oracle Storage Drive Enclosure DE2-24P,它需要在机柜中占用两个机架单元 (rack unit, RU) 或六个机架孔的垂直空间。
开始之前
 | 注意 -
由于机箱较重,此过程至少需要两个人或一个机械式升降装置。如果尝试一个人独自执行此步骤,则可能导致设备损坏或人身伤害。请勿使用电源手柄向上提起机箱。
|
-
从机架底部拉出所有防倾斜装置和稳定装置。
-
从机柜底部开始定位相应的机架单元 (rack unit, RU) 高度,即六个机架孔。如果机架是无螺纹通用 19 英寸或 Sun Rack II 机柜:
-
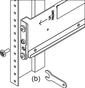
将前滑轨位置挂钩完全放入机架前面适当的孔中。
滑轨外缘必须位于机柜外缘内侧,而滑轨标签面向机柜内侧。
-
将一颗螺丝穿过机架前面,插入到滑轨中的顶部孔中并拧紧。
-
将滑轨调整到合适长度,并将背面滑轨位置挂钩放置到相应的背面机架孔中。
-
将一颗螺丝穿过机架后面,插入到滑轨背面并拧紧。
-
如果机架是有螺纹通用 19 英寸机柜:
-
使用 T20 Torx 起子将滑轨位置挂钩从滑轨前面和背面卸下。
-
使用提供的扳手将两个定位销插入滑轨的每端,在卸下位置挂钩的相同位置。
-
将滑轨正面置于机柜内侧,使滑轨外缘位于机柜外缘内侧,而滑轨标签面向机柜内侧。
定位销应该完全定位到机架孔中。
-
将一颗螺丝穿过机架前面,插入到滑轨中的顶部孔中并拧紧。
-
将滑轨调整到合适长度,并将背面定位销定位到相应的背面机架孔中。
-
将一颗螺丝穿过机架后面,插入到滑轨背面并拧紧。
-
使用机械式升降装置或由两个人(磁盘机框的每一侧各一人)小心地向上提起机框,并将该机框安放在左右滑轨的底部边缘。请勿使用带有风扇模块的电源手柄向上提起机框。
-
小心地将机框滑入滑轨,直至该机框完全固定在机柜中。观察员应使用手电筒,确保该机框完全固定在滑轨中。如果要卸下机框,以便于重新安放,请始终托住它。
-
在每个滑轨上安装一颗长的贴片锁螺丝,从而将机框背面固定到机架背面上。如果螺丝无法插入,机框可能未完全固定在滑轨中。
-
卸下前侧保护套,分别将一颗螺丝安装到前侧每一端,然后重新装上保护套。