Go to main content

Oracle® ZFS Storage Appliance インストールガイド

印刷ビューの終了

更新: 2018 年 11 月
 
 

DE2-24C ディスクシェルフの設置

キャビネット内の垂直方向スペースの 4 つの標準マウントラックユニット (4RU)、または 12 個のラックの穴を必要とする Oracle Storage Drive Enclosure DE2-24C を取り付けるには、次の手順を使用します。

始める前に

  • 設置の前提条件および ディスクシェルフの概要を確認します。

  • キャビネットの転倒を防ぐために、もっとも重い装置であるディスクシェルフの積載を、常にキャビネットの下部から開始します。

  • 現在および将来において、ディスクシェルフをコントローラに配線するための最適な準備は、コントローラをキャビネットの中央にマウントすることです。

  • M6 サイズのねじ穴付きのキャビネットに設置するためのねじは提供されていません。


Caution

注意  -  この手順には、シャーシの重さのため最低 3 人またはリフティング用機械が必要です。この手順を 1 人で実行すると、機器が損傷したり、けがをする可能性があります。電源装置のハンドルを使用してシャーシを持ち上げないでください。


  1. キャビネットの下からすべての転倒防止デバイスおよび安定デバイスを引き出します。
  2. 適切なラックユニット (RU) の高さを決定します。高さはキャビネットの下からラック穴 8 個分です。ねじなしの汎用の 19 インチキャビネット、Sun Rack II キャビネット、または Oracle Rack Cabinet 1242 キャビネットを使用する場合、適切なラック穴に付属のケージナットをはめ込みます。
    image:右側のラックポストにケージナットを挿入する詳細を示す図
  3. 各レールの端にねじを用意します。
    • 角穴式のねじなしキャビネットの場合 - 作業は不要です。

    • 丸穴式のねじなしキャビネットの場合 - 各レールの端からねじを取り外して破棄します。丸穴キャビネット用のねじを、側に置いておきます。

    • ねじ式キャビネットの場合 - ねじを取り外し、(レールの縁の内部から) 反対方向に取り付け直して位置ピンとして使用します。また、前面レールの両端からクリップナットを取り外して、破棄します。

  4. レールの縁をキャビネットの縁の内側に合わせ、レールのラベルをキャビネット内側に向けて、キャビネット内でレールの前側の位置を決めます。
    • 角穴式のねじなしキャビネットの場合 - ねじ頭がラックの穴に合います。

    • 丸穴式のねじなしキャビネットの場合 - ねじを 2 個、ラックから各レールの前側に通して固定します。ラック内のケージナット、またはレール上のクリップナットに取り付けないようにしてください。

    • ねじ式キャビネットの場合 - 位置ピンがラックの穴に合います。

  5. レールの長さを合うように調整します。
    image:ラックに合わせて拡張されたレールを示す図
  6. ねじ 1 個をラックから各レールの後側に通して固定します。
  7. レールに付いている 2 つの固定ねじを締めます。
    image:レール上の 2 つの固定ねじの場所を示す図
  8. リフティング用機械を使用するか、2 人の作業員をディスクシェルフの両側に配置し、シェルフを慎重に持ち上げて、左右のレールの下部にある突起に乗せます。電源装置のハンドルを使用して持ち上げないでください。
    image:シェルフをラックに取り付ける正しい方法を示す図
  9. シェルフをスライドさせてキャビネット内に注意深く押し込みます。シェルフがレール内に完全に固定されたことを確認してください。シェルフを固定し直す場合は、いつでもシェルフを持ち上げるようにして動かします。
  10. 前面のキャップを取り外し、各前面にねじを 2 個取り付けて、キャップを元どおりに取り付けます。
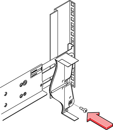
  11. 長い固定用当て部付きのねじをレールごとに 1 つ取り付けて、シェルフの背面をラックの背面に固定します。
    image:レールに取り付けられた長い固定用当て部付きのねじを示す図