Utilisation de cette documentation
Présentation de l'installation
Fonctions et composants des panneaux avant et arrière
Installer le serveur dans un rack
Montage de l'équipement en option
Contenu du kit de montage en rack
Installation du serveur dans un rack
Comment retirer des composants pour alléger l'appareil
Comment remettre en place les composants du serveur
Comment installer le matériel de montage en rack dans un rack à ouvertures rondes
Comment insérer le serveur dans le rack
Installer et retirer les bras de livraison
Comment monter les bras de livraison
Comment retirer les bras de livraison
Retrait du serveur hors du rack
Câblage et alimentation électrique
Demander de l'assistance pour le serveur
Déterminer la stratégie de gestion du serveur
Configurer le système d'exploitation Solaris préinstallé
Communiquer avec ILOM et la console système
Allocation de ressources d'E/S et d'interruptions
Le kit de montage en rack se compose de supports d'adaptateur, de croisillons arrière, de rails de tablette, d'écrous de cage et de vis.
![]() | Attention - Le serveur pèse environ 100 kg une fois chargé avec tous ses composants. Pour éviter de vous blesser et/ou d'endommager le matériel, utilisez un appareil de levage mécanique pour installer le serveur dans le rack. Si vous ne disposez pas d'un appareil de levage, retirez des composants comment décrit dans Comment retirer des composants pour alléger l'appareil. Cela permet de réduire le poids du serveur à 45 kg. Chargez toujours le matériel dans un rack de bas en haut, afin d’éviter qu’il ne se déséquilibre par le haut et bascule. Déployez la barre stabilisatrice du rack pour l'empêcher de basculer pendant l'installation des équipements. |
Remarque - Pour savoir comment installer le montage en rack dans des racks à ouvertures rondes, voir Comment installer le matériel de montage en rack dans un rack à ouvertures rondes.
Cette tâche nécessite les vis et les connecteurs suivants :
|
Le serveur est livré avec deux jeux de bras de montage : l'un pour les racks à ouvertures carrées (1) et l'autre pour les racks à ouvertures rondes (2). Les bras de montage pour racks à ouvertures carrées (1) comportent des filetages. Voir la figure suivante.
Remarque - Des flèches sur les bras (3) indiquent l'orientation du bras. Veillez à bien installer tous les bras avec la flèche Top (3) pointant vers le haut.

Placez les bras de manière à ce que leur partie inférieure soit alignée sur l'espace (5RU) où ira le serveur et de manière à ce que la flèche Top pointe vers le haut.
Remarque - Le plateau d'accessoires comprend un modèle imprimé qui vous aidera à aligner les bras de montage.
Utilisez une vis M6 x 16 par côté. Passez la vis depuis l'extérieur du rack à travers les ouvertures du montant et dans les filetages sur les bras de montage.
Les deux autres ouvertures (de chaque côté) serviront ultérieurement à fixer au rack la couronne du serveur.

Placez les bras de manière à ce que leur partie inférieure soit alignée sur l'espace (5RU) où ira le serveur et de manière à ce que la flèche Top pointe vers le haut.
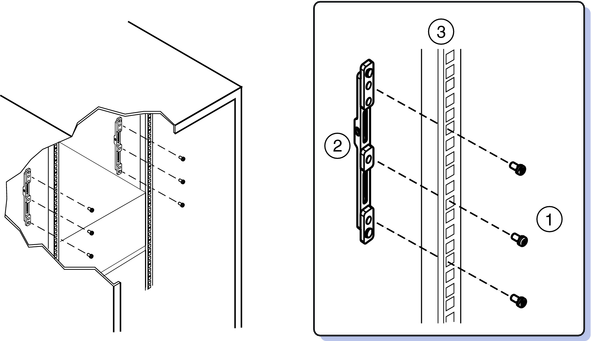
Utilisez trois vis M6 X 16 de chaque côté (1) pour attacher le bras (2) aux montants (3).

Installez deux écrous de cage M6 (4) de chaque côté, puis utilisez deux vis M6 x 16 (3).
Avant de serrer les vis, faites glisser le plus possible les croisillons (1) vers le haut. Les ouvertures sur les croisillons sont ovales pour leur permettre de bouger un peu vers le haut et vers le bas lorsque les vis ne sont pas serrées.

Vous devez retirer les rallonges avant d'installer le serveur dans le rack. Les rallonges sont utilisées pour d'autres produits.

Les rails de tablette (1) s'adaptent à la taille du rack, puis viennent s'insérer dans les logements des bras de montage (2) pour se mettre en place (3).
Veillez à bien placer les rails de tablette dans la bonne orientation. Ils sont marqués FRONT LEFT (AVANT GAUCHE) et FRONT RIGHT (AVANT DROITE).

Ces vis empêchent les rails de tablette de sortir accidentellement des bras de montage.

Étapes suivantes