C H A P T E R  5

Hardware and Functional Description

This chapter contains the following sections:


5.1 Summarized Physical Description

The Netra CP2300 board is a 6U-sized cPSB circuit card with CompactPCI connectors J1 (labeled as J9 on the board) and J2 (J10) for PCI, and J3 (J13) and J5 (J14) for I/O. The CompactPCI J4 connector is not fitted to the board. See FIGURE 5-1 and FIGURE 5-2 for top and solder-side views of the board.

 FIGURE 5-1 Netra CP2300 Board Layout

Figure showing the on-board components of the Netra CP2300 board.


Note - The heat sink is shown as dotted lines in this diagram to illustrate the components on the board that lie beneath these devices.



 FIGURE 5-2 Typical Netra CP2300 Board - Solder Side

Figure showing the main components and switches of the board's solder side.

The Netra CP2300 board functions as a cPSB node board. The board has the following I/O access:

The front panel of the Netra CP2300 board has two PMC module slots, a serial port, and the following status LEDs:

 FIGURE 5-3 Front Panel of a Typical Netra CP2300 Board Assembly With Heat Sink

Figure showing the LEDs, serial port, push buttons, and PMC slot openings on the front panel.


5.2 Detailed Description

A simplified schematic diagram is shown in FIGURE 5-4.

 FIGURE 5-4 Netra CP2300 Board Functional Block Diagram

Figure showing the Netra CP2300 board block diagram.

The L2-cache is integrated into the UltraSPARC IIi processor package. This processor is supported by SDRAM memory that is soldered onto the board and is also available in plug-in module form.

Apart from incoming interrupts, the processor handles all I/O through its built-in
66 MHz, 32-bit PCI bus interface. This interface is used to connect to a Sun Advanced PCI Bridge (APB) that services two 33 MHz 32-bit downstream interfaces, PCI bus A and PCI bus B.

PCI Bus B connects the APB to two Davicom Ethernet packages and the South Bridge. In addition, The PCI bus A from the APB connects to each of two 33 MHz, 32-bit PMC interfaces on the host board. See Section 5.4.2, PMC and PIM Interface for more details.

The SMC connects to:

The SMC controls the startup of the board, because it activates the power module and controls the system reset signals. In addition, it handles hot-swap signals from the CompactPCI backplane, for example: HEALTHY and BD_SEL. See Section 1.3, Hot-Swap Support for more information on hot-swap.


5.3 CPU and Main Memory Subsystems

This section describes the UltraSPARC IIi processor and additional memory on the Netra CP2300s. FIGURE 5-5 shows the UltraSPARC IIi interfaces.

5.3.1 UltraSPARC IIi Processor

 FIGURE 5-5 UltraSPARC IIi Interface

Figure showing the UltraSPARC IIi processor interface.

The Netra CP2300 board uses the UltraSPARC IIi 650 MHz processor. The processor is housed in a 370-pin ceramic pin grid array (PGA) package. It typically dissipates no more than 18 W at 650 Mhz (the entire Netra CP2300 board may dissipate 25 W).

The UltraSPARC IIi processor is directly connected to the board SDRAM through a 72-bit (64-bit DATA plus 8-bit ECC) path. Dual address buses reduce capacitive loading and increase the memory density beyond that of unbuffered devices.

The CPU connects to the APB by means of a 32-bit, 66 MHz PCI interface which the APB in turn translates to two downstream 33 MHz PCI buses.

The UltraSPARC processor begins execution from a fixed image in a PROM that lies on the XBus. The processor accesses this XBus in a boot path that automatically includes the APB, 1535 Bridge, and XBus.

Processor resets are received from the system management controller (SMC). See Section 5.7, Resets and FIGURE 5-16 for more details.

The various interrupts on the board are encoded by the I-chip2 to appear at the UltraSPARC IIi processor as 6-bit parallel data. See Section 5.7, Resets for more information.

The processor I/O is run at a fixed VDDIO of 3.3V but the core voltage, VDDCORE, is adjustable and configured according to CPU type, typically in the range of 1.3 V to 1.9 V.

JTAG/Test signals are available for use in boundary scan diagnostics.

5.3.2 Memory Address Mapping

The UltraSPARC IIi L2 cache megacell reserves a 4 GB region for cacheable main memory. The memory databus width and the module databus width are of equal size (64-bit data plus 8 bit ECC) so memory modules can be installed in mixed sizes.

The UltraSPARC IIi Address Data Generation Logic (ADGL) logically maps modules according to their size, rather than their physical location. The largest sizes are mapped to the lowest address ranges. Where modules of identical size are present, the lower slot number is mapped to the lower address range.

FIGURE 5-6 shows a memory mapping example.

 FIGURE 5-6 Memory Mapping Example

Figure showing a memory mapping example.

5.3.3 SDRAM Memory

 FIGURE 5-7 SDRAM Memory Interface

Figure showing the SDRAM memory interface signals.

The UltraSPARC IIi 650 MHz processor connects directly to the memory with a 72-bit (64-bit DATA plus 8-bit ECC) data bus. The memory can be either on-board SDRAM only or can include additional SO-DIMM memory modules.

Each module is equipped with a serial EEPROM device containing 256 bytes of presence detect data.

The memory block, whether on-board or a module, provides non-volatile serial memory to enable the Serial Presence Detect function. This memory can be interrogated by the SMC through the I2C interface.

5.3.4 Memory Components

This section describes additional memory available on the Netra CP2300 boards.

5.3.4.1 System (Boot) Flash Memory

The system flash usually resides in 1 Mbyte of space (see Section 4.7.1, Exchanging the System and User Flash Memory Devices for more information). It contains Common Operations and Reset Environment (CORE) firmware, Comprehensive POST, and OpenBoot PROM boot code. The system flash may be upgraded by running a program out of OpenBoot PROM or executing a Solaris software script. If the system flash becomes corrupted, contact your nearest Field Application Engineer.

5.3.4.2 User Flash Memory

The board is usually equipped with 7 Mbyte of user flash memory (see Section 4.7.1, Exchanging the System and User Flash Memory Devices for more information). You may use the flash memory for various purposes such as storage for RTOS, user data storage, OpenBoot PROM information, or to house drop-ins. Drop-ins simplify customizing a system for the user.

A DIP switch SW503 and an SMC configuration block setting determines whether the user flash is bootable during OpenBoot PROM boot and whether it is write enabled (see Section B.5, DIP Switch Settings).

5.3.4.3 NVRAM

The Netra CP2300 board uses the I2C serial EEPROM to save configuration variables.

These boards uses a time-of-day (TOD) I2C device and a 8 Kbyte serial EEPROM. These components provide:

5.3.4.4 Serial I2C EEPROM

This device stores the OpenBoot PROM configuration variable settings, the board MAC address, and the Host ID in a removable serial EEPROM that is accessible through the I2C bus.

5.3.4.5 FRU ID I2C EEPROM

The FRU ID I2C EEPROM chip stores manufacturing-related information of the Netra CP2300 board. This information is useful only when the Netra board is being serviced.

See Appendix C for details on accessing the FRU ID information for the board.


5.4 Bus Subsystems

There are three internal PCI buses on the board. One of the internal PCI buses, PCI bus B, is bridged to the slower ISA-speed XBus.

 FIGURE 5-8 Netra CP2300 PCI Bus Interface, 33MHz CompactPCI Bridge

Figure showing the board's bus subsystems.

5.4.1 APB PCI Bus Interfaces

The UltraSPARC IIi CPU has an integrated 32-bit/66 MHz PCI bus interface. The Advanced PCI Bridge--acting as a North Bridge--splits this bus into two
32-bit/33 MHz PCI buses. Of these, the PCI A bus connects to the PMC slots and the PCI B bus connects to the onboard I/O devices.

5.4.2 PMC and PIM Interface

The PCI mezzanine card (PMC) interface is defined by IEEE and PICMG standards:

The PMC interface enables you to use Independent Hardware Vendor (IHV) PMCs to implement additional I/O from the host at the system integration level.

The Netra CP2300 cPSB transition card provides two slots for PIM cards. A PIM card enables rear I/O functions when paired with a PMC card installed on the front panel of the board.

A PIM must have a corresponding PMC in the front slot because the PMC board performs an adapter function between the PCI bus A and the user I/O signals passed through a CompactPCI backplane connector to the PIM slot on the transition card. When a PMC that has a front-panel connector is used with a PIM, jumpers are typically set to disable its front I/O operation.

FIGURE 5-9 illustrates the interconnection between PMC and PIM slots for installed PIMs. The numbers in parentheses show how the connectors are labeled on the Netra CP2300 node board and transition card.

 FIGURE 5-9 PIM Installation Configuration

Figure showing the relation between the PMC and PIM slots on the board and transition card.

FIGURE 5-10 shows the PMC B connectors and card attachment to a Netra CP2300 board. There is a second PMC slot, PMC A, adjacent to the first (see FIGURE 5-11).

 FIGURE 5-10 Data Paths in PCI Mezzanine Module Interface on Host Board

Figure showing the location, labelling, and data paths of the PMC B slot connectors.

For the PMC B slot, the APB on the Netra CP2300 board supplies PCI bus signals to PMC B connectors Jn1 (labeled as J6 on the board) and Jn2 (J12). The PMC card logic decodes its specific I/O interface, which it makes available at the front panel.

The 64-pin PMC Jn3 connectors are not fitted to the Netra CP2300 board. These connectors are specified for expansion for 64-bit PCI (it carries the upper 32 bits), which is not provided. A 64-bit capable PMC card can function in these slots but its bus interface is constrained to 32 bits.

The PMC B Jn4 (J11) connector is specified for user I/O and carries PMC signals to the CompactPCI J5 (J14) backplane connector. If a transition card is installed, this CompactPCI J5 (J14) connector I/O is conditioned by an IHV-supplied PIM card to provide the matching I/O on the enclosure back panel. Its backplane I/O is routed to the CompactPCI J5 (J14) connector.

In the case of the PMC A slot on the Netra CP2300 board, the PMC A Jn1 (J5) and the PMC A Jn2 (J8) connectors are similarly attached to the APB, but the user I/O from the PMC A Jn4 (J7) connector is routed out of CompactPCI J3 (J13) backplane connector.

See FIGURE 5-11, TABLE 5-1, and TABLE 5-2 for more information about the Netra CP2300 board PMC and CompactPCI backplane connector labelling.

 FIGURE 5-11 PMC Connector Interfaces on the Netra CP2300 Board

Figure showing the location and labelling of the PMC slots, PMC slot connectors, and backplane connectors.


Note - The P1386.1 standard reserves the Jn3 64-pin connector for PCI 64-bit extensions, so it is not fitted on the Netra CP2300 board.



TABLE 5-1 lists how the PMC slot connectors are labeled on the board, and TABLE 5-2 lists how the CompactPCI backplane connectors are labeled.

TABLE 5-1 PMC Connector Labelling

PMC Slot

PMC Connector

On-Board Connector Label

PMC slot B

Jn1

J6

PMC slot B

Jn2

J12

PMC slot B

Jn3

Not fitted

PMC slot B

Jn4

J11

PMC slot A

Jn1

J5

PMC slot A

Jn2

J8

PMC slot A

Jn3

Not fitted

PMC slot A

Jn4

J7


TABLE 5-2 CompactPCI Backplane Connector Labelling

CompactPCI Backplane Connector

On-Board Connector Label

J1

J9

J2

J10

J3

J13

J4

Not fitted

J5

J14


5.4.3 I2C and IPMI Channels

The SPARC domain I2C controller is located on the ALi 1535D+ South Bridge chip. The SMC also has two on-board I2C channels used for IPMI and one external I2C controller to access on-board I2C devices.

I2C communication is used:

The I2C paths are shown in FIGURE 5-12.

Each I2C device on the board uses common addressing pins. The devices are distinguished by the internal device ID and selectable address pins. All I2C devices are supplied from IPMB or early power before backend power is established whenever possible (see Section 5.8, Power Subsystem for further details).

 FIGURE 5-12 Netra CP2300 Board I2C and SMBus Architecture

Figure showing the I2C and SMBus architecture.


5.5 System Input/Output

 FIGURE 5-13 Netra CP2300 Board and Transition Card I/O Interfaces

Figure showing the I/O interfaces of the Netra CP2300 board and transition card.

FIGURE 5-13 shows the I/O for the Netra CP2300 board. The I/O functions can be categorized into four groups which are described in the following sections.

5.5.1 Front-Panel I/O

FIGURE 5-14 illustrates the indicators and I/O connectors on the Netra CP2300 front panel. The Netra CP2300 front panel connectors, buttons and LEDs are described below:

http://www.sun.com/products-n-solutions/hardware/docs/CPU_Boards/

 FIGURE 5-14 Netra CP2300 Board Front Panel

Figure showing the Netra CP2300 board front panel.

5.5.2 PMC Interface

The host board includes two PMC front-panel I/O cutouts to enable attachment of up to two PMC expansion cards. When installed, these cards access a PCI bus through compatible connectors provided on the host board. See PMC and PIM Interface.

5.5.3 Backplane I/O

Most of the I/O channels to or from the board are passed to the CompactPCI connectors: J3 and J5 (which are labeled J13 and J14 respectively). These channels are accessible from external connections on a transition card connected at the rear of the backplane. The CompactPCI J4 connector is not populated on these host boards to prevent contention with H110-compliant backplane signals. Contact assignments for these connectors are shown in Section B.4, Backplane Connectors. For location of the connectors, see FIGURE 5-1.

5.5.3.1 CompactPCI J3 (J13) Signals

The user-defined PMC A I/O signals on the Netra CP2300 cPSB board provides matching I/O interfaces on the enclosure backpanel through the PIM cards installed on the Netra CP2300 transition card. The PMC A I/O signals are routed through board's CompactPCI J3 connector (labeled as J13 on the board) to the transition card's CompactPCI rJ3 connector (labeled J1 on the transition card).

5.5.3.2 CompactPCI J5 (J14) Signals

The following signal sets pass through the CompactPCI J5 backplane connector (labeled as J14 on the board) to connect to an external interface connector on the transition card:

The PMC B I/O signals are routed through board's CompactPCI J5 connector (labeled as J14 on the board) to the transition card's CompactPCI rJ5 connector (labeled J2 on the transition card).


5.6 System Management Controller

The System Management Controller (SMC) subsystem is one of the most important components of the system board. This subsystem provides a variety of service functions related to assuring availability of the system. These functions contrast with the board functions that execute applications.

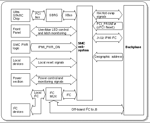
The SMC consists of a small microcontroller with an SRAM for a software stack and nonvolatile memory for program storage and data logging. The SMC is modular in character, but is physically embedded into the circuitry of the Netra CP2300 board. FIGURE 5-15 shows its functional relationship with the system.

 FIGURE 5-15 System Management Controller Interface

Figure showing the system management controller (SMC) subsystem interface.

The SMC hardware and firmware implements the functions of system management and hot-swap control.



Note - Although the hardware and firmware functions are architecturally separate, reference to the SMC subsystem in this document--whose description is hardware oriented--refers to both functions.



The SMC controls the on-board CompactPCI interface for the hot-swap process.

In performing these functions, the design maintains conformance with the PICMG CompactPCI core specification and the PICMG CompactPCI hot-swap specification: See Appendix D for references to these documents. The main features that are supported by the SMC subsystem are:



Note - This board does not provide HA hot-swap control for peripherals.



For full details on SMC and reset information, refer to Chapter 4.

5.6.1 Watchdog Timer

In the Netra CP2300 board, the SMC implements a two-level watchdog timer. The host-SMC command interface defines communication between host and SMC. The host and the SMC constantly communicate with each other when the watchdog timer is enabled. The SMC monitors the heartbeat of the CPU processor host. The heartbeat is sent in the form of a reset watchdog timer that is sent from the CPU to the SMC. The watchdog timer must be programmed to ensure that it does not get too close to the expiration. There should be some time accounted for the latency overhead or any unexpected event that may delay transmission of the heartbeat. For full details on programming the watchdog timer, refer to the Netra CP2300 cPSB Board Programming Guide (817-1331-xx).

The two levels of the watchdog timer are as follows:

The pre-timeout timer can only start if the countdown register timer has expired or has been set to zero. The two timers cannot run simultaneously.

The two watchdog timers are enabled by messages sent over the host-SMC command interface using the set watchdog timer command. The commands to enable the host-SMC command interface for watchdog timer functionality are:

The uses of these functions are shown in TABLE 5-3.

TABLE 5-3 Host-SMC Commands for Watchdog Timer

Host-SMC Command

Uses

smc-reset-wdt

Starts and restarts watchdog timer from the initial countdown value

smc-set-wdt

Initializes, configures and stops the watchdog timer

smc-set-wdt

Retrieves current settings and present timer value of watchdog timer



5.7 Resets

This section provides details on resets for the Netra CP2300 board.

 FIGURE 5-16 Simplified Reset Paths

Figure showing a simplified version of the board's reset paths.

Parts of the board are powered by early power before the SPARC domain receives power (backend power). For more information, see Section 5.8, Power Subsystem.

The SMC receives its power through the 5 volt standby (IPMI) power. However, if early power is present, the SMC switches itself to receive power from early power.

Once the SMC is out of reset and initialized, the SMC powers the CPU SPARC by turning on the backend power (power module). After the power module successfully powers-on, it will assert a POWER_OK signal. When the POWER_OK signal is asserted, the SMC will remove the CPU SPARC resets, which will allow the CPU to boot.

Note that:

 FIGURE 5-17 Simplified CPU Subsystem Reset Architecture

Figure showing the reset architecture of the CPU subsystem.


5.8 Power Subsystem

FIGURE 5-18 shows a simplified schematic diagram of the power subsystem. This subsystem can power the board to support a hot-swap environment.

 FIGURE 5-18 Power Distribution Block Diagram

Figure showing a block diagram of the power distribution.


Note - In FIGURE 5-18 I2C power is derived from IPMI/early power.



The Netra CP2300 board sequences power in two time-separated domains:

Early power is applied to the board from backplane long pins (LP in the figure) as the board is inserted. Early power current flows to board subsystems:

5.8.1 Power Module

FIGURE 5-19 shows a schematic diagram of the power module. This subassembly is integrated with the Netra CP2300 board.

 FIGURE 5-19 Power Module Interface

Figure showing a schematic diagram of the power module.

This subsystem performs the following functions:

The power module is controlled by the SMC and the power on/off signal. Functions controlled include core voltage, and backend on or off state. There are also automatic controls within the power module, for example, overcurrent shutdown, and voltage regulation.

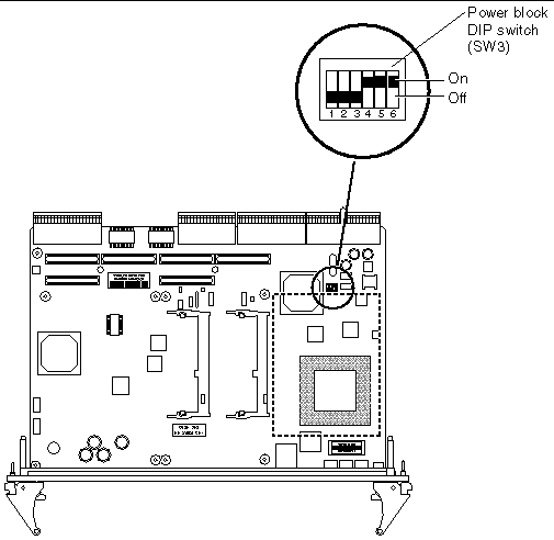
The power module has a DIP switch with preset default settings. These switches are for factory use only (see FIGURE 5-20 for location). You must not change DIP switch settings for positions 1 though 5. Switch position 6, however, can be used to set the firmware userflash and system flash settings. See Section B.5.1, SW3 DIP Switch for more information.

 FIGURE 5-20 DIP Switch SW3 Settings on Power Block

Figure showing the location and default setting of the SW3 DIP switch.

5.8.2 Early Power and IPMI Power

If the system power for the backplane fails, the SMC can use IPMI power, typically supplied from an uninterruptible power supply (UPS), instead of early power from the cPSB backplane. The backplane is provided with IPMI power pins for this purpose. FIGURE 5-21 shows the circuit arrangement that selects between these power sources.

 FIGURE 5-21 Selection Between Early Power and IPMI Power

Figure showing the circuit arrangement that selects between the early power and IPMI power sources.

5.8.3 Transition Card Power Distribution

FIGURE 5-22 shows the power rail routing to the transition card. The Netra CP2300 cPSB transition card is powered from the Netra CP2300 board rather than directly from the backplane. The transition card must always be connected to the backplane before the chassis is powered. Always install the transition card before the Netra CP2300 in the chassis. For details on using a transition card, see Chapter 2.



Note - TABLE 5-2 lists how the Netra CP2300 board labels the CompactPCI backplane connectors.



 FIGURE 5-22 Transition Card Power Supply Routing

Figure showing the transition card power supply routing.


Note - Some V(I/O) power lines are routed into J2 of the motherboard; this is not shown in the figure for clarity.




5.9 CompactPCI Interface

This section provides information on CompactPCI and the Netra CP2300 board interface requirements specifications and CompactPCI signal interface.

5.9.1 CompactPCI Interface Requirements

TABLE 5-4 lists the requirements for Netra CP2300 boards as defined by the
PICMG 3.0 CompactPCI and Netra CP2300 board design requirements specifications:

TABLE 5-4 Compact PCI Interface Requirements

Requirement

Description

Hot swap

Provide 1V +/-20% precharge bias voltage (Vp) for all required CompactPCI bus signals.


5.9.2 CompactPCI Signal Interface

This section lists the CompactPCI connector power signal interfaces.

TABLE 5-5 cPCI Connector Power Signal Interface

Voltage

cPCI Pin(s) (See TABLE 5-2 for Connector Labeling)

Net Name

Notes

3.3V

J1-C6 & C22

BP_EP_3.3V

Long pin

3.3V

J1-A15, A17, A19, A21, A23, C10, C18, & D25

EP_3.3V

Medium pin

5V

J1-D3 & D23

BP_EP_5V

Long pin

5V

J1-A1, A25, B2, B24, E1, & E25

EP_5V

Medium pin

+12V

J1-D1

BP_12V_POS

Medium pin

-12V

J1-B1

BP_12V_NEG

Medium pin

3.3V or 5V

J1-C4

BP_EP_VIO

Long pin

3.3V or 5V

J1-C8, J1-C16, J1-C24, J2-A4, J2-C5, J2-C7, J2-C9, J2-C11, J2-C13

EP_VIO

Medium pin




Note - The early power voltages supply critical circuits such as SMC, cPCI interface circuits, and power module control circuit.




5.10 Interrupts

The Netra CP2300 board interrupts are listed in TABLE 5-6. These are processed and encoded by the I-Chip2 ASIC. This device assigns equal priority to all interrupting devices. When two devices need servicing at the same time, the I-Chip prioritizes using its internal round-robin scheduling scheme. The resultant vector is passed to the processor as a 6-bit parallel word. The ultimate interrupt priority is resolved in the UltraSPARC IIi processor.

TABLE 5-6 Netra CP2300 Board Interrupt Mapping

I-Chip2 Input

Interrupt

Type

Priority

Offset

PCI5_INT3

Primary IDE Interface

Level-low

3

0x1A

PCI6_INT3

System Management

Level-low

3

0x1E

PCI7_INT1

NET0 Ethernet Interface

Level-low

5

0x06

PCI7_INT2

NET1 Ethernet Interface

Level-low

6

0x1C

PCI7_INT3

USB Port 1 Interface

Level-low

7

0x24

PCI4_INT0

PMC 0 INT A

Level-low

2

0x0A

PCI4_INT2

PMC 0 INT B

Level-low

1

0x0B

PCI6_INT0

PMC 0 INT C

Level-low

6

0x0C

PCI3_INT0

PMC 0 INT D

Level-low

4

0x15

PCI2_INT3

PMC 1 INT A

Level-low

3

0x16

OBIO0_INT0

PMC 1 INT B

Level-low

3

0x20

OBIO0_INT2

PMC 1 INT C

Level-low

2

0x22

OBIO0_INT9

PMC 1 INT D

Level-low

8

0x27

PCI1_INT2

TTYA/B

Level-low

6

0x10

PCI3_INT3

SPARC_INT_L

Level-low

7

0x04



5.11 Chip-Select PLD Registers

TABLE 5-7 lists the chip-select programmable logic device (PLD) registers.

TABLE 5-7 Chip-Select PLD Registers

Address

R/W

Name

Bit

Description

Default

0xFF00

R/O

N/A

7:4

Unused

0000

 

R/W

IP_PW

3

This bit is not used in the current PLD

1

 

R/W

RESUME_RST

2

This bit is not used in the current PLD

0

 

R/W

FP_GREEN_LED

1:0

  • 00: LED pulses heartbeat
  • 01: LED On solid
  • 10: LED flashes square wave @ 2Hz,
    50 percent duty cycle
  • 11: LED is OFF

01

0xFF01

R/O

N/A

7:5

Unused

000

 

R/W

PMC_BUSMODE[4:2]

4:2

  • Bit 4 = PMC_BUSMODE4
  • Bit 3 = PMC_BUSMODE3
  • Bit 2 = PMC_BUSMODE2

000

 

R/O

PMC_BUSMODEB,

PMC_BUSMODEA

1:0

  • Bit 1 = PMC_BUSMODEB
  • Bit 0 = PMC_BUSMODEA

11

0xFF03

R/O

PLD_REV

7:0

This register returns the revision of the PLD code during read

0001

0001

0xFF04

R/O

USER FLASH ADDRESS

7:4

It stores the upper 4 user flash address bits:

  • Bit 7: XD_INTEL_AD23
  • Bit 6: XD_INTEL_AD22
  • Bit 5: XD_INTEL_AD21
  • Bit 4: XD_SA20

N/S

 

R/O

GPO_FSH_ID

3

This bit is not used in the current PLD. It latches in the status of GPO_FSH_ID during reset

N/S

 

R/W

Config Block Selection

2

Config Block Bit

  • 1 = boot from user flash, address is determined by bit 7 to 4 of this register
  • 0 = boot from boot flash

0

 

R/O

LPC_XBUS_CSR

1

Boot Block Selection, this bit returns the current state of LPC_XBUS_CSR

  • 1 = Use bit 2 (Config Block Bit) of this register to determine which user flash block to boot from:
  • 0 = boot from boot flash

N/S

 

R/O

CTRL_JMP

0

Flash ROM Chip Select, this bit returns the current state of CTRL_JMP:

  • 1 = boot from on-board flash, will assert XD_FLASH_CE0_L when LPC_XBUS_CS is active;
  • 0 = boot from ROMBO, will assert PLD_FLASH_CS when LPC_XBUS_CS is active.

N/S

0xFF07

R/O

PWRGD

7

This bit returns the current status of PWRGD during read

  • 1 = VRM power is OK
  • 0 = VRM power is OFF

N/S

 

R/O

MIC2580_PWRGD

6

This bit returns the current status of the inverted MIC2580_PWRGD during read

  • 1 = MIC2580 power is not OK
  • 0 = MIC2580 power is OK

N/S

 

R/O

FP_POR_L

5

This bit returns the current status of the front panel power on reset pushbutton during read

  • 1 = FP_POR_L is de-asserted
  • 0 = FP_POR_L is asserted

N/S

 

R/O

PLD_PB_XIR_L

4

This bit returns the current status of the PLD externally initiated reset pushbutton during read

  • 1 = PLD_PB_XIR_L is de-asserted
  • 0 = PLD_PB_XIR_L is asserted

N/S

 

R/O

PCI_RESET_L

3

This bit returns the current status of the PCI_RESET_L during read

  • 1 = PCI_RESET_L is de-asserted
  • 0 = PCI_RESET_L is asserted

N/S

 

R/O

SBRG_IDE_RST_L

2

This bit returns the current status of the SBRG_IDE_RST_L during read

  • 1 = SBRG_IDE_RST_L is de-asserted
  • 0 = SBRG_IDE_RST_L is asserted

N/S

 

R/O

SBRG_RST_L

1

This bit returns the current status of the SBRG_RST_L during read

  • 1 = SBRG_RST_L is de-asserted
  • 0 = SBRG_RST_L is asserted

N/S

 

R/O

CPCI_RST_L

0

This bit returns the current status of the CPCI_RST_L during read\

  • 1 = CPCI_RST_L is de-asserted
  • 0 = CPCI_RST_L is asserted

N/S

0XFF09

R/W

CPU_XIR_RST_SET

7

  • 1 = Assert CPU_XIR_RST_L
  • 0 = De-assert CPU_XIR_RST_L

1

 

R/W

CPU_POR_RST_SET

6

  • 1 = Assert CPU_POR_RST_L
  • 0 = De-assert CPU_POR_RST_L

1

 

R/W

CPU_SYS_RST_SET

5

  • 1 = Assert CPU_SYS_RST_L
  • 0 = De-assert CPU_SYS_RST_L

1

 

R/W

IDE_RST_SET

4

  • 1 = Assert IDE_RST_L
  • 0 = De-assert IDE_RST_L

1

 

R/W

SMC_RST_MAIN_SET

3

  • 1 = Assert SMC_RST_MAIN_L
  • 0 = De-assert SMC_RST_MAIN_L

0

 

R/W

I2C_RST_SET

2

  • 1 = Assert I2C_RST_L
  • 0 = De-assert I2C_RST_L

1

 

R/W

MIC2580_PW_ON_OFF

1

  • 1 = Assert MIC2580_PW_ON_OFF
  • 0 = De-assert MIC2580_PW_ON_OFF

0

 

R/W

VDDCORE_PW_ON_OFF

0

  • 1 = Assert VDDCORE_PW_ON_OFF
  • 0 = De-assert VDDCORE_PW_ON_OFF

0