JavaScript is required to for searching.
탐색 링크 건너뛰기
인쇄 보기 종료
Oracle® ZFS Storage Appliance 설치 설명서

ZS3-x, 7x20 컨트롤러, DE2-24, Sun Disk Shelf용

Oracle 기술 네트워크
라이브러리
PDF
인쇄 보기
피드백
search filter icon
search icon

문서 정보

이 설명서 사용

 1 소개

 2 설치

설치

설치

개요

예방 조치

필수 조건

컨트롤러, 캐비닛 및 Disk Shelf 설치 작업

ZS3-2 컨트롤러

ZS3-2 컨트롤러 설치 작업

필수 조건

필요한 도구 및 장비

마운팅 브래킷 및 슬라이드 레일 조립품 설치

작업

ZS3-2 컨트롤러 작업

랙에 컨트롤러 설치

케이블 관리 암 설치

슬라이드 레일 및 CMA 작동 확인

CMA 분리

ZS3-4 컨트롤러

ZS3-4 컨트롤러 설치 작업

필수 조건

필요한 도구 및 장비

작업

ZS3-4 컨트롤러 작업

컨트롤러 섀시에 마운팅 브래킷 설치

랙 슬라이드 레일에 컨트롤러 섀시 설치

케이블 관리 조립품 설치

7x20 컨트롤러

7x20 컨트롤러 설치 작업

필수 조건

필요한 도구 및 장비

작업

7x20 컨트롤러 작업

컨트롤러 섀시에 마운팅 브래킷 설치

랙 슬라이드 레일에 컨트롤러 섀시 설치

케이블 관리 조립품 설치

컨트롤러 구성 요약

최대 컨트롤러 구성

DE2 24C

예방 조치

필수 조건

필요한 도구 및 장비

작업

DE2 24C 작업

랙 슬라이드 레일에 Disk Shelf 설치

Disk Shelf 전원 켜기

Disk Shelf 전원 끄기

참조 항목

DE2 24P

예방 조치

필수 조건

필요한 도구 및 장비

작업

DE2 24P 작업

랙 슬라이드 레일에 Disk Shelf 설치

Disk Shelf 전원 켜기

Disk Shelf 전원 끄기

참조 항목

Sun Disk Shelf

예방 조치

필수 조건

필요한 도구 및 장비

작업

Sun Disk Shelf 작업

랙 슬라이드 레일에 Sun Disk Shelf 설치

참조 항목

 3 케이블 연결

 4 시스템 전원 켜기 및 구성

작업

DE2 24P 작업

랙 슬라이드 레일에 Disk Shelf 설치

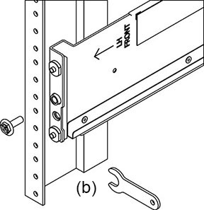
  1. Oracle Storage Drive Enclosure DE2-24P에는 캐비닛에 수직 공간의 표준 마운팅 장치 2개(2RU)가 필요합니다. 캐비닛 아래쪽에서 시작하여 적절한 랙 장치(RU) 높이(랙 구멍 6개)를 찾습니다. 컨트롤러 아래에 Disk Shelf를 설치하여 랙이 기울어지지 않도록 합니다.
  2. 랙이 나사산이 없는 범용 19인치 또는 Sun Rack II 캐비닛인 경우 a) 앞쪽 레일 위치 못을 랙 앞쪽의 해당 구멍 안에 배치합니다. 레일 플랜지는 캐비닛 플랜지 안에 있어야 하며 레일 레이블은 캐비닛 안쪽을 향해야 합니다. b) 랙 앞쪽을 관통하여 레일 위쪽 구멍에 나사 1개를 삽입하고 조입니다. c) 레일 길이를 조정하여 맞추고 뒤쪽 레일 위치 못을 해당하는 뒤쪽 랙 구멍에 넣습니다. d) 랙 뒤쪽을 관통하여 레일 뒤쪽 구멍에 나사 1개를 삽입하고 조입니다.
    image:랙 및 앞/뒤쪽 나사 위치에 맞도록 확장 중인 랙 슬라이드 레일을 보여주는 그림
  3. 랙이 나사산이 있는 범용 19인치 캐비닛인 경우 a) T20 Torx 드라이버를 사용하여 레일의 앞쪽 및 뒤쪽에서 레일 위치 못을 제거합니다. b) 제공된 렌치를 사용하여 레일의 양쪽 끝에서 위치 못을 뺀 위치에 핀 2개를 삽입합니다. c) 레일 플랜지를 캐비닛 플랜지 안쪽에 배치하고 레일 레이블이 캐비닛 안쪽을 향하도록 하여 레일 앞쪽을 캐비닛 안쪽에 배치합니다. 핀이 랙 구멍 안에 완전히 들어가야 합니다. d) 랙 앞쪽을 관통하여 레일 위쪽 구멍에 나사 1개를 삽입하고 조입니다. e) 레일 길이를 조정하여 맞추고 뒤쪽 핀을 해당하는 뒤쪽 랙 구멍에 넣습니다. f) 랙 뒤쪽을 관통하여 레일 뒤쪽 구멍에 나사 1개를 삽입하고 조입니다.
    image:핀을 레일 앞쪽에 삽입하는 방법을 자세히 보여주는 그림
  4. 들어올리는 기계를 사용하거나 두 명의 인원이 Disk Shelf 양쪽을 잡아서 조심스럽게 들어올리고 왼쪽과 오른쪽 레일의 아래 선반에 Shelf를 놓습니다. 팬 모듈 핸들이 있는 전원 공급 장치를 이용하여 들어 올리지 마십시오.
    image:랙에 Disk Shelf를 설치하는 올바른 방법을 보여주는 그림
  5. 캐비닛 안에 완전히 장착될 때까지 Shelf를 레일쪽으로 조심스럽게 밉니다. 손전등을 사용하여 Shelf가 레일 안쪽에 완전히 장착되었는지 확인해야 합니다. 다시 장착하기 위해 Shelf를 빼는 경우 Shelf를 계속 받칩니다.
  6. 레일마다 긴 패치락 나사 하나를 설치하여 Shelf 뒤쪽을 랙 뒤쪽에 고정합니다. 나사를 삽입할 수 없는 경우 Shelf가 레일 안쪽에 완전히 장착되지 않았을 수 있습니다.
    image:레일에 삽입 중인 패치락 나사 1개를 보여주는 그림
  7. 앞쪽 측면 캡을 빼고 나사 하나를 앞쪽 각 측면에 설치하고 캡을 다시 끼웁니다.
  8. 다음 절에서 설명되어 있는 대로 Disk Shelf에 전원을 연결하여 공급합니다.

Disk Shelf 전원 켜기

Disk Shelf에 전원을 공급하기 전에 다음 전기 안전 조치를 충족했는지 확인하십시오.

  1. 팬 모듈이 있는 각 전원 공급 장치로 전원 코드를 꽂습니다.
  2. 전원 코드의 다른 끝을 캐비닛의 외부 전원에 꽂습니다.

    주 -  중복성을 보장하기 위해 전원 코드를 2개의 다른 독립적인 전원에 연결해야 합니다.

    image:팬 모듈 전원 케이블이 있는 전원 공급 장치를 보여주는 그림
  3. 외부 전원에 전원을 공급합니다.
  4. 전원 공급 장치 켜짐/꺼짐 스위치를 "I" 켜짐 위치로 놓습니다.
  5. 해당하는 경우 캐비닛 회로 차단기를 켭니다.
  6. Disk Shelf에 전원이 켜진 후(몇 분이 걸릴 수 있음) Disk Shelf 앞쪽에 있는 시스템 전원 표시기가 녹색으로 켜져 있으며 뒤쪽에 팬 모듈 상태 표시기가 있는 각 전원 공급 장치가 녹색으로 켜져 있는지 확인합니다. 켜지지 않은 경우 다음 절에서 설명되어 있는 대로 Disk Shelf의 전원을 끄고 결함이 있는 모듈을 다시 장착합니다. 모듈을 다시 삽입한 후에도 모듈 상태 표시기에 녹색이 켜지지 않으면 오라클 고객 서비스 센터로 문의하십시오.
    image:팬 모듈 상태 표시기가 있는 전원 공급 장치의 위치를 보여주는 그림
  7. 스토리지 컨트롤러 설치 설명서에 설명되어 있는 대로 소프트웨어 설정 작업을 수행합니다.

Disk Shelf 전원 끄기

대부분의 Disk Shelf 구성 요소는 핫 스왑이 가능하기 때문에 교체 시 전원을 제거하지 않아도 됩니다. 즉시 교체품이 없는 경우 구성 요소를 제거하지 마십시오. Disk Shelf는 모든 구성 요소가 제자리에 있지 않은 경우 작동해서는 안됩니다.

Disk Shelf의 전원을 끄거나 Disk Shelf에서 모든 SAS 체인을 제거하면 Shelf가 NSPF(단일 오류 지점 없음) 데이터 풀의 일부인 경우가 아니면 데이터 손실을 막기 위해 컨트롤러가 패닉 상태가 됩니다. 이를 방지하기 위해 Shelf를 해제하기 전에 컨트롤러를 종료합니다. NSPF 프로파일에 대한 자세한 내용은 Oracle ZFS Storage Appliance 관리 설명서 의 스토리지 구성 프로파일을 참조하십시오.

  1. Disk Shelf로의 입력과 Disk Shelf에서의 출력을 모두 중지합니다.
  2. 모든 디스크 작동 표시기에서 깜박임이 중지될 때까지 약 2분 정도 기다립니다.
  3. 전원 공급 장치 켜짐/꺼짐 스위치를 "O" 꺼짐 위치로 놓습니다.
  4. 캐비닛의 외부 전원에서 전원 코드를 분리합니다. Disk Shelf에서 전원을 완전히 제거하려면 모든 전원 코드를 분리해야 합니다.

참조 항목