JavaScript is required to for searching.
跳过导航链接
退出打印视图
Oracle® ZFS Storage Appliance 安装指南

适用于 ZS3-x、7x20 控制器和 DE2-24、Sun Disk Shelf

Oracle 技术网
文档库
PDF
打印视图
反馈
search filter icon
search icon

文档信息

使用此文档

 1 简介

 2 安装

安装

安装

概述

预防措施

先决条件

控制器、机柜和磁盘机框安装任务

ZS3-2 控制器

ZS3-2 控制器安装任务

先决条件

所需的工具和设备

安装装配托架和滑轨装置

任务

ZS3-2 控制器任务

将控制器安装到机架中

安装理线架

检验滑轨和 CMA 的工作情况

拆卸 CMA

ZS3-4 控制器

ZS3-4 控制器安装任务

先决条件

所需的工具和设备

任务

ZS3-4 控制器任务

在控制器机箱上安装装配托架

将控制器机箱装入机架滑轨

安装理线装置

7x20 控制器

7x20 控制器安装任务

先决条件

所需的工具和设备

任务

7x20 控制器任务

在控制器机箱上安装装配托架

将控制器机箱装入机架滑轨

安装理线装置

控制器配置摘要

最大控制器配置

DE2 24C

预防措施

先决条件

所需的工具和设备

任务

DE2 24C 任务

将磁盘机框安装到机架滑轨中

打开磁盘机框电源

关闭磁盘机框电源

另请参见

DE2 24P

预防措施

先决条件

所需的工具和设备

任务

DE2 24P 任务

将磁盘机框安装到机架滑轨中

打开磁盘机框电源

关闭磁盘机框电源

另请参见

Sun Disk Shelf

预防措施

先决条件

所需的工具和设备

任务

Sun Disk Shelf 任务

将 Sun Disk Shelf 安装到机架滑轨中

另请参见

 3 布线

 4 打开系统电源并配置系统

任务

DE2 24C 任务

将磁盘机框安装到机架滑轨中

  1. Oracle Storage Drive Enclosure DE2-24C 需要在机柜中占用垂直高度为四个标准安装单元 (4RU) 的空间。请从机柜底部开始定位相应的机架单元 (rack unit, RU) 高度。将磁盘机框安装在控制器下方,以防机架倾斜。
  2. 如果使用无螺纹的通用 19 英寸机柜或 Sun Rack II 机柜,请在 4RU 空间内的每个正面滑轨中将提供的一个卡式螺母插入第 8 个机架孔中(从下往上数)。
    image:图中显示了将卡式螺母插入到右机架支柱中的细节
  3. 在滑轨每一端准备好螺丝:

    -方孔无螺纹机柜:无需准备。

    -圆孔无螺纹机柜:卸下滑轨每一端的螺丝并放在一旁。找到适用于圆孔机柜的螺丝并放在一旁。

    -带螺纹机柜:卸下螺丝,并以相反的方向(相对于滑轨外缘内部)重新装上,以便于用作定位销。另外卸下滑轨每一端的夹片螺母并放在一旁。

  4. 将滑轨正面置于机柜内侧,使滑轨外缘位于机柜外缘内侧,而滑轨标签面向机柜内侧。

    -方孔无螺纹机柜:螺丝头与机架孔啮合。

    -圆孔无螺纹机柜:将两颗螺丝穿过机架,安装到每个滑轨的正面。请勿安装到机架中的卡式螺母中,也不要安装到滑轨上的夹片螺母中。

    -带螺纹机柜:定位销与机架孔啮合。

  5. 调整滑轨长度以吻合。
    image:图中显示了延长滑轨以适合机架
  6. 将一颗螺丝穿过机架,安装到每个滑轨的背面。
  7. 拧紧滑轨中的两颗固定螺丝。
    image:图中显示了滑轨上两颗固定螺丝的位置
  8. 使用机械式升降装置或由两个人(磁盘机框的每一侧各一人)小心地向上提起机框,并将该机框安放在左右滑轨的底部边缘。请勿使用电源手柄向上提起机框。
    image:图中显示了将机框安装到机架的正确方式
  9. 小心地将机框滑入机柜。请确保该机框完全固定在滑轨中。如果要卸下机框,以便于重新安放,请始终托住它。
  10. 卸下前侧保护套,分别将两颗螺丝安装到前侧每一端,然后重新装上保护套。
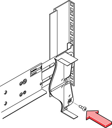
  11. 在每个滑轨上安装一颗长的贴片锁螺丝,从而将机框背面固定到机架背面上。
    image:图中显示了安装到滑轨中的一个长的贴片锁螺丝
  12. 为磁盘机框连接并接通电源,如下一节所述。

打开磁盘机框电源

在为磁盘机框通电之前,请确保符合以下电气安全措施:

  1. 将电源线插入到带有风扇模块的每个电源上。
  2. 将电源线的另一端插入机柜的外部电源。

    注 -  为了保证冗余,电源线必须连接到两个分开的独立电源。

    image:图中显示了连接到左右机架电源的两条电源线
  3. 为外部电源通电。
  4. 将电源开关置于 "I"(打开)位置。
  5. 打开机柜断路器(如果有)。
  6. 打开磁盘机框电源后(可能需要几分钟的时间),请确保磁盘机框正面的系统电源指示灯亮起,并呈现稳定的绿色,而背面带有风扇模块状态指示灯的每个电源也亮起,并呈现稳定的绿色。如果没有亮起,请按下一节所述关闭磁盘机框的电源,然后重新安放发生故障的模块。如果重新插入该模块后,该模块的状态指示灯仍不是稳定的绿色,请联系 Oracle 客户服务人员。
    image:图中显示了带风扇模块的电源上状态指示灯的位置
  7. 按照存储控制器安装指南所述,执行软件安装任务。

关闭磁盘机框电源

大多数磁盘机框组件都是可热交换的;您无需在更换这些组件时切断电源。如果无法立即更换,请勿卸下组件。在所有组件安装到位之前,请勿运行磁盘机框。

关闭电源或断开磁盘机框上的所有 SAS 链,会使控制器出现故障,以防止数据丢失,除非该机框是 NSPF(无单点故障)数据池的一部分。为避免此问题,请先关闭控制器,然后再停用机框。有关 NSPF 配置文件的细节,请参见Oracle ZFS Storage Appliance 管理指南 中的数据配置文件配置

  1. 停止磁盘机框的所有输入和输出。
  2. 等待大约两分钟,直至所有磁盘活动指示灯都停止闪烁。
  3. 将电源开关置于 "O"(关闭)位置。
  4. 将电源线与机柜的外部电源断开连接。

    注 -  必须断开所有电源线,以彻底移除磁盘机框的电源。

另请参见