DE2-24P Disk Shelf 설치
Oracle Storage Drive Enclosure DE2-24P를 설치하려면 다음 절차를 수행하십시오. 이 경우 캐비닛의 수직 공간에 RU(랙 장치) 2개 또는 랙 구멍 6개가 필요합니다.
시작하기 전에
-
설치 필수 조건 및 Disk Shelf 개요를 검토합니다.
-
캐비닛이 기울어지지 않게 하려면 가장 무거운 장비인 Disk Shelf를 항상 캐비닛의 맨 아래부터 설치하십시오.
-
지금 및 향후 Disk Shelf를 컨트롤러에 케이블로 연결하는 데 대비하려면 컨트롤러를 캐비닛의 중간에 마운트하십시오.
-
M6 크기의 나사산 구멍이 있는 캐비닛에 설치하는 경우 나사가 제공되지 않습니다.
 | 주의 -
섀시가 무겁기 때문에 이 절차를 수행하려면 최소 두 명의 인원 또는 들어올리는 기계가 필요합니다. 이 절차를 혼자서 수행할 경우에는 장비가 손상되거나 부상을 입을 수 있습니다. 전원 공급 장치 핸들을 사용하여 섀시를 들어 올리지 마십시오.
|
-
랙 아래쪽에서 모든 기울임 방지 및 고정 장치를 펼칩니다.
-
캐비닛 아래쪽에서 시작하여 적절한 RU(랙 장치) 높이(랙 구멍 6개)를 찾습니다. 랙이 나사산이 없는 범용 19인치 또는 Sun Rack II 캐비닛인 경우:
-
전면 레일 위치 고정핀을 랙 전면의 알맞은 구멍에 완전히 들어가도록 맞춥니다.
레일 플랜지는 캐비닛 플랜지 안쪽에 있고 레일 레이블은 캐비닛 안쪽을 향해야 합니다.
-
랙 전면을 관통하여 레일의 위쪽 구멍에 나사 1개를 넣고 조입니다.
-
레일 길이를 알맞게 조정하고, 후면 레일 위치 고정핀을 해당하는 후면 랙 구멍에 맞춥니다.
-
랙 후면을 관통하여 레일의 뒤쪽에 나사 1개를 넣고 조입니다.
-
랙이 나사산이 있는 범용 19인치 캐비닛인 경우:
-
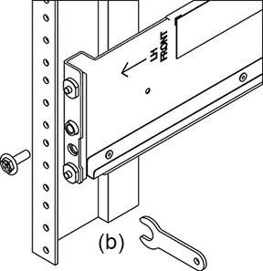
T20 Torx 드라이버를 사용하여 레일의 전면과 후면에서 레일 위치 고정핀을 제거합니다.
-
제공된 렌치를 사용하여 2개의 핀을 레일 양끝의 위치 고정핀이 제거된 동일한 위치에 넣습니다.
-
레일 플랜지를 캐비닛 플랜지 안쪽에 배치하고 레일 레이블이 캐비닛 안쪽을 향하게 하여 레일 앞쪽을 캐비닛 안쪽에 배치합니다.
핀은 랙 구멍 안쪽에 완전히 맞추어야 합니다.
-
랙 전면을 관통하여 레일의 위쪽 구멍에 나사 1개를 넣고 조입니다.
-
레일 길이를 알맞게 조정하고, 후면 핀을 해당하는 후면 랙 구멍 안쪽에 맞춥니다.
-
랙 후면을 관통하여 레일의 뒤쪽에 나사 1개를 넣고 조입니다.
-
들어올리는 기계를 사용하거나 두 명의 인원이 Disk Shelf 양쪽을 잡아서 조심스럽게 들어올리고 왼쪽과 오른쪽 레일의 아래 선반에 Shelf를 놓습니다. 팬 모듈 핸들이 있는 전원 공급 장치를 이용하여 들어 올리지 마십시오.
-
캐비닛 안에 완전히 장착될 때까지 Shelf를 레일쪽으로 조심스럽게 밉니다. 손전등을 사용하여 Shelf가 레일 안쪽에 완전히 장착되었는지 확인해야 합니다. 다시 장착하기 위해 Shelf를 빼는 경우 Shelf를 계속 받칩니다.
-
레일마다 긴 패치락 나사 하나를 설치하여 Shelf 뒤쪽을 랙 뒤쪽에 고정합니다. 나사를 삽입할 수 없는 경우 Shelf가 레일 안쪽에 완전히 장착되지 않았을 수 있습니다.
-
앞쪽 측면 캡을 빼고 나사 하나를 앞쪽 각 측면에 설치하고 캡을 다시 끼웁니다.