4 ラックへのシステムの設置

この章の内容は次のとおりです。

タスクの概要

適切な手順に従ってラックにシステムを取り付けてください。

注意:

これらの手順では、ラックにシステムを挿入する方法説明します。ケーブル接続の手順は、スタート・ガイド、およびセットアップ・ポスターまたはセットアップ・ブックレットを参照してください。
Oracle Database Appliance (オリジナル・バージョン) Oracle Database Appliance X3-2/X4-2 Oracle Database Appliance X5-2 Oracle Database Appliance X6-2S/X6-2M

オプションのコンポーネントの設置

標準のシステム・コンポーネントは、出荷時に設置されています。標準構成とは別に購入したオプションのコンポーネントは、個別に出荷され、ほとんどの場合はラックにサーバーを取り付ける前に設置する必要があります。

次のオプションのコンポーネントを別途注文できます。

  • DIMMメモリー・キット:

    • Oracle Database Appliance X6-2Sでは、オプションで384GBのメモリー拡張を注文できます。メモリーの設置手順は、サービス・マニュアルを参照してください。

    • Oracle Database Appliance X6-2Mでは、オプションで512GBまたは768GBのメモリー拡張を注文できます。メモリー・キットは、32GB DIMM x 8枚のセットになっています。メモリーの設置手順は、サービス・マニュアルを参照してください。

    • Oracle Database Appliance X5-2では、オプションで512GBまたは768GBのメモリー拡張を注文できます。メモリー・キットは、32GB DIMMM x 8枚のセットになっているため、512GBの場合は2キット(各サーバー・ノードに1個)、768GBの場合は4キット(各サーバー・ノードに2個)必要です。2つのサーバー・ノードに同容量のメモリーを設置する必要があります。メモリーの設置手順は、サービス・マニュアルを参照してください。

  • ストレージ・ドライブ:

    デフォルト構成がNVMeドライブ2個のOracle Database Appliance X6-2S/X6-2Mでは、オプションでスロットNVMe 2-3用にさらに2個の2.5インチ3.2TB NVMe SSDを注文できます。ドライブはペアで設置する必要があります。

  • その他のオプションの構成:

    Oracle Database Appliance X5-2では、オプションのSun Dual 10GbE SFP+ PCIe 2.0ロープロファイル・アダプタを2個注文し、2個の標準InfiniBandアダプタと交換すると(各サーバー・ノードに1個ずつ)、データ・センターまたはパブリック・ネットワークへのイーサネット・ファイバ接続をサポートできます(アプライアンスのプライベート・ノード間接続には使用できません)。

    標準のInfiniBandアダプタを交換する手順は、サービス・マニュアルのスロット1のPCIeカードの交換に関する項を参照してください。カードの交換後、ケーブル接続およびソフトウェアの構成手順は、スタート・ガイドを参照してください。

ラック取付け時の安全上の注意

この項では、サーバーをラックに設置するときの安全上の注意について説明します。

注意:

人的傷害または装置の損傷。ラックの転倒を防止してください。1) 設置前に、機器ラックの転倒防止バーまたは脚を伸ばしてください。2)ラックの上側が重くなって倒れないように、ラックには常に下から上に機器を搭載してください。3) 不均等または危険な機械的荷重が生じないようにラックに機器を搭載します。4) スライド・レールに取り付けられた機器を棚または作業空間として使用しないでください。

注意:

温度上昇による機器の損傷。1) 機器が密閉されたラック・アセンブリや複数ユニットのラック・アセンブリに設置されている場合、ラック内の動作時周囲温度がサーバーに規定された最大周囲温度を超えないようにしてください。サーバーの環境要件の詳細は、「環境仕様」を参照してください。2) 空気の流れを妨げないように、ラックに機器を設置してください。

注意:

電源回路の損傷およびデータの損失。システムに電源を供給するのに使用されるAC回路の定格電力は、システムに必要な最大値である必要があります。入力電力の要件の詳細は、「電気仕様」を参照してください。

注意:

装置の損傷。接地を確実に維持してください。分岐回路への直接接続以外の電源の接続(テーブル・タップの使用など)には特に注意してください。

ESDの注意

注意:

装置の損傷。静電破壊を回避するには、コンポーネントを設置または使用する際に次の事項に注意してください。
  • 静電気防止放電マット、静電気防止バッグまたは使い捨ての静電気防止マットなど、静電気を防止する面にコンポーネントを設置してください。

  • システム・コンポーネントを取り扱う際は、シャーシの金属表面に接続された静電気防止用ストラップを装着してください。

ラックの互換性要件

ラック取付けハードウェアは、次の表の要件を満たす特別なラックにのみ使用できます。

Oracle Database Appliance X6-2シリーズの場合:

特性 Oracle Database Appliance X6-2S Oracle Database Appliance X6-2M

ラック構造

4本柱のラック(前方と後方に取付け)。2本柱のラックには互換性がありません。

4本柱のラック(前方と後方に取付け)。2本柱のラックには互換性がありません。

使用可能なスペース

1ラック・ユニット(1RU)の使用可能なスペースが必要です。

1ラック・ユニット(1RU)の使用可能なスペースが必要です。

ラックの水平開口部とユニットの垂直間隔

ANSI/EIA 310-D-1992またはIEC 60927規格に準拠します。

ANSI/EIA 310-D-1992またはIEC 60927規格に準拠します。

前方取付け面と後方取付け面との距離

最小値610mmおよび最大値915mm(24インチから36インチ)。

最小値610mmおよび最大値915mm(24インチから36インチ)。

前方取付け面の前の隙間

前面のキャビネット・ドアまでの距離が25.4mm(1インチ)以上。

前面のキャビネット・ドアまでの距離が25.4mm(1インチ)以上。

前方取付け面の裏の隙間

背面のキャビネット・ドアまでの距離は、ケーブル管理アームを使用する場合は900mm (35.43インチ)以上、ケーブル管理アームを使用しない場合は800mm (31.5インチ)。

背面のキャビネット・ドアまでの距離は、ケーブル管理アームを使用する場合は900mm (35.43インチ)以上、ケーブル管理アームを使用しない場合は800mm (31.5インチ)。

前方取付け面と後方取付け面との隙間

構造支柱とケーブル・トラフとの距離が456mm(18インチ)以上。

構造支柱とケーブル・トラフとの距離が456mm(18インチ)以上。

サービス・アクセスのための最小の隙間

前方の隙間: 123.2cm (48.5インチ)

後方の隙間: 91cm (36インチ)

前方の隙間: 123.2cm (48.5インチ)

後方の隙間: 91cm (36インチ)

サーバー・ノードの寸法

高さ: 42.6mm (1.7インチ)

幅: 436.5mm (17.2インチ)

奥行き: 737mm (29インチ)

高さ: 42.6mm (1.7インチ)

幅: 436.5mm (17.2インチ)

奥行き: 737mm (29インチ)

Oracle Database Applianceオリジナル・バージョンおよびOracle Database Appliance X3-2/X4-2/X5-2の場合:

特性 Oracle Database Appliance (オリジナル・バージョン) Oracle Database Appliance X3-2/X4-2 Oracle Database Appliance X5-2

ラック構造

4本柱のラック(前方と後方に取付け)。2本柱のラックには互換性がありません。

4本柱のラック(前方と後方に取付け)。2本柱のラックには互換性がありません。

4本柱のラック(前方と後方に取付け)。2本柱のラックには互換性がありません。

使用可能なスペース

4ラック・ユニット(4RU)の使用可能なスペースが必要です。

4RU (オプションのストレージ拡張シェルフなし)。

6RU (オプションのストレージ拡張シェルフあり)。

6RU (オプションのストレージ拡張シェルフなし)。

10RU (オプションのストレージ拡張シェルフあり)。

ラックの水平開口部とユニットの垂直間隔

ANSI/EIA 310-D-1992またはIEC 60927規格に準拠します。

ANSI/EIA 310-D-1992またはIEC 60927規格に準拠します。

ANSI/EIA 310-D-1992またはIEC 60927規格に準拠します。

前方取付け面と後方取付け面との距離

最小値660.4mmおよび最大値876.3mm(26インチから34.5インチ)。

最小値610mmおよび最大値915mm(24インチから36インチ)。

最小値610mmおよび最大値915mm(24インチから36インチ)。

前方取付け面の前の隙間

前面のキャビネット・ドアまでの距離が25.4mm(1インチ)以上。

前面のキャビネット・ドアまでの距離が25.4mm(1インチ)以上。

前面のキャビネット・ドアまでの距離が25.4mm(1インチ)以上。

前方取付け面の裏の隙間

背面のキャビネット・ドアまでの距離が700mm(27.5インチ)以上。

背面のキャビネット・ドアまでの距離は、ケーブル管理アームを使用する場合は900mm (35.43インチ)以上、ケーブル管理アームを使用しない場合は800mm (31.5インチ)。

背面のキャビネット・ドアまでの距離は、ケーブル管理アームを使用する場合は900mm (35.43インチ)以上、ケーブル管理アームを使用しない場合は800mm (31.5インチ)。

前方取付け面と後方取付け面との隙間

構造支柱とケーブル・トラフとの距離が456mm(18インチ)以上。

構造支柱とケーブル・トラフとの距離が456mm(18インチ)以上。

構造支柱とケーブル・トラフとの距離が456mm(18インチ)以上。

サービス・アクセスのための最小の隙間

前方の隙間: 123.2cm (48.5インチ)

後方の隙間: 91cm (36インチ)

前方の隙間: 123.2cm (48.5インチ)

後方の隙間: 91cm (36インチ)

前方の隙間: 123.2cm (48.5インチ)

後方の隙間: 91cm (36インチ)

サーバー・ノードの寸法

高さ: 175.1mm (6.9インチ)。

幅(取付け耳を含まない): 437mm (17.2インチ)。

幅(取付け耳を含む): 482.6mm (19インチ)。

奥行き: 762mm (30インチ)。

高さ: 42.6mm (1.7インチ)。

幅: 436.5 mm (17.2インチ)。

奥行き: 737mm (29インチ)。

高さ: 42.6mm (1.7インチ)。

幅: 436.5 mm (17.2インチ)。

奥行き: 737mm (29インチ)。

ストレージ・シェルフの距離

N/A

高さ: 87.9mm (3.5インチ)

幅: 483mm (19インチ)

奥行き: 630mm (24.8インチ)

高さ: 175mm (6.9インチ)

幅: 483mm (19インチ)

奥行き: 630mm (24.8インチ)

注意:

人的傷害または装置の損傷。ラックの上側が重くなって倒れないように、常に下から上にラックに機器を搭載してください。機器の設置中にラックが倒れないように、ラックの転倒防止バーを伸ばしてください。地震キットがラックに設置され、床に固定されている場合、この注意は適用されません。

ラックへのOracle Database Applianceの挿入

この項では、次のように、Oracle Database Applianceをラックに設置する方法について説明します。

ラックへのOracle Database Appliance X6-2S/X6-2Mの挿入

この項では、Oracle Database Appliance X6-2S/X6-2Mサーバーをラックに設置する方法について説明します。Oracle Database Appliance X3-2、Oracle Database Appliance X4-2またはOracle Database Appliance X5-2を設置する場合は、「ラックへのOracle Database Appliance X3-2/X4-2/X5-2の挿入」を参照してください。Oracle Database Appliance (オリジナル・バージョン)を設置する場合、「ラックへのOracle Database Appliance (オリジナル・バージョン)の挿入」を参照してください。

この項は、次のトピックで構成されています。

注意:

人的傷害または装置の損傷。必ず下から上にラックに機器を設置してください。

注意:

システム障害。Oracle Database Applianceは一緒に設置する必要のある適合セットのコンポーネントで出荷されます。別のシステムのコンポーネントと混合するとシステム障害が発生する可能性があります。

発送箱の内容

物理的損傷の形跡がないかどうか、Oracle Database Appliance X6-2S/X6-2Mシステムの発送用段ボール箱を点検してください。発送用段ボール箱に損傷がある場合は、運送業者の担当者に、段ボール箱を開梱する際の立ち合いを依頼してください。担当者による点検のために、すべての内容物および梱包材を保管しておいてください。

サーバーの発送キットには、次の品目が含まれています。

  • 電源コード(カントリ・キットとは別に梱包)

  • ラック・レール、ハードウェア、テンプレートおよび設置説明書を含むレール・キット

  • RJ-45クロス・アダプタ

  • 様々なハードウェア、ケーブルおよびコネクタ

  • セットアップ・ブックレット

  • 法律および安全性に関するドキュメント

必要なツールおよび機器

Oracle Database Appliance X6-2S/X6-2Mの設置を開始する前に、次のツールおよび機器を用意します。

  • 長さ4インチ以上のNo. 2プラス・ドライバ

  • ねじ山のあるラックを使用する場合、T20 Torxドライバ

  • 機械式リフトを強くお薦めします

    注意:

    人的傷害または装置の損傷。ストレージ・シェルフの重さは約51ポンド(23kg)あります。機械式リフトが使用できない場合、3名でラックへ格納してください。

設置用のラックの固定

注意:

人的傷害または装置の損傷。人的傷害のリスクを軽減するには、ラック・キャビネットを固定し、サーバーの設置前に転倒防止デバイスを伸ばします。

次の手順の詳細な説明は、ラックのドキュメントを参照してください。

  1. ラック・キャビネットの前面および背面ドアを開き、取り外します。

    注意:

    前面および背面ドアは、設置の邪魔になる場合にのみ、取り外す必要があります。
  2. 設置中にラック・キャビネットが倒れないように、ラック・キャビネットの前面の底にある、転倒防止脚または転倒防止バーを完全に伸ばします。
  3. ラック・キャビネットの下に回転防止用の水平調整脚がある場合、床に向けて完全に伸ばします。

ラックへのサーバー・ノードの設置

この項の手順を使用して、Oracle Database Appliance X6-2シリーズのサーバー・ノードをラックに設置します。

注意:

次の表内のリンクをクリックすると、Oracle Database Applianceライブラリ外部のOracle Server X6-2ドキュメント・ライブラリにある手順に移動します。Oracle Database Applianceライブラリに戻るには、ブラウザの「戻る」ボタンを使用してください。

ラックへのOracle Database Appliance X3-2/X4-2/X5-2の挿入

この項では、Oracle Database Appliance X3-2、Oracle Database Appliance X4-2、Oracle Database Appliance X5-2のサーバー・ノードおよびストレージ・シェルフをラックに設置する方法について説明します。Oracle Database Appliance X6-2S/X6-2Mを設置する場合は、「ラックへのOracle Database Appliance X6-2S/X6-2Mの挿入」を参照してください。Oracle Database Appliance (オリジナル・バージョン)を設置する場合、「ラックへのOracle Database Appliance (オリジナル・バージョン)の挿入」を参照してください。

この項は、次のトピックで構成されています。

注意:

人的傷害または装置の損傷。必ず下から上にラックに機器を設置してください。「設置の流れ」を参照してください。

注意:

システム障害。Oracle Database Applianceは一緒に設置する必要のある適合セットのコンポーネントで出荷されます。別のシステムのコンポーネントと混合するとシステム障害が発生する可能性があります。

出荷パレットの内容

Oracle Database Appliance X3-2、Oracle Database Appliance X4-2、Oracle Database Appliance X5-2は、1つのパレット上にシステム全体が載って出荷されます。これには、すべてのサーバー・ノード、ストレージ・シェルフ、取付けハードウェア、ケーブルおよびラベルが含まれます。

注意:

システム障害。出荷内のすべてのアイテムは1つのシステムとして一緒に使用されるように設計されています。別の出荷のコンポーネントと混合しないでください。システム障害が発生することがあります。詳細は、「コンポーネントの互換性の確認」を参照してください。

この出荷内のアイテムは次のとおりです。

  • サーバー・ノード0およびサーバー・ノード1

  • サーバー・ノード0および1の取付けハードウェア、ケーブルおよびラベル

  • ストレージ・シェルフ1個

  • ストレージ・シェルフのラック取付けハードウェア

ストレージ拡張シェルフを注文した場合は、別に出荷されます。

設置の流れ

機器のラックへの設置は、必ず下から開始して上へ向かって作業してください。Oracle Database Appliance X3-2、Oracle Database Appliance X4-2、Oracle Database Appliance X5-2の場合、次の順序で機器を設置します。

  1. ストレージ拡張シェルフ(装備されている場合)。

  2. ストレージ・シェルフ。

  3. サーバー・ノード0。

  4. サーバー・ノード1。

コンポーネントの互換性の確認

Oracle Database Appliance X3-2、Oracle Database Appliance X4-2、Oracle Database Appliance X5-2の場合、工場で同梱されるすべてのアプライアンス・コンポーネントには、システムに対応する最上位レベル識別子(TLI)番号があります。両方のサーバー・ノード、ストレージ・シェルフ、および(工場からの初期アプライアンス構成に含まれている場合は)ストレージ拡張シェルフ(オプション)のTLIは同じである必要があります。

注意:

最初の設置後に、システムにストレージ拡張シェルフを追加する(つまり、ストレージ拡張シェルフがアプライアンスの初期構成注文の一部ではなかった)場合、そのTLIはシステムのその他の部分とは異なります。このシナリオの場合、追加コンポーネントがメイン・アプライアンスのTLIとは異なるTLIを持つのは適切です。
  1. 両方のサーバー・ノード、ストレージ・シェルフ、および(ある場合)ストレージ拡張シェルフのTLIを探します。

    TLIラベルは、コンポーネントの上部、左側、前面近くにあります。


    イメージ: TLIラベルの例を示す図。
  2. すべてのコンポーネントのTLI番号(TLI部品番号およびTLIシリアル番号)が同じであることを確認します。

必要なツールおよび機器

Oracle Database Appliance X3-2、Oracle Database Appliance X4-2またはOracle Database Appliance X5-2の設置を開始する前に、次のツールおよび機器を用意します。

  • 長さ4インチ以上のNo. 2プラス・ドライバ

  • ねじ山のあるラックを使用する場合、T20 Torxドライバ

  • 機械式リフトを強くお薦めします

    注意:

    人的傷害または装置の損傷。ストレージ・シェルフの重さは約51ポンド(23kg)あります。機械式リフトが使用できない場合、3名でラックへ格納してください。

設置用のラックの固定

注意:

人的傷害または装置の損傷。人的傷害のリスクを軽減するには、ラック・キャビネットを固定し、サーバーの設置前に転倒防止デバイスを伸ばします。

次の手順の詳細な説明は、ラックのドキュメントを参照してください。

  1. ラック・キャビネットの前面および背面ドアを開き、取り外します。

    注意:

    前面および背面ドアは、設置の邪魔になる場合にのみ、取り外す必要があります。
  2. 設置中にラック・キャビネットが倒れないように、ラック・キャビネットの前面の底にある、転倒防止脚または転倒防止バーを完全に伸ばします。
  3. ラック・キャビネットの下に回転防止用の水平調整脚がある場合、床に向けて完全に伸ばします。

ラベルの貼付

Oracle Database Appliance X3-2、Oracle Database Appliance X4-2、Oracle Database Appliance X5-2は、各サーバー・ノードおよびストレージ・シェルフの前面に貼付する4枚のラベルがあるラベル・キットとともに発送されます。

サーバー・ノードおよびストレージ・シェルフへのラベルの貼付

  1. ラベルを探します。

    モデルに応じて、発送キットには、サーバー・ノード・ラベルおよびストレージ・シェルフ・ラベルのシートが含まれている場合があります。

    • Oracle Database Appliance X5-2システムには、貼付するサーバー・ノード・ラベルのみが含まれています。ストレージ・シェルフ・ラベルは、出荷時に貼付されています。

    • Oracle Database Appliance X3-2およびOracle Database Appliance X4-2の各システムには、貼付する必要があるサーバー・ノード・ラベルとストレージ・シェルフ・ラベルの両方が含まれています。

  2. ラベルを貼付する場所の油分や塵がきれいに除去されていることを確認してください。
  3. 必要な場所にラベルを貼付します。

    接着ラベルの裏紙をはがして、アプライアンスのフロント・パネルの右側の対応する場所に、ラベルを貼付します。

    • サーバー・ノード1: このラベルを上のサーバー・ノードに貼付します[1]。

    • サーバー・ノード0: このラベルを下のサーバー・ノードに貼付します[2]。

    • ストレージ・シェルフ: このラベルをサーバー・ノード0のすぐ下のストレージ・シェルフに貼付します[3]。

    • ストレージ拡張シェルフ(オプション): 存在する場合、このラベルを一番下のストレージ・シェルフに貼付します[4]。


    イメージ: アプライアンスの右側およびラベルを貼付する場所を示す部分切取り図。
    コールアウト 説明

    A

    Oracle Database Appliance X3-2およびOracle Database Appliance X4-2

    B

    Oracle Database Appliance X5-2

    1

    サーバー・ノード1

    2

    サーバー・ノード0

    3

    ストレージ・シェルフ

    4

    オプションのストレージ拡張シェルフ

ラックへのストレージ・シェルフの設置

この項は、ラックにストレージ・シェルフを設置する手順を含みます。

Oracle Database Appliance X3-2、Oracle Database Appliance X4-2、Oracle Database Appliance X5-2には1つのストレージ・シェルフが必要で、ストレージ拡張シェルフと呼ばれる、2つ目のストレージ・シェルフが含まれることもあります。次の注意をして、どちらも同じ方法で設置します。

ラックへのOracle Database Appliance X5-2 DE2-24Cストレージ・シェルフの設置

Oracle Storage Drive Enclosure DE2-24Cには、キャビネット内に4本の標準取付けユニット(4RU) のための垂直方向の空間が必要です。キャビネットの下部から開始して、ラック・ユニット(RU)の適切な高さを見つけます。ラックの転倒を防止するために、ストレージ・シェルフはコントローラの下に設置します。

開始する前に

この作業には、ねじ山のあるラックおよびねじ山のないラックの両方の手順が含まれています。

  1. ねじ山のない汎用の19インチ・キャビネットまたはSun Rack IIキャビネットを使用する場合、4RU空間の各フロント・レールの下から数えて8番目のラック穴に指定されたケージ・ナットの1つをはめ込みます。
    イメージ: ラック・ポストへのケージ・ナットの設置方法を示す図。
  2. 各レール端のねじを準備します。
    • 角穴のねじ山のないキャビネット: 準備は必要ありません。

    • 丸穴のねじ山のないキャビネット: 各レール端からねじを取り外し、廃棄します。丸穴キャビネットのねじを見つけて脇に置きます。

    • ねじ山のあるキャビネット: ねじを取り外し、レール・フランジの内側から逆向きに取り付けて、位置決めピンとして利用します。また、各フロント・レール端からクリップ・ナットを取り外し、廃棄します。

  3. レールの前面をキャビネットの内側に配置します(レール・フランジがキャビネット・フランジの内側にあり、レールのラベルがキャビネットの内側を向くようにします)。
    • 角穴のねじ山のないキャビネット: ねじの頭がラックの穴の内側に収まります。

    • 丸穴のねじ山のないキャビネット: ラックを通して各レールの前面に2本のねじを設置します。ラックのケージ・ナットまたはレール上のクリップ・ナットに取り付けないでください。

    • ねじ山のあるキャビネット: 位置決めピンがラックの穴の内側に収まりまります。

  4. 適切な長さにレールを調整します。
    イメージ: 適切な長さに調整されているサイド・レールを示す図。
  5. ラックを通して各レールの背面に1本のねじを設置します。
  6. レールの2本の固定ねじを締め付けます。
    イメージ: 調整されたレールへの固定ねじの設置を示す図。
  7. 機械式リフトを使用するか、2名の作業員を配置し(ストレージ・シェルフの両側に1名ずつ)、シェルフを慎重に持ち上げて左右のレールの下部にある突起に載せます。電源装置のハンドルを使用して持ち上げないでください。
    イメージ: ラックへのストレージ・シェルフの挿入を示す図。
  8. キャビネット内にシェルフを慎重にスライドします。シェルフがレールにしっかり固定されていることを確認します。シェルフを取り外して付けなおす場合は、常に支え続けてください。
  9. 前面の左右にあるキャップを取り外し、前面の各側に2本のねじを設置し、キャップを戻します。
  10. 各レールに1本の長いパッチ固定ねじを設置してラックの背面にシェルフの背面を固定します。
    イメージ: パッチ固定ねじを設置してラックにシェルフを固定している図。
  11. 追加のストレージ・シェルフを設置する場合は、これらの手順を繰り返します。

ラックへのOracle Database Appliance X3-2/X4-2 DE2-24Pストレージ・シェルフの設置

Oracle Storage Drive Enclosure DE2-24Pには、キャビネット内に2本の標準取付けユニット(2RU)のための垂直方向の空間が必要です。ストレージ・シェルフのラック取付けキットには、2つのラック・レール、長いM6ねじおよび短いM6ねじ、10mmレンチが含まれます。

開始する前に

この作業には、ねじ山のあるラックおよびねじ山のないラックの両方の手順が含まれています。

  1. レールをラックに設置します。
    • ねじ山のないラックの場合:
      1. フロント・レール位置ペグ[1]を、ラックの前面の適切な穴の完全な内側に配置します。

        レール・フランジ[2]はキャビネット・フランジの内側で、レールのラベルはキャビネットの内側に面している必要があります。

      2. 1個のねじをラックの前面からレールの一番上の穴に挿入して緩く締めます[3]。
      3. 1個のねじをラックの背面からレールの裏側に挿入して緩く締めます[4]。
        イメージ: 番号付きのコールアウトを使用したレールとねじ山のないラックの図
        コールアウト 説明

        1

        位置ペグ

        2

        レール・フランジおよびラベル

        3

        前面の取付け用ねじ

        4

        背面の取付け用ねじ

    • ねじ山のあるラックの場合:
      1. T20 Torxドライバを使用して、レールの前面および背面から、レール位置ペグを取り外します[1]。
      2. 10mmレンチ(支給)を使用して、位置ペグを取り外したレールの端にピンを挿入します[1]。
      3. レールの前面をキャビネットの内側に配置し、レール・フランジはキャビネット・フランジの内側で、レールのラベルはキャビネットの内側に面しているようにします[2]。

        ピンはラックの穴の内側の位置に完全に合わせる必要があります。

      4. 1個のねじをラックの前面からレールの一番上の穴に挿入して緩く締めます[3]。

        ねじ山のあるラック用のねじには、シャフトの頂上近くにねじ山のない領域があります。これらのねじをレールに通す前に、ねじ山がラックを通過してねじが自由に回転するまで、ラックに通します。

        注意:

        機械的障害。ねじ山のあるラックにストレージ・シェルフを設置する場合、部分的にねじ山のないシャフトのあるねじを必ず使用してください。これらをレールに通す前に、ねじ山がラックを通過してねじが自由に回転するまで、確実にラックに通します。

        イメージ: 番号付きのコールアウトを使用したねじ山のあるラックに装着中のレールの前面の図。
        コールアウト 説明

        1

        ピン(位置ペグと交換)

        2

        レール・フランジおよびラベル

        3

        前面の取付け用ねじ

      5. レールの脚を収まるように調整し、対応する背面のラックの穴の内側の背面ピンを探します[1]。
      6. 1個のねじをラックの背面からレールの裏側に挿入して緩く締めます[2]。
        イメージ: 番号付きのコールアウトを使用したレールの後ろ側とラックの図。
        番号 説明

        1

        ピン(位置ペグと交換)

        2

        背面の取付け用ねじ

  2. ラックに完全に収まるまで、棚レール上のストレージ・シェルフを注意深くスライドします。

    注意:

    装置の損傷。電源およびファン・モジュールのハンドルを使用してストレージ・シェルフを持ち上げないでください。

    注意:

    人的傷害または装置の損傷。機械式リフトを使用するか、3名で行ってください。3名で行う場合、2名でストレージ・シェルフを所定の位置に持ち上げ、離す前にレールの上に安全に乗っていることをもう1名が確認します。
  3. ストレージ・シェルフを、ラックから約7.8インチ(200 mm)まで引き出します。
  4. レールをラックに固定する4個のねじを締めます(前面に2個、背面に2個)。
  5. ストレージ・シェルフをスライドしてラックに戻し、レール上に安全に乗っていることを確認します。
    イメージ: ラックから途中まで引き出され、エンド・キャップが取り外されたストレージ・シェルフの図。
  6. ストレージ・シェルフの前面の両端をカバーしている前エンド・キャップを取り外します[1]。パチンと外します。
  7. 両端で1個の短いねじを使用してストレージ・シェルフの前面をラックに固定します。
  8. エンド・キャップをストレージ・シェルフにパチンと戻します。
  9. レールごとに1個の短いねじを使用して、ストレージ・シェルフの背面をレール上のねじ穴に固定します。
    イメージ: ストレージ・シェルフの背面をラック・レールに固定するねじの図。
  10. 追加のストレージ・シェルフを設置する場合は、これらの手順を繰り返します。

既存のシステムへのストレージ拡張シェルフの追加

開始する前に

この作業は、すでに実行中のOracle Database Appliance X3-2、Oracle Database Appliance X4-2、Oracle Database Appliance X5-2にストレージ拡張シェルフを追加することを想定しています。

この作業を完了するのに、システムを停止する必要はありません。

次の例外条件に注意してください。

  • ストレージ拡張シェルフは通常、Oracle Database Applianceの下部の、ストレージ・シェルフの下に設置されます。しかし、ラックは通常、下から上へプロビジョニングされる必要があるので、空きがない場合があります。そのような場合、システム全体を再度ラックに取り付けなくても済むように、サーバー・ノードの上、または別のラックに配置することもできます。

  • 「コンポーネントの互換性の確認」で説明しているように、ストレージ拡張シェルフの最上位レベル識別子(TLI)はシステムのその他の部分と一致しません。しかし、最初のアプライアンスの購入とセットアップの後にストレージ拡張シェルフを追加することは、サポートされている構成です。

  1. 必要に応じて、ラベルを貼付します。

    エクスパンション・ストレージ・シェルフの発送には"EXPANSION STORAGE SHELF"と書かれたラベルが含まれます。シェルフの前面にラベルがまだ貼付されていない場合は、「ラベルの貼付」の説明に従って、ここでそれを貼付します。

  2. 「ラックへのストレージ・シェルフの設置」の説明に従い、エクスパンション・ストレージ・シェルフを設置します。
  3. ケーブルを接続し、電源を入れて、新しいストレージが追加されたことを確認します。

    スタート・ガイドを参照してください。

ラックへのサーバー・ノードの設置

この項の手順を使用して、ラックにサーバー・ノードを設置します。

注意:

次の表内のリンクをクリックすると、Oracle Database Applianceライブラリ外部のSun Server X3-2、Sun Server X4-2、Oracle Server X5-2ドキュメント・ライブラリにある手順に移動します。Oracle Database Applianceライブラリに戻るには、ブラウザの「戻る」ボタンを使用してください。

ラックへのOracle Database Appliance (オリジナル・バージョン)の挿入

この項では、Oracle Database Appliance (オリジナル・バージョン)のラックへの挿入について説明します。Oracle Database Appliance X6-2S/X6-2Mを設置する場合は、「ラックへのOracle Database Appliance X6-2S/X6-2Mの挿入」を参照してください。Oracle Database Appliance X3-2、Oracle Database Appliance X4-2またはOracle Database Appliance X5-2を設置する場合は、「ラックへのOracle Database Appliance X3-2/X4-2/X5-2の挿入」を参照してください。

この項は、次のトピックで構成されています。

注意:

機械式リフトを使用する場合、この手順を実行する必要はありません。

注意:

システム・シャーシは、ラック取付けキット・ハードウェアでラックに固定されています。ラック取付けキットは、スライド・レールを含みません。システム・シャーシがラックに設置されると、ラックをスライドしません。シャーシがラックに設置されますが、シャーシからサーバー・ノード(システム・コントローラとも呼ぶ)を取り外すことができます。

ラック取付けキットの内容

ラック取付けキットには、サポートされているラックにOracle Database Appliance (オリジナル・バージョン)を設置するのに必要なハードウェアが含まれています。ラック取付けガイドおよび調整テンプレートは、発送キットでシステムとともに発送されます。ラックにシステムを挿入する場合は、このテンプレートを使用してください。

注意:

ラック取付けキットは、スライド・レールを含みません。システムが設置されると、ラックをスライドしません。4本柱のラックにシステムを設置する方法の詳細は、ラック取付けガイドおよび調整テンプレートを参照してください。

次の図は、ラック取付けキットに同梱されるハードウェアを示しています。

イメージ:ラック取付けキットの内容を示す図。
コールアウト 説明

1

システムの背面上部のポストに取り付けられる背面上部の留め具。

2

棚レール(左)。

3

棚レール(右)。

4

M6および10-32ねじ一式。12個のM6 x 16ねじ、12個のM6 x 12ねじ、4個のM6 x 4平頭ねじ、10個の10-32ねじ、12個の10-32肩付きねじを含む。

5

丸穴型ラック用に1セット、角穴型ラック用に1セットの合計2セットの4つのアダプタ金具。

6

4個のM6ケージ・ナット。注意 - ケージ・ナットは使用しません。再利用できます。

システムのラック取付けに必要なスタッフ、工具および機器

注意:

人的傷害または装置の損傷。システムの設置には機械式リフトを使用するか、「システムを軽量にするためのコンポーネントの取外し」に記載されている注意に従ってください。

設置を開始する前に、システムのラック取付けに必要なスタッフ、工具および機器を用意します。

スタッフ、ツールおよび機器 注意

教育を受けた4名のスタッフ

システムの持上げまたは移動には、4名が必要です。

注意 - 機械式リフトを使用できる場合またはシステムからコンポーネントを取り外している場合、2名でシステムの持上げまたは移動を行うと安全です。

No.2 10インチ・プラス・ドライバ

磁気チップをお薦めします。

機械式リフト

強く推奨されています。使用できない場合は、システムを軽量にします。「システムを軽量にするためのコンポーネントの取外し」を参照してください。

互換性のある4本柱のラック

「ラックの互換性要件」を参照してください。

ラック取付けキット

「ラック取付けキットの内容」を参照してください。

移動キット

「移動キットの内容」を参照してください。

静電気防止リスト・ストラップおよび静電気防止マット

システム・コンポーネントを取り外す場合のみ必要です。

システムを軽量にするためのコンポーネントの取外し

ラックにOracle Database Appliance (オリジナル・バージョン)を設置する前に、2人でラックにシステムを持ち上げられるようにシステムを軽量にするため、コンポーネントを取り外すことができます。システム・コンポーネントを取り外すと、重量を約96ポンド(43.5kg)に減らすことができます。

システムを軽量にするには、次のコンポーネントを取り外します。

  • サーバー・ノード

  • 電源

注意:

軽量なので、システムからフィラー・パネルを取り外す必要はありません。

システムからコンポーネントを取り外す手順および関連する安全情報は、『Oracle Database Applianceサービス・マニュアル』を参照してください。

ラックへのラック取付けハードウェアの設置

Oracle Database Appliance (オリジナル・バージョン)ラック取付けハードウェアは、棚レール、前面および背面のアダプタ金具、背面の留め具およびねじで構成されます。

注意:

人的傷害または装置の損傷。システムの設置には機械式リフトを使用するか、「システムを軽量にするためのコンポーネントの取外し」に記載されている注意に従ってください。コンポーネントを取り外すと、重量をコンポーネントが完全に取り付けられている状態の160ポンド(72.6kg)から約96ポンド(43.5kg)に減らすことができます。

注意:

転倒に注意してください。ラックの上側が重くなって倒れないように、常に下から上にラックに機器を搭載してください。設置中にラックが倒れないように、ラックの転倒防止バーを伸ばしてください。

注意:

動作周囲温度の上昇。「環境仕様」で指定されている最高周囲温度を超えない環境に、この機器を設置してください。システムが密閉されたラック・アセンブリや複数ユニットのラック・アセンブリに設置されている場合、ラック環境の動作周囲温度が室内周囲温度より高くなる場合があります。

注意:

熱による損傷。空気の流れを妨げないようにラックに機器を設置してください。

注意:

回路の過負荷。電源回路への機器の接続および回路の過負荷によって発生する可能性のある過電流対策および電源配線の影響を考慮してください。この問題に対処する場合、機器のネームプレートにある電力定格に注意してください。

注意:

装置の損傷。ラック取付け機器の接地を確実に維持してください。分岐回路への直接接続以外の電源の接続(テーブル・タップの使用など)には注意してください。
  1. システムを設置するラックの4ラック・ユニット(4RU)のスペースを測定するには、ラック取付けガイドおよび調整テンプレートを使用します。

    また、そのテンプレートを使用して、アダプタ金具とラック・ポストの位置を合わせます。

  2. ラックに4RUのスペースがあることを確認します。

    ラック取付けガイドおよび調整テンプレートの下端をラックの最も低い位置に合わせます。すべての矢印をラック・ポストの穴に合せます。ラックに4RUのスペースがあることを確認します。

  3. ラックに合うアダプタ金具を選択してください。

    システムは、角穴型ラックに1セット[1]、丸穴型ラックに1セット[2]の合計2セットのアダプタ金具とともに発送されます。

    アダプタ金具には、角穴型ラック用または丸穴型ラック用のいずれかを示すラベルがあります。また、アダプタ金具の矢印は、向きを示します。すべての金具は"Top"の矢印が上を向くように設置してください。

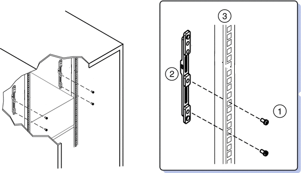
  4. アダプタ金具を前面ラック・ポストに取り付けます。

    次の図は、角穴型ラック[1]および丸穴型ラック[2]に取り付けられる前面のアダプタ金具を示しています。


    イメージ:角穴型ラックおよび丸穴型ラックに取り付けられる前面の金具を示す図。
    1. 金具がサーバーを設置する4RUのスペースと合うように金具の位置を決めて、金具の"Top"の矢印が上を向いていることを確認します。
    2. ラックに合うねじを選択します。
      • 角穴型ラックの場合、アダプタ金具ごとに1個のM6 x 12mmねじを使用します。

      • ねじ山のある丸穴型ラックの場合、3個のM6 x 12mmねじまたはアダプタ金具ごとに3個の10-32肩付きねじを使用します。

  5. アダプタ金具を背面ラック・ポストに取り付けます。
    1. 金具がサーバーを設置するスペースと合うように金具の位置を決めて、金具の"Top"の矢印が上を向いていることを確認します。
    2. ラックに合うねじを選択します。
      • 角穴型ラックの場合、アダプタ金具ごとに2個のM6 x 12mmねじを使用します。

      • ねじ山のある丸穴型ラックの場合、2個のM6 x 12mmねじまたはアダプタ金具ごとに2個の10-32肩付きねじを使用します。

      次の図は、丸穴型ラックに取り付けられる背面のアダプタ金具を示しています。


      イメージ:丸穴型ラックに取り付ける背面の金具を示す図。

      次の図は、角穴型ラックに取り付けられる背面のアダプタ金具を示しています。


      イメージ:角穴型ラック・ポストに背面のアダプタ金具を取り付ける方法を示す図。
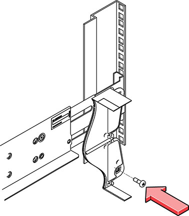
  6. 背面の留め具を背面ラック・ポストおよびアダプタ金具に取り付けます。
    1. 背面の留め具の位置を決めて、留め具[1]の上部を各背面ラック・ポストの4Uマークに合せます。
    2. 2個のM6 x 12mmねじ[3]または2個の10-32 x 10ねじを設置して、背面の留め具をラック・ポストおよびアダプタ金具に取り付けます。
      イメージ:背面ラック・ポストに背面の留め具を取り付ける方法を示す図。

    注意:

    ねじを締める前に、金具[1]をできるだけ上にスライドします。金具の穴は楕円形なので、ねじが緩んでいる場合に上下に動かすことができます。
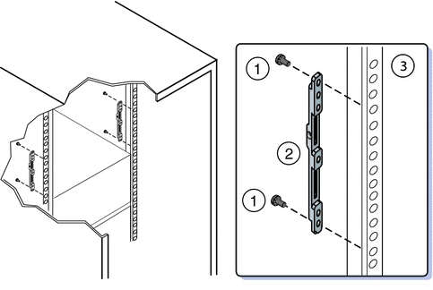
  7. 棚レールをラックに設置します。

    注意:

    システム障害。棚が内側および間隔がラックの前面の正しい方向に棚レールを取り付けてください。そうしないと、システムが落下するおそれがあります。
    1. 棚レール[1]を伸ばして、前面ラック・ポストおよび背面ラック・ポストの間に収まるようにします。
    2. 最初に、棚レールの背面フックを背面のアダプタ金具[2および3]のスロットに挿入します。レールを押し下げて、フックを掛けます。
    3. 棚レールの前面フックを前面のアダプタ金具のスロットに挿入します。レールを押し下げて、フックを掛けます。
      イメージ:ラックに棚レールを挿入する方法を示す図。
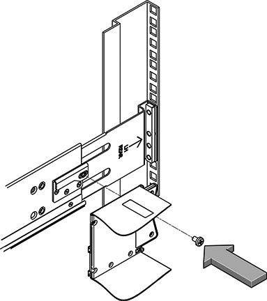
  8. 4個のアダプタ金具[1]に4個のM4 x 10平頭固定ねじを通してください。

    これらのねじは、棚レールが誤ってアダプタ金具から外れることを防ぎます。


    イメージ:アダプタ金具に固定ねじを設置する方法を示す図。

関連項目

ラックへのシステムの設置

ラックへのシステムの設置

開始する前に

ラックへのOracle Database Appliance (オリジナル・バージョン)の設置を開始する前に、「ラックへのラック取付けハードウェアの設置」の手順を実行します。

  1. システムを、棚の表面より少し上に上げます。

    機械式リフトの使用をお薦めします。

    注意:

    人的傷害または装置の損傷。システムの設置には機械式リフトを使用するか、「システムを軽量にするためのコンポーネントの取外し」に記載されている注意に従ってください。コンポーネントを取り外すと、重量をコンポーネントが完全に取り付けられている状態の160ポンド(72.6kg)から約96ポンド(43.5kg)に減らすことができます。

    注意:

    転倒に注意してください。ラックの上側が重くなって倒れないように、常に下から上にラックに機器を搭載してください。設置中にラックが倒れないように、ラックの転倒防止バーを伸ばしてください。
  2. ラック取付け耳がラック・ポストに接触するまで、棚レールのシステムをスライドします。上部の背面の留め具を調整して、システムを完全に挿入します。

    注意:

    落下に注意してください。ラック内に12インチ(305mm)を超えて挿入され、棚レールで確実に支えられるまで、システムを離さないでください。ラック内に12インチ(305mm)を超えて挿入されるまで、棚レールはシステムを確実に支えられません。

    イメージ:ラックに挿入するシステムを示す図。
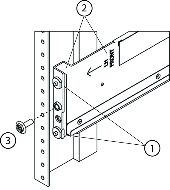
  3. 4個のねじを使用して、システムの前面をラックの前面に取り付けます。
    • ねじ穴のある丸穴型ラックでは、4個のM6 x 12mmねじまたは4個の10-32 x 10mmねじを使用します。

    • 角穴型ラックでは、4個のM6 x 16mmねじを使用します。

      注意:

      角穴型ラックでは、ねじをラック、アダプタ金具に通します。丸穴型ラックでは、ねじをラック・レールに通します。

    イメージ:ラックの前面に取り付けるシステムの前面を示す図。
  4. 背面の留め具を調整するには、次の手順を実行します。
    1. 背面の留め具[1]のねじを緩めます。
    2. システムの上部[2]の位置が決まるまで、背面の留め具を下にスライドします。
    3. 背面の留め具[1]のねじを締めます。
      システムの上部の背面の留め具を正しく調整する方法を示す図。
  5. システムからコンポーネントを取り外した場合は、元に戻します。

    手順は、製品ドキュメントの一部であるサービス・マニュアルを参照してください。

発送用金具の設置

この項には、Oracle Database Appliance (オリジナル・バージョン)の発送用金具の設置についての次の情報が含まれます。

  • 移動キットの内容

  • ラックのシステムを別の宛先に発送する場合は、「発送用金具の設置」を参照してください。

  • システムがラックで発送される場合、システムを使用する前に発送用金具を取り外す必要があります。手順は、『Oracle Database Applianceサービス・マニュアル』を参照してください。

移動キットの内容

次の図は、Oracle Database Appliance (オリジナル・バージョン)移動キットに含まれるハードウェアを示しています。

イメージ:移動キットの内容を示す図。
コールアウト 説明

1

前面の発送用金具。

2

ねじおよびケージ・ナット: 背面の発送用金具の場合:

  • M6 x 30および10-32 x 1.25インチねじの2つのセット、1セット当たり2個のねじ。

  • M6 x 16mmおよび10-32 x 10mmねじの2つのセット、1セット当たり4個のねじ。

  • 6個のM6ケージ・ナット。注意 - ケージ・ナットは使用しません。使用しないハードウェアはリサイクルしてください。

3

背面の発送用金具。

発送用金具の設置

ラック内のOracle Database Appliance (オリジナル・バージョン)を別の場所に移動または発送する場合は、発送用金具を設置する必要があります。

  1. システムの下部をラックに固定している2個の短いねじを取り外します。
    イメージ:システムの前面からねじを取り外す方法を示す図。
  2. システムの下部のサポート・フランジを使用して、システム前面の下に前面の発送用金具[2]を挿入します。
    イメージ:前面の発送用金具を設置する方法を示す図。
  3. 2個の長いねじ(M6 x 30mmねじまたは10-32 x 1.25インチねじ)[1]を使用して、発送用金具[2]とシステムの前面を固定します。

    2個の長いねじを締めて、発送用金具およびシステムをラックに固定します。

    注意:

    前面の発送用金具には、未使用のねじを格納するために使用される8つのねじ穴があります。発送用金具が設置されない場合、前面の発送用金具では、設置に使用する長いねじを保管します。発送用金具が設置される場合、前面の発送用金具が設置される前にシステムとラックの前面を固定するために使用された短いねじが格納されます。
  4. 前面の発送用金具の4つの空いている格納穴に短いねじを入れます。

    発送用金具が取り外される場合に使用できるように、ねじを格納します。

  5. 背面のアダプタ金具を支える下部の2個のねじを取り外します。

    注意:

    装置の損傷。少なくとも1個の上部のねじが確実に締められていないかぎり、下部のねじを取り外さないでください。そうしないと、システムが落下するおそれがあります。
  6. サイド・パネルを上に向けて、背面の発送用金具[2]をシステムの背面の下に挿入します。

    4個のねじ[1](M6 x 16mmねじまたは10-32 x 10mmねじ)を使用して、背面の発送用金具をラックに固定します。これらのねじは最後まで締め付けないでください。ねじは金具を支える程度に締める必要がありますが、まだ金具が少し動くようにしておきます。

    金具をポストに固定する必要がありますが、まだ少し動くようにします。


    イメージ:背面の発送用金具を設置する方法を示す図。
  7. システムの底面に確実に固定するために背面の発送用金具を上げて、金具を支えているねじを最後まで締めます。

    必要に応じて、金具を動かせる程度にねじを緩めて、システムの底面に金具を押し込み、ねじを締めます。

    注意:

    装置の損傷。発送中のシステムの破損を防止するため、底面の発送用金具をシステムの底面に確実に固定する必要があります。