Installation d'une étagère de disques DE2-24P
Utilisez la procédure suivante pour installer le boîtier Oracle Storage Drive Enclosure DE2-24P, qui nécessite un espace vertical de deux unités de rack de montage standard (2UR) ou six trous de rack dans l'armoire.
Avant de commencer
-
Passez en revue les sections Prérequis de l'installation et Présentation des étagères de disques.
-
Pour empêcher le basculement de l'armoire, chargez toujours l'équipement le plus lourd, à savoir les étagères de disques, en bas.
-
Pour préparer au mieux le câblage des étagères de disques sur les contrôleurs, maintenant et à l'avenir, montez les contrôleurs au milieu de l'armoire.
-
Les vis ne sont pas fournies pour l'installation dans une armoire munie de trous filetés de taille M6.
 | Mise en garde -
Cette procédure nécessite au moins deux personnes ou un appareil de levage mécanique en raison du poids du châssis. Si vous tentez d'effectuer seul cette opération, vous risquez de vous blesser ou d'endommager l'équipement. Ne soulevez pas le châssis à l'aide des poignées de l'alimentation.
|
-
Etendez tous les dispositifs anti-basculement et de stabilisation depuis le back du rack.
-
Localisez la hauteur appropriée de l'unité de rack (UR), qui est située à six trous du bas de l'armoire. Si votre rack est une armoire universelle non taraudée de 483 mm ou une armoire Sun Rack II :
-
Positionnez les marques d'emplacement avant dans les trous appropriés à l'avant du rack.
La bride des rails doit être à l'intérieur de la bride de l'armoire, l'étiquette des rails étant orientée vers l'intérieur de l'armoire.
-
Insérez et serrez une vis à l'avant du rack et dans le trou supérieur des rails.
-
Ajustez la longueur des rails et positionnez les marques d'emplacement du rail arrière dans les trous correspondants du rack arrière.
-
Insérez et serrez une vis à l'arrière du rack et dans l'arrière des rails.
-
Si votre rack est une armoire universelle taraudée de 483 mm :
-
Utilisez le tournevis T20 Torx pour retirer les marques d'emplacement de l'avant et de l'arrière des rails.
-
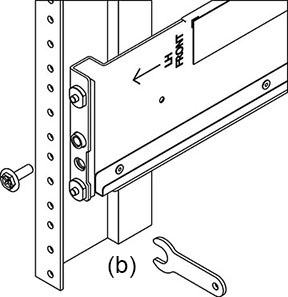
Utilisez la clé fournie pour insérer deux broches dans chaque extrémité du rail, à l'endroit où les marques d'emplacement ont été retirées.
-
Positionnez l'avant des rails dans l'armoire, en plaçant la bride des rails à l'intérieur de la bride de l'armoire, l'étiquette des rails étant orientée vers l'intérieur de l'armoire.
Les broches doivent être entièrement insérées dans les trous du rack.
-
Insérez et serrez une vis à l'avant du rack et dans le trou supérieur des rails.
-
Ajustez la longueur des rails et localisez les broches arrière dans les trous correspondants du rack arrière.
-
Insérez et serrez une vis à l'arrière du rack et dans l'arrière des rails.
-
A l'aide d'un élévateur mécanique ou de deux personnes, une de chaque côté de l'étagère de disques, soulevez avec précaution l'étagère et posez-la sur le rebord inférieur des rails gauche et droit. Ne la soulevez pas à l'aide des poignées de l'alimentation avec module de ventilateur.
-
Faites glisser l'étagère avec précaution dans les rails jusqu'à sa mise en place complète dans l'armoire. La personne qui observe doit s'assurer que l'étagère est complètement en place dans les rails à l'aide d'une lampe torche. Si vous retirez l'étagère pour la remettre en place, soutenez-la en permanence.
-
Installez une longue vis de blocage par rail pour fixer l'arrière de l'étagère à l'arrière du rack. Si vous ne parvenez pas à insérer la vis, il est possible que l'étagère ne soit pas complètement en place dans les rails.
-
Retirez les capuchons latéraux avant, installez une vis de chaque côté et replacez les capuchons.