JavaScript is required to for searching.
Ignorer les liens de navigation
Quitter l'aperu
Guide d'installation des systèmes Oracle® ZFS Storage Appliance

Pour les contrôleurs ZS3-x, 7x20 et les étagères de disques DE2-24, Sun Disk Shelf

Oracle Technology Network
Bibliothque
PDF
Aperu avant impression
Commentaires
search filter icon
search icon

Informations document

Utilisation de la présente documentation

Chapitre 1 Introduction

Chapitre 2 Installation

Installation

Installation

Présentation

Précautions

Etapes préliminaires

Tâches liées à l'installation des contrôleurs, de l'armoire et des étagères de disques

Contrôleur ZS3-2

Tâches liées à l'installation des contrôleurs ZS3-2

Etapes préliminaires

Outils et équipements nécessaires

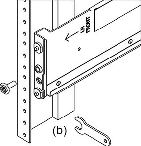
Installation des crochets de montage et des ensembles glissière

Tâches

Tâches liées au contrôleur ZS3-2

Installation du contrôleur dans le rack

Installation du module de fixation des câbles

Vérification du fonctionnement des glissières et du CMA

Retrait du module de fixation des câbles (CMA)

Contrôleur ZS3-4

Tâches liées à l'installation des contrôleurs ZS3-4

Etapes préliminaires

Outils et équipements nécessaires

Tâches

Tâches liées au contrôleur ZS3-4

Installation de supports de montage sur le châssis du contrôleur

Installation du châssis du contrôleur dans les glissières du rack

Installation du module de fixation des câbles.

Contrôleurs 7x20

Tâches liées à l'installation des contrôleurs 7x20

Etapes préliminaires

Outils et équipements nécessaires

Tâches

Tâches liées au contrôleur 7x20

Installation de supports de montage sur le châssis du contrôleur

Installation du châssis du contrôleur dans les glissières du rack

Installation du module de fixation des câbles.

Récapitulatif des configurations du contrôleur

Configurations maximales du contrôleur

DE2 24C

Précautions

Etapes préliminaires

Outils et équipements nécessaires

Tâches

Tâches liées à l'appareil DE2 24C

Installation de l'étagère de disques dans les rails coulissants du rack

Mise sous tension de l'étagère de disques

Mise hors tension de l'étagère de disques

Voir Aussi

DE2 24P

Précautions

Etapes préliminaires

Outils et équipements nécessaires

Tâches

Tâches liées à l'appareil DE2 24P

Installation de l'étagère de disques dans les rails coulissants du rack

Mise sous tension de l'étagère de disques

Mise hors tension de l'étagère de disques

Voir Aussi

Sun Disk Shelf

Précautions

Etapes préliminaires

Outils et équipements nécessaires

Tâches

Tâches liées à Sun Disk Shelf

Installation de l'étagère Sun Disk Shelf dans les glissières du rack

Voir Aussi

Chapitre 3 Câblage

Chapitre 4 Mise sous tension et configuration du système

Tâches

Tâches liées à l'appareil DE2 24P

Installation de l'étagère de disques dans les rails coulissants du rack

  1. Le boîtier Oracle Storage Drive Enclosure DE2-24P requiert deux unités de montage standard (2RU) d'espace vertical dans l'armoire. En commençant par le bas de l'armoire, repérez la hauteur d'unité de rack (RU) appropriée, qui est de six trous de rack. Installez les étagères de disques sous les contrôleurs pour éviter un basculement du rack.
  2. Pour une armoire non taraudée universelle de 483 mm ou Oracle Rack II : a) Insérez complètement les chevilles de repère avant du rail dans les trous appropriés à l'avant du rack. La bride du rail doit se trouver à l'intérieur de la bride de l'armoire, l'étiquette du rail orientée vers l'intérieur de l'armoire. b) Insérez et serrez une vis à l'avant du rack dans le trou supérieur des rails. c) Ajustez la longueur des rails et positionnez les chevilles de repère arrière du rail dans les trous arrière correspondants du rack. d) Insérez et serrez une vis à l'arrière du rack et à l'arrière des rails.
    image:Illustration présentant le rail coulissant du rack en extension afin de s'ajuster au rack et aux emplacements de vis avant et arrière
  3. Si votre rack est une armoire taraudée universelle de 48,3 cm : a) Utilisez un tournevis Torx T20 afin de retirer les chevilles de repère de l'avant et de l'arrière des rails. b) Utilisez la clé anglaise fournie pour insérer deux broches dans chaque extrémité des rails, à la même place où les chevilles ont été retirées. c) Positionnez l'avant des rails dans l'armoire, en plaçant la bride des rails à l'intérieur de la bride de l'armoire, l'étiquette des rails étant orientée vers l'intérieur de l'armoire. Les broches doivent être complètement insérées dans les trous du rack. d) Insérez et serrez une vis à l'avant du rack dans le trou supérieur des rails. e) Ajustez la longueur du rail et placez les broches arrière du rail dans les trous arrière correspondants du rack. f) Insérez et serrez une vis à l'arrière du rack et des rails.
    image:Illustration présentant un détail de l'insertion d'une broche à l'avant du rail
  4. A l'aide d'un élévateur mécanique ou de deux personnes, une de chaque côté de l'étagère de disques, soulevez avec précaution l'étagère et posez-la sur le rebord inférieur des rails gauche et droit. Ne la soulevez pas à l'aide des poignées de l'alimentation avec module de ventilateur.
    image:Illustration présentant la manière adéquate d'installer une étagère de disques dans un rack
  5. Faites glisser l'étagère avec précaution dans les rails jusqu'à sa mise en place complète dans l'armoire. La personne qui observe doit s'assurer que l'étagère est complètement en place dans les rails à l'aide d'une lampe torche. Si vous retirez l'étagère pour la remettre en place, soutenez-la en permanence.
  6. Installez une longue vis de blocage par rail pour fixer l'arrière de l'étagère à l'arrière du rack. Si vous ne parvenez pas à insérer la vis, il est possible que l'étagère ne soit pas complètement en place dans les rails.
    image:Illustration présentant l'insertion d'une vis de blocage dans le rail
  7. Retirez les capuchons latéraux avant, installez une vis de chaque côté et replacez les capuchons.
  8. Connectez le câble d'alimentation pour alimenter l'étagère de disques comme décrit dans la section suivante.

Mise sous tension de l'étagère de disques

Vérifiez que les mesures de sécurité en matière d'alimentation électrique sont appliquées avant de mettre votre étagère de disques sous tension :

  1. Branchez un câble d'alimentation dans chaque alimentation équipée d'un module de ventilateur.
  2. Branchez l'autre extrémité des cordons d'alimentation dans la source d'alimentation externe de l'armoire.

    Remarque -  Pour garantir la redondance, les cordons d'alimentation doivent être connectés à deux sources d'alimentation séparées et indépendantes.

    image:Illustration présentant l'alimentation avec les câbles d'alimentation du module de ventilateur
  3. Mettez sous tension la source d'alimentation externe.
  4. Placez les interrupteurs Marche/Arrêt sur la position "I".
  5. Le cas échéant, activez les disjoncteurs de l'armoire.
  6. Après la mise sous tension de l'étagère de disques, qui peut prendre plusieurs minutes, assurez-vous que l'indicateur d'alimentation du système situé à l'avant de l'étagère de disques et les indicateurs d'état des alimentations avec module de ventilateur situés à l'arrière sont allumés en vert de façon continue. Si ce n'est pas le cas, mettez l'étagère de disques hors tension comme décrit dans la section suivante et remettez en place le module défectueux. Si l'indicateur d'état du module n'est pas allumé en vert de façon continue après la réinsertion du module, contactez le service client Oracle.
    image:Illustration présentant l'emplacement de l'alimentation avec l'indicateur de statut du module de ventilateur
  7. Exécutez les tâches de configuration du logiciel comme décrit dans le guide d'installation du contrôleur de stockage.

Mise hors tension de l'étagère de disques

La plupart des composants d'une étagère de disques sont remplaçables à chaud, vous n'avez donc pas besoin de mettre l'étagère hors tension lors du remplacement des composants. Ne retirez pas un composant si aucun composant de remplacement n'est disponible dans l'immédiat. L'étagère de disques ne doit pas fonctionner si tous ses composants ne sont pas en place.

La mise hors tension ou le retrait de toutes les chaînes SAS d'une étagère de disques entraîne la panique du ou des contrôleurs pour empêcher la perte de données, à moins que l'étagère ne fasse partie d'un pool de données NSPF (No Single Point of Failure, aucun point de panne unique). Pour éviter ce type d'incident, arrêtez le ou les contrôleurs avant de mettre l'étagère hors service. Pour plus d'informations sur les profils NSPF, reportez-vous à la section Profil de configuration de stockage du manuel Guide d’administration des systèmes Oracle ZFS Storage Appliance .

  1. Arrêtez toutes les entrées et les sorties vers et en provenance de l'étagère de disques.
  2. Patientez pendant environ deux minutes jusqu'à ce que tous les indicateurs d'activité des disques aient arrêté de clignoter.
  3. Placez les interrupteurs Marche/Arrêt sur la position "O" (Arrêt).
  4. Déconnectez les cordons d'alimentation de la source d'alimentation externe de l'armoire. Il est nécessaire de débrancher tous les cordons d'alimentation pour retirer toute source d'alimentation de l'étagère de disque.

Voir Aussi