JavaScript is required to for searching.
ナビゲーションリンクをスキップ
印刷ビューの終了
Oracle® ZFS Storage Appliance インストールガイド

ZS3-x、7x20 コントローラ、および DE2-24、Sun Disk Shelf 用

Oracle Technology Network
ライブラリ
PDF
印刷ビュー
フィードバック
search filter icon
search icon

Document Information

このドキュメントの使用法

 1 概要

 2 設置

設置

設置

概要

注意事項

前提条件

コントローラ、キャビネット、およびディスクシェルフの設置タスク

ZS3-2 コントローラ

ZS3-2 コントローラの設置タスク

前提条件

必要な工具および装置

固定器具およびスライドレール構成部品を取り付ける

タスク

ZS3-2 コントローラのタスク

コントローラをラックに設置する

ケーブル管理アームを取り付ける

スライドレールと CMA の動作を確認する

CMA を取り外す

ZS3-4 コントローラ

ZS3-4 コントローラの設置タスク

前提条件

必要な工具および装置

タスク

ZS3-4 コントローラのタスク

固定器具をコントローラシャーシに設置する

コントローラシャーシをラックのスライドレールに設置する

ケーブル管理構成部品を設置する

7x20 コントローラ

7x20 コントローラの設置タスク

前提条件

必要な工具および装置

タスク

7x20 コントローラのタスク

固定器具をコントローラシャーシに設置する

コントローラシャーシをラックのスライドレールに設置する

ケーブル管理構成部品を設置する

コントローラ構成のサマリー

最大コントローラ構成

DE2 24C

注意事項

前提条件

必要な工具および装置

タスク

DE2 24C のタスク

ディスクシェルフをラックのスライドレールに設置する

ディスクシェルフの電源を投入する

ディスクシェルフの電源を切断する

関連項目

DE2 24P

注意事項

前提条件

必要な工具および装置

タスク

DE2 24P のタスク

ディスクシェルフをラックのスライドレールに設置する

ディスクシェルフの電源を投入する

ディスクシェルフの電源を切断する

関連項目

Sun Disk Shelf

注意事項

前提条件

必要な工具および装置

タスク

Sun Disk Shelf のタスク

Sun Disk Shelf をラックのスライドレールに設置する

関連項目

 3 配線

 4 システムの電源投入および構成

タスク

DE2 24C のタスク

ディスクシェルフをラックのスライドレールに設置する

  1. Oracle Storage Drive Enclosure DE2-24C を取り付けるには、キャビネットに標準取り付けユニット 4 つ (4RU) 分の縦スペースが必要です。キャビネットの下から順に、ラックユニット (RU) の適切な高さを求めます。ラックの転倒を防ぐため、ディスクシェルフはコントローラの下に設置します。
  2. ねじなしの汎用の 19 インチキャビネットまたは Sun Rack II キャビネットを使用する場合、4RU 空間の前面の各レールについて、下から数えて 8 番目のラック穴に付属のケージナットをはめ込みます。
    image:右側のラックポストにケージナットを挿入する詳細を示す図
  3. 各レールの端にねじを用意します。

    - 角穴式のねじなしキャビネットの場合: 作業は不要です。

    - 丸穴式のねじなしキャビネットの場合: 各レールの端からねじを取り外して破棄します。丸穴キャビネット用のねじを、側に置いておきます。

    - ねじ式キャビネットの場合: ねじを取り外し、(レールの縁の内部から) 反対方向に取り付け直して位置ピンとして使用します。また、前面レールの両端からクリップナットを取り外して、破棄します。

  4. レールの縁をキャビネットの縁の内側に合わせ、レールのラベルをキャビネット内側に向けて、キャビネット内でレールの前側の位置を決めます。

    - 角穴式のねじなしキャビネットの場合: ねじ頭がラックの穴に合います。

    - 丸穴式のねじなしキャビネットの場合: ねじを 2 個、ラックから各レールの前側に通して固定します。ラック内のケージナット、またはレール上のクリップナットに取り付けないようにしてください。

    - ねじ有りキャビネットの場合: 位置ピンがラックの穴に合います。

  5. レールの長さを合うように調整します。
    image:ラックに合わせて拡張されたレールを示す図
  6. ねじ 1 個をラックから各レールの後側に通して固定します。
  7. レールに付いている 2 つの固定ねじを締めます。
    image:レール上の 2 つの固定ねじの場所を示す図
  8. リフティング用機械を使用するか、2 人の作業員をディスクシェルフの両側に配置し、シェルフを慎重に持ち上げて、左右のレールの下部にある突起に乗せます。電源装置のハンドルを使用して持ち上げないでください。
    image:シェルフをラックに取り付ける正しい方法を示す図
  9. シェルフをスライドさせてキャビネット内に注意深く押し込みます。シェルフがレール内に完全に固定されたことを確認してください。シェルフを固定し直す場合は、いつでもシェルフを持ち上げるようにして動かします。
  10. 前面のキャップを取り外し、各前面にねじを 2 個取り付けて、キャップを元どおりに取り付けます。
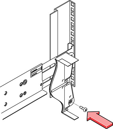
  11. 長い固定用当て部付きのねじをレールごとに 1 つ取り付けて、シェルフの背面をラックの背面に固定します。
    image:レールに取り付けられた長い固定用当て部付きのねじを示す図
  12. 次のセクションで説明するとおりにディスクシェルフに電源装置を接続します。

ディスクシェルフの電源を投入する

ディスクシェルフに電源を投入する前に、電気的な安全を確保するための次の対策が施されていることを確認してください。

  1. 電源コードをファンモジュール付きの各電源装置に差し込みます。
  2. 電源コードのもう一方の端を、キャビネットの外部電源に接続します。

    注 -  冗長性を保つために、電源コードを 2 つの別個かつ独立した電源に接続する必要があります。

    image:左と右のラック電源に接続された 2 本の電源コードを示す図
  3. 外部電源に給電します。
  4. 電源装置のオン/オフスイッチを「I」(オン) の位置に入れます。
  5. 必要に応じて、キャビネットの回路遮断器をオンにします。
  6. ディスクシェルフの電源を投入したら (電源の投入には数分かかることがあります)、ディスクシェルフ前面のシステム電源インジケータ、および背面のファンモジュール付き各電源装置のステータスインジケータが緑に点灯していることを確認します。そうでない場合は、次のセクションで説明するとおりにディスクシェルフの電源装置を切断し、問題のあるモジュールを装着し直します。モジュールを装着し直してもモジュールのステータスインジケータが緑に点灯しない場合は、Oracle 顧客サービスまでお問い合わせください。
    image:ファンモジュール付き電源装置のステータスインジケータの位置を示す図
  7. ストレージコントローラ設置ガイドの記載どおりに、ソフトウェアの設定タスクを実行します。

ディスクシェルフの電源を切断する

大部分のディスクシェルフコンポーネントはホットスワップ対応なので、交換の際に電源を切断する必要はありません。すぐに交換できない場合はコンポーネントを取り外さないでください。ディスクシェルフを稼働するには、すべてのコンポーネントが取り付けられている必要があります。

すべての SAS チェーンの電源を切断してディスクシェルフから取り外すと、データ損失を防ぐためコントローラがパニックを起こします (ただし、シェルフが NSPF (no single point of failure) データプールの一部である場合はその限りではありません)。これを避けるため、シェルフを廃止する前にコントローラをシャットダウンするようにしてください。NSPF プロファイルの詳細は、Oracle ZFS Storage Appliance 管理ガイド のデータプロファイル構成を参照してください。

  1. ディスクシェルフに対するすべての入力、ディスクシェルフからのすべての出力を停止します。
  2. すべてのディスクアクティビティーインジケータが点滅を停止するまで約 2 分間待ちます。
  3. 電源装置のオン/オフスイッチを「O」(オフ) の位置に入れます。
  4. キャビネットの外部電源から電源コードを取り外します。

    注 -  ディスクシェルフへの電力供給を完全に停止するには、すべての電源コードを取り外す必要があります。

関連項目