JavaScript is required to for searching.
跳过导航链接
退出打印视图
Oracle® ZFS Storage Appliance 安装指南,发行版 2013.1.3.0

适用于 ZS4-4、ZS3-x、7x20 控制器和 DE2-24、Sun Disk Shelf

Oracle 技术网
文档库
PDF
打印视图
反馈
search filter icon
search icon

文档信息

简介

安装

安装

概述

预防措施

先决条件

控制器、机柜和磁盘机框安装任务

ZS4-4 控制器

安全信息

准备安装

所需的工具和设备

在控制器上安装滑轨

在机架上安装滑轨

将控制器装入机架滑轨

安装理线装置

ZS3-4 控制器

ZS3-4 控制器安装任务

先决条件

所需的工具和设备

任务

在控制器上安装滑轨

在机架上安装滑轨

将控制器装入机架滑轨

安装理线装置

ZS3-2 控制器

ZS3-2 控制器安装任务

先决条件

所需的工具和设备

安装装配托架和滑轨装置

任务

将控制器安装到机架中

安装理线架

检验滑轨和 CMA 的工作情况

拆卸 CMA

7x20 控制器

7x20 控制器安装任务

先决条件

所需的工具和设备

任务

在控制器机箱上安装装配托架

将控制器机箱装入机架滑轨

安装理线装置

控制器配置摘要

最大控制器配置

DE2-24C

预防措施

先决条件

所需的工具和设备

DE2-24C 任务

将磁盘机框安装到机架滑轨中

打开磁盘机框电源

关闭磁盘机框电源

另请参见

DE2-24P

预防措施

先决条件

所需的工具和设备

DE2-24P 任务

将磁盘机框安装到机架滑轨中

打开磁盘机框电源

关闭磁盘机框电源

另请参见

Sun Disk Shelf

预防措施

先决条件

所需的工具和设备

Sun Disk Shelf 任务

将 Sun Disk Shelf 安装到机架滑轨中

另请参见

布线

打开系统电源并配置系统

将磁盘机框安装到机架滑轨中

  1. Oracle Storage Drive Enclosure DE2-24C 需要在机柜中占用垂直高度为四个标准安装单元 (4RU) 的空间。请从机柜底部开始定位相应的机架单元 (rack unit, RU) 高度。将磁盘机框安装在控制器下方,以防机架倾斜。
  2. 如果使用无螺纹的通用 19 英寸机柜或 Sun Rack II 机柜,请在 4RU 空间内的每个正面滑轨中将提供的一个卡式螺母插入第 8 个机架孔中(从下往上数)。
    image:图中显示了将卡式螺母插入到右机架支柱中的细节
  3. 在滑轨每一端准备好螺丝:

    -方孔无螺纹机柜:无需准备。

    -圆孔无螺纹机柜:卸下滑轨每一端的螺丝并放在一旁。找到适用于圆孔机柜的螺丝并放在一旁。

    -带螺纹机柜:卸下螺丝,并以相反的方向(相对于滑轨外缘内部)重新装上,以便于用作定位销。另外卸下滑轨每一端的夹片螺母并放在一旁。

  4. 将滑轨正面置于机柜内侧,使滑轨外缘位于机柜外缘内侧,而滑轨标签面向机柜内侧。

    -方孔无螺纹机柜:螺丝头与机架孔啮合。

    -圆孔无螺纹机柜:将两颗螺丝穿过机架,安装到每个滑轨的正面。请勿安装到机架中的卡式螺母中,也不要安装到滑轨上的夹片螺母中。

    -带螺纹机柜:定位销与机架孔啮合。

  5. 调整滑轨长度以吻合。
    image:图中显示了延长滑轨以适合机架
  6. 将一颗螺丝穿过机架,安装到每个滑轨的背面。
  7. 拧紧滑轨中的两颗固定螺丝。
    image:图中显示了滑轨上两颗固定螺丝的位置
  8. 使用机械式升降装置或由两个人(磁盘机框的每一侧各一人)小心地向上提起机框,并将该机框安放在左右滑轨的底部边缘。请勿使用电源手柄向上提起机框。
    image:图中显示了将机框安装到机架的正确方式
  9. 小心地将机框滑入机柜。请确保该机框完全固定在滑轨中。如果要卸下机框,以便于重新安放,请始终托住它。
  10. 卸下前侧保护套,分别将两颗螺丝安装到前侧每一端,然后重新装上保护套。
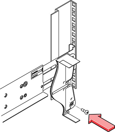
  11. 在每个滑轨上安装一颗长的贴片锁螺丝,从而将机框背面固定到机架背面上。
    image:图中显示了安装到滑轨中的一个长的贴片锁螺丝
  12. 为磁盘机框连接并接通电源,如下一节所述。