JavaScript is required to for searching.
跳过导航链接
退出打印视图
Oracle® ZFS Storage Appliance 安装指南,发行版 2013.1.3.0

适用于 ZS4-4、ZS3-x、7x20 控制器和 DE2-24、Sun Disk Shelf

Oracle 技术网
文档库
PDF
打印视图
反馈
search filter icon
search icon

文档信息

简介

安装

安装

概述

预防措施

先决条件

控制器、机柜和磁盘机框安装任务

ZS4-4 控制器

安全信息

准备安装

所需的工具和设备

在控制器上安装滑轨

在机架上安装滑轨

将控制器装入机架滑轨

安装理线装置

ZS3-4 控制器

ZS3-4 控制器安装任务

先决条件

所需的工具和设备

任务

在控制器上安装滑轨

在机架上安装滑轨

将控制器装入机架滑轨

安装理线装置

ZS3-2 控制器

ZS3-2 控制器安装任务

先决条件

所需的工具和设备

安装装配托架和滑轨装置

任务

将控制器安装到机架中

安装理线架

检验滑轨和 CMA 的工作情况

拆卸 CMA

7x20 控制器

7x20 控制器安装任务

先决条件

所需的工具和设备

任务

在控制器机箱上安装装配托架

将控制器机箱装入机架滑轨

安装理线装置

控制器配置摘要

最大控制器配置

DE2-24C

预防措施

先决条件

所需的工具和设备

DE2-24C 任务

将磁盘机框安装到机架滑轨中

打开磁盘机框电源

关闭磁盘机框电源

另请参见

DE2-24P

预防措施

先决条件

所需的工具和设备

DE2-24P 任务

将磁盘机框安装到机架滑轨中

打开磁盘机框电源

关闭磁盘机框电源

另请参见

Sun Disk Shelf

预防措施

先决条件

所需的工具和设备

Sun Disk Shelf 任务

将 Sun Disk Shelf 安装到机架滑轨中

另请参见

布线

打开系统电源并配置系统

将磁盘机框安装到机架滑轨中

  1. Oracle Storage Drive Enclosure DE2-24P 需要在机柜中占用垂直高度为两个标准安装单元 (2RU) 的空间。请从机柜底部开始定位相应的机架单元 (rack unit, RU) 高度,即六个机架孔。将磁盘机框安装在控制器下方,以防机架倾斜。
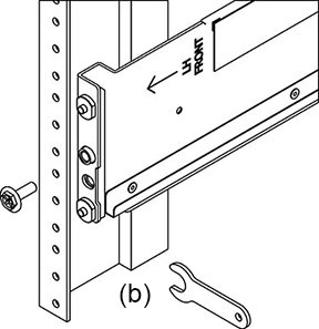
  2. 如果机架是无螺纹的通用 19 英寸机柜或 Sun Rack II 机柜:a) 将前滑轨定位挂钩完全置于机架正面相应的孔中。滑轨外缘必须位于机柜外缘的内侧,而滑轨标签必须面向机柜的内侧。b) 将一颗螺丝穿过机架正面,并插入滑轨上方的孔中,然后拧紧该螺丝。c) 将滑轨调整到合适的长度,然后将后滑轨定位挂钩置于相应的后机架孔中。d) 将一颗螺丝穿过机架背面,并插入滑轨背面,然后拧紧该螺丝。
    image:图中显示了延长以适合机架的机架滑轨以及正面和背面螺丝位置
  3. 如果机架是带螺纹的通用 19 英寸机柜:a) 使用 T20 Torx 起子将滑轨定位挂钩从滑轨正面和背面卸下。b) 使用提供的扳手将两个定位销分别插入滑轨的每一端,位置与卸下定位挂钩的位置相同。c) 将滑轨正面置于机柜内侧,使滑轨外缘位于机柜外缘内侧,而滑轨标签面向机柜内侧。这些定位销应完全置于机架孔中。d) 将一颗螺丝穿过机架正面,并插入滑轨上方的孔中,然后拧紧该螺丝。e) 将滑轨调整到合适的长度,然后将后定位销置于相应的后机架孔中。f) 将一颗螺丝穿过机架背面,并插入滑轨背面,然后拧紧该螺丝。
    image:图中显示了插入到滑轨正面的定位销的细节
  4. 使用机械式升降装置或由两个人(磁盘机框的每一侧各一人)小心地向上提起机框,并将该机框安放在左右滑轨的底部边缘。请勿使用带有风扇模块的电源手柄向上提起机框。
    image:图中显示了将磁盘机框安装到机架的正确方式
  5. 小心地将机框滑入滑轨,直至该机框完全固定在机柜中。观察员应使用手电筒,确保该机框完全固定在滑轨中。如果要卸下机框,以便于重新安放,请始终托住它。
  6. 在每个滑轨上安装一颗长的贴片锁螺丝,从而将机框背面固定到机架背面上。如果螺丝无法插入,机框可能未完全固定在滑轨中。
    image:图中显示了插入到滑轨的一个贴片锁螺丝
  7. 卸下前侧保护套,分别将一颗螺丝安装到前侧每一端,然后重新装上保护套。
  8. 为磁盘机框连接并接通电源,如下一节所述。