4 Installing Oracle Database Appliance Into a Rack

Complete the following procedures to install the Oracle Database Appliance into a rack.

Task Overview

Tasks to perform when installing various models of Oracle Database Appliance into a rack.

Follow the appropriate procedures to rack mount your system.

Note:

These procedures describe how to install the appliance into a rack. For cabling instructions, refer to the appropriate Deployment and User's Guide for the Oracle Database Appliance X7 and X6 series or the Getting Started Guide for the Oracle Database Appliance X3-2/X4-2/X5-2 or Version 1.

Oracle Database Appliance Version 1 Oracle Database Appliance X3-2/X4-2 Oracle Database Appliance X5-2, X6-2-HA and X7-2-HA Oracle Database Appliance X6-2S/X6-2M/X6-2L and X7-2S/X7-2M

Optional Component Installation

Learn about the optional components supported for the various Oracle Database Appliance models.

Standard system components are installed at the factory. Optional components that you purchased independent of the standard configuration are shipped separately, and in most cases should be installed before you install the server in a rack.

The following optional components can be ordered separately:

  • DIMM memory kits:

    • For Oracle Database Appliance X7-2S, you have the option of ordering memory expansion to 384 GB. Memory kits come in sets of 6 x 32 GB DIMMs.

    • For Oracle Database Appliance X7-2M, you have the option of ordering memory expansion to 768 GB. Memory kits come in sets of 6 x 32 GB DIMMs, which means you need two kits (one for each processor).

    • For Oracle Database Appliance X7-2-HA, you have the option of ordering memory expansion to 768 GB. Memory kits come in sets of 6 x 32 GB DIMMs, which means you need four kits (two for each server node) for 768 GB. Both server nodes must have the same amount of memory. Thus, the total memory for the appliance becomes 1536 GB.

    • For Oracle Database Appliance X6-2S, you have the option of ordering memory expansion to 384 GB. Memory kits come in sets of 8 x 32 GB DIMMs.

    • For Oracle Database Appliance X6-2M/X6-2L, you have the option of ordering memory expansion to 512 GB or 768 GB. Memory kits come in sets of 8 x 32 GB DIMMs.

    • For Oracle Database Appliance X5-2 and Oracle Database Appliance X6-2-HA, you have the option of ordering memory expansion to 512 GB or 768 GB. Memory kits come in sets of 8 x 32 GB DIMMs, which means you need two kits (one for each server node) for 512 GB, and four kits (two for each server node) for 768 GB. Both server nodes must have the same amount of memory. Thus, the total memory for the appliance is either 1024 GB or 1536 GB, depending on the expanded configuration.

    Refer to the Service Manual for instructions on installing memory.

  • Storage drives:

    • For Oracle Database Appliance X7-2M with the default configuration of two NVMe drives, you have the option of ordering three or six additional 2.5-inch 6.4 TB NVMe SSDs for front drive slots 2-7. Drives are available in three-packs.

    • For Oracle Database Appliance X7-2-HA, you have the following options:

      • If your base configuration includes a partially populated storage shelf (filler panels in slots 5-19), you can upgrade it as follows:

        • For a high capacity shelf, you can add fifteen 10 TB HDDs (available in a fifteen-pack).

          Note:

          Adding 10 TB HDDs to the base storage shelf (with five 3.2 TB SSDs and four 800 GB SSDs) requires that you move the factory installed 3.2 TB SSDs from shelf storage slots 0-4 to slots 15-19. Doing this will require that you redeploy the appliance and restore the database from a backup.

          --or--

        • For a high performance shelf, you can add up to fifteen 3.2 TB SSDs (available in five-packs).

      • An additional storage shelf can be added to the appliance as follows:

        • If your base storage shelf configuration is twenty 3.2 TB SSDs and four 800 GB SSDs, you can purchase an additional storage shelf with the identical configuration (same drives in same slots).

          --or--

        • If your base storage shelf configuration is five 3.2 TB SSDs, fifteen 10 TB HDDs and four 800 GB SSDs, you can purchase an additional storage shelf with the identical configuration (same drives in same slots).

          --or--

        • If your base storage shelf configuration is five 3.2 TB SSDs and four 800 GB SSDs (with slots 5-19 empty), you can add an additional storage shelf only after you have upgraded the storage in your existing shelf to match one of the fully populated base configurations listed above.

        Note:

        You cannot add a storage shelf (which comes fully populated) unless your existing storage shelf is fully populated and the storage shelf you purchase is configured identically (same drives in same slots) to your existing storage shelf.

    • For Oracle Database Appliance X6-2S/X6-2M with the default configuration of two NVMe drives, you have the option of ordering two additional 2.5-inch 3.2 TB NVMe SSDs for front drive slots NVMe 2-3. Drives must be installed in pairs.

    • For Oracle Database Appliance X6-2L with the default configuration of six NVMe drives, you have the option of ordering three additional 2.5-inch 3.2 TB NVMe SSDs for front drive slots NVMe2, NVMe5 and NVMe8. Drives must be installed as a set of three. Drive slots NVMe9, NVMe10 and NVMe11 are not supported for use with this product.

    • For Oracle Database Appliance X6-2-HA, you have the following options:

      • If your base configuration is a half-populated storage shelf (filler panels in slots 10-19), you can upgrade it to a fully populated storage shelf by adding ten 1.6 TB SAS SSDs to fill the empty drive slots (10-19). Drives must be installed as a set of ten.

      • An additional storage shelf can be added if the existing storage shelf is fully populated.

      Note:

      You cannot add a storage expansion shelf (which comes fully populated) unless your existing storage shelf is fully populated.

    • For Oracle Database Appliance X3-2/X4-2/X5-2 that have a single fully populated storage shelf, you can add one optional storage expansion shelf.

    Refer to the Service Manual for instructions on installing storage drives.

  • Other optional configurations:

    For Oracle Database Appliance X5-2, you have the option of ordering two Sun Dual 10GbE SFP+ PCIe 2.0 Low Profile Adapters to replace the two standard InfiniBand adapters (one in each server node) to support an Ethernet fiber connection to the data center or public network (it cannot be used for the appliance private node-to-node connection).

    To replace the standard InfiniBand adapter, refer to the Service Manual for instructions on replacing a PCIe card in Slot 1. After the card is replaced, refer to the Getting Started Guide for instructions on cabling and software configuration.

Safety Precautions When Rackmounting

Learn about safety precautions during rack installation for Oracle Database Appliance.

This section describes safety precautions you must follow when installing the server into a rack.

Caution:

Personal injury or equipment damage. Prevent the rack from tipping over. 1) Deploy the anti-tilt bar or legs on the equipment rack before beginning an installation. 2) Always load equipment into a rack from the bottom up so that the rack will not become top-heavy and tip over. 3) Mount equipment in the rack such that it does not create uneven or dangerous mechanical loading. 4) Do not use slide-rail mounted equipment as a shelf or workspace.

Caution:

Equipment damage caused by elevated temperature. 1) If you install the equipment in a closed or multi-unit rack assembly, ensure that the operating ambient temperature inside the rack does not exceed the maximum ambient temperature specified for the server. For server environmental requirements, see Environmental Specifications. 2) Install the equipment in the rack such that airflow is not restricted or impeded.

Caution:

Supply circuit damage and data loss. The AC circuits used to supply power to the system must be rated for the maximum amount of power that the system requires. See Electrical Specifications for input power requirements.

Caution:

Equipment damage. Maintain reliable earthing. Pay particular attention to supply connections other than direct connections to the branch circuit (for example, use of power strips).

Caution:

Equipment damage. The shipping brackets used to secure the rack cabinet to the shipping pallet are not for use in the data center for bracing or anchoring the rack cabinet during seismic events.

ESD Precautions

Learn about electrostatic discharge precautions during rack installation for Oracle Database Appliance.

Caution:

Equipment damage. To prevent damage from electrostatic discharge, use the following precautions when installing or servicing components.

  • Place components on an antistatic surface, such as an antistatic discharge mat, an antistatic bag, or a disposable antistatic mat.

  • Wear an antistatic grounding strap connected to a metal surface on the chassis when you work on system components.

Rack Compatibility Requirements

Learn about the basic racking requirements for installing Oracle Database Appliance.

The rack-mounting hardware can be used only in specialized racks that meet the requirements in the following tables.

For Oracle Database Appliance X7-2 series:

Feature Oracle Database Appliance X7-2S/X7-2M Oracle Database Appliance X7-2-HA

Rack structure

Four-post rack (mounting at both front and rear). Two-post racks are not compatible.

Four-post rack (mounting at both front and rear). Two-post racks are not compatible.

Space available

Must have 1RU (rack units) of space available.

6RU without optional storage expansion shelf.

10RU with optional storage expansion shelf.

Rack horizontal opening and unit vertical pitch

Conforms to ANSI/EIA 310-D-1992 or IEC 60927 standards.

Conforms to ANSI/EIA 310-D-1992 or IEC 60927 standards.

Distance between front and rear mounting planes

Minimum 610 mm and maximum 915 mm (24 in to 36 in).

Minimum 610 mm and maximum 915 mm (24 in to 36 in).

Clearance depth in front of front mounting plane

Distance to front cabinet door is at least 25.4 mm (1 in).

Distance to front cabinet door is at least 25.4 mm (1 in).

Clearance depth behind front mounting plane

Distance to rear cabinet door is at least 900 mm (35.43 in) with the cable management arm, or 800 mm (31.5 in) without the cable management arm.

Distance to rear cabinet door is at least 900 mm (35.43 in) with the cable management arm, or 800 mm (31.5 in) without the cable management arm.

Clearance width between front and rear mounting planes

Distance between structural supports and cable troughs is at least 456 mm (18 in).

Distance between structural supports and cable troughs is at least 456 mm (18 in).

Minimum clearance for service access

Front clearance: 123.2 cm (48.5 in)

Rear clearance: 91 cm (36 in)

Front clearance: 123.2 cm (48.5 in)

Rear clearance: 91 cm (36 in)

Server node dimensions

Physical Specifications for Oracle Database Appliance X7-2 Series

Physical Specifications for Oracle Database Appliance X7-2 Series

Storage shelf dimensions

N/A

Physical Specifications for Oracle Database Appliance X7-2 Series

For Oracle Database Appliance X6-2 series:

Feature Oracle Database Appliance X6-2S/X6-2M Oracle Database Appliance X6-2L Oracle Database Appliance X6-2-HA

Rack structure

Four-post rack (mounting at both front and rear). Two-post racks are not compatible.

Four-post rack (mounting at both front and rear). Two-post racks are not compatible.

Four-post rack (mounting at both front and rear). Two-post racks are not compatible.

Space available

Must have 1RU (rack units) of space available.

Must have 2RU of space available.

6RU without optional storage expansion shelf.

10RU with optional storage expansion shelf.

Rack horizontal opening and unit vertical pitch

Conforms to ANSI/EIA 310-D-1992 or IEC 60927 standards.

Conforms to ANSI/EIA 310-D-1992 or IEC 60927 standards.

Conforms to ANSI/EIA 310-D-1992 or IEC 60927 standards.

Distance between front and rear mounting planes

Minimum 610 mm and maximum 915 mm (24 in to 36 in).

Minimum 610 mm and maximum 915 mm (24 in to 36 in).

Minimum 610 mm and maximum 915 mm (24 in to 36 in).

Clearance depth in front of front mounting plane

Distance to front cabinet door is at least 25.4 mm (1 in).

Distance to front cabinet door is at least 25.4 mm (1 in).

Distance to front cabinet door is at least 25.4 mm (1 in).

Clearance depth behind front mounting plane

Distance to rear cabinet door is at least 900 mm (35.43 in) with the cable management arm, or 800 mm (31.5 in) without the cable management arm.

Distance to rear cabinet door is at least 900 mm (35.43 in) with the cable management arm, or 800 mm (31.5 in) without the cable management arm.

Distance to rear cabinet door is at least 900 mm (35.43 in) with the cable management arm, or 800 mm (31.5 in) without the cable management arm.

Clearance width between front and rear mounting planes

Distance between structural supports and cable troughs is at least 456 mm (18 in).

Distance between structural supports and cable troughs is at least 456 mm (18 in).

Distance between structural supports and cable troughs is at least 456 mm (18 in).

Minimum clearance for service access

Front clearance: 123.2 cm (48.5 in)

Rear clearance: 91 cm (36 in)

Front clearance: 123.2 cm (48.5 in)

Rear clearance: 91 cm (36 in)

Front clearance: 123.2 cm (48.5 in)

Rear clearance: 91 cm (36 in)

Server node dimensions

Physical Specifications for Oracle Database Appliance X6-2 Series

Physical Specifications for Oracle Database Appliance X6-2 Series

Physical Specifications for Oracle Database Appliance X6-2 Series

Storage shelf dimensions

N/A

N/A

Physical Specifications for Oracle Database Appliance X6-2 Series

For Oracle Database Appliance Version 1 and Oracle Database Appliance X3-2/X4-2/X5-2:

Feature Oracle Database Appliance Version 1 Oracle Database Appliance X3-2/X4-2 Oracle Database Appliance X5-2

Rack structure

Four-post rack (mounting at both front and rear). Two-post racks are not compatible.

Four-post rack (mounting at both front and rear). Two-post racks are not compatible.

Four-post rack (mounting at both front and rear). Two-post racks are not compatible.

Space available

Must have 4RU (rack units) of space available.

4RU without optional storage expansion shelf.

6RU with optional storage expansion shelf.

6RU without optional storage expansion shelf.

10RU with optional storage expansion shelf.

Rack horizontal opening and unit vertical pitch

Conforms to ANSI/EIA 310-D-1992 or IEC 60927 standards.

Conforms to ANSI/EIA 310-D-1992 or IEC 60927 standards.

Conforms to ANSI/EIA 310-D-1992 or IEC 60927 standards.

Distance between front and rear mounting planes

Minimum 660.4 mm and maximum 876.3 mm (26 in to 34.5 in).

Minimum 610 mm and maximum 915 mm (24 in to 36 in).

Minimum 610 mm and maximum 915 mm (24 in to 36 in).

Clearance depth in front of front mounting plane

Distance to front cabinet door is at least 25.4 mm (1 in).

Distance to front cabinet door is at least 25.4 mm (1 in).

Distance to front cabinet door is at least 25.4 mm (1 in).

Clearance depth behind front mounting plane

Distance to rear cabinet door is at least 700 mm (27.5 in).

Distance to rear cabinet door is at least 900 mm (35.43 in) with the cable management arm, or 800 mm (31.5 in) without the cable management arm.

Distance to rear cabinet door is at least 900 mm (35.43 in) with the cable management arm, or 800 mm (31.5 in) without the cable management arm.

Clearance width between front and rear mounting planes

Distance between structural supports and cable troughs is at least 456 mm (18 in).

Distance between structural supports and cable troughs is at least 456 mm (18 in).

Distance between structural supports and cable troughs is at least 456 mm (18 in).

Minimum clearance for service access

Front clearance: 123.2 cm (48.5 in)

Rear clearance: 91 cm (36 in)

Front clearance: 123.2 cm (48.5 in)

Rear clearance: 91 cm (36 in)

Front clearance: 123.2 cm (48.5 in)

Rear clearance: 91 cm (36 in)

Server node dimensions

Physical Specifications for Oracle Database Appliance Version 1 and Models X3-2, X4-2 and X5-2

Physical Specifications for Oracle Database Appliance Version 1 and Models X3-2, X4-2 and X5-2

Physical Specifications for Oracle Database Appliance Version 1 and Models X3-2, X4-2 and X5-2

Storage shelf dimensions

N/A

Physical Specifications for Oracle Database Appliance Version 1 and Models X3-2, X4-2 and X5-2

Physical Specifications for Oracle Database Appliance Version 1 and Models X3-2, X4-2 and X5-2

Installing the System Into a Rack

Procedures describing how to install the various Oracle Database Appliance models into a rack.

Caution:

Personal injury or equipment damage. Always load equipment into a rack from the bottom up so that it will not become top-heavy and tip over. Deploy your rack's anti-tilt bar to prevent the rack from tilting during equipment installation.

Installing Oracle Database Appliance X6-2S/X6-2M/X6-2L and X7-2S/X7-2M Into a Rack

Procedures describing how to install Oracle Database Appliance X6-2S/X6-2M/X6-2L and X7-2S/X7-2M into a rack.

This section describes how to install Oracle Database Appliance X6-2S/X6-2M/X6-2L and X7-2S/X7-2M server into a rack. If you are installing an Oracle Database Appliance X3-2/X4-2/X5-2 or Oracle Database Appliance X6-2-HA/X7-2-HA, see Installing Oracle Database Appliance X3-2/X4-2/X5-2 and X6-2-HA/X7-2-HA Into a Rack. If you are installing Oracle Database Appliance Version 1, see Installing Oracle Database Appliance Version 1 Into a Rack.

Contents of the Shipping Containers

A listing of the ship container contents for the Oracle Database Appliance X6-2S/X6-2M/X6-2L and X7-2S/X7-2M.

Inspect the shipping cartons of your Oracle Database Appliance X6-2S/X6-2M/X6-2L or X7-2S/X7-2M system for evidence of physical damage. If a shipping carton appears damaged, request that the carrier's agent be present when the carton is opened. Keep all contents and packing material for the agent's inspection.

The ship kit for the server includes the following items:

  • Power cords, packaged separately with country kit

  • Rail kit containing rack rails, hardware, template and installation instructions

  • Miscellaneous hardware, cables, and connectors

  • Setup booklet

  • Legal and safety documents

Tools and Equipment Needed

A listing of the tools you will need to install Oracle Database Appliance X6-2S/X6-2M/X6-2L and X7-2S/X7-2M.

Obtain the following tools and equipment before beginning the installation of Oracle Database Appliance X6-2S/X6-2M/X6-2L and X7-2S/X7-2M.

  • Phillips head No. 2 screwdriver that is a minimum of 4 inches long

  • T20 Torx driver if using a threaded rack

  • A mechanical lift is highly recommended

Stabilize the Rack for Installation

Use this procedure to stabilize the rack before installing the Oracle Database Appliance.

Caution:

Personal injury or equipment damage. To reduce the risk of personal injury, stabilize the rack cabinet, and extend all anti-tilt devices before installing the server.

Refer to your rack cabinet documentation for more detailed instructions.

  1. When unpacking at the installation site, verify that the rack cabinet leveling feet are up before moving the rack cabinet.
  2. Remove the front and rear doors of the rack cabinet if they interfere with the installation.
  3. To prevent the rack cabinet from tipping during the installation, fully extend the rack cabinet's anti-tilt legs or anti-tilt bar, which are located at the bottom front of the rack cabinet.
  4. If there are leveling feet beneath the rack cabinet to prevent it from rolling, extend these leveling feet fully downward to the floor once the rack cabinet is where it will reside in the data center.
  5. When moving a rack cabinet to a different location, including repacking, verify that rack cabinet leveling feet are up before moving the rack cabinet.

Installing the Server Into a Rack

Tasks to complete to install an Oracle Database Appliance X6-2S/X6-2M/X6-2L and X7-2S/X7-2M into a rack.

Install the Oracle Database Appliance X7-2S/X7-2M server into the rack:

Note:

The links in the following table take you to instructions outside of the Oracle Database Appliance library to the Oracle Server X7-2 documentation library. Use your browser's Back button to return to the Oracle Database Appliance library.

Install the Oracle Database Appliance X6-2S/X6-2M/X6-2L server into the rack:

Note:

The links in the following table take you to instructions outside of the Oracle Database Appliance library to the Oracle Server X6-2 or Oracle Server X6-2L documentation libraries. Use your browser's Back button to return to the Oracle Database Appliance library.

Installing Oracle Database Appliance X3-2/X4-2/X5-2 and X6-2-HA/X7-2-HA Into a Rack

Procedures describing how to install Oracle Database Appliance X3-2/X4-2/X5-2 and X6-2-HA/X7-2-HA into a rack.

This section describes how to install the server nodes and storage shelves of Oracle Database Appliance X3-2/X4-2/X5-2 or Oracle Database Appliance X6-2-HA/X7-2-HA into a rack. If you are installing an Oracle Database Appliance X6-2S/X6-2M/X6-2L or X7-2S/X7-2M, see Installing Oracle Database Appliance X6-2S/X6-2M/X6-2L and X7-2S/X7-2M Into a Rack. If you are installing Oracle Database Appliance Version 1, see Installing Oracle Database Appliance Version 1 Into a Rack.

Caution:

System Failure. Oracle Database Appliance is shipped with matched sets of components that must be installed together. Mixing components from different systems might cause the system to fail.

Contents of the Shipping Container

A listing of the ship container contents for the Oracle Database Appliance X3-2/X4-2/X5-and X6-2-HA/X7-2-HA.

Oracle Database Appliance X3-2/X4-2/X5-2 and Oracle Database Appliance X6-2-HA/X7-2-HA are shipped with the entire system on a single pallet. It includes all server nodes, storage shelves, mounting hardware, cables, and labels.

Caution:

System failure. All items in a shipment are designed to be used together as a single system. Do not mix components from different shipments; this could cause the system to fail. For details, see Verify Component Compatibility.

The items in this shipment include:

  • Server node 0 and server node 1

  • Rackmounting hardware, cables, and labels for server nodes 0 and 1

  • One storage shelf

  • Rackmounting hardware for the storage shelf

If you ordered a storage expansion shelf, it is shipped separately.

Installation Sequence

Understand the proper installation sequence when installing the Oracle Database Appliance X3-2/X4-2/X5-2 and X6-2-HA/X7-2-HA into a rack.

Always install equipment in a rack starting at the bottom and working upwards. For Oracle Database Appliance X3-2/X4-2/X5-2 and Oracle Database Appliance X6-2-HA/X7-2-HA, install the equipment in the following order:

  1. Storage expansion shelf, if equipped.

  2. Storage shelf.

  3. Server node 0.

  4. Server node 1.

Verify Component Compatibility

Ensure that appliance components bundled together from the factory connected together.

For Oracle Database Appliance X3-2/X4-2/X5-2 and Oracle Database Appliance X6-2-HA/X7-2-HA, all appliance components that are bundled at the factory have a Top Level Identifier (TLI) number that is matched for the system. Both server nodes, the storage shelf, and the (optional) storage expansion shelf (if included in the initial appliance configuration from the factory), must have the same TLI.

Note:

If you add a storage expansion shelf to the system after the initial installation (that is, the storage expansion shelf was not part of the initial configuration order for the appliance), its TLI will be different from the rest of the system. In this scenario, an add-on component having a different TLI from the main appliance TLI is appropriate.

  1. Locate the TLI for both server nodes, the storage shelf, and (if present) the storage expansion shelf.

    The TLI label is on top of the component, on the left-hand side, near the front. The following figure shows an example of a TLI label:

  2. Check to ensure that all components have the same TLI numbers (a TLI part number and TLI serial number).

Tools and Equipment Needed

A listing of the tools you will need to install Oracle Database Appliance X3-2/X4-2/X5-2 and X6-2-HA/X7-2-HA.

Obtain the following tools and equipment before beginning the installation of Oracle Database Appliance X3-2/X4-2/X5-2 and X6-2-HA/X7-2-HA.

  • Phillips head No. 2 screwdriver that is a minimum of 4 inches long

  • T20 Torx driver if using a threaded rack

  • A mechanical lift is highly recommended

    Caution:

    Personal injury or equipment damage. The storage shelf weighs approximately 51 lbs (23 kg). If no mechanical lift is available, use three people to place it in the rack.

Stabilize the Rack for Installation

Use this procedure to stabilize the rack before installing the appliance.

Caution:

Personal injury or equipment damage. To reduce the risk of personal injury, stabilize the rack cabinet, and extend all anti-tilt devices before installing the server.

Refer to your rack cabinet documentation for more detailed instructions.

  1. When unpacking at the installation site, verify that the rack cabinet leveling feet are up before moving the rack cabinet.
  2. Remove the front and rear doors of the rack cabinet if they interfere with the installation.
  3. To prevent the rack cabinet from tipping during the installation, fully extend the rack cabinet's anti-tilt legs or anti-tilt bar, which are located at the bottom front of the rack cabinet.
  4. If there are leveling feet beneath the rack cabinet to prevent it from rolling, extend these leveling feet fully downward to the floor once the rack cabinet is where it will reside in the data center.
  5. When moving a rack cabinet to a different location, including repacking, verify that rack cabinet leveling feet are up before moving the rack cabinet.

Applying Labels

Apply labels to identify appliance components.

Oracle Database Appliance X3-2/X4-2/X5-2 and Oracle Database Appliance X6-2-HA/X7-2-HA are shipped with a label kit that provides four labels, to be applied to the front of each server node and storage shelf.

To Apply Labels to Server Nodes and Storage Shelves

Complete this task to apply storage shelve labels before installing the appliance into a rack.

  1. Find the labels.

    Depending on your model, the shipping kit might include server node labels and a sheet with storage shelf labels.

    • Oracle Database Appliance X5-2 and Oracle Database Appliance X6-2-HA/X7-2-HA systems only include server node labels to attach. The storage shelf labels are attached at the factory.

    • Oracle Database Appliance X3-2 and Oracle Database Appliance X4-2 systems include both server node and storage shelf labels that you need to attach.

  2. Verify that the locations where the labels need to go are clean, and free of grease and dirt.
  3. Apply the labels where needed:

    For labels that you attach, peel off the backing sheet and apply the label to the corresponding spot on the right-hand side of the appliance front panel.

    • Server Node 1: Apply this label to the top server node [1].

    • Server Node 0: Apply this label to the lower server node [2].

    • Storage shelf: Apply this label to the storage shelf directly beneath server node 0 [3].

    • Storage expansion shelf (optional): Apply this label to the bottom storage shelf, if one is present [4].

    The following figure shows the locations where labels should be applied:

    Callout Description

    A

    Oracle Database Appliance X3-2 and Oracle Database Appliance X4-2

    B

    Oracle Database Appliance X5-2 and Oracle Database Appliance X6-2-HA/X7-2-HA

    1

    Server node 1

    2

    Server node 0

    3

    Storage shelf

    4

    Optional storage expansion shelf

Installing the Storage Shelves Into a Rack

Use this procedure to install Oracle Database Appliance storage shelves into a rack.

This section includes instructions for installing the storage shelf into a rack.

Oracle Database Appliance X3-2/X4-2/X5-2 and Oracle Database Appliance X6-2-HA/X7-2-HA require one storage shelf and might include a second storage shelf, called the storage expansion shelf. Both are installed in the same way. If a storage expansion shelf came with your appliance, install it first. Otherwise, you can add a storage expansion shelf later.

Install the Oracle Database Appliance X6-2-HA/X7-2-HA DE3-24C Storage Shelf Into a Rack

Use this procedure to install an appliance DE3-24C storage shelf into a rack.

The Oracle Storage Drive Enclosure DE3-24C requires four standard mounting units (4RU) of vertical space in the cabinet.

  1. Starting at the bottom of the cabinet, locate the appropriate rack unit (RU) height.

    Storage shelves must be installed below the server nodes to prevent the rack from tipping.

  2. Open the storage shelf rail kit box and find the cage nut packets included with the kit, and confirm if your rack uses square or round holes.

    The cage nut packets include a special template for either round or square hole racks for positioning the cage nuts.

    Note:

    The following steps show rail kit installation with a square hole rack. The same steps would apply for a round hole rack.

    The following figure shows the rack rail installation kit contents:

    Callout Description

    1

    Two adjustable storage shelf rails

    2

    Cage nut installation template

    3

    Six rear 10-32 7mm shipping screws (2 are spares)

    4

    Four round 7mm 10-32 cage nuts per set (2 are spares). Only one set is required, either square or round.

    5

    Cage nut tool

    6

    Four square 9.5mm 10-32 cage nuts per set (2 are spares). Only one set is required, either square or round.

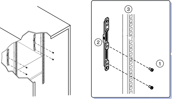
  3. Attach the storage shelf rails to the rack, as follows:
    1. Orient the rail so that the stamped label (LEFT or RIGHT) is facing the inside of the rack.
    2. Adjust the rail length to fit the front and rear of the rack.

      Note:

      Mark which rack rail holes you will be using to ensure the storage shelf rails are installed evenly and correctly the first time.

    3. Hold open the rail clamp at each end of the rail by pressing the clamp lever [1] and insert both ends of the rail into the appropriate rack holes [2].

      The following figure shows how to fit the storage shelf rails to the rack:

    4. Close the rail clamps over the rails by releasing the clamp lever.

      You will hear an audible click as the clamps lock in place over the rack rails.

    5. Repeat steps 3a through 3d for the second rail.
  4. Install one screw through the rack and into the rear of each rail.

    The following figure shows how to secure the storage shelf rails to the rack:

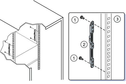
  5. Install the front cage nuts.

    Caution:

    Installing the storage shelf without the front cage nuts will cause the storage shelf to be unstable. You would then need to remove the storage shelf from the rack to install the cage nuts.

    The following figure shows how to install the front cage nuts in the rack:

    Callout Description

    1

    Cage nuts

    2

    Cage nut installation template

    3

    Cage nut tool

    1. Use the template [2] to determine cage nut placement.
    2. Retrieve a cage nut and hook one lip of the nut into the appropriate rail hole [1].
    3. Insert the tip of the cage nut insertion tool through the rail hole [3] and hook the other lip of the cage nut. Pull the cage nut through the hole until the lip snaps into place.
    4. Repeat through steps 5a through 5c for the second cage nut.
  6. Using a mechanical lift or three people, one at each side of the storage shelf and one in front, carefully lift and rest the shelf on the bottom ledge of the left and right rails. Do not lift using the power supply handles.

    The following figure shows how to install the storage shelf into the rack:

  7. Carefully slide the shelf into the cabinet. Ensure that the shelf is fully seated within the rails. If removing the shelf to reseat it, support it at all times.
  8. Secure the front of the shelf using the four captive securing screws [1 - 4].

    The following figure shows how to secure the front of the storage shelf:

  9. To secure the storage shelf in the rack for shipping, install a screw in each rear storage shelf chassis ear.

    The following figure shows how to secure the storage shelf rear shipping ears:

  10. Repeat these steps if you have an additional storage shelf to install.
Install the Oracle Database Appliance X5-2 DE2-24C Storage Shelf Into a Rack

Use this procedure to install an appliance DE2-24C storage shelf into a rack.

The Oracle Storage Drive Enclosure DE2-24C requires four standard mounting units (4RU) of vertical space in the cabinet. Instructions listed here apply for both threaded and unthreaded racks.

  1. Starting at the bottom of the cabinet, locate the appropriate rack unit (RU) height.

    Storage shelves must be installed below the server nodes to prevent the rack from tipping.

  2. If using an unthreaded universal 19-inch or Sun Rack II cabinet, snap one supplied cage nut into the 8th rack hole, counting upward, in each front rail of the 4RU space.

    The following figure shows how to install the cage nuts:

  3. Prepare the screws in each rail end:
    • Square-hole unthreaded cabinet: No preparation.

    • Round-hole unthreaded cabinet: Remove the screws from each rail end and discard. Locate the screws for round-hole cabinets and place aside.

    • Threaded cabinet: Remove screws and replace them in the opposite direction (from the inside of the rail flange) so they act as location pins. Also remove the clip nut from each front rail end and discard.

  4. Position the front of the rails inside the cabinet, with the rail flange inside of the cabinet flange, and the rail label facing the inside of the cabinet.
    • Square-hole unthreaded cabinet: The screw heads fit inside the rack holes.

    • Round-hole unthreaded cabinet: Install two screws through the rack and into the front of each rail. Do not install into the cage nut in the rack, or the clip nut on the rail.

    • Threaded cabinet: The location pins fit inside the rack holes.

  5. Adjust the rail lengths to fit.

    The following figure shows how to adjust the storage shelf rails:

  6. Install one screw through the rack and into the rear of each rail.
  7. Tighten the two locking screws in the rails.

    The following figure shows how to lock the storage shelf rails:

  8. Using a mechanical lift or three people, one at each side of the storage shelf and one in front, carefully lift and rest the shelf on the bottom ledge of the left and right rails. Do not lift using the power supply handles.

    The following figure shows how to install the storage shelf into the rack:

  9. Carefully slide the shelf into the cabinet. Ensure that the shelf is fully seated within the rails. If removing the shelf to reseat it, support it at all times.
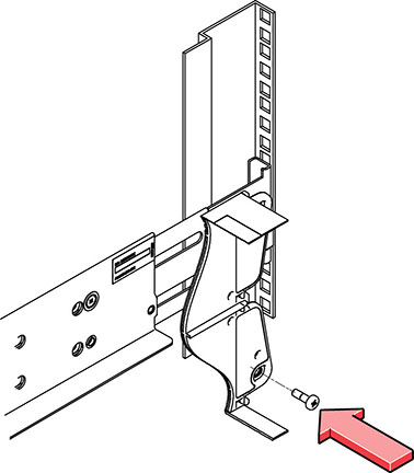
  10. Remove the front side caps, install two screws into each front side, and replace the caps.
  11. Install one long patchlock screw per rail to secure the rear of the shelf to the rear of the rack.

    The following figure shows how to secure the rear of the storage shelf:

  12. Repeat these steps if you have an additional storage shelf to install.
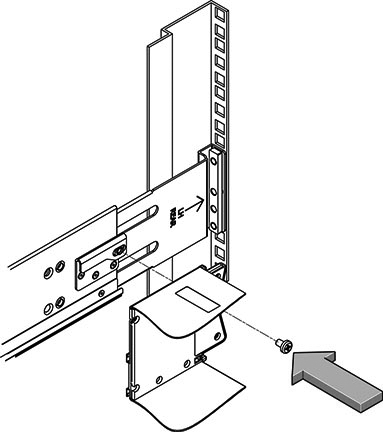
Install the Oracle Database Appliance X3-2/X4-2 DE2-24P Storage Shelf Into a Rack

Use this procedure to install an appliance DE2-24P storage shelf into a rack.

The Oracle Storage Drive Enclosure DE2-24P requires two standard mounting units (2RU) of vertical space in the cabinet. The storage shelf rack-mount kit contains two rack rails, long and short M6 screws, and a 10mm wrench. Instructions listed here apply for both threaded and unthreaded racks.

  1. Install the rails in the rack.
    • If you have an unthreaded rack:

      1. Position the front rail location pegs [1] fully inside the appropriate holes in the front of the rack.

        The rail flange [2] must be inside of the cabinet flange, and the rail label facing the inside of the cabinet.

      2. Insert and loosely tighten one screw through the front of the rack and into the top hole in the rails [3].

      3. Insert and loosely tighten one screw through the back of the rack and into the back of the rails [4]. The following figure shows unthreaded rack rail installation:

        Callout Description

        1

        Location pegs

        2

        Rail flange and label

        3

        Front mounting screw

        4

        Rear mounting screw

    • If you have a threaded rack:

      1. Use the T20 Torx driver to remove the rail location pegs from the front and rear of the rails [1].

      2. Use a 10mm wrench (supplied) to insert the pins into the ends of the rails where you removed the location pegs [1].

      3. Position the front of the rails inside the cabinet, with the rail flange inside of the cabinet flange, and the rail label facing the inside of the cabinet [2].

        The pins should be fully located within the rack holes.

      4. Insert and loosely tighten one screw through the front of the rack and into the top hole in the rails [3].

        The screws for threaded racks have an unthreaded area near the top of the shaft. Before threading these screws into the rails, thread them through the rack until the threads clear the rack and the screws turn freely.

        Caution:

        Mechanical failure. When installing a storage shelf in a threaded rack, be sure to use the screws with the partially unthreaded shaft. Before threading them into the rails, be sure to thread them through the rack until the threads clear the rack and the screws turn freely.

        The following figure shows front mount threaded rack rail installation:

        Callout Description

        1

        Pins (these replaced the location pegs)

        2

        Rail flange and label

        3

        Front mounting screw

      5. Adjust the rail lengths to fit, and locate the rear pins inside the corresponding rear rack holes [1].

      6. Insert and loosely tighten one screw through the back of the rack and into the back of the rails [2].

        The following figure shows rear mount threaded rack rail installation:

        Callout Description

        1

        Pins (replace location pegs)

        2

        Rear mounting screw

  2. Carefully slide the storage shelf onto the shelf rails until it is fully seated in the rack.

    Caution:

    Equipment damage. Do not lift the storage shelf using the handles on the power supply/fan module.

    Caution:

    Personal injury or equipment damage. Use a mechanical lift, or three persons. If you are using three persons, use two to lift the storage shelf into place, and a third to check that it is resting securely on the rails before releasing it.

  3. Pull the storage shelf partway out of the rack until it is approximately 7.8 inches (200 mm) out of the rack.
  4. Tighten the four screws that fasten the rails to the rack (two in front, two in back).
  5. Slide the storage shelf back into the rack and check to ensure that it is resting securely on the rails.

    The following figure shows how to install the storage shelf into the rack:

  6. Remove the front end caps that cover the ears on the front of the storage shelf [1]. They snap off.
  7. Use one short screw on each side to fasten the front of the storage shelf to the rack.
  8. Snap the end caps back onto the storage shelf.
  9. Use one short screw per rail to secure the rear of the storage shelf to threaded hole on the rail.

    The following figure shows how to secure storage shelf rear screws:

  10. Repeat these steps if you have an additional storage shelf to install.
Add a Storage Expansion Shelf to an Existing System

Use this procedure to add a storage expansion shelf to an appliance system that is already running.

This task assumes that you are adding a storage expansion shelf to an already running Oracle Database Appliance X3-2/X4-2/X5-2, or Oracle Database Appliance X6-2-HA/X7-2-HA (must already have a fully populated storage shelf).

It is not necessary to shut down your system to complete this task.

Please note the following exceptional conditions:

  • The storage expansion shelf normally sits at the bottom of Oracle Database Appliance, beneath the storage shelf. However, since racks should always be provisioned from the bottom up, that space might be unavailable. In these cases, to avoid re-rackmounting the entire system, it can be placed above the server nodes, or even in a different rack.

  • The Top Level Identifier (TLI) on the storage expansion shelf will not match the rest of the system as described in Verify Component Compatibility. However, adding a storage expansion shelf after your initial purchase and setup of the appliance is a supported configuration.

  1. Apply the label, if needed.

    The expansion storage shelf shipment might include a label that says "EXPANSION STORAGE SHELF" or simply "STORAGE SHELF". If the label is not already applied to the front of the shelf, apply it now as described in Applying Labels.

  2. Install the expansion storage shelf as described in Installing the Storage Shelves Into a Rack.
  3. Cable, power-on, and verify that the new storage is added.

    Refer to the appropriate Getting Started Guide or Deployment and User's Guide for additional information.

Installing the Server Nodes Into a Rack

Instructions for installing Oracle Database Appliance X3-2/X4-2/X5-2 and X6-2-HA/X7-2-HA server nodes into a rack.

Installing Oracle Database Appliance X6-2-HA or X7-2-HA server nodes into the rack:

Note:

The links in the following table take you to instructions outside of the Oracle Database Appliance library to the Oracle Server X6-2 and Oracle Server X7-2 documentation libraries. Use your browser's Back button to return to the Oracle Database Appliance library.

Installing Oracle Database Appliance X3-2/X4-2/X5-2 server nodes into the rack:

Note:

The links in the following table take you to instructions outside of the Oracle Database Appliance library to the Sun Server X3-2, Sun Server X4-2 and Oracle Server X5-2. Use your browser's Back button to return to the Oracle Database Appliance library.

Installing Oracle Database Appliance Version 1 Into a Rack

Procedures describing how to install Oracle Database Appliance Version 1 into a rack.

This section describes inserting Oracle Database Appliance Version 1 into a rack. If you are installing an Oracle Database Appliance X6-2S/X6-2M/X6-2L and X7-2S/X7-2M, see Installing Oracle Database Appliance X6-2S/X6-2M/X6-2L and X7-2S/X7-2M Into a Rack. If you are installing an Oracle Database Appliance X3-2/X4-2/X5-2 or Oracle Database Appliance X6-2-HA/X7-2-HA, see Installing Oracle Database Appliance X3-2/X4-2/X5-2 and X6-2-HA/X7-2-HA Into a Rack.

Note:

The system chassis is fixed in the rack by the rack-mounting kit hardware. The rack-mounting kit does not include slide rails. After the system chassis is installed in the rack, it does not slide in or out of the rack. The server nodes (also called system controllers) can be removed from the chassis while the chassis is installed in the rack.

Rackmount Kit Contents

A listing of the rackmount kit contents for the Oracle Database Appliance Version 1.

The Rackmount Kit contains the hardware required to install Oracle Database Appliance Version 1 into a supported rack. The Rackmount Guide and Alignment Template is shipped with the system in the shipping kit. Use this template when you are installing the appliance into the rack.

Note:

The rackmount kit does not include slide rails. After the system is installed, it does not slide in or out of the rack. See the Rackmount Guide and Alignment Template for additional instructions on how to install your system into a four-post rack.

The following figure shows the hardware that comes with the rackmount kit:

Callout Description

1

Top rear braces that attach to the posts at the upper rear of the system.

2

Left shelf rail.

3

Right shelf rail.

4

An assortment of M6 and 10-32 screws, including twelve M6 x 16 screws, twelve M6 x 12 screws, four M6 x 4 flathead screws, ten 10-32 screws, and twelve 10-32 shoulder screws.

5

Two sets of four adapter brackets, one set for round-hole racks, and one set for square-hole racks.

6

Four M6 cage nuts. Note - The cage nuts are not used. You can recycle them.

Staff, Tools, and Equipment Required to Rackmount the System

A listing of the staffing and tools you will need to install Oracle Database Appliance Version 1.

Caution:

Personal injury or equipment damage. Use a mechanical lift to install the system or follow the precautions in Removing Components to Reduce System Weight.

Before starting the installation, gather the staff, tools, and equipment required to rackmount the system.

Staff, Tools, and Equipment Notes

Four trained staff

Four people are needed to lift or transport the system.

If a mechanical lift is available or components have been removed from the system, it is safe for two people to lift or transport the system.

No. 2 10-inch Phillips screwdriver

A magnetic tip is recommended.

Mechanical lift

Strongly recommended. If not available, reduce the weight of the system. See Removing Components to Reduce System Weight.

Compatible four-post rack

See Rack Compatibility Requirements.

Rackmount kit

See Rackmount Kit Contents.

Transportation kit

See Transportation Kit Contents.

Antistatic wrist strap and antistatic mat

Required only if you remove system components.

Removing Components to Reduce System Weight

Components that can be removed to reduce the weight of Oracle Database Appliance Version 1 before racking.

Before installing Oracle Database Appliance Version 1 into a rack, you can remove components to reduce the weight of the system so that two persons can lift the system into the rack. Removing system components reduces the weight to approximately 96 pounds (43.5 kg).

Remove the following components to reduce the system weight:

  • Server nodes

  • Power supplies

Note:

Because of their light weight, you do not need to remove filler panels from the system.

For instructions on removing components from the system and associated safety information, see the Oracle Database Appliance Service Manual.

Install Rackmount Hardware Into a Rack

Use this procedure to install rackmount hardware before installing the Oracle Database Appliance Version 1 into a rack.

Oracle Database Appliance Version 1 rack-mounting hardware consists of shelf rails, front and rear adapter brackets, rear braces, and screws.

Caution:

Personal injury or equipment damage. Use a mechanical lift to install the system, or follow the precautions in Removing Components to Reduce System Weight. Removing components reduces the weight from 160 pounds (72.6 kg) when fully loaded with components to approximately 96 pounds (43.5 kg).

Caution:

Tip hazard. Always load equipment into a rack from the bottom up so that it does not become top-heavy and tip over. Deploy your rack's anti-tilt bar to prevent the rack from tipping during installation.

Caution:

Elevated operating ambient temperature. Install this equipment in an environment that does not exceed the maximum ambient temperature (Tma) specified in Environmental Specifications. If the system is installed in a closed or multi-unit rack assembly, then the operating ambient temperature of the rack environment might be greater than room ambient temperature.

Caution:

Thermal damage. Install the equipment in a rack so that the airflow is not restricted.

Caution:

Circuit overloading. Consider the connection of the equipment to the supply circuit and the effect that overloading of the circuits might have on overcurrent protection and supply wiring. Be aware of equipment nameplate power ratings when addressing this concern.

Caution:

Equipment damage. Maintain reliable grounding of rack-mounted equipment. Pay attention to supply connections other than direct connections to the branch circuit (for example, use of power strips).

  1. Use the Rackmount Guide and Alignment Template to measure the 4 rack unit (4RU) space in the rack where you will install the system.

    Also, use that template to align the adapter brackets with the rack posts.

  2. Verify that you have a 4RU space in your rack.

    Place the bottom edge of the Rackmount Guide and Alignment Template in the lowest available position in the rack. Align all arrows with holes on the rack post. Ensure that 4RU space is available in the rack.

  3. Select the adapter brackets that match your rack.

    The system ships with two sets of adapter brackets: one set [1] for racks with square holes and one set [2] for racks with round holes.

    The adapter brackets are labeled to indicate whether they are for square-hole racks or round-hole racks. Additionally, arrows on the adapter brackets indicate how they should be oriented. Install all brackets with the arrow labeled "Top" pointing up.

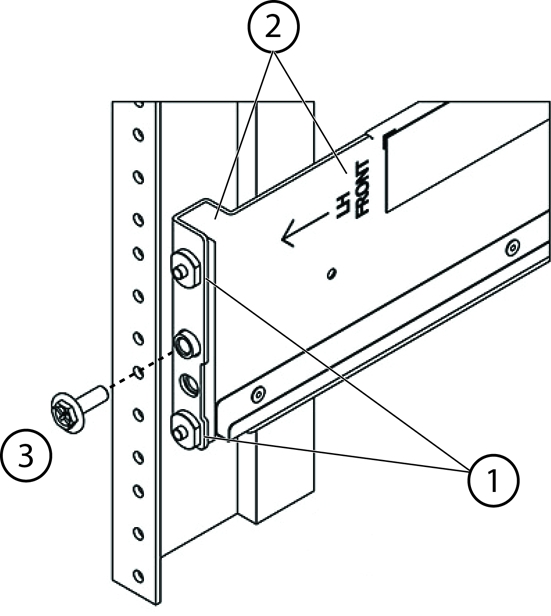
  4. Attach the adapter brackets to the front rack posts.

    The following figure shows the front adapter brackets being attached to a square-hole rack [1] and a round-hole rack [2]:

    1. Place the brackets so that the bracket is aligned with the 4RU space where the server will be installed, and verify that the arrow labeled "Top" on the brackets points up.
    2. Select the screws that match your rack.
      • For a square-hole rack, use one M6 x 12 mm screw per adapter bracket.

      • For a threaded round-hole rack, use three M6 x 12 mm screws, or three 10-32 shoulder screws per adapter bracket.

  5. Attach the adapter brackets to the rear rack posts.
    1. Place the brackets so that the bracket is aligned with the space where the server will be installed and verify that the arrow labeled "Top" on the brackets points up.
    2. Select the screws that match your rack.
      • For a square-hole rack, use two M6 x 12 mm screws per adapter bracket.

      • For a threaded round-hole rack, use two M6 x 12 mm screws or two 10-32 shoulder screws per adapter bracket.

      The following figure shows the rear adapter brackets being attached to a round-hole rack:

      The following figure shows the rear adapter brackets being attached to a square-hole rack:

  6. Attach rear braces to the rear rack posts and to the adapter brackets.
    1. Position the rear braces so that the tops of the braces [1] align with the 4U mark on each rear rack post.
    2. Install two M6 x 12 mm screws [3] or two 10-32 x 10 screws to attach each rear brace to the rack post and the adapter bracket.

      The following figure shows how to attach the rear brace:

    Note:

    Before tightening the screws, slide the brackets [1] up as far as they will go. The holes on the brackets are oval-shaped so they can move up and down when the screws are loose.

  7. Install the shelf rails into the rack.

    Caution:

    System failure. Orient the shelf rails properly, with the shelf facing inward and the gap toward the front of the rack; otherwise, the system might fall.

    1. Expand the shelf rails [1] to fit between the front and rear rack posts.
    2. Insert the rear hooks of the shelf rails into the slots on the rear adapter brackets [2 and 3] first. Push down on the rail to engage the hooks.
    3. Insert the front hooks of the shelf rails into the slots on the front adapter bracket. Push down on the rails to engage the hooks.

      The following figure shows how to attach the rails to the rack:

  8. Thread the four M4 x 10 flathead locking screws into the four adapter brackets [1]).

    These screws prevent the shelf rails from accidentally lifting out of the adapter brackets. The following figure shows how to install the lock screws to the adapter brackets:

Install the System Into a Rack

Use this procedure to install the Oracle Database Appliance Version 1 into a rack.

Before you begin installing your Oracle Database Appliance Version 1 into a rack, perform the steps in Install Rackmount Hardware Into a Rack.

Caution:

Personal injury or equipment damage. Use a mechanical lift to install the system, or follow the precautions in Removing Components to Reduce System Weight. Removing components reduces the weight from 160 pounds (72.6 kg) when fully loaded with components to approximately 96 pounds (43.5 kg).

Caution:

Tip hazard. Always load equipment into a rack from the bottom up so that it does not become top-heavy and tip over. Deploy your rack's anti-tilt bar to prevent the rack from tipping during installation.

  1. Raise the system to slightly above the shelf surfaces.

    Use a mechanical lift if possible.

  2. Slide the system onto the shelf rails until the rack-mounting ears contact the rack post. Adjust the top rear braces to fully insert the system.

    The following figure shows how to insert the system into the rack:

    Caution:

    Drop Hazard. Do not release the system until it is more than 12 inches (305 mm) into the rack, and is firmly supported by the shelf rails. The shelf rails do not safely support the system until it is more than 12 inches (305 mm) inside the rack.

  3. Use four screws to attach the front of the system to the front of the rack.
    • On a threaded, round-hole rack, use four M6 x 12 mm screws or four 10-32 x 10 mm screws.

    • On a square-hole rack, use four M6 x 16 mm screws.

      Note:

      On square-hole racks, the screws pass through the rack and thread into the adapter bracket. On round-hole racks, the screws thread into the rack rails.

    The following figure shows how to attach the front of the system to the rack:

  4. To adjust the rear braces, do the following:
    1. Loosen the screws on the rear braces [1].
    2. Slide the rear braces down until they rest firmly on top of the system [2].
    3. Tighten the screws in the rear braces [1].

      The following figure shows how to tighten rear braces to the rack:

      Tighten Rear Braces to the Rack
  5. If you removed components from the system, replace them.

    For instructions, see the Service Manual, which is part of the product documentation.

Installing Shipping Brackets

Use this procedure to install the Oracle Database Appliance Version 1 rack shipping bracket.

This section includes the following information about installing the shipping brackets for Oracle Database Appliance Version 1.

  • Transportation Kit Contents.

  • If you plan to ship the system in a rack to another destination, see Install Shipping Brackets.

  • If your system is shipped to you in a rack, you must remove the shipping brackets before placing the system into service. For instructions, see the Oracle Database Appliance Service Manual.

Transportation Kit Contents

View a list of items included in the Transportation Kit for the Oracle Database Appliance Version 1.

The following figure shows the hardware that is included in the Oracle Database Appliance Version 1 transportation kit:

Callout Description

1

Front shipping bracket.

2

Screws and cage nuts: For the rear shipping bracket:

  • Two sets of M6 x 30 and 10-32 x 1.25 inch screws, two screws per set.

  • Two sets of M6 x 16 mm and 10-32 x 10 mm screws, four screws per set.

  • Six M6 cage nuts. NOTE - The cage nuts are not used. Recycle unused hardware.

3

Rear shipping bracket.

Install Shipping Brackets

Use this procedure to install the shipping bracket to the appliance in the rack.

If you plan to move or ship Oracle Database Appliance Version 1 in a rack to another location, you need to install the shipping brackets.

Caution:

Equipment damage. Shipping brackets are not for use for bracing or anchoring the rack during seismic events.

  1. Remove the two short screws that fasten the bottom of the system to the rack.

    The following figure shows how to remove screws from the front of the system:

  2. Insert the front shipping bracket [2] under the front of the system with the supporting flange underneath the system.

    The following figure shows how to install the front shipping bracket to the system:

  3. Use the two long screws (either the M6 x 30 mm screws or the 10-32 x 1.25 inch screws) [1] to fasten the shipping bracket [2] to the front of the system.

    Tighten the two long screws to secure the shipping bracket and the system to the rack.

    Note:

    The front shipping bracket includes eight threaded holes used for storing unused screws. When the shipping brackets are not installed, the front shipping bracket holds the long screws used to install them. When the shipping brackets are installed, it stores the short screws that were used to secure the system to the front of the rack before the front shipping bracket was installed.

  4. Insert the short screws into the four empty storage holes on the front shipping bracket.

    Store the screws so they can be used when the shipping bracket is removed.

  5. Remove the bottom two screws that hold the rear adapter brackets in place.

    Caution:

    Equipment damage. Do not remove the bottom screws unless you are certain that at least one upper screw is in place; otherwise, the system might fall.

  6. Insert the rear shipping bracket [2] under the back of the system with the side panels facing up.

    Use four screws [1] (either the M6 x 16 mm screws or the 10-32 x 10 mm screws) to fasten the rear shipping bracket to the rack. Do not finish tightening these screws. The screws should be tight enough to hold the bracket in place, but you should still be able to move the bracket slightly.

    The bracket should be fastened to the posts, but loose enough to move slightly.

    The following figure shows how to install the rear shipping bracket to the system:

  7. Lift the rear shipping bracket up so that it rests firmly against the bottom of the system, then finish tightening the screws that hold the bracket in place.

    If necessary, loosen the screws enough so that you can move the bracket, then push the bracket against the bottom of the system and tighten the screws.

    Caution:

    Equipment damage. To prevent damage to the system during shipping, the bottom shipping bracket must be positioned firmly against the bottom of the system.