4 ラックにOracle Database Applianceをインストール
次の手順を実行して、Oracle Database Applianceをラックに設置します。
- 「タスクの概要」
Oracle Database Applianceのさまざまなモデルをラックに設置するときに実行するタスク。 - 「オプション・コンポーネントのインストール」
さまざまなOracle Database Applianceモデルでサポートされているオプションのコンポーネントについて学んでください。 - 「ラック・マウント時の安全上の注意」
Oracle Database Applianceのラック設置時の安全上の注意事項について説明します。 - 「ESD予防措置」
Oracle Database Applianceのラック設置時の静電気放電に関する注意事項について説明します。 - 「ラックの互換性要件」
Oracle Database Applianceをインストールするための基本的なラック要件について学びます。 - 「システムをラックに設置」
さまざまなOracle Database Applianceモデルをラックに設置する方法を説明した手順。
タスクの概要
Oracle Database Applianceのさまざまなモデルをラックに設置するときに実行するタスク。
適切な手順に従ってラックにシステムを取り付けてください。
注意:
これらの手順では、アプライアンスをラックに設置する方法について説明します。 ケーブル配線の手順については、Oracle Database Appliance X6、X7およびX8シリーズに対応する適切な「デプロイメントおよびユーザー・ガイド」、またはOracle Database Appliance X3-2/X4-2/X5-2またはバージョン1に対応する「スタート・ガイド」を参照してください。
| Oracle Database Applianceバージョン1 | Oracle Database Appliance X3-2/X4-2 | Oracle Database Appliance X5-2、X6-2-HA、X7-2-HAおよびX8-2-HA | Oracle Database Appliance X6-2S/X6-2M/X6-2L, X7-2S/X7-2M and X8-2S/X8-2M |
|---|---|---|---|
オプションのコンポーネントの設置
さまざまなOracle Database Applianceモデルでサポートされているオプションのコンポーネントについて学んでください。
標準のシステム・コンポーネントは、出荷時に設置されています。 標準構成とは別に購入したオプションのコンポーネントは、個別に出荷され、ほとんどの場合はラックにサーバーを取り付ける前に設置する必要があります。
次のオプションのコンポーネントを別途注文できます。
-
DIMMメモリー・キット:
-
Oracle Database Appliance X8-2Sの場合、384 GBへのメモリー拡張をオーダーするオプションがあります。 メモリー・キットは、32GB DIMM x 6枚のセットになっています。
-
Oracle Database Appliance X8-2Mの場合、768 GBへのメモリー拡張をオーダーするオプションがあります。 メモリー・キットには6 x 32 GB DIMMがセットされています。つまり、2つのキット(各プロセッサに1つずつ)が必要です。
-
Oracle Database Appliance X8-2-HAの場合、768 GBへのメモリー拡張をオーダーするオプションがあります。 メモリー・キットには6 x 32 GBのDIMMがセットされています。つまり、768 GBには4つのキット(各サーバー・ノードに2つ)が必要です。 2つのサーバー・ノードに同容量のメモリーを設置する必要があります。 したがって、アプライアンスの合計メモリーは1536 GBになります。
-
Oracle Database Appliance X7-2Sの場合、384 GBへのメモリー拡張をオーダーするオプションがあります。 メモリー・キットは、32GB DIMM x 6枚のセットになっています。
-
Oracle Database Appliance X7-2Mの場合、768 GBへのメモリー拡張をオーダーするオプションがあります。 メモリー・キットには6 x 32 GB DIMMがセットされています。つまり、2つのキット(各プロセッサに1つずつ)が必要です。
-
Oracle Database Appliance X7-2-HAの場合、768 GBへのメモリー拡張をオーダーするオプションがあります。 メモリー・キットには6 x 32 GBのDIMMがセットされています。つまり、768 GBには4つのキット(各サーバー・ノードに2つ)が必要です。 2つのサーバー・ノードに同容量のメモリーを設置する必要があります。 したがって、アプライアンスの合計メモリーは1536 GBになります。
-
Oracle Database Appliance X6-2Sでは、オプションで384GBのメモリー拡張を注文できます。 メモリー・キットは、32GB DIMM x 8枚のセットになっています。
-
Oracle Database Appliance X6-2M/X6-2Lの場合、512 GBまたは768 GBへのメモリー拡張をオーダーするオプションがあります。 メモリー・キットは、32GB DIMM x 8枚のセットになっています。
-
Oracle Database Appliance X5-2およびOracle Database Appliance X6-2-HAの場合、512 GBまたは768 GBへのメモリー拡張をオーダーするオプションがあります。 メモリー・キットは、32GB DIMMM x 8枚のセットになっているため、512GBの場合は2キット(各サーバー・ノードに1個)、768GBの場合は4キット(各サーバー・ノードに2個)必要です。 2つのサーバー・ノードに同容量のメモリーを設置する必要があります。 したがって、拡張された構成に応じて、アプライアンスの合計メモリーは1024 GBまたは1536 GBになります。
メモリーの設置手順は、サービス・マニュアルを参照してください。
-
-
ストレージ・ドライブ:
-
Oracle Database Appliance X8-2Mが2台のNVMeドライブのデフォルト構成である場合、オプションで、前面ドライブ・スロット2-11.用に最大10個の追加2.5-inch 6.4 TB NVMe SSDを順序付けできます。 ドライブは、2つのパックで使用できます。 Oracle Database Applianceソフトウェア・リリース18.7を使用している場合は、最初にシステムの電源を投入してシステム・ソフトウェアをインストールする前に、すべてのストレージを追加する必要があります。 システムがプロビジョニングされ、実行された後は、ストレージを追加できません。
-
Oracle Database Appliance X8-2-HAの場合、次のオプションがあります:
-
基本構成に一部装着されたストレージ・シェルフ(スロット6-23のフィラー・パネル)が含まれる場合は、次のようにアップグレードできます:
-
容量の高いシェルフの場合、18個の14 TB HDD (18パックで使用可能)を追加できます。 Oracle Database Applianceソフトウェア・リリース18.7を使用している場合は、最初にシステムの電源を投入してシステム・ソフトウェアをインストールする前に、すべてのストレージを追加する必要があります。 システムがプロビジョニングされ、実行された後は、ストレージを追加できません。
--または--
-
高パフォーマンス・シェルフの場合、18個の7.68 TB SSD (6パックで入手可能)まで追加できます。 Oracle Database Applianceソフトウェア・リリース18.7を使用している場合は、最初にシステムの電源を投入してシステム・ソフトウェアをインストールする前に、すべてのストレージを追加する必要があります。 システムがプロビジョニングされ、実行された後は、ストレージを追加できません。
-
-
既存のストレージ・シェルフが完全に移入された場合、または部分的に移入された基本ストレージ・シェルフ構成を6個の7.68 TB SSD (18個の7.68 TB SSDまたは18個の14 TB HDD)に更新した場合、別のストレージ・シェルフを追加できます。 Oracle Database Applianceソフトウェア・リリース18.7を使用している場合は、最初にシステムの電源を投入してシステム・ソフトウェアをインストールする前に、すべてのストレージを追加する必要があります。 システムがプロビジョニングされ、実行された後は、ストレージを追加できません。
注意:
既存のストレージ・シェルフが完全に搭載されていて、購入したストレージ・シェルフが既存のストレージ・シェルフに同じスロット(同じスロット内の同じドライブ)に構成されていない限り、ストレージ・シェルフを追加することはできません。
-
-
2つのNVMeドライブのデフォルト構成であるOracle Database Appliance X7-2Mの場合、フロント・ドライブ・スロット2-7用の2.5インチ6.4 TB NVMe SSDをさらに3個または6個オーダーするオプションがあります。 ドライブは3つのパックで利用できます。
-
Oracle Database Appliance X7-2-HAには、次のオプションがあります:
-
ベース構成に部分的に実装されたストレージ・シェルフ(スロット5-19のフィラー・パネル)が含まれている場合は、次のようにアップグレードできます:
-
大容量のシェルフには、15個の10 TB HDD (15個のパックで利用可能)を追加できます。
注意:
10 TB HDDをベース・ストレージ・シェルフ(3.2 TB SSD 5個と800 GバイトSSD 4個)に追加するには、ファクトリ出荷時の3.2 TB SSDをシェルフ・ストレージ・スロット0-4からスロット15-19に移動する必要があります。 これを行うには、クリーンアップの実行、アプライアンス・ソフトウェアの再デプロイ、バックアップからのデータベースのリストアが必要です。
--または--
-
高性能な棚の場合は、最大15個の3.2 TB SSD (5パックで利用可能)を追加できます。
-
-
次のように追加のストレージ・シェルフをアプライアンスに追加できます:
-
基本ストレージ・シェルフ構成が3.2 TB SSDと4つの800 GB SSDの場合、同じ構成(同じスロット内の同じドライブ)で追加のストレージ・シェルフを購入することができます。
--または--
-
ベース・ストレージ・シェルフ構成が5 3.2 TB SSDと4 800 GB SSDで、15 10 TB HDDでアップグレードした場合、同一の構成(同じスロット内の同じドライブ)で追加のストレージ・シェルフを購入できます。
--または--
-
ベース・ストレージ・シェルフ構成が5 3.2 TB SSDと4 800 GB SSDで、15 3.2 TB HDDを使用してアップグレードした場合、同じ構成(同じスロット内の同じドライブ)で追加のストレージ・シェルフを購入できます。
注意:
既存のストレージ・シェルフが完全に搭載されていて、購入したストレージ・シェルフが既存のストレージ・シェルフに同じスロット(同じスロット内の同じドライブ)に構成されていない限り、ストレージ・シェルフを追加することはできません。
-
-
-
2つのNVMeドライブのデフォルト構成であるOracle Database Appliance X6-2S/X6-2Mの場合、フロント・ドライブ・スロットNVMe 2-3用に2つの2.5インチ3.2 TB NVMe SSDを追加でオーダーするオプションがあります。 ドライブはペアで設置する必要があります。
-
Oracle Database Appliance X6-2Lのデフォルト構成が6つのNVMeドライブの場合、フロント・ドライブ・スロットNVMe2、NVMe5、およびNVMe8用に3つの2.5インチ3.2 TB NVMe SSDを追加で3つオーダーすることができます。 ドライブは、3つのセットとしてインストールする必要があります。 ドライブ・スロットNVMe9、NVMe10、およびNVMe11は、この製品ではサポートされていません。
-
Oracle Database Appliance X6-2-HAには、次のオプションがあります:
-
基本構成が半挿入型のストレージ・シェルフ(スロット10-19のフィラー・パネル)である場合は、10個の1.6 TB SAS SSDを空のドライブ・スロット(10-19)に追加して完全実装済みのストレージ・シェルフにアップグレードできます。 ドライブは、10個のセットとしてインストールする必要があります。
-
既存のストレージ・シェルフが完全に設置されている場合は、追加のストレージ・シェルフを追加できます。
注意:
既存のストレージ・シェルフに完全に実装されていない限り、ストレージ拡張シェルフ(完全に実装されています)を追加することはできません。
-
-
Oracle Database Appliance X3-2/X4-2/X5-2に、完全に格納された単一のストレージ・シェルフがある場合は、オプションのストレージ拡張シェルフを追加できます。
ストレージ・ドライブのインストール手順については、「サービス・マニュアル」を参照してください。
-
-
その他のオプションの構成:
-
Oracle Database Appliance X8-2シリーズでは、システムごと、またはX8-2-HAのノードごとに、追加の2つのパブリック・ネットワークPCIeカードを整列するオプションがあります。 サポートされているネットワーク・カードには、Oracle Dual Port 25Gb EthernetアダプタまたはOracle Quad Port 10GBase-Tアダプタがあります。 追加のパブリック・ネットワーク・カードは、すでにインストールされているパブリック・ネットワーク・カード(タイプおよびモデル)と一致する必要があります。 これらのカードは、X8-2-HAアプライアンスのプライベート・クラスタ・ノードからノードへの接続には使用できません。
注意:
サポートされているオプションのネットワークPCIeカードはすべて、最初にシステムの電源を投入してシステム・ソフトウェアをインストールする前に追加する必要があります。 システムのプロビジョニングと実行が完了したら、PCIeカードを後で追加する際に、クリーンアップの実行、アプライアンス・ソフトウェアの再デプロイ、バックアップからのデータベースのリストアを行う必要があります。
オプション・カードの取り付け後は、配線およびソフトウェア構成の手順について、「デプロイメントおよびユーザー・ガイド」を参照してください。
-
Oracle Database Appliance X5-2の場合、オプションのSun Dual 10GbE SFP+ PCIe 2.0ロー・プロファイル・アダプタを2つオーダーし、各サーバー・ノードのPCIeカード・スロット1にある2つの標準InfiniBandアダプタを交換して、データ・センターまたはパブリック・ネットワークへのイーサネット・ファイバ接続をサポートできます(アプライアンスのプライベート・ノード間接続には使用できません)。
カードの交換後は、配線およびソフトウェア構成に関する手順について、「デプロイメントおよびユーザー・ガイド」を参照してください。
PCIeカードをインストールする手順については、「サービス・マニュアル」を参照してください。
-
ラック取付け時の安全上の注意
Oracle Database Applianceのラック設置時の安全上の注意事項について説明します。
この項では、サーバーをラックに設置するときの安全上の注意について説明します。
注意:
人的傷害または装置の損傷。 ラックの転倒を防止してください。1) 設置前に、機器ラックの転倒防止バーまたは脚を伸ばしてください。2)ラックの上側が重くなって倒れないように、ラックには常に下から上に機器を搭載してください。3) 不均等または危険な機械的荷重が生じないようにラックに機器を搭載します。4) スライド・レールに取り付けられた機器を棚または作業空間として使用しないでください。
注意:
温度上昇による機器の損傷。1) 機器が密閉されたラック・アセンブリや複数ユニットのラック・アセンブリに設置されている場合、ラック内の動作時周囲温度がサーバーに規定された最大周囲温度を超えないようにしてください。 サーバーの環境要件の詳細は、「環境仕様」を参照してください。2) 空気の流れを妨げないように、ラックに機器を設置してください。
注意:
電源回路の損傷およびデータの損失。 システムに電源を供給するのに使用されるAC回路の定格電力は、システムに必要な最大値である必要があります。 入力電力の要件の詳細は、「電気仕様」を参照してください。
注意:
装置の損傷。 接地を確実に維持してください。 分岐回路への直接接続以外の電源の接続(テーブル・タップの使用など)には特に注意してください。
注意:
装置の損傷。 ラック・キャビネットを出荷用パレットに固定するために使用される出荷用ブラケットは、地震時にラック・キャビネットを支持または固定するためのデータセンター用ではありません。
ESDの注意
Oracle Database Applianceのラック設置時の静電気放電に関する注意事項について説明します。
注意:
装置の損傷。 静電破壊を回避するには、コンポーネントを設置または使用する際に次の事項に注意してください。
-
静電気防止放電マット、静電気防止バッグまたは使い捨ての静電気防止マットなど、静電気を防止する面にコンポーネントを設置してください。
-
システム・コンポーネントを取り扱う際は、シャーシの金属表面に接続された静電気防止用ストラップを装着してください。
ラックの互換性要件
Oracle Database Applianceをインストールするための基本的なラック要件について学びます。
ラック取付けハードウェアは、次の表の要件を満たす特別なラックにのみ使用できます。
Oracle Database Appliance X8-2シリーズの場合:
| 特性 | Oracle Database Appliance X8-2S/X8-2M | Oracle Database Appliance X8-2-HA |
|---|---|---|
|
ラック構造 |
前後左右で固定する形式の4ポスト・ラック。 サポートされるラック・タイプ: 四角穴(9.5 mm)および丸穴(M 6または1/4-20ネジのみ)。 2本柱のラックには互換性がありません。 |
前後左右で固定する形式の4ポスト・ラック。 サポートされるラック・タイプ: 四角穴(9.5 mm)および丸穴(M 6または1/4-20ネジのみ)。 2本柱のラックには互換性がありません。 |
|
使用可能なスペース |
2RU (ラック・ユニット)の空き領域が必要です。 |
8RU (オプションのストレージ拡張シェルフなし)。 12RU (オプションのストレージ拡張シェルフあり)。 |
|
ラックの水平開口部とユニットの垂直間隔 |
ANSI/EIA 310-D-1992またはIEC 60927規格に準拠します。 |
ANSI/EIA 310-D-1992またはIEC 60927規格に準拠します。 |
|
前方取付け面と後方取付け面との距離 |
最小値610mmおよび最大値915mm(24インチから36インチ)。 |
最小値610mmおよび最大値915mm(24インチから36インチ)。 |
|
前方取付け面の前の隙間 |
前面のキャビネット・ドアまでの距離が25.4mm(1インチ)以上。 |
前面のキャビネット・ドアまでの距離が25.4mm(1インチ)以上。 |
|
前方取付け面の裏の隙間 |
背面のキャビネット・ドアまでの距離は、ケーブル管理アームを使用する場合は900mm (35.43インチ)以上、ケーブル管理アームを使用しない場合は800mm (31.5インチ)。 |
背面のキャビネット・ドアまでの距離は、ケーブル管理アームを使用する場合は900mm (35.43インチ)以上、ケーブル管理アームを使用しない場合は800mm (31.5インチ)。 |
|
前方取付け面と後方取付け面との隙間 |
構造支柱とケーブル・トラフとの距離が456mm(18インチ)以上。 |
構造支柱とケーブル・トラフとの距離が456mm(18インチ)以上。 |
|
サービス・アクセスのための最小の隙間 |
前方の隙間: 123.2cm (48.5インチ) 後方の隙間: 91cm (36インチ) |
前方の隙間: 123.2cm (48.5インチ) 後方の隙間: 91cm (36インチ) |
|
サーバー・ノードの寸法 |
||
|
ストレージ・シェルフの距離 |
N/A |
Oracle Database Appliance X7-2シリーズの場合:
| 特性 | Oracle Database Appliance X7-2S/X7-2M | Oracle Database Appliance X7-2-HA |
|---|---|---|
|
ラック構造 |
4本柱のラック(前方と後方に取付け)。 2本柱のラックには互換性がありません。 |
4本柱のラック(前方と後方に取付け)。 2本柱のラックには互換性がありません。 |
|
使用可能なスペース |
1RU(ラック・ユニット)の空き容量が必要です。 |
6RU (オプションのストレージ拡張シェルフなし)。 10RU (オプションのストレージ拡張シェルフあり)。 |
|
ラックの水平開口部とユニットの垂直間隔 |
ANSI/EIA 310-D-1992またはIEC 60927規格に準拠します。 |
ANSI/EIA 310-D-1992またはIEC 60927規格に準拠します。 |
|
前方取付け面と後方取付け面との距離 |
最小値610mmおよび最大値915mm(24インチから36インチ)。 |
最小値610mmおよび最大値915mm(24インチから36インチ)。 |
|
前方取付け面の前の隙間 |
前面のキャビネット・ドアまでの距離が25.4mm(1インチ)以上。 |
前面のキャビネット・ドアまでの距離が25.4mm(1インチ)以上。 |
|
前方取付け面の裏の隙間 |
背面のキャビネット・ドアまでの距離は、ケーブル管理アームを使用する場合は900mm (35.43インチ)以上、ケーブル管理アームを使用しない場合は800mm (31.5インチ)。 |
背面のキャビネット・ドアまでの距離は、ケーブル管理アームを使用する場合は900mm (35.43インチ)以上、ケーブル管理アームを使用しない場合は800mm (31.5インチ)。 |
|
前方取付け面と後方取付け面との隙間 |
構造支柱とケーブル・トラフとの距離が456mm(18インチ)以上。 |
構造支柱とケーブル・トラフとの距離が456mm(18インチ)以上。 |
|
サービス・アクセスのための最小の隙間 |
前方の隙間: 123.2cm (48.5インチ) 後方の隙間: 91cm (36インチ) |
前方の隙間: 123.2cm (48.5インチ) 後方の隙間: 91cm (36インチ) |
|
サーバー・ノードの寸法 |
||
|
ストレージ・シェルフの距離 |
N/A |
Oracle Database Appliance X6-2シリーズの場合:
| 特性 | Oracle Database Appliance X6-2S/X6-2M | Oracle Database Appliance X6-2L | Oracle Database Appliance X6-2-HA |
|---|---|---|---|
|
ラック構造 |
4本柱のラック(前方と後方に取付け)。 2本柱のラックには互換性がありません。 |
4本柱のラック(前方と後方に取付け)。 2本柱のラックには互換性がありません。 |
4本柱のラック(前方と後方に取付け)。 2本柱のラックには互換性がありません。 |
|
使用可能なスペース |
1RU(ラック・ユニット)の空き容量が必要です。 |
2RUの空き容量が必要です。 |
6RU (オプションのストレージ拡張シェルフなし)。 10RU (オプションのストレージ拡張シェルフあり)。 |
|
ラックの水平開口部とユニットの垂直間隔 |
ANSI/EIA 310-D-1992またはIEC 60927規格に準拠します。 |
ANSI/EIA 310-D-1992またはIEC 60927規格に準拠します。 |
ANSI/EIA 310-D-1992またはIEC 60927規格に準拠します。 |
|
前方取付け面と後方取付け面との距離 |
最小値610mmおよび最大値915mm(24インチから36インチ)。 |
最小値610mmおよび最大値915mm(24インチから36インチ)。 |
最小値610mmおよび最大値915mm(24インチから36インチ)。 |
|
前方取付け面の前の隙間 |
前面のキャビネット・ドアまでの距離が25.4mm(1インチ)以上。 |
前面のキャビネット・ドアまでの距離が25.4mm(1インチ)以上。 |
前面のキャビネット・ドアまでの距離が25.4mm(1インチ)以上。 |
|
前方取付け面の裏の隙間 |
背面のキャビネット・ドアまでの距離は、ケーブル管理アームを使用する場合は900mm (35.43インチ)以上、ケーブル管理アームを使用しない場合は800mm (31.5インチ)。 |
背面のキャビネット・ドアまでの距離は、ケーブル管理アームを使用する場合は900mm (35.43インチ)以上、ケーブル管理アームを使用しない場合は800mm (31.5インチ)。 |
背面のキャビネット・ドアまでの距離は、ケーブル管理アームを使用する場合は900mm (35.43インチ)以上、ケーブル管理アームを使用しない場合は800mm (31.5インチ)。 |
|
前方取付け面と後方取付け面との隙間 |
構造支柱とケーブル・トラフとの距離が456mm(18インチ)以上。 |
構造支柱とケーブル・トラフとの距離が456mm(18インチ)以上。 |
構造支柱とケーブル・トラフとの距離が456mm(18インチ)以上。 |
|
サービス・アクセスのための最小の隙間 |
前方の隙間: 123.2cm (48.5インチ) 後方の隙間: 91cm (36インチ) |
前方の隙間: 123.2cm (48.5インチ) 後方の隙間: 91cm (36インチ) |
前方の隙間: 123.2cm (48.5インチ) 後方の隙間: 91cm (36インチ) |
|
サーバー・ノードの寸法 |
|||
|
ストレージ・シェルフの距離 |
N/A |
N/A |
Oracle Database Applianceバージョン1およびOracle Database Appliance X3-2/X4-2/X5-2:
| 特性 | Oracle Database Applianceバージョン1 | Oracle Database Appliance X3-2/X4-2 | Oracle Database Appliance X5-2 |
|---|---|---|---|
|
ラック構造 |
4本柱のラック(前方と後方に取付け)。 2本柱のラックには互換性がありません。 |
4本柱のラック(前方と後方に取付け)。 2本柱のラックには互換性がありません。 |
4本柱のラック(前方と後方に取付け)。 2本柱のラックには互換性がありません。 |
|
使用可能なスペース |
4RU(ラック・ユニット)の空き容量が必要です。 |
4RU (オプションのストレージ拡張シェルフなし)。 6RU (オプションのストレージ拡張シェルフあり)。 |
6RU (オプションのストレージ拡張シェルフなし)。 10RU (オプションのストレージ拡張シェルフあり)。 |
|
ラックの水平開口部とユニットの垂直間隔 |
ANSI/EIA 310-D-1992またはIEC 60927規格に準拠します。 |
ANSI/EIA 310-D-1992またはIEC 60927規格に準拠します。 |
ANSI/EIA 310-D-1992またはIEC 60927規格に準拠します。 |
|
前方取付け面と後方取付け面との距離 |
最小値660.4mmおよび最大値876.3mm(26インチから34.5インチ)。 |
最小値610mmおよび最大値915mm(24インチから36インチ)。 |
最小値610mmおよび最大値915mm(24インチから36インチ)。 |
|
前方取付け面の前の隙間 |
前面のキャビネット・ドアまでの距離が25.4mm(1インチ)以上。 |
前面のキャビネット・ドアまでの距離が25.4mm(1インチ)以上。 |
前面のキャビネット・ドアまでの距離が25.4mm(1インチ)以上。 |
|
前方取付け面の裏の隙間 |
背面のキャビネット・ドアまでの距離が700mm(27.5インチ)以上。 |
背面のキャビネット・ドアまでの距離は、ケーブル管理アームを使用する場合は900mm (35.43インチ)以上、ケーブル管理アームを使用しない場合は800mm (31.5インチ)。 |
背面のキャビネット・ドアまでの距離は、ケーブル管理アームを使用する場合は900mm (35.43インチ)以上、ケーブル管理アームを使用しない場合は800mm (31.5インチ)。 |
|
前方取付け面と後方取付け面との隙間 |
構造支柱とケーブル・トラフとの距離が456mm(18インチ)以上。 |
構造支柱とケーブル・トラフとの距離が456mm(18インチ)以上。 |
構造支柱とケーブル・トラフとの距離が456mm(18インチ)以上。 |
|
サービス・アクセスのための最小の隙間 |
前方の隙間: 123.2cm (48.5インチ) 後方の隙間: 91cm (36インチ) |
前方の隙間: 123.2cm (48.5インチ) 後方の隙間: 91cm (36インチ) |
前方の隙間: 123.2cm (48.5インチ) 後方の隙間: 91cm (36インチ) |
|
サーバー・ノードの寸法 |
|||
|
ストレージ・シェルフの距離 |
N/A |
ラックへのシステムの設置
さまざまなOracle Database Applianceモデルをラックに設置する方法を説明した手順。
注意:
人的傷害または装置の損傷。 ラックの上側が重くなって倒れないように、常に下から上にラックに機器を搭載してください。 機器の設置中にラックが倒れないように、ラックの転倒防止バーを伸ばしてください。
- 「Oracle Database Appliance X6-2S/X6-2M/X6-2L, X7-2S/X7-2MおよびX8-2S/X8-2Mをラックに設置」
Oracle Database Appliance X6-2S/X6-2M/X6-2L、X7-2S/X7-2M、X8-2S/X8-2Mをラックに設置する方法を説明する手順。 - 「Oracle Database Appliance X3-2/X4-2/X5-2およびX6-2-HA/X7-2-HA/X8-2-HAのラックへの設置」
Oracle Database Appliance X3-2/X4-2/X5-2およびX6-2-HA/X7-2-HA/X8-2-HAをラックに設置する方法について説明する手順。 - 「Oracle Database Applianceバージョン1をラックに設置」
Oracle Database Applianceバージョン1をラックにインストールする手順を説明した手順。
Oracle Database Appliance X6-2S/X6-2M/X6-2L, X7-2S/X7-2MおよびX8-2S/X8-2Mをラックに設置
Oracle Database Appliance X6-2S/X6-2M/X6-2L, X7-2S/X7-2MおよびX8-2S/X8-2Mをラックに設置する方法について説明する手順。
この項では、Oracle Database Appliance X6-2S/X6-2M/X6-2L, X7-2S/X7-2MおよびX8-2S/X8-2Mをラックに設置する方法について説明します。 他のOracle Database Applianceモデルがある場合は、「システムをラックに設置」にリストされている適切なリンクを選択します。
- 「配送コンテナの内容」
Oracle Database Appliance X6-2S/X6-2M/X6-2L、X7-2S/X7-2MおよびX8-2S/X8-2Mの出荷コンテナ・コンテンツのリスト。 - 「ツールと必要な機器」
Oracle Database Appliance X6-2S/X6-2M/X6-2L、X7-2S/X7-2M、X8-2S/X8-2Mのインストールに必要なツールのリスト。 - 「設置のラックの安定化」
Oracle Database Applianceを設置する前に、この手順を使用してラックを安定させてください。 - 「ラックへのサーバーの設置」
Oracle Database Appliance X6-2S/X6-2M/X6-2L、X7-2S/X7-2M、X8-2S/X8-2Mをラックに設置するには、タスクを完了します。
親トピック: システムをラックに設置
配送コンテナの内容
Oracle Database Appliance X6-2S/X6-2M/X6-2L, X7-2S/X7-2MおよびX8-2S/X8-2Mの出荷コンテナ・コンテンツのリスト。
Oracle Database Appliance X6-2S/X6-2M/X6-2L, X7-2S/X7-2MまたはX8-2S/X8-2Mシステムの出荷用梱包箱を点検し、物理的な損傷がないか確認してください。 発送用段ボール箱に損傷がある場合は、運送業者の担当者に、段ボール箱を開梱する際の立ち合いを依頼してください。 担当者による点検のために、すべての内容物および梱包材を保管しておいてください。
サーバーの発送キットには、次の品目が含まれています。
-
電源コード(カントリ・キットとは別に梱包)
-
ラック・レール、ハードウェア、テンプレートおよび設置説明書を含むレール・キット
-
様々なハードウェア、ケーブルおよびコネクタ
-
セットアップ・ブックレット
-
法律および安全性に関するドキュメント
必要なツールおよび機器
Oracle Database Appliance X6-2S/X6-2M/X6-2L, X7-2S/X7-2MおよびX8-2S/X8-2Mのインストールに必要なツールのリスト。
Oracle Database Appliance X6-2S/X6-2M/X6-2L, X7-2S/X7-2MおよびX8-2S/X8-2Mのインストールを開始する前に、次のツールおよび機器を用意します。
-
長さ4インチ以上のNo. 2プラス・ドライバ
-
ねじ山のあるラックを使用する場合、T20 Torxドライバ
-
機械式リフトを強くお薦めします
設置用のラックの固定
Oracle Database Applianceを取り付ける前に、この手順を使用してラックを安定させてください。
注意:
人的傷害または装置の損傷。 人的傷害のリスクを軽減するには、ラック・キャビネットを固定し、サーバーの設置前に転倒防止デバイスを伸ばします。
詳細な手順については、ラック・キャビネットのマニュアルを参照してください。
- 設置場所で開梱するときは、ラック・キャビネットを移動する前に、ラック・キャビネットの水平脚が上がっていることを確認してください。
- ラック・キャビネットの前面および背面のドアが取り付けの妨げになる場合は、取り外します。
- 設置中にラック・キャビネットが倒れないように、ラック・キャビネットの前面の底にある、転倒防止脚または転倒防止バーを完全に伸ばします。
- ラック・キャビネットがローリングするのを防ぐためにラック・キャビネットの下に平らな脚がある場合、ラック・キャビネットがデータセンターに置かれる場所に置いたら、これらのリング・フィートを床に完全に下ろします。
- 再梱包を含め、ラック・キャビネットを別のロケーションに移動するときは、ラック・キャビネットを移動する前にラック・キャビネットの水平脚が上がっていることを確認してください。
ラックへのサーバーの設置
Oracle Database Appliance X6-2S/X6-2M/X6-2L, X7-2S/X7-2M、X8-2S/X8-2Mをラックに設置するには、タスクを完了します。
Oracle Database Appliance X8-2S/X8-2Mサーバーをラックに設置します:
注意:
次の表内のリンクをクリックすると、「外側」のOracle Database ApplianceライブラリからOracle Server X8-2Lドキュメント・ライブラリの説明が表示されます。 Oracle Database Applianceライブラリに戻るには、ブラウザの「戻る」ボタンを使用してください。
| Oracle Database Appliance X8-2S | Oracle Database Appliance X8-2M |
|---|---|
Oracle Database Appliance X7-2S/X7-2Mサーバーをラックに設置します:
注意:
次の表のリンクは、Oracle Database Applianceライブラリの外の、Oracle Server X7-2ドキュメント・ライブラリのインストラクションへのリンクです。 Oracle Database Applianceライブラリに戻るには、ブラウザの「戻る」ボタンを使用してください。
| Oracle Database Appliance X7-2S | Oracle Database Appliance X7-2M |
|---|---|
Oracle Database Appliance X6-2S/X6-2M/X6-2Lサーバーをラックに設置します:
注意:
次の表のリンクをクリックすると、Oracle Database Applianceライブラリの「外側」の指示に従って、Oracle Server X6-2またはOracle Server X6-2Lのドキュメント・ライブラリにアクセスできます。 Oracle Database Applianceライブラリに戻るには、ブラウザの「戻る」ボタンを使用してください。
| Oracle Database Appliance X6-2S/X6-2M | Oracle Database Appliance X6-2L |
|---|---|
Oracle Database Appliance X3-2/X4-2/X5-2およびX6-2-HA/X7-2-HA/X8-2-HAのラックへの設置
Oracle Database Appliance X3-2/X4-2/X5-2およびX6-2-HA/X7-2-HA/X8-2-HAをラックに設置する手順。
この項では、Oracle Database Appliance X3-2/X4-2/X5-2およびX6-2-HA/X7-2-HA/X8-2-HAをラックに設置する方法について説明します。 他のOracle Database Applianceモデルがある場合は、「システムをラックに設置」にリストされている適切なリンクを選択します。
注意:
システム障害。 Oracle Database Applianceは一緒に設置する必要のある適合セットのコンポーネントで出荷されます。 別のシステムのコンポーネントと混合するとシステム障害が発生する可能性があります。
- 「出荷コンテナの内容」
Oracle Database Appliance X3-2/X4-2/X5-2およびX6-2-HA/X7-2-HA/X8-2-HAの出荷コンテナの内容のリスト。 - 「インストール手順」
Oracle Database Appliance X3-2/X4-2/X5-2およびX6-2-HA/X7-2-HA/X8-2-HAをラックに設置する際の適切な設置手順を理解します。 - 「コンポーネントの互換性の確認」
ファクトリからバンドルされたアプライアンス・コンポーネントが一緒に接続されていることを確認します。 - 「ツールと必要な機器」
Oracle Database Appliance X3-2/X4-2/X5-2およびX6-2-HA/X7-2-HA/X8-2-HAのインストールに必要なツールのリスト。 - 「ラックの安定化」
アプライアンスを設置する前に、この手順を使用してラックを安定させてください。 - 「ラベルの適用」
アプライアンス・コンポーネントを識別するラベルを適用します。 - 「ストレージ・シェルフをラックに設置」
Oracle Database Applianceストレージ・シェルフをラックに設置するには、この手順を使用します。 - 「ラックにサーバー・ノードを取り付ける」
Oracle Database Appliance X3-2/X4-2/X5-2およびX6-2-HA/X7-2-HA/X8-2-HAサーバー・ノードをラックに設置する手順。
親トピック: システムをラックに設置
発送箱の内容
Oracle Database Appliance X3-2/X4-2/X5-2およびX6-2-HA/X7-2-HA/X8-2-HAの出荷コンテナの内容のリスト。
Oracle Database Appliance X3-2/X4-2/X5-2およびOracle Database Appliance X6-2-HAは、1つのパレット上にシステム全体とともに出荷されます。 これには、すべてのサーバー・ノード、ストレージ・シェルフ、取付けハードウェア、ケーブルおよびラベルが含まれます。
Oracle Database Appliance X7-2-HA/X8-2-HAでは、サーバー・ノードは1つのパレットに出荷され、ストレージ・シェルフおよびストレージ拡張シェルフは個別に出荷されます。 各コンポーネントには、ハードウェア、ケーブル、ラベルの取り付けなどがあります。
注意:
システム障害。 出荷内のすべてのアイテムは1つのシステムとして一緒に使用されるように設計されています。 別の出荷のコンポーネントと混合しないでください。システム障害が発生することがあります。 詳細は、「コンポーネントの互換性の確認」を参照してください。
アプライアンスに必要なアイテムは次のとおりです:
-
サーバー・ノード0およびサーバー・ノード1 (まとめて出荷)
-
サーバー・ノード0および1の取付けハードウェア、ケーブルおよびラベル
-
1つのストレージ・シェルフ(個別に発送される場合があります)
-
ストレージ・シェルフのラック取付けハードウェア
ストレージ拡張シェルフを注文した場合は、別に出荷されます。
設置の流れ
Oracle Database Appliance X3-2/X4-2/X5-2およびX6-2-HA/X7-2-HA/X8-2-HAをラックに設置する際の適切な設置手順を理解します。
ラックに設置するときにはいつも「下から開始して上へ」作業してください。 Oracle Database Appliance X3-2/X4-2/X5-2およびOracle Database Appliance X6-2-HA/X7-2-HA/X8-2-HAの場合、次の順序で機器を設置します:
-
ストレージ拡張シェルフ(装備されている場合)。
-
ストレージ・シェルフ
-
サーバー・ノード0
-
サーバー・ノード1
コンポーネントの互換性の確認
ファクトリからバンドルされたアプライアンス・コンポーネントが一緒に接続されていることを確認します。
Oracle Database Appliance X3-2/X4-2/X5-2およびOracle Database Appliance X6-2-HAの場合、ファクトリでバンドルされたすべてのアプライアンス・コンポーネントには、システムに適合した最上位レベル識別子(TLI)番号があります。 サーバー・ノードとストレージ・シェルフの両方が同じTLIを持つ必要があります。 オプションのストレージ拡張シェルフのTLIは同じである必要はありません。
Oracle Database Appliance X7-2-HA/X8-2-HAでは、サーバー・ノードはファクトリでバンドルされ、システムに適合した最上位レベル識別子(TLI)番号を持ちます。 両方のサーバー・ノードのTLIは同じである必要があります。 ストレージ・シェルフおよびストレージ拡張シェルフには、個別のTLIが必要です。
注意:
最初の設置後に、システムにストレージ拡張シェルフを追加する(つまり、ストレージ拡張シェルフがアプライアンスの初期構成注文の一部ではなかった)場合、そのTLIはシステムのその他の部分とは異なります。 このシナリオの場合、追加コンポーネントがメイン・アプライアンスのTLIとは異なるTLIを持つのは適切です。
必要なツールおよび機器
Oracle Database Appliance X3-2/X4-2/X5-2およびX6-2-HA/X7-2-HA/X8-2-HAをインストールするために必要なツールの一覧です。
Oracle Database Appliance X3-2/X4-2/X5-2およびX6-2-HA/X7-2-HA/X8-2-HAのインストールを開始する前に、次のツールおよび機器を用意します。
-
長さ4インチ以上のNo. 2プラス・ドライバ
-
ねじ山のあるラックを使用する場合、T20 Torxドライバ
-
機械式リフトを強くお薦めします
注意:
人的傷害または装置の損傷。 ストレージ・シェルフの重さは約51ポンド(23kg)あります。 機械式リフトが使用できない場合、3名でラックへ格納してください。
設置用のラックの固定
アプライアンスを設置する前に、この手順を使用してラックを安定させてください。
注意:
人的傷害または装置の損傷。 人的傷害のリスクを軽減するには、ラック・キャビネットを固定し、サーバーの設置前に転倒防止デバイスを伸ばします。
詳細な手順については、ラック・キャビネットのマニュアルを参照してください。
- 設置場所で開梱するときは、ラック・キャビネットを移動する前に、ラック・キャビネットの水平脚が上がっていることを確認してください。
- ラック・キャビネットの前面および背面のドアが取り付けの妨げになる場合は、取り外します。
- 設置中にラック・キャビネットが倒れないように、ラック・キャビネットの前面の底にある、転倒防止脚または転倒防止バーを完全に伸ばします。
- ラック・キャビネットがローリングするのを防ぐためにラック・キャビネットの下に平らな脚がある場合、ラック・キャビネットがデータセンターに置かれる場所に置いたら、これらのリング・フィートを床に完全に下ろします。
- 再梱包を含め、ラック・キャビネットを別のロケーションに移動するときは、ラック・キャビネットを移動する前にラック・キャビネットの水平脚が上がっていることを確認してください。
ラベルの貼付
アプライアンス・コンポーネントを識別するラベルを適用します。
Oracle Database Appliance X3-2/X4-2/X5-2およびOracle Database Appliance X6-2-HA/X7-2-HA/X8-2-HAには、各サーバー・ノードおよびストレージ・シェルフの前面に貼付する、4つのラベルを持つラベル・キットが同梱されています。
- 「サーバー・ノードとストレージ・シェルフにラベルを適用」
アプライアンスをラックに設置する前に、この作業を実行してストレージ・シェルフ・ラベルを貼り付けます。
ラックへのストレージ・シェルフの設置
Oracle Database Applianceストレージ・シェルフをラックに設置するには、この手順を使用します。
この項は、ラックにストレージ・シェルフを設置する手順を含みます。
Oracle Database Appliance X3-2/X4-2/X5-2およびOracle Database Appliance X6-2-HA/X7-2-HA/X8-2-HAには1つのストレージ・シェルフが必要で、ストレージ・スパン・ション・シェルフと呼ばれる、2つ目のストレージ・シェルフが含まれることもあります。 両方とも同じ方法でインストールされます。 ストレージ拡張シェルフがアプライアンスに付属している場合は、最初に取り付けます。 それ以外の場合は、後でストレージ拡張シェルフを追加できます。
- Oracle Database Appliance X6-2-HA/X7-2-HA/X8-2-HA DE3-24C Storage Shelfをラックに設置
アプライアンスのDE3-24Cストレージ・シェルフをラックに設置するには、この手順を使用します。 - Oracle Database Appliance X5-2 DE2-24Cストレージ・シェルフをラックに設置
アプライアンスのDE2-24Cストレージ・シェルフをラックに設置するには、この手順を使用します。 - Oracle Database Appliance X3-2/X4-2 DE2-24Pストレージ・シェルフをラックに設置
アプライアンスのDE2-24Pストレージ・シェルフをラックに設置するには、この手順を使用します。 - 「既存のシステムにストレージ拡張シェルフを追加」
すでに実行されているアプライアンス・システムにストレージ拡張シェルフを追加するには、この手順を使用します。
Oracle Database Appliance X6-2-HA/X7-2-HA/X8-2-HA DE3-24C Storage Shelfをラックに設置
アプライアンスのDE3-24Cストレージ・シェルフをラックに設置するには、この手順を使用します。
Oracle Storage Drive Enclosure DE3-24Cでは、キャビネットに4つの標準的なマウント装置(4RU)の垂直スペースが必要です。
-
設置場所が、「Oracle Database Applianceの仕様」の要件を満たしていることを確認してください。
-
ラックが、「ラックの互換性要件」の要件を満たしていることを確認してください。
注意:
シェルフに同梱のレール・キットは、EIA準拠の9.5 mm角の穴ラックまたは直径7.0 mmの丸穴ラックでのみ使用できます。
-
「ラック取付け時の安全上の注意」のすべての注意を守ってください。
親トピック: ストレージ・シェルフをラックに設置
ラックへのOracle Database Appliance X5-2 DE2-24Cストレージ・シェルフの設置
アプライアンスのDE2-24Cストレージ・シェルフをラックに設置するには、この手順を使用します。
Oracle Storage Drive Enclosure DE2-24Cには、キャビネット内に4本の標準取付けユニット(4RU) のための垂直方向の空間が必要です。 ここに記載されている指示は、ネジ山付きラックとネジ切りされていないラックの両方に適用されます。
-
設置場所が、「Oracle Database Applianceの仕様」の要件を満たしていることを確認してください。
-
ラックが、「ラックの互換性要件」の要件を満たしていることを確認してください。
-
「ラック取付け時の安全上の注意」のすべての注意を守ってください。
親トピック: ストレージ・シェルフをラックに設置
ラックへのOracle Database Appliance X3-2/X4-2 DE2-24Pストレージ・シェルフの設置
アプライアンスのDE2-24Pストレージ・シェルフをラックに設置するには、この手順を使用します。
Oracle Storage Drive Enclosure DE2-24Pには、キャビネット内に2本の標準取付けユニット(2RU)のための垂直方向の空間が必要です。 ストレージ・シェルフのラック取付けキットには、2つのラック・レール、長いM6ねじおよび短いM6ねじ、10mmレンチが含まれます。 ここに記載されている指示は、ネジ山付きラックとネジ切りされていないラックの両方に適用されます。
-
設置場所が、「Oracle Database Applianceの仕様」の要件を満たしていることを確認してください。
-
ラックが、「ラックの互換性要件」の要件を満たしていることを確認してください。
-
「ラック取付け時の安全上の注意」のすべての注意を守ってください。
親トピック: ストレージ・シェルフをラックに設置
既存のシステムにストレージ拡張シェルフを追加
すでに実行されているアプライアンス・システムにストレージ拡張シェルフを追加するには、この手順を使用します。
この作業では、既に実行中のOracle Database Appliance X3-2/X4-2/X5-2,またはOracle Database Appliance X6-2-HA/X7-2-HA (ストレージ・シェルフが完全に搭載されている必要があります)にストレージ拡張シェルフを追加することを前提としています。
注意:
Oracle Database Appliance X8-2-HAにソフトウェア・リリース18.7が含まれている場合、システムの電源を最初に投入してシステム・ソフトウェアをインストールする前に、すべてのストレージを追加する必要があります。 システムがプロビジョニングされ、実行された後は、ストレージを追加できません。
特に記述がないかぎり、このタスクを完了するためにシステムを停止する必要はありません。
次の例外条件に注意してください。
-
ストレージ拡張シェルフは通常、Oracle Database Applianceの下部の、ストレージ・シェルフの下に設置されます。 しかし、ラックは通常、下から上へプロビジョニングされる必要があるので、空きがない場合があります。 そのような場合、システム全体を再度ラックに取り付けなくても済むように、サーバー・ノードの上、または別のラックに配置することもできます。
-
「コンポーネントの互換性の確認」で説明しているように、ストレージ拡張シェルフの最上位レベル識別子(TLI)はシステムのその他の部分と一致しません。 しかし、最初のアプライアンスの購入とセットアップの後にストレージ拡張シェルフを追加することは、サポートされている構成です。
親トピック: ストレージ・シェルフをラックに設置
ラックへのサーバー・ノードの設置
Oracle Database Appliance X3-2/X4-2/X5-2およびX6-2-HA/X7-2-HA/X8-2-HAサーバー・ノードをラックに設置する手順。
Oracle Database Appliance X6-2-HA/X7-2-HA/X8-2-HAサーバー・ノードをラックに設置しています:
注意:
次の表内のリンクをクリックすると、「外側」のOracle Database ApplianceライブラリからOracle Server X6-2、Oracle Server X7-2およびOracle Server X8-2Lドキュメント・ライブラリへの指示が表示されます。 Oracle Database Applianceライブラリに戻るには、ブラウザの「戻る」ボタンを使用してください。
| Oracle Database Appliance X6-2-HA | Oracle Database Appliance X7-2-HA | Oracle Database Appliance X8-2-HA |
|---|---|---|
ラックへのOracle Database Appliance X3-2/X4-2/X5-2サーバー・ノードの設置:
注意:
次の表のリンクは、Oracle Database Applianceライブラリの外のSun Server X3-2、Sun Server X4-2、およびOracle Server X5-2のインストラクションへのリンクです。 Oracle Database Applianceライブラリに戻るには、ブラウザの「戻る」ボタンを使用してください。
| Oracle Database Appliance X3-2 | Oracle Database Appliance X4-2 | Oracle Database Appliance X5-2 |
|---|---|---|
Oracle Database Applianceバージョン1をラックに設置
Oracle Database Applianceバージョン1をラックに設置する手順を説明した手順。
この項では、Oracle Database Applianceバージョン1のラックへの設置について説明します。 他のOracle Database Applianceモデルがある場合は、「システムをラックに設置」にリストされている適切なリンクを選択します。
注意:
システム・シャーシは、ラック取付けキット・ハードウェアでラックに固定されています。 ラック取付けキットは、スライド・レールを含みません。 システム・シャーシがラックに設置されると、ラックをスライドしません。 シャーシがラックに設置されますが、シャーシからサーバー・ノード(システム・コントローラとも呼ぶ)を取り外すことができます。
- 「ラック・マウント・キットの内容」
Oracle Database Applianceバージョン1のラック・マウント・キットの内容のリスト。 - 「システムをラック・マウントするために必要なスタッフ、ツール、および機器」
Oracle Database Appliance Version 1をインストールするために必要な人材とツールのリスト。 - 「コンポーネントを削除してシステムの重量を削減」
ラッキングする前にOracle Database Applianceバージョン1の重量を減らすために取り外すことができるコンポーネント。 - 「ラック・マウント・ハードウェアをラックに設置」
Oracle Database Applianceバージョン1をラックに設置する前に、この手順を使用してラック・マウント・ハードウェアを設置します。 - 「システムをラックに設置」
この手順を使用して、Oracle Database Applianceバージョン1をラックに設置します。 - 「配送ブラケットの設置」
Oracle Database Applianceバージョン1ラック出荷用ブラケットを設置するには、この手順を使用します。
親トピック: システムをラックに設置
ラック取付けキットの内容
Oracle Database Applianceバージョン1のラック・マウント・キットの内容のリスト。
ラック・マウント・キットには、サポートされているラックにOracle Database Applianceバージョン1をインストールするために必要なハードウェアが含まれています。 ラック取付けガイドおよび調整テンプレートは、発送キットでシステムとともに発送されます。 アプライアンスをラックに設置するときは、このテンプレートを使用します。
注意:
ラック取付けキットは、スライド・レールを含みません。 システムが設置されると、ラックをスライドしません。 4本柱のラックにシステムを設置する方法の詳細は、ラック取付けガイドおよび調整テンプレートを参照してください。
次の図は、ラック・マウント・キットに付属のハードウェアを示しています:
| コールアウト | 説明 |
|---|---|
|
1 |
システムの背面上部のポストに取り付けられる背面上部の留め具。 |
|
2 |
棚レール(左)。 |
|
3 |
棚レール(右)。 |
|
4 |
12個のM6 x 16ネジ、12個のM6 x 12ネジ、4個のM6 x 4フラット・ヘッド・ネジ、10個の10-32ネジ、12個の10-32肩付きネジなど、M6および10-32ネジの品揃え。 |
|
5 |
丸穴型ラック用に1セット、角穴型ラック用に1セットの合計2セットの4つのアダプタ金具。 |
|
6 |
4個のM6ケージ・ナット。 注意 - ケージ・ナットは使用しません。 再利用できます。 |
システムのラック取付けに必要なスタッフ、工具および機器
Oracle Database Appliance Version 1をインストールするために必要な人材とツールのリスト。
注意:
人的傷害または装置の損傷。 システムの設置には機械式リフトを使用するか、「システムを軽量にするためのコンポーネントの取外し」に記載されている注意に従ってください。
設置を開始する前に、システムのラック取付けに必要なスタッフ、工具および機器を用意します。
| スタッフ、ツールおよび機器 | 注意 |
|---|---|
|
教育を受けた4名のスタッフ |
システムの持上げまたは移動には、4名が必要です。 機械式リフトが利用可能であるか、またはコンポーネントがシステムから取り外されている場合は、2人でシステムを持ち上げたり運搬したりすることは安全です。 |
|
No.2 10インチ・プラス・ドライバ |
磁気チップをお薦めします。 |
|
機械式リフト |
強く推奨されています。 使用できない場合は、システムを軽量にします。 「システムを軽量にするためのコンポーネントの取外し」を参照してください。 |
|
互換性のある4本柱のラック |
「ラックの互換性要件」を参照してください。 |
|
ラック取付けキット |
「ラック取付けキットの内容」を参照してください。 |
|
移動キット |
「移動キットの内容」を参照してください。 |
|
静電気防止リスト・ストラップおよび静電気防止マット |
システム・コンポーネントを取り外す場合のみ必要です。 |
システムを軽量にするためのコンポーネントの取外し
ラッキングする前にOracle Database Applianceバージョン1の重量を減らすために取り外すことができるコンポーネント。
Oracle Database Applianceバージョン1をラックに設置する前に、コンポーネントを取り外してシステムの重量を減らし、2人でシステムをラックに持ち上げることができます。 システム・コンポーネントを取り外すと、重量を約96ポンド(43.5kg)に減らすことができます。
システムを軽量にするには、次のコンポーネントを取り外します。
-
サーバー・ノード
-
電源
注意:
軽量なので、システムからフィラー・パネルを取り外す必要はありません。
システムからコンポーネントを取り外す手順および関連する安全情報は、『Oracle Database Applianceサービス・マニュアル』を参照してください。
ラックへのラック取付けハードウェアの設置
Oracle Database Applianceバージョン1をラックに設置する前に、この手順を使用してラック・マウント・ハードウェアを設置します。
Oracle Database Applianceバージョン1のラック・マウント・ハードウェアは、シェルフ・レール、前後のアダプタ・ブラケット、後部のブレース、およびねじで構成されています。
注意:
人的傷害または装置の損傷。 システムの設置には機械式リフトを使用するか、「システムを軽量にするためのコンポーネントの取外し」に記載されている注意に従ってください。 コンポーネントを取り外すと、重量をコンポーネントが完全に取り付けられている状態の160ポンド(72.6kg)から約96ポンド(43.5kg)に減らすことができます。
注意:
転倒に注意してください。 ラックの上側が重くなって倒れないように、常に下から上にラックに機器を搭載してください。 設置中にラックが倒れないように、ラックの転倒防止バーを伸ばしてください。
注意:
動作周囲温度の上昇。 「環境仕様」で指定されている最高周囲温度を超えない環境に、この機器を設置してください。 システムが密閉されたラック・アセンブリや複数ユニットのラック・アセンブリに設置されている場合、ラック環境の動作周囲温度が室内周囲温度より高くなる場合があります。
注意:
熱による損傷。 通気が制限されないようにラックに設置してください。
注意:
回路の過負荷。 電源回路への機器の接続および回路の過負荷によって発生する可能性のある過電流対策および電源配線の影響を考慮してください。 この問題に対処する場合、機器のネームプレートにある電力定格に注意してください。
注意:
装置の損傷。 ラック取付け機器の接地を確実に維持してください。 分岐回路への直接接続以外の電源の接続(テーブル・タップの使用など)には注意してください。
ラックへのシステムの設置
この手順を使用して、Oracle Database Applianceバージョン1をラックに設置します。
Oracle Database Applianceバージョン1をラックに設置する前に、「ラック・マウント・ハードウェアをラックに設置」のステップを実行してください。
注意:
人的傷害または装置の損傷。 システムの設置には機械式リフトを使用するか、「システムを軽量にするためのコンポーネントの取外し」に記載されている注意に従ってください。 コンポーネントを取り外すと、重量をコンポーネントが完全に取り付けられている状態の160ポンド(72.6kg)から約96ポンド(43.5kg)に減らすことができます。
注意:
転倒に注意してください。 ラックの上側が重くなって倒れないように、常に下から上にラックに機器を搭載してください。 設置中にラックが倒れないように、ラックの転倒防止バーを伸ばしてください。
発送用金具の設置
Oracle Database Applianceバージョン1ラック出荷用ブラケットを取り付けるには、この手順を使用します。
このセクションには、Oracle Database Applianceバージョン1用の出荷用ブラケットの取り付けに関する以下の情報が含まれています。
-
ラックのシステムを別の宛先に発送する場合は、「発送用金具の設置」を参照してください。
-
システムがラックで発送される場合、システムを使用する前に発送用金具を取り外す必要があります。 手順は、『Oracle Database Applianceサービス・マニュアル』を参照してください。
- 「輸送キットの内容」
Oracle Database Applianceバージョン1用の輸送キットに含まれるアイテムのリストを表示します。 - 「配送ブラケットの設置」
ラック内のアプライアンスに出荷用ブラケットを設置するには、この手順を使用します。
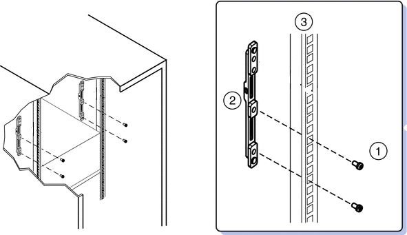
移動キットの内容
Oracle Database Applianceバージョン1用の輸送キットに含まれるアイテムのリストを表示します。
次の図は、Oracle Database Applianceバージョン1輸送キットに含まれているハードウェアを示しています:
| コールアウト | 説明 |
|---|---|
|
1 |
前面の発送用金具 |
|
2 |
ねじおよびケージ・ナット: 背面の発送用金具の場合:
|
|
3 |
背面の発送用金具 |
親トピック: 配送ブラケットの取り付け
発送用金具の設置
ラック内のアプライアンスに出荷用ブラケットを取り付けるには、この手順を使用します。
ラック内のOracle Database Applianceバージョン1を別のロケーションに移動または出荷する場合は、出荷用ブラケットを取り付ける必要があります。
注意:
装置の損傷。 地震時にラックを支えたり固定したりするための運搬用ブラケットは使用できません。
親トピック: 配送ブラケットの取り付け
































