4 ラックへのOracle Database Applianceの設置
Oracle Database Applianceをラックに設置するには、次の手順を実行します。
- タスクの概要
様々なモデルのOracle Database Applianceをラックに設置する際に実行するタスク。 - オプションのコンポーネントの設置
様々なOracle Database Applianceモデルでサポートされているオプションのコンポーネントについて説明します。 - ラック取付け時の安全上の注意
Oracle Database Applianceのラックを設置する際の安全上の注意事項について説明します。 - ESDの注意
Oracle Database Applianceのラック設置時の静電気放電に関する注意事項について説明します。 - ラックの互換性要件
Oracle Database Applianceを設置するための基本的なラック要件について説明します。 - ラックへのシステムの設置
様々なOracle Database Applianceモデルをラックに設置する方法を説明する手順。
タスクの概要
様々なモデルのOracle Database Applianceをラックに設置する際に実行するタスク。
適切な手順に従ってラックにシステムを取り付けてください。
ノート:
これらの手順では、アプライアンスをラックに設置する方法について説明します。配線手順については、Oracle Database Appliance X6、X7およびX8シリーズの該当するデプロイメントおよびユーザー・ガイド、またはOracle Database Appliance X3-2/X4-2/X5-2またはバージョン1のスタート・ガイドを参照してください。
| Oracle Database Applianceバージョン1 | Oracle Database Appliance X3-2/X4-2 | Oracle Database Appliance X5-2、X6-2-HA、X7-2-HAおよびX8-2-HA | Oracle Database Appliance X6-2S/X6-2M/X6-2L、X7-2S/X7-2MおよびX8-2S/X8-2M |
|---|---|---|---|
オプションのコンポーネントの設置
様々なOracle Database Applianceモデルでサポートされているオプションのコンポーネントについて説明します。
標準のシステム・コンポーネントは、出荷時に設置されています。標準構成とは別に購入したオプションのコンポーネントは、個別に出荷され、ほとんどの場合はラックにサーバーを取り付ける前に設置する必要があります。
次のオプションのコンポーネントを別途注文できます。
-
DIMMメモリー・キット:
-
Oracle Database Appliance X8-2Sでは、オプションで384 GBのメモリー拡張を注文できます。メモリー・キットは、32GB DIMM x 6枚のセットになっています。
-
Oracle Database Appliance X8-2Mでは、オプションで768 GBのメモリー拡張を注文できます。メモリー・キットは、32 GB DIMM x 6枚のセットになっています。つまり、2つのキット(プロセッサごとに1つ)が必要です。
-
Oracle Database Appliance X8-2-HAでは、オプションで768 GBのメモリー拡張を注文できます。メモリー・キットは、32 GB DIMM x 6枚のセットになっています。つまり、768 GBには4つのキット(サーバー・ノードごとに2つ)が必要です。2つのサーバー・ノードに同容量のメモリーを設置する必要があります。したがって、アプライアンスの合計メモリーは1536 GBになります。
-
Oracle Database Appliance X7-2Sでは、オプションで384 GBのメモリー拡張を注文できます。メモリー・キットは、32GB DIMM x 6枚のセットになっています。
-
Oracle Database Appliance X7-2Mでは、オプションで768 GBのメモリー拡張を注文できます。メモリー・キットは、32 GB DIMM x 6枚のセットになっています。つまり、2つのキット(プロセッサごとに1つ)が必要です。
-
Oracle Database Appliance X7-2-HAでは、オプションで768 GBのメモリー拡張を注文できます。メモリー・キットは、32 GB DIMM x 6枚のセットになっています。つまり、768 GBには4つのキット(サーバー・ノードごとに2つ)が必要です。2つのサーバー・ノードに同容量のメモリーを設置する必要があります。したがって、アプライアンスの合計メモリーは1536 GBになります。
-
Oracle Database Appliance X6-2Sでは、オプションで384GBのメモリー拡張を注文できます。メモリー・キットは、32GB DIMM x 8枚のセットになっています。
-
Oracle Database Appliance X6-2M/X6-2Lでは、オプションで512 GBまたは768 GBのメモリー拡張を注文できます。メモリー・キットは、32GB DIMM x 8枚のセットになっています。
-
Oracle Database Appliance X5-2およびOracle Database Appliance X6-2-HAでは、オプションで512 GBまたは768 GBのメモリー拡張を注文できます。メモリー・キットは、32GB DIMMM x 8枚のセットになっているため、512GBの場合は2キット(各サーバー・ノードに1個)、768GBの場合は4キット(各サーバー・ノードに2個)必要です。2つのサーバー・ノードに同容量のメモリーを設置する必要があります。したがって、アプライアンスの合計メモリーは、拡張構成に応じて1024 GBまたは1536 GBになります。
メモリーの設置手順は、サービス・マニュアルを参照してください。
-
-
ストレージ・ドライブ:
-
デフォルト構成がNVMeドライブ2個のOracle Database Appliance X8-2Mでは、オプションで前面ドライブ・スロット2-11用にさらに最大10個の2.5インチ6.4 TB NVMe SSDを注文できます。ドライブはペアで設置する必要があります。次の点に注意してください。
-
Oracle Database Applianceソフトウェア・リリース18.7、19.4または19.5を所有している場合、最初にシステムの電源を投入してシステム・ソフトウェアをインストールする前に、すべてのストレージを追加する必要があります。システムをプロビジョニングして実行した後は、ストレージを追加できません。
-
Oracle Database Applianceソフトウェア・リリース18.8または19.6以降のバージョンを所有している場合、システムが実行されている状態でストレージを追加し、アプライアンスCLIソフトウェア・コマンドを使用してストレージ構成を拡張できます。
-
-
Oracle Database Appliance X8-2-HAでは、次のオプションがあります。
-
基本構成に部分的に移入されたストレージ・シェルフが含まれている場合は、次のようにアップグレードできます。
-
高パフォーマンス・シェルフの場合、最大18個の7.68 TB SSD (6パックで可能)を追加できます。
Oracle Database Applianceソフトウェア・リリース18.7、19.4または19.5を所有している場合、最初にシステムの電源を投入してシステム・ソフトウェアをインストールする前に、すべてのストレージを追加する必要があります。システムをプロビジョニングして実行した後は、ストレージを追加できません。
Oracle Database Applianceソフトウェア・リリース18.8または19.6以降のバージョンを所有している場合、システムが実行されている状態でストレージを追加し、アプライアンスCLIソフトウェア・コマンドを使用してストレージ構成を拡張できます。
-
大容量シェルフの場合、18個の14 TB HDD (18パックで可能)を追加できます。
Oracle Database Applianceソフトウェア・リリース18.7、19.4または19.5を所有している場合、最初にシステムの電源を投入してシステム・ソフトウェアをインストールする前に、すべてのストレージを追加する必要があります。システムをプロビジョニングして実行した後は、ストレージを追加できません。
Oracle Database Applianceソフトウェア・リリース18.8または19.6以降のバージョンを所有している場合、アプライアンスの電源をオフにし、ストレージを追加してから、アプライアンス・ソフトウェアを再イメージ化して再デプロイする必要があります。これは、アプライアンスをデフォルトの高パフォーマンス・モードから大容量モードに再構成するために必要です。
-
-
既存のアプライアンスのストレージ・シェルフが完全に移入されていた場合、あるいは7.68 TB SSD 6個の部分的に移入された基本ストレージ・シェルフ構成を7.68 TB SSD 18個または14 TB HDD 18個で拡張した場合は、ストレージ・シェルフを追加できます。
Oracle Database Applianceソフトウェア・リリース18.7、19.4または19.5を所有している場合、最初にシステムの電源を投入してシステム・ソフトウェアをインストールする前に、すべてのストレージを追加する必要があります。システムをプロビジョニングして実行した後は、ストレージを追加できません。
Oracle Database Applianceソフトウェア・リリース18.8または19.6以降のバージョンを所有している場合、システムが実行されている状態でストレージ拡張シェルフを追加し、アプライアンスCLIソフトウェア・コマンドを使用してストレージ構成を拡張できます。
ノート:
既存のストレージ・シェルフが完全に移入され、購入したストレージ・シェルフが既存のストレージ・シェルフと同一に構成(同じスロット内の同じドライブ)されていないかぎり、(完全に移入される)ストレージ拡張シェルフは追加できません。
-
-
デフォルト構成がNVMeドライブ2個のOracle Database Appliance X7-2Mでは、オプションで前面ドライブ・スロット2-7用にさらに3個または6個の2.5インチ6.4 TB NVMe SSDを注文できます。ドライブは3パックで入手できます。
-
Oracle Database Appliance X7-2-HAでは、次のオプションがあります。
-
基本構成に部分的に移入されたストレージ・シェルフが含まれている場合は、次のようにアップグレードできます。
-
高パフォーマンス・シェルフの場合、最大15個の7.68 TB SSD (5パックで可能)を追加できます。3.2 TB SSDは使用できなくなりました。システムで7.68 TB SSDをサポートするには、Oracle Database Applianceソフトウェア・リリース18.7、18.8または19.6を実行する必要があります。さらに、次のような条件もあります。
-
Oracle Database Applianceソフトウェア・リリース18.7を実行している場合、システムの電源をオフにして既存の3.2 TB SSDを取り外し、7.68 TB SSDに交換する必要があります。システム内に両方のタイプのドライブが共存することはできません。新しいストレージを追加したら、クリーンアップを実行し、アプライアンス・ソフトウェアを再デプロイし、新しいストレージを追加した後にバックアップからデータベースをリストアする必要があります。
-
Oracle Database Applianceソフトウェア・リリース18.8または19.6以降のバージョンを実行している場合は、実行しているシステムで7.68 TB SSDを追加できます。7.68 TB SSDは、既存の3.2 TBドライブと一致するよう、システムに追加された後に3.2 TB SSDとしてフォーマットされます。
-
-
大容量シェルフの場合、最大15個の14 TB HDD (15パックで可能)を追加できます。10 TB HDDは使用できなくなりました。システムで14 TB HDDをサポートするには、Oracle Database Applianceソフトウェア・リリース18.7、18.8または19.6以降のバージョンを実行する必要があります。さらに、次のような条件もあります。
-
ストレージ・シェルフの電源をオフにし、すでに基本構成になっている5個の3.2 TB SSDをスロット15-19に移動して、新しいストレージを設置する必要があります。
-
新しいストレージを追加したら、クリーンアップを実行し、アプライアンス・ソフトウェアを再デプロイして、バックアップからデータベースをリストアします。
-
-
-
ストレージ拡張シェルフはこの製品では使用できなくなりました。
-
-
デフォルト構成が3.2 TB NVMeドライブ2個のOracle Database Appliance X6-2S/X6-2Mでは、オプションで前面ドライブ・スロットNVMe 2-3用にさらに2個の2.5インチ6.4 TB NVMe SSDを注文できます(ペアで取り付ける必要があります)。3.2 TB NVMe SSDドライブは使用できなくなりました。さらに、次のような条件もあります。
-
Oracle Database Applianceソフトウェア・リリース18.5、18.7、18.8、または19.6以降のバージョンを実行している必要があります。
-
6.4 TB NVMe SSDは、既存のドライブと一致するように3.2 TBにフォーマットされます。
-
-
デフォルト構成が3.2 TB NVMeドライブ6個のOracle Database Appliance X6-2Lでは、オプションで前面ドライブ・スロットNVMe2、NVMe5およびNVMe8用に2.5インチ6.4 TB NVMe SSDをさらに3つ注文できます(3つセットに取り付ける必要があります)。3.2 TB NVMe SSDは使用できなくなりました。ドライブ・スロットNVMe9、NVMe10およびNVMe11は、この製品ではサポートされていません。さらに、次のような条件もあります。
-
Oracle Database Applianceソフトウェア・リリース18.5、18.7、18.8、または19.6以降のバージョンを実行している必要があります。
-
6.4 TB NVMe SSDは、既存のドライブと一致するように3.2 TBにフォーマットされます。
-
-
Oracle Database Appliance X6-2-HAの場合、7.68 TB SSD (5パックで可能)を使用して、部分的に移入されたストレージ・シェルフのストレージを拡張できます。1.6 TB SSDは使用できなくなりました。さらに、次のような条件もあります。
-
Oracle Database Applianceソフトウェア・リリース18.7、18.8、または19.6以降のバージョンを実行している必要があります。
-
アプライアンスの電源をオフにし、既存の1.6 TBまたは3.2 TB SSDを7.68 TB SSDに交換して、クリーンアップを実行し、アプライアンス・ソフトウェアを再デプロイし、バックアップからデータベースをリストアする必要があります。
-
ストレージ拡張シェルフはこの製品では使用できなくなりました。
-
-
Oracle Database Appliance X3-2/X4-2/X5-2の場合、これらの製品ではストレージ拡張シェルフを使用できなくなりました。
ストレージ・ドライブの設置手順については、サービス・マニュアルを参照してください。
-
-
その他のオプションの構成:
-
Oracle Database Applianceソフトウェア・リリース18.7、19.4または19.5を使用するOracle Database Appliance X8-2シリーズでは、オプションでシステムごと(X8-2-HAの場合はノードごと)に追加で最大2個のパブリック・ネットワークPCIeカードを注文できます。サポートされるネットワーク・カードには、Oracle Dual Port 25 Gb Ethernet AdapterまたはOracle Quad Port 10GBase-T Adapterが含まれます。追加のパブリック・ネットワーク・カードは、すでに取り付けられているパブリック・ネットワーク・カード(タイプおよびモデル)と一致している必要があります。これらのカードは、X8-2-HAアプライアンスのプライベート・クラスタ・ノード間接続には使用できません。
ノート:
最初にシステムの電源を投入してシステム・ソフトウェアをインストールする前に、サポートされているすべてのオプションのネットワークPCIeカードを追加する必要があります。システムがプロビジョニングされて実行された後、PCIeカードを追加するには、クリーンアップを実行し、アプライアンス・ソフトウェアを再デプロイし、バックアップからデータベースをリストアする必要があります。
オプション・カードの取り付け後の配線およびソフトウェア構成の手順については、デプロイメントおよびユーザー・ガイドを参照してください。
-
Oracle Database Applianceソフトウェア・リリース18.8または19.6以降のバージョンを使用するOracle Database Appliance X8-2シリーズでは、オプションでシステムごと(X8-2-HAの場合はノードごと)に追加で最大2個のパブリック・ネットワークPCIeカードを注文できます。サポートされるネットワーク・カードには、Oracle Dual Port 25 Gb Ethernet AdapterおよびOracle Quad Port 10GBase-T Adapterが含まれます。追加のパブリック・ネットワーク・カードは、すでに取り付けられているパブリック・ネットワーク・カード(タイプおよびモデル)と一致している必要がありません。
ノート:
すでにシステムにあるパブリック・ネットワーク・カードを交換する場合は、デプロイメントおよびユーザー・ガイドの手順に従って、ソフトウェア経由で既存のネットワーク・カードとインタフェースを削除する必要があります。ファクトリで取り付けられたPCIeスロット7のパブリック・ネットワーク・カードまたはPCIeスロット1のクラスタ・インターコネクト・カードは交換できません。
オプション・カードの取り付け後の配線およびソフトウェア構成の手順については、デプロイメントおよびユーザー・ガイドを参照してください。
-
Oracle Database Appliance X5-2では、オプションのSun Dual 10GbE SFP+ PCIe 2.0ロープロファイル・アダプタを2個注文し、各サーバー・ノードのPCIeカード・スロット1にある2個の標準InfiniBandアダプタと交換すると、データ・センターまたはパブリック・ネットワークへのイーサネット・ファイバ接続をサポートできます(アプライアンスのプライベート・ノード間接続には使用できません)。
カードの交換後の配線およびソフトウェア構成の手順については、デプロイメントおよびユーザー・ガイドを参照してください。
PCIeカードを取り付ける手順については、サービス・マニュアルを参照してください。
-
ラック取付け時の安全上の注意
Oracle Database Applianceのラックを設置する際の安全上の注意事項について説明します。
この項では、サーバーをラックに設置するときの安全上の注意について説明します。
注意:
人的傷害または装置の損傷。ラックの転倒を防止してください。1) 設置前に、機器ラックの転倒防止バーまたは脚を伸ばしてください。2)ラックの上側が重くなって倒れないように、ラックには常に下から上に機器を搭載してください。3) 不均等または危険な機械的荷重が生じないようにラックに機器を搭載します。4) スライド・レールに取り付けられた機器を棚または作業空間として使用しないでください。
注意:
温度上昇による機器の損傷。1) 機器が密閉されたラック・アセンブリや複数ユニットのラック・アセンブリに設置されている場合、ラック内の動作時周囲温度がサーバーに規定された最大周囲温度を超えないようにしてください。サーバーの環境要件の詳細は、「環境仕様」を参照してください。2) 空気の流れを妨げないように、ラックに機器を設置してください。
注意:
電源回路の損傷およびデータの損失。システムに電源を供給するのに使用されるAC回路の定格電力は、システムに必要な最大値である必要があります。入力電力の要件の詳細は、「電気仕様」を参照してください。
注意:
装置の損傷。接地を確実に維持してください。分岐回路への直接接続以外の電源の接続(テーブル・タップの使用など)には特に注意してください。
注意:
装置の損傷。発送用パレットにラック・キャビネットを固定するために使用される発送用金具は、地震時にラック・キャビネットを固定するためにデータ・センターで使用するものではありません。
ESDの注意
Oracle Database Applianceのラック設置時の静電気放電に関する注意事項について説明します。
注意:
装置の損傷。静電破壊を回避するには、コンポーネントを設置または使用する際に次の事項に注意してください。
-
静電気防止放電マット、静電気防止バッグまたは使い捨ての静電気防止マットなど、静電気を防止する面にコンポーネントを設置してください。
-
システム・コンポーネントを取り扱う際は、シャーシの金属表面に接続された静電気防止用ストラップを装着してください。
ラックの互換性要件
Oracle Database Applianceを設置するための基本的なラック要件について説明します。
ラック取付けハードウェアは、次の表の要件を満たす特別なラックにのみ使用できます。
Oracle Database Appliance X8-2シリーズの場合:
| 機能 | Oracle Database Appliance X8-2S/X8-2M | Oracle Database Appliance X8-2-HA |
|---|---|---|
|
ラック構造 |
4本柱のラック(前方と後方に取付け)。サポートされるラック・タイプ: 角穴(9.5 mm)および丸穴(M6または1/4-20ねじのみ)。2本柱のラックには互換性がありません。 |
4本柱のラック(前方と後方に取付け)。サポートされるラック・タイプ: 角穴(9.5 mm)および丸穴(M6または1/4-20ねじのみ)。2本柱のラックには互換性がありません。 |
|
使用可能な領域 |
2ラック・ユニット(RU)の使用可能なスペースが必要です。 |
8RU (オプションのストレージ拡張シェルフなし)。 12RU (オプションのストレージ拡張シェルフあり)。 |
|
ラックの水平開口部とユニットの垂直間隔 |
ANSI/EIA 310-D-1992またはIEC 60927規格に準拠します。 |
ANSI/EIA 310-D-1992またはIEC 60927規格に準拠します。 |
|
前方取付け面と後方取付け面との距離 |
最小値610mmおよび最大値915mm(24インチから36インチ)。 |
最小値610mmおよび最大値915mm(24インチから36インチ)。 |
|
前方取付け面の前の隙間 |
前面のキャビネット・ドアまでの距離が25.4mm(1インチ)以上。 |
前面のキャビネット・ドアまでの距離が25.4mm(1インチ)以上。 |
|
前方取付け面の裏の隙間 |
背面のキャビネット・ドアまでの距離は、ケーブル管理アームを使用する場合は900mm (35.43インチ)以上、ケーブル管理アームを使用しない場合は800mm (31.5インチ)。 |
背面のキャビネット・ドアまでの距離は、ケーブル管理アームを使用する場合は900mm (35.43インチ)以上、ケーブル管理アームを使用しない場合は800mm (31.5インチ)。 |
|
前方取付け面と後方取付け面との隙間 |
構造支柱とケーブル・トラフとの距離が456mm(18インチ)以上。 |
構造支柱とケーブル・トラフとの距離が456mm(18インチ)以上。 |
|
サービス・アクセスのための最小の隙間 |
前方の隙間: 123.2cm (48.5インチ) 後方の隙間: 91cm (36インチ) |
前方の隙間: 123.2cm (48.5インチ) 後方の隙間: 91cm (36インチ) |
|
サーバー・ノードの寸法 |
||
|
ストレージ・シェルフの距離 |
該当なし |
Oracle Database Appliance X7-2シリーズの場合:
| 機能 | Oracle Database Appliance X7-2S/X7-2M | Oracle Database Appliance X7-2-HA |
|---|---|---|
|
ラック構造 |
4本柱のラック(前方と後方に取付け)。2本柱のラックには互換性がありません。 |
4本柱のラック(前方と後方に取付け)。2本柱のラックには互換性がありません。 |
|
使用可能な領域 |
1ラック・ユニット(RU)の使用可能なスペースが必要です。 |
6RU (オプションのストレージ拡張シェルフなし)。 10RU (オプションのストレージ拡張シェルフあり)。 |
|
ラックの水平開口部とユニットの垂直間隔 |
ANSI/EIA 310-D-1992またはIEC 60927規格に準拠します。 |
ANSI/EIA 310-D-1992またはIEC 60927規格に準拠します。 |
|
前方取付け面と後方取付け面との距離 |
最小値610mmおよび最大値915mm(24インチから36インチ)。 |
最小値610mmおよび最大値915mm(24インチから36インチ)。 |
|
前方取付け面の前の隙間 |
前面のキャビネット・ドアまでの距離が25.4mm(1インチ)以上。 |
前面のキャビネット・ドアまでの距離が25.4mm(1インチ)以上。 |
|
前方取付け面の裏の隙間 |
背面のキャビネット・ドアまでの距離は、ケーブル管理アームを使用する場合は900mm (35.43インチ)以上、ケーブル管理アームを使用しない場合は800mm (31.5インチ)。 |
背面のキャビネット・ドアまでの距離は、ケーブル管理アームを使用する場合は900mm (35.43インチ)以上、ケーブル管理アームを使用しない場合は800mm (31.5インチ)。 |
|
前方取付け面と後方取付け面との隙間 |
構造支柱とケーブル・トラフとの距離が456mm(18インチ)以上。 |
構造支柱とケーブル・トラフとの距離が456mm(18インチ)以上。 |
|
サービス・アクセスのための最小の隙間 |
前方の隙間: 123.2cm (48.5インチ) 後方の隙間: 91cm (36インチ) |
前方の隙間: 123.2cm (48.5インチ) 後方の隙間: 91cm (36インチ) |
|
サーバー・ノードの寸法 |
||
|
ストレージ・シェルフの距離 |
該当なし |
Oracle Database Appliance X6-2シリーズの場合:
| 機能 | Oracle Database Appliance X6-2S/X6-2M | Oracle Database Appliance X6-2L | Oracle Database Appliance X6-2-HA |
|---|---|---|---|
|
ラック構造 |
4本柱のラック(前方と後方に取付け)。2本柱のラックには互換性がありません。 |
4本柱のラック(前方と後方に取付け)。2本柱のラックには互換性がありません。 |
4本柱のラック(前方と後方に取付け)。2本柱のラックには互換性がありません。 |
|
使用可能な領域 |
1ラック・ユニット(RU)の使用可能なスペースが必要です。 |
2RUの使用可能なスペースが必要です。 |
6RU (オプションのストレージ拡張シェルフなし)。 10RU (オプションのストレージ拡張シェルフあり)。 |
|
ラックの水平開口部とユニットの垂直間隔 |
ANSI/EIA 310-D-1992またはIEC 60927規格に準拠します。 |
ANSI/EIA 310-D-1992またはIEC 60927規格に準拠します。 |
ANSI/EIA 310-D-1992またはIEC 60927規格に準拠します。 |
|
前方取付け面と後方取付け面との距離 |
最小値610mmおよび最大値915mm(24インチから36インチ)。 |
最小値610mmおよび最大値915mm(24インチから36インチ)。 |
最小値610mmおよび最大値915mm(24インチから36インチ)。 |
|
前方取付け面の前の隙間 |
前面のキャビネット・ドアまでの距離が25.4mm(1インチ)以上。 |
前面のキャビネット・ドアまでの距離が25.4mm(1インチ)以上。 |
前面のキャビネット・ドアまでの距離が25.4mm(1インチ)以上。 |
|
前方取付け面の裏の隙間 |
背面のキャビネット・ドアまでの距離は、ケーブル管理アームを使用する場合は900mm (35.43インチ)以上、ケーブル管理アームを使用しない場合は800mm (31.5インチ)。 |
背面のキャビネット・ドアまでの距離は、ケーブル管理アームを使用する場合は900mm (35.43インチ)以上、ケーブル管理アームを使用しない場合は800mm (31.5インチ)。 |
背面のキャビネット・ドアまでの距離は、ケーブル管理アームを使用する場合は900mm (35.43インチ)以上、ケーブル管理アームを使用しない場合は800mm (31.5インチ)。 |
|
前方取付け面と後方取付け面との隙間 |
構造支柱とケーブル・トラフとの距離が456mm(18インチ)以上。 |
構造支柱とケーブル・トラフとの距離が456mm(18インチ)以上。 |
構造支柱とケーブル・トラフとの距離が456mm(18インチ)以上。 |
|
サービス・アクセスのための最小の隙間 |
前方の隙間: 123.2cm (48.5インチ) 後方の隙間: 91cm (36インチ) |
前方の隙間: 123.2cm (48.5インチ) 後方の隙間: 91cm (36インチ) |
前方の隙間: 123.2cm (48.5インチ) 後方の隙間: 91cm (36インチ) |
|
サーバー・ノードの寸法 |
|||
|
ストレージ・シェルフの距離 |
該当なし |
該当なし |
Oracle Database Applianceバージョン1およびOracle Database Appliance X3-2/X4-2/X5-2の場合:
| 機能 | Oracle Database Applianceバージョン1 | Oracle Database Appliance X3-2/X4-2 | Oracle Database Appliance X5-2 |
|---|---|---|---|
|
ラック構造 |
4本柱のラック(前方と後方に取付け)。2本柱のラックには互換性がありません。 |
4本柱のラック(前方と後方に取付け)。2本柱のラックには互換性がありません。 |
4本柱のラック(前方と後方に取付け)。2本柱のラックには互換性がありません。 |
|
使用可能な領域 |
4ラック・ユニット(RU)の使用可能なスペースが必要です。 |
4RU (オプションのストレージ拡張シェルフなし)。 6RU (オプションのストレージ拡張シェルフあり)。 |
6RU (オプションのストレージ拡張シェルフなし)。 10RU (オプションのストレージ拡張シェルフあり)。 |
|
ラックの水平開口部とユニットの垂直間隔 |
ANSI/EIA 310-D-1992またはIEC 60927規格に準拠します。 |
ANSI/EIA 310-D-1992またはIEC 60927規格に準拠します。 |
ANSI/EIA 310-D-1992またはIEC 60927規格に準拠します。 |
|
前方取付け面と後方取付け面との距離 |
最小値660.4mmおよび最大値876.3mm(26インチから34.5インチ)。 |
最小値610mmおよび最大値915mm(24インチから36インチ)。 |
最小値610mmおよび最大値915mm(24インチから36インチ)。 |
|
前方取付け面の前の隙間 |
前面のキャビネット・ドアまでの距離が25.4mm(1インチ)以上。 |
前面のキャビネット・ドアまでの距離が25.4mm(1インチ)以上。 |
前面のキャビネット・ドアまでの距離が25.4mm(1インチ)以上。 |
|
前方取付け面の裏の隙間 |
背面のキャビネット・ドアまでの距離が700mm(27.5インチ)以上。 |
背面のキャビネット・ドアまでの距離は、ケーブル管理アームを使用する場合は900mm (35.43インチ)以上、ケーブル管理アームを使用しない場合は800mm (31.5インチ)。 |
背面のキャビネット・ドアまでの距離は、ケーブル管理アームを使用する場合は900mm (35.43インチ)以上、ケーブル管理アームを使用しない場合は800mm (31.5インチ)。 |
|
前方取付け面と後方取付け面との隙間 |
構造支柱とケーブル・トラフとの距離が456mm(18インチ)以上。 |
構造支柱とケーブル・トラフとの距離が456mm(18インチ)以上。 |
構造支柱とケーブル・トラフとの距離が456mm(18インチ)以上。 |
|
サービス・アクセスのための最小の隙間 |
前方の隙間: 123.2cm (48.5インチ) 後方の隙間: 91cm (36インチ) |
前方の隙間: 123.2cm (48.5インチ) 後方の隙間: 91cm (36インチ) |
前方の隙間: 123.2cm (48.5インチ) 後方の隙間: 91cm (36インチ) |
|
サーバー・ノードの寸法 |
|||
|
ストレージ・シェルフの距離 |
該当なし |
ラックへのシステムの設置
様々なOracle Database Applianceモデルをラックに設置する方法を説明する手順。
注意:
人的傷害または装置の損傷。ラックの上側が重くなって倒れないように、常に下から上にラックに機器を搭載してください。機器の設置中にラックが倒れないように、ラックの転倒防止バーを伸ばしてください。
- ラックへのOracle Database Appliance X6-2S/X6-2M/X6-2L、X7-2S/X7-2MおよびX8-2S/X8-2Mの設置
Oracle Database Appliance X6-2S/X6-2M/X6-2L、X7-2S/X7-2MおよびX8-2S/X8-2Mをラックに設置する方法を説明する手順。 - ラックへのOracle Database Appliance X3-2/X4-2/X5-2およびX6-2-HA/X7-2-HA/X8-2-HAの設置
Oracle Database Appliance X3-2/X4-2/X5-2およびX6-2-HA/X7-2-HA/X8-2-HAをラックに設置する方法を説明する手順。 - ラックへのOracle Database Applianceバージョン1の設置
Oracle Database Applianceバージョン1をラックに設置する方法を説明する手順。
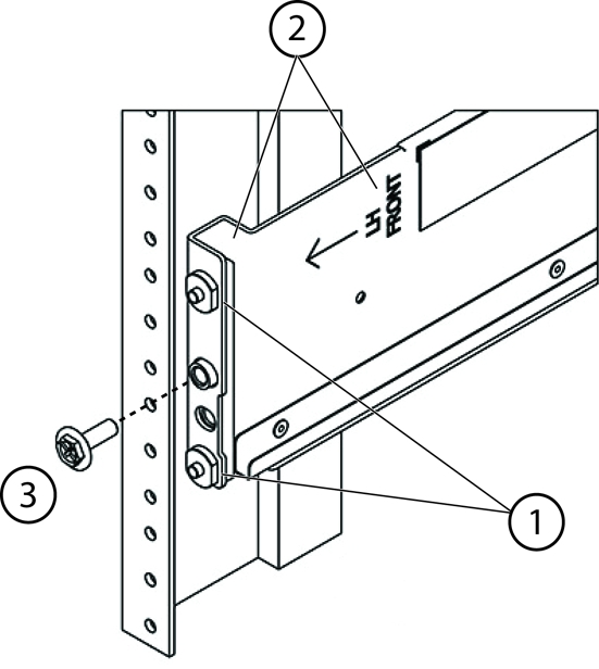
ラックへのOracle Database Appliance X6-2S/X6-2M/X6-2L、X7-2S/X7-2MおよびX8-2S/X8-2Mの設置
Oracle Database Appliance X6-2S/X6-2M/X6-2L、X7-2S/X7-2MおよびX8-2S/X8-2Mをラックに設置する方法を説明する手順。
この項では、Oracle Database Appliance X6-2S/X6-2M/X6-2L、X7-2S/X7-2MおよびX8-2S/X8-2Mをラックに設置する方法について説明します。その他のOracle Database Applianceモデルがある場合は、ラックへのシステムの設置にリストされている該当するリンクを選択してください。
- 発送箱の内容
Oracle Database Appliance X6-2S/X6-2M/X6-2L、X7-2S/X7-2MおよびX8-2S/X8-2Mの発送箱の内容一覧。 - 必要な工具および機器
Oracle Database Appliance X6-2S/X6-2M/X6-2L、X7-2S/X7-2MおよびX8-2S/X8-2Mの設置に必要な工具の一覧。 - 設置用のラックの固定
Oracle Database Applianceを設置する前にラックを固定するには、この手順を使用します。 - サーバーのラックへの設置
Oracle Database Appliance X6-2S/X6-2M/X6-2L、X7-2S/X7-2MおよびX8-2S/X8-2Mをラックに設置するために実行するタスク。
親トピック: ラックへのシステムの設置
発送箱の内容
Oracle Database Appliance X6-2S/X6-2M/X6-2L、X7-2S/X7-2MおよびX8-2S/X8-2Mの出荷コンテナの内容一覧。
物理的損傷の形跡がないかどうか、Oracle Database Appliance X6-2S/X6-2M/X6-2L、X7-2S/X7-2MまたはX8-2S/X8-2Mシステムの発送用段ボール箱を点検してください。発送用段ボール箱に損傷がある場合は、運送業者の担当者に、段ボール箱を開梱する際の立ち合いを依頼してください。担当者による点検のために、すべての内容物および梱包材を保管しておいてください。
サーバーの発送キットには、次の品目が含まれています。
-
電源コード(カントリ・キットとは別に梱包)
-
ラック・レール、ハードウェア、テンプレートおよび設置説明書を含むレール・キット
-
様々なハードウェア、ケーブルおよびコネクタ
-
セットアップ・ブックレット
-
法律および安全性に関するドキュメント
必要なツールおよび機器
Oracle Database Appliance X6-2S/X6-2M/X6-2L、X7-2S/X7-2MおよびX8-2S/X8-2Mの設置に必要な工具の一覧。
Oracle Database Appliance X6-2S/X6-2M/X6-2L、X7-2S/X7-2MおよびX8-2S/X8-2Mの設置を開始する前に、次の工具および機器を用意します。
-
長さ4インチ以上のNo. 2プラス・ドライバ
-
ねじ山のあるラックを使用する場合、T20 Torxドライバ
-
機械式リフトを強くお薦めします
設置用のラックの固定
Oracle Database Applianceを設置する前にラックを固定するには、この手順を使用します。
注意:
人的傷害または装置の損傷。人的傷害のリスクを軽減するには、ラック・キャビネットを固定し、サーバーの設置前に転倒防止デバイスを伸ばします。
詳細な手順については、ラック・キャビネットのドキュメントを参照してください。
- 設置場所で開梱する場合は、ラック・キャビネットを移動する前にラック・キャビネットの水平調整脚が上がっていることを確認してください。
- ラック・キャビネットの前面ドアと背面ドアが設置の妨げになっている場合は取り外します。
- 設置中にラック・キャビネットが倒れないように、ラック・キャビネットの前面の底にある、転倒防止脚または転倒防止バーを完全に伸ばします。
- 横転を防ぐために水平調整脚がラック・キャビネットの下にある場合は、ラック・キャビネットがデータ・センター内の位置に来たら、調整脚を床まで完全に伸ばします。
- 再梱包を含め、別の場所にラック・キャビネットを移動する場合は、ラック・キャビネットを移動する前に水平調整脚が上がっていることを確認します。
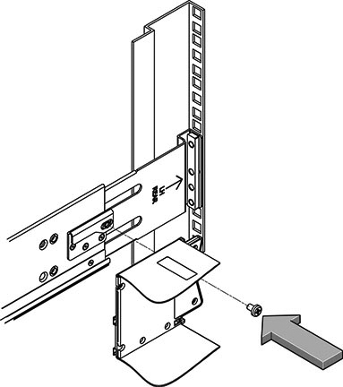
ラックへのサーバーの設置
Oracle Database Appliance X6-2S/X6-2M/X6-2L、X7-2S/X7-2MおよびX8-2S/X8-2Mをラックに設置するために実行するタスク。
ラックへのOracle Database Appliance X8-2S/X8-2Mサーバーの設置:
ノート:
次の表内のリンクをクリックすると、Oracle Database Applianceライブラリ外部のOracle Server X8-2Lドキュメント・ライブラリにある手順に移動します。Oracle Database Applianceライブラリに戻るには、ブラウザの「戻る」ボタンを使用してください。
| Oracle Database Appliance X8-2S | Oracle Database Appliance X8-2M |
|---|---|
ラックへのOracle Database Appliance X7-2S/X7-2Mサーバーの設置:
ノート:
次の表内のリンクをクリックすると、Oracle Database Applianceライブラリ外部のOracle Server X7-2ドキュメント・ライブラリにある手順に移動します。Oracle Database Applianceライブラリに戻るには、ブラウザの「戻る」ボタンを使用してください。
| Oracle Database Appliance X7-2S | Oracle Database Appliance X7-2M |
|---|---|
ラックへのOracle Database Appliance X6-2S/X6-2M/X6-2Lサーバーの設置:
ノート:
次の表内のリンクをクリックすると、Oracle Database Applianceライブラリ外部のOracle Server X6-2またはOracle Server X6-2Lドキュメント・ライブラリにある手順に移動します。Oracle Database Applianceライブラリに戻るには、ブラウザの「戻る」ボタンを使用してください。
| Oracle Database Appliance X6-2S/X6-2M | Oracle Database Appliance X6-2L |
|---|---|
ラックへのOracle Database Appliance X3-2/X4-2/X5-2およびX6-2-HA/X7-2-HA/X8-2-HAの設置
Oracle Database Appliance X3-2/X4-2/X5-2およびX6-2-HA/X7-2-HA/X8-2-HAをラックに設置する方法を説明する手順。
この項では、Oracle Database Appliance X3-2/X4-2/X5-2およびX6-2-HA/X7-2-HA/X8-2-HAをラックに設置する方法について説明します。その他のOracle Database Applianceモデルがある場合は、ラックへのシステムの設置にリストされている該当するリンクを選択してください。
注意:
システム障害。Oracle Database Applianceは一緒に設置する必要のある適合セットのコンポーネントで出荷されます。別のシステムのコンポーネントと混合するとシステム障害が発生する可能性があります。
- 出荷コンテナの内容
Oracle Database Appliance X3-2/X4-2/X5-およびX6-2-HA/X7-2-HA/X8-2-HAの出荷コンテナの内容一覧。 - 設置の流れ
Oracle Database Appliance X3-2/X4-2/X5-2およびX6-2-HA/X7-2-HA/X8-2-HAをラックに設置する際の正しい設置順序を把握します。 - コンポーネントの互換性の確認
ファクトリから一緒にバンドルされたアプライアンス・コンポーネントが接続されていることを確認します。 - 必要な工具および機器
Oracle Database Appliance X3-2/X4-2/X5-2およびX6-2-HA/X7-2-HA/X8-2-HAの設置に必要な工具の一覧。 - 設置用のラックの固定
アプライアンスを設置する前にラックを固定するには、この手順を使用します。 - ラベルの貼付
アプライアンス・コンポーネントを識別するためにラベルを貼付けます。 - ラックへのストレージ・シェルフの設置
Oracle Database Applianceストレージ・シェルフをラックに設置するには、この手順を使用します。 - ラックへのサーバー・ノードの設置
Oracle Database Appliance X3-2/X4-2/X5-2およびX6-2-HA/X7-2-HA/X8-2-HAサーバー・ノードをラックに設置する手順。
親トピック: ラックへのシステムの設置
発送箱の内容
Oracle Database Appliance X3-2/X4-2/X5-およびX6-2-HA/X7-2-HA/X8-2-HAの出荷コンテナの内容一覧。
Oracle Database Appliance X3-2/X4-2/X5-2およびOracle Database Appliance X6-2-HAは、1つのパレット上にシステム全体が載って出荷されます。これには、すべてのサーバー・ノード、ストレージ・シェルフ、取付けハードウェア、ケーブルおよびラベルが含まれます。
Oracle Database Appliance X7-2-HA/X8-2-HAの場合、サーバー・ノードは1つのパレットに載って出荷され、ストレージ・シェルフとストレージ拡張シェルフは別々に出荷されます。各コンポーネントには、取付けハードウェア、ケーブルおよびラベルが含まれます。
注意:
システム障害。出荷内のすべてのアイテムは1つのシステムとして一緒に使用されるように設計されています。別の出荷のコンポーネントと混合しないでください。システム障害が発生することがあります。詳細は、「コンポーネントの互換性の確認」を参照してください。
アプライアンスに必要な項目は次のとおりです。
-
サーバー・ノード0およびサーバー・ノード1 (一緒に出荷されます)
-
サーバー・ノード0および1の取付けハードウェア、ケーブルおよびラベル
-
1個のストレージ・シェルフ(別途出荷される場合があります)
-
ストレージ・シェルフのラック取付けハードウェア
ストレージ拡張シェルフを注文した場合は、別に出荷されます。
設置の流れ
Oracle Database Appliance X3-2/X4-2/X5-2およびX6-2-HA/X7-2-HA/X8-2-HAをラックに設置する際の正しい設置順序を把握します。
機器のラックへの設置は、必ず下から開始して上へ向かって作業してください。Oracle Database Appliance X3-2/X4-2/X5-2およびOracle Database Appliance X6-2-HA/X7-2-HA/X8-2-HAの場合は、次の順序で装置を設置します。
-
ストレージ拡張シェルフ(装備されている場合)。
-
ストレージ・シェルフ
-
サーバー・ノード0
-
サーバー・ノード1
コンポーネントの互換性の確認
ファクトリから一緒にバンドルされたアプライアンス・コンポーネントが接続されていることを確認します。
Oracle Database Appliance X3-2/X4-2/X5-2およびOracle Database Appliance X6-2-HAの場合、ファクトリでバンドルされたすべてのアプライアンス・コンポーネントには、システムに適合した最上位レベル識別子(TLI)番号があります。サーバー・ノードとストレージ・シェルフの両方のTLIは同じである必要があります。オプションのストレージ拡張シェルフのTLIは同じである必要はありません。
Oracle Database Appliance X7-2-HA/X8-2-HAの場合、サーバー・ノードはファクトリでバンドルされ、システムに適合した最上位レベル識別子(TLI)番号になります。両方のサーバー・ノードのTLIは同じである必要があります。ストレージ・シェルフとストレージ拡張シェルフのTLIは別々になります。
ノート:
最初の設置後に、システムにストレージ拡張シェルフを追加する(つまり、ストレージ拡張シェルフがアプライアンスの初期構成注文の一部ではなかった)場合、そのTLIはシステムのその他の部分とは異なります。このシナリオの場合、追加コンポーネントがメイン・アプライアンスのTLIとは異なるTLIを持つのは適切です。
必要なツールおよび機器
Oracle Database Appliance X3-2/X4-2/X5-2およびX6-2-HA/X7-2-HA/X8-2-HAの設置に必要な工具の一覧。
Oracle Database Appliance X3-2/X4-2/X5-2およびX6-2-HA/X7-2-HA/X8-2-HAの設置を開始する前に、次の工具および機器を用意します。
-
長さ4インチ以上のNo. 2プラス・ドライバ
-
ねじ山のあるラックを使用する場合、T20 Torxドライバ
-
機械式リフトを強くお薦めします
注意:
人的傷害または装置の損傷。ストレージ・シェルフの重さは約51ポンド(23kg)あります。機械式リフトが使用できない場合、3名でラックへ格納してください。
設置用のラックの固定
アプライアンスを設置する前にラックを固定するには、この手順を使用します。
注意:
人的傷害または装置の損傷。人的傷害のリスクを軽減するには、ラック・キャビネットを固定し、サーバーの設置前に転倒防止デバイスを伸ばします。
詳細な手順については、ラック・キャビネットのドキュメントを参照してください。
- 設置場所で開梱する場合は、ラック・キャビネットを移動する前にラック・キャビネットの水平調整脚が上がっていることを確認してください。
- ラック・キャビネットの前面ドアと背面ドアが設置の妨げになっている場合は取り外します。
- 設置中にラック・キャビネットが倒れないように、ラック・キャビネットの前面の底にある、転倒防止脚または転倒防止バーを完全に伸ばします。
- 横転を防ぐために水平調整脚がラック・キャビネットの下にある場合は、ラック・キャビネットがデータ・センター内の位置に来たら、調整脚を床まで完全に伸ばします。
- 再梱包を含め、別の場所にラック・キャビネットを移動する場合は、ラック・キャビネットを移動する前に水平調整脚が上がっていることを確認します。
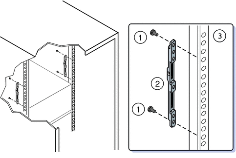
ラベルの貼付
アプライアンス・コンポーネントを識別するためにラベルを貼付けます。
Oracle Database Appliance X3-2/X4-2/X5-2およびOracle Database Appliance X6-2-HA/X7-2-HA/X8-2-HAは、各サーバー・ノードおよびストレージ・シェルフの前面に貼付する4枚のラベルがあるラベル・キットとともに発送されます。
- サーバー・ノードおよびストレージ・シェルフへのラベルの貼付
アプライアンスをラックに設置する前にストレージ・シェルフのラベルを貼付けるには、このタスクを実行します。
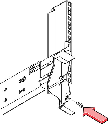
ラックへのストレージ・シェルフの設置
Oracle Database Applianceストレージ・シェルフをラックに設置するには、この手順を使用します。
この項は、ラックにストレージ・シェルフを設置する手順を含みます。
Oracle Database Appliance X3-2/X4-2/X5-2およびOracle Database Appliance X6-2-HA/X7-2-HA/X8-2-HAには1つのストレージ・シェルフが必要で、ストレージ拡張シェルフと呼ばれる、2つ目のストレージ・シェルフが含まれることもあります。どちらも同じ方法で設置します。ストレージ拡張シェルフがアプライアンスに付属していた場合は、最初に設置します。それ以外の場合は、後でストレージ拡張シェルフを追加できます。
- ラックへのOracle Database Appliance X6-2-HA/X7-2-HA/X8-2-HA DE3-24Cストレージ・シェルフの設置
アプライアンスDE3-24Cストレージ・シェルフをラックに設置するには、この手順を使用します。 - ラックへのOracle Database Appliance X5-2 DE2-24Cストレージ・シェルフの設置
アプライアンスDE2-24Cストレージ・シェルフをラックに設置するには、この手順を使用します。 - ラックへのOracle Database Appliance X3-2/X4-2 DE2-24Pストレージ・シェルフの設置
アプライアンスDE2-24Pストレージ・シェルフをラックに設置するには、この手順を使用します。 - 既存のシステムへのストレージ拡張シェルフの追加
すでに実行されているアプライアンス・システムにストレージ拡張シェルフを追加するには、この手順を使用します。
ラックへのOracle Database Appliance X6-2-HA/X7-2-HA/X8-2-HA DE3-24Cストレージ・シェルフの設置
アプライアンスDE3-24Cストレージ・シェルフをラックに設置するには、この手順を使用します。
Oracle Storage Drive Enclosure DE3-24Cには、キャビネット内に4本の標準取付けユニット(4RU)のための垂直方向の空間が必要です。
-
設置場所が、「Oracle Database Applianceの仕様」の要件を満たしていることを確認してください。
-
ラックが、「ラックの互換性要件」の要件を満たしていることを確認してください。
ノート:
シェルフに含まれているレール・キットは、EIA準拠の9.5 mmの角穴型ラックまたは直径7.0 mmの丸穴型ラックでのみ使用できます。
-
「ラック取付け時の安全上の注意」のすべての注意を守ってください。
親トピック: ラックへのストレージ・シェルフの設置
ラックへのOracle Database Appliance X5-2 DE2-24Cストレージ・シェルフの設置
アプライアンスDE2-24Cストレージ・シェルフをラックに設置するには、この手順を使用します。
Oracle Storage Drive Enclosure DE2-24Cには、キャビネット内に4本の標準取付けユニット(4RU) のための垂直方向の空間が必要です。ここに示す手順は、ねじ山のあるラックとねじ山のないラックの両方に適用されます。
-
設置場所が、「Oracle Database Applianceの仕様」の要件を満たしていることを確認してください。
-
ラックが、「ラックの互換性要件」の要件を満たしていることを確認してください。
-
「ラック取付け時の安全上の注意」のすべての注意を守ってください。
親トピック: ラックへのストレージ・シェルフの設置
ラックへのOracle Database Appliance X3-2/X4-2 DE2-24Pストレージ・シェルフの設置
アプライアンスDE2-24Pストレージ・シェルフをラックに設置するには、この手順を使用します。
Oracle Storage Drive Enclosure DE2-24Pには、キャビネット内に2本の標準取付けユニット(2RU)のための垂直方向の空間が必要です。ストレージ・シェルフのラック取付けキットには、2つのラック・レール、長いM6ねじおよび短いM6ねじ、10mmレンチが含まれます。ここに示す手順は、ねじ山のあるラックとねじ山のないラックの両方に適用されます。
-
設置場所が、「Oracle Database Applianceの仕様」の要件を満たしていることを確認してください。
-
ラックが、「ラックの互換性要件」の要件を満たしていることを確認してください。
-
「ラック取付け時の安全上の注意」のすべての注意を守ってください。
親トピック: ラックへのストレージ・シェルフの設置
既存のシステムへのストレージ拡張シェルフの追加
すでに実行されているアプライアンス・システムにストレージ拡張シェルフを追加するには、この手順を使用します。
この作業は、すでに実行中のOracle Database Appliance X3-2/X4-2/X5-2またはOracle Database Appliance X6-2-HA/X7-2-HA (完全に移入されたストレージ・シェルフが必要)にストレージ拡張シェルフを追加することを想定しています。
ノート:
ソフトウェア・リリース18.7または19.4を使用するOracle Database Appliance X8-2-HAを所有している場合、最初にシステムの電源を投入してシステム・ソフトウェアをインストールする前に、すべてのストレージを追加する必要があります。システムをプロビジョニングして実行した後は、ストレージを追加できません。
特に明記しないかぎり、この作業を完了するのに、システムを停止する必要はありません。
次の例外条件に注意してください。
-
ストレージ拡張シェルフは通常、Oracle Database Applianceの下部の、ストレージ・シェルフの下に設置されます。しかし、ラックは通常、下から上へプロビジョニングされる必要があるので、空きがない場合があります。そのような場合、システム全体を再度ラックに取り付けなくても済むように、サーバー・ノードの上、または別のラックに配置することもできます。
-
「コンポーネントの互換性の確認」で説明しているように、ストレージ拡張シェルフの最上位レベル識別子(TLI)はシステムのその他の部分と一致しません。しかし、最初のアプライアンスの購入とセットアップの後にストレージ拡張シェルフを追加することは、サポートされている構成です。
親トピック: ラックへのストレージ・シェルフの設置
ラックへのサーバー・ノードの設置
Oracle Database Appliance X3-2/X4-2/X5-2およびX6-2-HA/X7-2-HA/X8-2-HAサーバー・ノードをラックに設置する手順。
ラックへのOracle Database Appliance X6-2-HA/X7-2-HA/X8-2-HAサーバー・ノードの設置:
ノート:
次の表のリンクをクリックすると、Oracle Database Applianceライブラリの外部にあるOracle Server X6-2、Oracle Server X7-2およびOracle Server X8-2Lドキュメント・ライブラリの手順に移動します。Oracle Database Applianceライブラリに戻るには、ブラウザの「戻る」ボタンを使用してください。
| Oracle Database Appliance X6-2-HA | Oracle Database Appliance X7-2-HA | Oracle Database Appliance X8-2-HA |
|---|---|---|
ラックへのOracle Database Appliance X3-2/X4-2/X5-2サーバー・ノードの設置:
ノート:
次の表のリンクをクリックすると、Oracle Database Applianceライブラリの外部にあるSun Server X3-2、Sun Server X4-2およびOracle Server X5-2の手順に移動します。Oracle Database Applianceライブラリに戻るには、ブラウザの「戻る」ボタンを使用してください。
| Oracle Database Appliance X3-2 | Oracle Database Appliance X4-2 | Oracle Database Appliance X5-2 |
|---|---|---|
ラックへのOracle Database Applianceバージョン1の設置
Oracle Database Applianceバージョン1をラックに設置する方法を説明する手順。
この項では、Oracle Database Applianceバージョン1のラックへの設置について説明します。その他のOracle Database Applianceモデルがある場合は、ラックへのシステムの設置にリストされている該当するリンクを選択してください。
ノート:
システム・シャーシは、ラック取付けキット・ハードウェアでラックに固定されています。ラック取付けキットは、スライド・レールを含みません。システム・シャーシがラックに設置されると、ラックをスライドしません。シャーシがラックに設置されますが、シャーシからサーバー・ノード(システム・コントローラとも呼ぶ)を取り外すことができます。
- ラック取付けキットの内容
Oracle Database Applianceバージョン1のラック取付けキットの内容一覧。 - システムのラック取付けに必要なスタッフ、工具および機器
Oracle Database Applianceバージョン1の設置に必要なスタッフおよび工具の一覧。 - システムを軽量にするためのコンポーネントの取外し
ラックに設置する前にOracle Database Applianceバージョン1を軽量化するために取り外すことができるコンポーネント。 - ラックへのラック取付けハードウェアの設置
Oracle Database Applianceバージョン1をラックに設置する前にラック取付けハードウェアを設置するには、この手順を使用します。 - ラックへのシステムの設置
Oracle Database Applianceバージョン1をラックに設置するには、この手順を使用します。 - 発送用金具の設置
Oracle Database Applianceバージョン1ラックの発送用金具を設置するには、この手順を使用します。
親トピック: ラックへのシステムの設置
ラック取付けキットの内容
Oracle Database Applianceバージョン1のラック取付けキットの内容一覧。
ラック取付けキットには、サポートされているラックにOracle Database Applianceバージョン1を設置するのに必要なハードウェアが含まれています。ラック取付けガイドおよび調整テンプレートは、発送キットでシステムとともに発送されます。ラックにアプライアンスを設置する場合は、このテンプレートを使用してください。
ノート:
ラック取付けキットは、スライド・レールを含みません。システムが設置されると、ラックをスライドしません。4本柱のラックにシステムを設置する方法の詳細は、ラック取付けガイドおよび調整テンプレートを参照してください。
次の図は、ラック取付けキットに同梱されるハードウェアを示しています。
| コールアウト | 説明 |
|---|---|
|
1 |
システムの背面上部のポストに取り付けられる背面上部の留め具。 |
|
2 |
棚レール(左)。 |
|
3 |
棚レール(右)。 |
|
4 |
M6および10-32ねじ一式。12個のM6 x 16ねじ、12個のM6 x 12ねじ、4個のM6 x 4平頭ねじ、10個の10-32ねじ、12個の10-32肩付きねじを含む。 |
|
5 |
丸穴型ラック用に1セット、角穴型ラック用に1セットの合計2セットの4つのアダプタ金具。 |
|
6 |
4個のM6ケージ・ナット。ノート - ケージ・ナットは使用しません。再利用できます。 |
システムのラック取付けに必要なスタッフ、工具および機器
Oracle Database Applianceバージョン1の設置に必要なスタッフおよび工具の一覧。
注意:
人的傷害または装置の損傷。システムの設置には機械式リフトを使用するか、「システムを軽量にするためのコンポーネントの取外し」に記載されている注意に従ってください。
設置を開始する前に、システムのラック取付けに必要なスタッフ、工具および機器を用意します。
| スタッフ、ツールおよび機器 | ノート |
|---|---|
|
教育を受けた4名のスタッフ |
システムの持上げまたは移動には、4名が必要です。 機械式リフトを使用できる場合またはシステムからコンポーネントを取り外している場合、2名でシステムの持上げまたは移動を行うと安全です。 |
|
No.2 10インチ・プラス・ドライバ |
磁気チップをお薦めします。 |
|
機械式リフト |
強く推奨されています。使用できない場合は、システムを軽量にします。「システムを軽量にするためのコンポーネントの取外し」を参照してください。 |
|
互換性のある4本柱のラック |
「ラックの互換性要件」を参照してください。 |
|
ラック取付けキット |
「ラック取付けキットの内容」を参照してください。 |
|
移動キット |
「移動キットの内容」を参照してください。 |
|
静電気防止リスト・ストラップおよび静電気防止マット |
システム・コンポーネントを取り外す場合のみ必要です。 |
システムを軽量にするためのコンポーネントの取外し
ラックに設置する前にOracle Database Applianceバージョン1を軽量化するために取り外すことができるコンポーネント。
ラックにOracle Database Applianceバージョン1を設置する前に、2人でラックにシステムを持ち上げられるようにシステムを軽量にするため、コンポーネントを取り外すことができます。システム・コンポーネントを取り外すと、重量を約96ポンド(43.5kg)に減らすことができます。
システムを軽量にするには、次のコンポーネントを取り外します。
-
サーバー・ノード
-
電源
ノート:
軽量なので、システムからフィラー・パネルを取り外す必要はありません。
システムからコンポーネントを取り外す手順および関連する安全情報は、『Oracle Database Applianceサービス・マニュアル』を参照してください。
ラックへのラック取付けハードウェアの設置
Oracle Database Applianceバージョン1をラックに設置する前にラック取付けハードウェアを設置するには、この手順を使用します。
Oracle Database Applianceバージョン1ラック取付けハードウェアは、棚レール、前面および背面のアダプタ金具、背面の留め具およびねじで構成されます。
注意:
人的傷害または装置の損傷。システムの設置には機械式リフトを使用するか、「システムを軽量にするためのコンポーネントの取外し」に記載されている注意に従ってください。コンポーネントを取り外すと、重量をコンポーネントが完全に取り付けられている状態の160ポンド(72.6kg)から約96ポンド(43.5kg)に減らすことができます。
注意:
転倒に注意してください。ラックの上側が重くなって倒れないように、常に下から上にラックに機器を搭載してください。設置中にラックが倒れないように、ラックの転倒防止バーを伸ばしてください。
注意:
動作周囲温度の上昇。「環境仕様」で指定されている最高周囲温度を超えない環境に、この機器を設置してください。システムが密閉されたラック・アセンブリや複数ユニットのラック・アセンブリに設置されている場合、ラック環境の動作周囲温度が室内周囲温度より高くなる場合があります。
注意:
熱による損傷。空気の流れを妨げないようにラックに機器を設置してください。
注意:
回路の過負荷。電源回路への機器の接続および回路の過負荷によって発生する可能性のある過電流対策および電源配線の影響を考慮してください。この問題に対処する場合、機器のネームプレートにある電力定格に注意してください。
注意:
装置の損傷。ラック取付け機器の接地を確実に維持してください。分岐回路への直接接続以外の電源の接続(テーブル・タップの使用など)には注意してください。
ラックへのシステムの設置
Oracle Database Applianceバージョン1をラックに設置するには、この手順を使用します。
ラックへのOracle Database Applianceバージョン1の設置を開始する前に、ラックへのラック取付けハードウェアの設置のステップを実行します。
注意:
人的傷害または装置の損傷。システムの設置には機械式リフトを使用するか、「システムを軽量にするためのコンポーネントの取外し」に記載されている注意に従ってください。コンポーネントを取り外すと、重量をコンポーネントが完全に取り付けられている状態の160ポンド(72.6kg)から約96ポンド(43.5kg)に減らすことができます。
注意:
転倒に注意してください。ラックの上側が重くなって倒れないように、常に下から上にラックに機器を搭載してください。設置中にラックが倒れないように、ラックの転倒防止バーを伸ばしてください。
発送用金具の設置
Oracle Database Applianceバージョン1ラックの発送用金具を設置するには、この手順を使用します。
この項には、Oracle Database Applianceバージョン1の発送用金具の設置についての次の情報が含まれます。
-
ラックのシステムを別の宛先に発送する場合は、「発送用金具の設置」を参照してください。
-
システムがラックで発送される場合、システムを使用する前に発送用金具を取り外す必要があります。手順は、『Oracle Database Applianceサービス・マニュアル』を参照してください。
移動キットの内容
Oracle Database Applianceバージョン1の移動キットに含まれる項目の一覧を表示します。
次の図は、Oracle Database Applianceバージョン1移動キットに含まれるハードウェアを示しています。
| コールアウト | 説明 |
|---|---|
|
1 |
前面の発送用金具 |
|
2 |
ねじおよびケージ・ナット: 背面の発送用金具の場合:
|
|
3 |
背面の発送用金具 |
親トピック: 発送用金具の設置
発送用金具の設置
ラック内のアプライアンスに発送用金具を設置するには、この手順を使用します。
ラック内のOracle Database Applianceバージョン1を別の場所に移動または発送する場合は、発送用金具を設置する必要があります。
注意:
装置の損傷。輸送用ブラケットは、地震時のラックの補強や固定に使用しないでください。
親トピック: 発送用金具の設置
































