この項は、次のトピックで構成されています。
注意 - システム・シャーシは、ラック取付けキット・ハードウェアでラックに固定されています。ラック取付けキットは、スライド・レールを含みません。システム・シャーシがラックに設置されると、ラックをスライドしません。シャーシがラックに設置されますが、シャーシからサーバー・ノード(システム・コントローラとも呼ぶ)を取り外すことができます。
2人でラックにシステムを持ち上げられるようにシステムを軽量にするため、コンポーネントを取り外すことができます。システム・コンポーネントを取り外すと、重量を約96ポンド(43.5kg)に減らすことができます。機械式リフトを使用する場合、この手順を実行する必要はありません。
システムを軽量にするには、次のコンポーネントを取り外します。
サーバー・ノード
電源
注意 - 軽量なので、システムからフィラー・パネルを取り外す必要はありません。
システムからコンポーネントを取り外す手順および関連する安全情報は、製品ドキュメントの一部である『Oracle Database Applianceサービス・マニュアル』を参照してください。
ラック取付けハードウェアは、棚レール、前面および背面のアダプタ金具、背面の留め具およびねじで構成されます。
![]() | 注意 - スタッフが重傷を負うことがないように、または機器に損傷を与えないようにするために、システムの設置には機械式リフトを使用するか、「システムを軽量にするためのコンポーネントの取外し」に記載されている注意に従ってください。コンポーネントを取り外すと、重量をコンポーネントが完全に取り付けられている状態の160ポンド(72.6kg)から約96ポンド(43.5kg)に減らすことができます。 |
![]() | 注意 - 転倒に注意してください。 ラックの上側が重くなって倒れないように、常に下から上にラックに機器を搭載してください。設置中にラックが倒れないように、ラックの転倒防止バーを伸ばしてください。 |
![]() | 注意 - 動作周囲温度の上昇: 「環境仕様」で指定されている最高周囲温度を超えない環境に、この機器を設置してください。システムを、閉じているラック・アセンブリや複数ユニットのラック・アセンブリに設置すると、ラック環境の動作周囲温度が室内周囲温度よりも高くなる場合があります。 |
![]() | 注意 - 通気の減少: 機器をラックに設置する場合、機器の安全な動作に必要な通気が妨げられないようにする必要があります。 |
![]() | 注意 - 回路の過負荷: 電源回路への機器の接続および回路の過負荷によって発生する可能性のある過電流対策および電源配線の影響を考慮する必要があります。この問題に対処する場合、機器のネームプレートにある電力定格に適宜配慮する必要があります。 |
![]() | 注意 - 確実な接地: ラックに取り付けた機器の接地を確実に維持する必要があります。分岐回路への直接接続以外の電源接続(テーブル・タップの使用など)には特に注意する必要があります。 |
また、そのテンプレートを使用して、アダプタ金具とラック・ポストの位置を合せます。
ラック取付けガイドおよび調整テンプレートの下端をラックの最も低い位置に合せます。すべての矢印をラック・ポストの穴に合せます。ラックに4RUのスペースがあることを確認します。
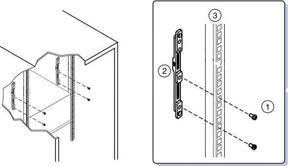
システムは、角穴型ラックに1セット[1]、丸穴型ラックに1セット[2]の合計2セットのアダプタ金具とともに発送されます。
アダプタ金具には、角穴型ラック用または丸穴型ラック用のいずれかを示すラベルがあります。また、アダプタ金具の矢印は、向きを示します。すべての金具は"Top"の矢印が上を向くように設置してください。
次の図は、角穴型ラック[1]および丸穴型ラック[2]に取り付けられる前面のアダプタ金具を示しています。


注意 - ねじを締める前に、金具[1]をできるだけ上にスライドします。金具の穴は楕円形なので、ねじが緩んでいる場合に上下に動かすことができます。
![]() | 注意 - 棚が内側および間隔がラックの前面の正しい方向に棚レールを取り付けてください。そうしないと、システムが落下するおそれがあります。 |
これらのねじは、棚レールが誤ってアダプタ金具から外れることを防ぎます。

関連項目
開始する前に
開始する前に、「ラックへのラック取付けハードウェアの設置手順」の手順を実行します。
機械式リフトの使用をお薦めします。
![]() | 注意 - スタッフが重傷を負うことがないように、または機器に損傷を与えないようにするために、システムの設置には機械式リフトを使用するか、「システムを軽量にするためのコンポーネントの取外し」に記載されている注意に従ってください。コンポーネントを取り外すと、重量をコンポーネントが完全に取り付けられている状態の160ポンド(72.6kg)から約96ポンド(43.5kg)に減らすことができます。 |
![]() | 注意 - 転倒に注意してください。 ラックの上側が重くなって倒れないように、常に下から上にラックに機器を搭載してください。設置中にラックが倒れないように、ラックの転倒防止バーを伸ばしてください。 |
![]() | 注意 - 落下に注意してください。ラック内に12インチ(305mm)を超えて挿入され、棚レールで確実に支えられるまで、システムを離さないでください。ラック内に12インチ(305mm)を超えて挿入されるまで、棚レールはシステムを確実に支えられません。 |

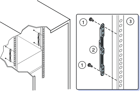
ねじ穴のある丸穴型ラックでは、4個のM6 x 12mmねじまたは4個の10-32 x 10mmねじを使用します。
角穴型ラックでは、4個のM6 x 16mmねじを使用します。
注意 - 角穴型ラックでは、ねじをラック、アダプタ金具に通します。丸穴型ラックでは、ねじをラック・レールに通します。

手順は、製品ドキュメントの一部であるサービス・マニュアルを参照してください。