JavaScript is required to for searching.
탐색 링크 건너뛰기
인쇄 보기 종료
Oracle® ZFS Storage Appliance 설치 설명서, 릴리스 2013.1.3.0

ZS4-4, ZS3-x, 7x20 컨트롤러 및 DE2-24, Sun Disk Shelf용

Oracle Technology Network
라이브러리
PDF
인쇄 보기
피드백
search filter icon
search icon

문서 정보

소개

설치

설치

개요

예방 조치

필수 조건

컨트롤러, 캐비닛 및 Disk Shelf 설치 작업

ZS4-4 컨트롤러

안전 정보

설치 준비

필요한 도구 및 장비

컨트롤러에 슬라이드 레일 설치

랙에 슬라이드 레일 설치

랙 슬라이드 레일에 컨트롤러 설치

케이블 관리 조립품 설치

ZS3-4 컨트롤러

ZS3-4 컨트롤러 설치 작업

필수 조건

필요한 도구 및 장비

작업

컨트롤러에 슬라이드 레일 설치

랙에 슬라이드 레일 설치

랙 슬라이드 레일에 컨트롤러 설치

케이블 관리 조립품 설치

ZS3-2 컨트롤러

ZS3-2 컨트롤러 설치 작업

필수 조건

필요한 도구 및 장비

마운팅 브래킷 및 슬라이드 레일 조립품 설치

작업

랙에 컨트롤러 설치

케이블 관리 암 설치

슬라이드 레일 및 CMA 작동 확인

CMA 분리

7x20 컨트롤러

7x20 컨트롤러 설치 작업

필수 조건

필요한 도구 및 장비

작업

컨트롤러 섀시에 마운팅 브래킷 설치

랙 슬라이드 레일에 컨트롤러 섀시 설치

케이블 관리 조립품 설치

컨트롤러 구성 요약

최대 컨트롤러 구성

DE2-24C

예방 조치

필수 조건

필요한 도구 및 장비

DE2-24C 작업

랙 슬라이드 레일에 Disk Shelf 설치

Disk Shelf 전원 켜기

Disk Shelf 전원 끄기

참조 항목

DE2-24P

예방 조치

필수 조건

필요한 도구 및 장비

DE2-24P 작업

랙 슬라이드 레일에 Disk Shelf 설치

Disk Shelf 전원 켜기

Disk Shelf 전원 끄기

참조 항목

Sun Disk Shelf

예방 조치

필수 조건

필요한 도구 및 장비

Sun Disk Shelf 작업

랙 슬라이드 레일에 Sun Disk Shelf 설치

참조 항목

케이블 연결

시스템 전원 켜기 및 구성

랙 슬라이드 레일에 Disk Shelf 설치

  1. Oracle Storage Drive Enclosure DE2-24C에는 캐비닛에 수직 공간의 표준 마운팅 장치 4개(4RU)가 필요합니다. 캐비닛 아래쪽에서 시작하여 적절한 랙 장치(RU) 높이를 찾습니다. 컨트롤러 아래에 Disk Shelf를 설치하여 랙이 기울어지지 않도록 합니다.
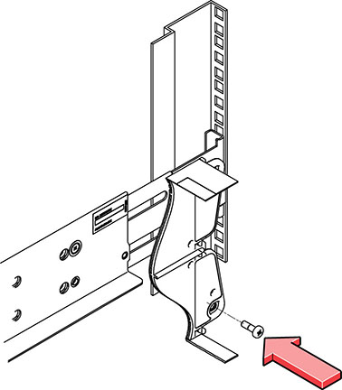
  2. 나사산이 없는 범용 19인치 또는 Sun Rack II 캐비닛을 사용하는 경우 제공된 케이지 너트 하나를 4RU 공간의 각 전면 레일에서 위쪽으로 세서 8번째인 랙 홀에 끼웁니다.
    image:케이지 너트를 오른쪽 랙 포스트에 삽입하는 방법을 자세히 보여주는 그림
  3. 각 레일 끝에 나사를 준비합니다.

    - 사각형 구멍 나사산이 없는 캐비닛: 준비 사항이 없습니다.

    - 둥근 구멍 나사산이 없는 캐비닛: 각 레일 끝에서 나사를 빼내어 버립니다. 둥근 구멍 캐비닛용 나사를 찾아 옆에 놓습니다.

    - 나사산이 있는 캐비닛: 나사를 빼서 반대 방향(레일 플랜지 안쪽에서)에 끼워 위치 핀 역할을 하도록 합니다. 또한 각 앞쪽 레일 끝에서 클립 너트를 빼냅니다.

  4. 레일 플랜지를 캐비닛 플랜지 안쪽에 배치하고 레일 레이블이 캐비닛 안쪽을 향하게 하여 레일 앞쪽을 캐비닛 안쪽에 배치합니다.

    - 사각형 구멍 나사산이 없는 캐비닛: 나사 헤드를 랙 구멍 안에 끼웁니다.

    - 둥근 구멍 나사산이 없는 캐비닛: 랙을 관통하여 각 레일의 앞쪽에 나사 2개를 설치합니다. 랙의 케이지 너트에 설치하거나 레일에 클립 너트를 설치하지 마십시오.

    - 나사산이 있는 캐비닛: 위치 핀을 랙 구멍 안에 끼웁니다.

  5. 레일 길이를 조정하여 맞춥니다.
    image:랙에 맞도록 확장 중인 레일을 보여주는 그림
  6. 랙을 관통하여 각 레일의 뒤쪽에 나사 1개를 설치합니다.
  7. 레일의 잠금 나사 2개를 조입니다.
    image:레일에서 잠금 나사 2개의 위치를 보여주는 그림
  8. 들어올리는 기계를 사용하거나 두 명의 인원이 Disk Shelf 양쪽을 잡아서 조심스럽게 들어올리고 왼쪽과 오른쪽 레일의 아래 선반에 Shelf를 놓습니다. 전원 공급 장치 핸들을 사용하여 들어 올리지 마십시오.
    image:랙에 Shelf를 설치하는 올바른 방법을 보여주는 그림
  9. Shelf를 캐비닛쪽으로 조심스럽게 밉니다. Shelf가 레일 안쪽에 완전히 장착되었는지 확인합니다. 다시 장착하기 위해 Shelf를 빼는 경우 Shelf를 계속 받칩니다.
  10. 앞쪽 측면 캡을 빼고, 나사 2개를 앞쪽 각 측면에 설치하고, 캡을 다시 끼웁니다.
  11. 레일마다 긴 패치락 나사 하나를 설치하여 Shelf 뒤쪽을 랙 뒤쪽에 고정합니다.
    image:레일에 설치할 긴 패치락 나사를 보여주는 그림
  12. 다음 절에서 설명되어 있는 대로 Disk Shelf에 전원을 연결하여 공급합니다.