Guide d'installation des systèmes Oracle® ZFS Storage Appliance

Quitter la vue de l'impression

Mis à jour : Février 2016
 
 

Installation d'une étagère de disque DE2-24C

Procédez comme suit pour installer un boîtier Oracle Storage Drive Enclosure DE2-24C.

Le boîtier Oracle Storage Drive Enclosure DE2-24C requiert quatre unités de montage standard (4RU) d'espace vertical dans l'armoire. En commençant par le bas de l'armoire, repérez la hauteur d'unité de rack (RU) appropriée. Installez les étagères de disques sous les contrôleurs pour éviter un basculement du rack.


Caution

Mise en garde  -  Cette procédure nécessite au moins deux personnes ou un appareil de levage mécanique en raison du poids du châssis. Si vous tentez d'effectuer seul cette opération, vous risquez de vous blesser ou d'endommager l'équipement. Chargez toujours l'équipement le plus lourd (étagères de disques) au bas du rack.


Avant de commencer

Etendez tous les dispositifs anti-basculement et de stabilisation depuis le back du rack.

  1. Si vous utilisez une armoire universelle non taraudée de 483 mm ou une armoire Sun Rack II, insérez un écrou cage dans le huitième trou du rack en partant du bas, et ce dans chaque rail avant de l'espace 4RU.
    image:Illustration présentant un détail de l'insertion de l'écrou cage dans le montant de droite du rack
  2. Préparez les vis à chaque extrémité du rail :
    • Armoire non taraudée à trous carrés - Aucune préparation.

    • Armoire non taraudée à trous circulaires - Retirez les vis de chaque extrémité de rail et mettez-les de côté. Localisez les vis pour les armoires à trous circulaires et placez-les sur le côté.

    • Armoire taraudée - Retirez les vis et replacez-les dans le sens opposé (à partir de l'intérieur de la bride du rail) afin qu'elles servent de broches de repère. Retirez également l'écrou collier de chaque extrémité du rail avant et abandonnez.

  3. Positionnez l'avant des rails dans l'armoire, en plaçant la bride des rails à l'intérieur de la bride de l'armoire, l'étiquette des rails étant orientée vers l'intérieur de l'armoire.
    • Armoires non taraudées à trous carrés - Les têtes de vis rentrent dans les trous du rack.

    • Armoire non taraudée à trous circulaires - Insérez deux vis dans le rack et dans l'extrémité avant de chaque rail. Ne les insérez pas dans l'écrou cage du rack ou dans l'écrou collier du rail.

    • Armoire taraudée - Les broches de repère rentrent à l'intérieur des trous du rack.

  4. Ajustez la longueur des rails.
    image:Illustration présentant les rails en extension afin de s'ajuster au rack
  5. Insérez une vis dans le rack et dans l'arrière de chaque rail.
  6. Serrez les deux vis de verrouillage dans les rails.
    image:Illustration présentant l'emplacement des deux vis de verrouillage dans le rail
  7. A l'aide d'un élévateur mécanique ou de deux personnes, une de chaque côté de l'étagère de disques, soulevez avec précaution l'étagère et posez-la sur le rebord inférieur des rails gauche et droit. Ne la soulevez pas à l'aide des poignées de l'alimentation.
    image:Illustration présentant la manière adéquate d'installer l'étagère dans le rack
  8. Faites glisser l'étagère avec précaution dans l'armoire. Assurez-vous que l'étagère est complètement en place dans les rails. Si vous retirez l'étagère pour la remettre en place, soutenez-la en permanence.
  9. Retirez les capuchons latéraux avant, installez deux vis de chaque côté et replacez les capuchons.
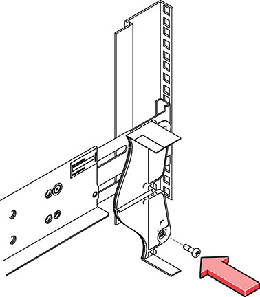
  10. Installez une longue vis de blocage par rail pour fixer l'arrière de l'étagère à l'arrière du rack.
    image:Illustration présentant une longue vis de blocage dans le rail