Go to main content

Oracle® ZFS Storage Appliance 安装指南,发行版 OS8.8.x

退出打印视图

更新时间: 2021 年 8 月
 
 

安装 DE2-24P 磁盘机框

使用以下过程安装 Oracle Storage Drive Enclosure DE2-24P,它需要在机柜中占用垂直高度为两个标准安装机架单元 (2RU) 或六个机架孔的空间。

开始之前

  • 查看安装的先决条件磁盘机框概述

  • 为了防止机柜倾斜,始终都要从机柜底部开始装载最重的设备(磁盘机框)。

  • 为了尽可能做好磁盘机框到控制器的布线准备,现在及将来都要将控制器装配在机柜的中部。

  • 提供的螺丝不能安装到带有 M6 型螺孔的机柜中。


注意  -  由于机箱较重,此过程至少需要两个人或一个机械式升降装置。如果尝试一个人独自执行此步骤,则可能导致设备损坏或人身伤害。请勿使用电源手柄向上提起机箱。


  1. 从机架底部拉出所有防倾斜装置和稳定装置。
  2. 从机柜底部开始定位相应的机架单元 (rack unit, RU) 高度,即六个机架孔。如果机架是无螺纹通用 19 英寸、Sun Rack II 或 Oracle Rack Cabinet 1242 机柜:
    1. 将前滑轨位置挂钩完全放入机架前面适当的孔中。

      滑轨外缘必须位于机柜外缘内侧,而滑轨标签面向机柜内侧。

    2. 将一颗螺丝穿过机架前面,插入到滑轨中的顶部孔中并拧紧。
    3. 将滑轨调整到合适长度,并将背面滑轨位置挂钩放置到相应的背面机架孔中。
    4. 将一颗螺丝穿过机架后面,插入到滑轨背面并拧紧。

    image:图中显示了延长以适合机架的机架滑轨以及正面和背面螺丝位置
  3. 如果机架是有螺纹通用 19 英寸机柜:
    1. 使用 T20 Torx 起子将滑轨位置挂钩从滑轨前面和背面卸下。
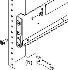
    2. 使用提供的扳手将两个定位销插入滑轨的每端,在卸下位置挂钩的相同位置。
    3. 将滑轨正面置于机柜内侧,使滑轨外缘位于机柜外缘内侧,而滑轨标签面向机柜内侧。

      定位销应该完全定位到机架孔中。

    4. 将一颗螺丝穿过机架前面,插入到滑轨中的顶部孔中并拧紧。
    5. 将滑轨调整到合适长度,并将背面定位销定位到相应的背面机架孔中。
    6. 将一颗螺丝穿过机架后面,插入到滑轨背面并拧紧。

    image:图中显示了插入到滑轨正面的定位销的细节
  4. 使用机械式升降装置或由两个人(磁盘机框的每一侧各一人)小心地向上提起机框,并将该机框安放在左右滑轨的底部边缘。请勿使用带有风扇模块的电源手柄向上提起机框。
    image:图中显示了将磁盘机框安装到机架的正确方式
  5. 小心地将机框滑入滑轨,直至该机框完全固定在机柜中。观察员应使用手电筒,确保该机框完全固定在滑轨中。如果要卸下机框,以便于重新安放,请始终托住它。
  6. 在每个滑轨上安装一颗长的贴片锁螺丝,从而将机框背面固定到机架背面上。如果螺丝无法插入,机框可能未完全固定在滑轨中。
    image:图中显示了插入到滑轨的一个贴片锁螺丝
  7. 卸下前侧保护套,分别将一颗螺丝安装到前侧每一端,然后重新装上保护套。