| Oracle Receivablesユーザー・ガイド リリース12 E06003-01 | 目次 | 前へ | 次へ |
この章のトピックは、次のとおりです。
「取引」ウィンドウを使用して、請求書、デビット・メモ、クレジット・メモおよび取引約定を入力します。このウィンドウで取引の問合せおよび更新を実行でき、「取引要約」ウィンドウで取引およびチャージバックの検討を実行できます。更新可能なフィールドの一覧については、「取引の保守」を参照してください。
このウィンドウから、取引の未回収残高をすばやく確認することもできます。その後、ドリルダウンして「残高」ウィンドウで詳細を表示します。関連項目: 取引残高の表示
請求書を入力するとき、Oracle Receivablesでは、「自動会計」基準を使ってデフォルトGL勘定科目を決定します。関連項目: 「自動会計」の使用方法
1回に1つの取引を入力するか、またはバッチと呼ばれるグループで入力できます。関連項目: 簡易入力および検索のための取引のバッチ処理
ユーザーが取引を削除できるかどうかは、システム管理者が決定します。関連項目: 『Oracle Receivablesインプリメンテーション・ガイド』のOracle Receivablesの機能セキュリティに関する項
注意: 「ツール」メニューから「会計の表示」を選択すると、既存取引の詳細な会計明細を決算済の会計仕訳(すなわち、借方 = 貸方)のフォームで表示できます。また、詳細勘定科目をT字型勘定として表示するように選択することもできます。
関連項目: 会計明細の表示
注意: 複数報告通貨(MRC)機能を使用している場合は、「通貨詳細の表示」ウィンドウを使用して、主報告通貨およびMRC報告通貨の両方で取引金額を表示できます。
関連項目: 取引のMRC詳細の表示
Oracle Bill Presentment Architecture(BPA)を使用する場合は、BPAアイコンを使用して完了した取引をオンラインでプレビューできます。関連項目: 『Oracle Bill Presentment Architecture User Guide』のオンライン請求書の表示に関する項
取引タイプでは、取引で未回収売掛金を更新してGLに転記できるかどうかや、取引の作成符号、このタイプの取引が超過消込不可を使用するか超過消込を許可するかが決定されます。また、取引タイプは各取引に対するデフォルト取引区分、支払条件および印刷オプションを提供します。
GL勘定科目を決定するとき、「自動会計」を設定して取引タイプを使用できます。「自動会計」が取引タイプに依存した状態でこの値を変更すると、Oracle Receivablesでポップアップ・ウィンドウが表示され、すべてのGL勘定科目を再計算するかどうかが確認されます。「Yes」を選択すると、Oracle Receivablesでは「自動会計」を再実行し、勘定科目に適切な変更を加えます(ただし、取引がチャージバックでない場合)。関連項目: 『Oracle Receivablesインプリメンテーション・ガイド』の取引タイプに関する項
前提条件
『Oracle Receivablesインプリメンテーション・ガイド』の取引タイプの定義に関する項
『Oracle Receivablesインプリメンテーション・ガイド』の自動会計の定義に関する項
『Oracle Receivablesインプリメンテーション・ガイド』の取引バッチ・ソースの定義に関する項
『Oracle Receivablesインプリメンテーション・ガイド』の会計基準の定義(オプション)に関する項
『Oracle Receivablesインプリメンテーション・ガイド』の文書採番の設定(オプション)に関する項
この取引の取引バッチ・ソースを入力します。デフォルトは「AR: 取引バッチ・ソース」プロファイル・オプションの値です。値がない場合は、ソースを入力する必要があります。
取引バッチ・ソースによって、自動または手動の請求書採番および取引タイプが指定されます。また、取引バッチ・ソースにより「参照」フィールドのデフォルトに請求書取引フレックスフィールドのどの属性を使用するかも決定されますが、このデフォルトは上書きできます。関連項目: 『Oracle Receivablesインプリメンテーション・ガイド』の取引バッチ・ソースに関する項
この取引の日付を入力します。デフォルト日付はバッチ日付か、バッチ情報がない場合は現在の日付です。
バッチ・ソースによって「請求番号自動採番」が指定されない場合は、取引番号を入力します。それ以外の場合は、保存時に番号が割り当てられます。取引をバッチに追加する場合は、取引番号がそのバッチ内で一意である必要があります。
重要: 取引を一度保存すると、取引番号は更新できません。
この取引のGL記帳日を入力します。デフォルト日付はバッチ日付か、バッチ情報がない場合は現在の日付です。
この取引の区分を選択します。
この取引の通貨を入力します。デフォルト通貨は、バッチ・レベルで入力された通貨または機能通貨ですが、Oracle Receivables内に定義されている通貨は変更できます。ユーザーが使用する通貨が機能通貨と異なり、日次換算レートを定義していない場合は、換算レートに関する情報を入力します。関連項目: 外貨取引
注意: オプションで、「ヘッダーおよび明細レベル端数処理」(『Oracle Receivablesインプリメンテーション・ガイド』)を有効にして、外貨取引を作成するときに発生する端数処理差額を計算できます。
取引タイプを選択します。
手動順序採番を使用している場合は、一意の文書番号を入力します。関連項目: 『Oracle Receivablesインプリメンテーション・ガイド』の文書連番の実装に関する項
この取引の法的エンティティを選択します。
出荷先顧客を入力します(オプション)。
この取引に対する顧客の請求先名称と事業所を入力します。
請求先顧客に主請求先事業所がある場合は、その事業所と所在地がデフォルトになります。
その顧客に主請求先事業所がない場合は、値リストから有効な請求先事業所を選択する必要があります。
デフォルトの販売先顧客を使用するか、新規顧客を入力します。
関連項目: 「取引」ウィンドウ・フィールド・リファレンス
デフォルトの支払顧客を使用するか、新規顧客を入力します。
この取引が自動入金により支払われることを示すには、これらのフィールドを自動入金方法とともに使用します。
関連項目: 「取引」ウィンドウ・フィールド・リファレンス
取引約定に対して請求書を作成する場合は、取引約定を入力するか、値リストから選択します。
注意: 完了した請求書に預入を追加することもできます。関連項目: 取引約定の使用方法
この取引の支払条件を入力します。
Oracle Receivablesでは、この取引の支払条件と支払日に基づいて「支払期日」が計算されます。分割支払条件を入力した場合、支払期日は第1回賦払の支払日です。
関連項目: 賦払の請求書の入力
Oracle Receivablesでは次の階層を使用して、デフォルト支払条件が決定されます。検索対象が見つかった時点で検索は終了します。
顧客請求先サイト・レベル
顧客アカウント・レベル
取引タイプ
請求ルールを割り当てる場合は、「基準付き請求書の入力」を参照してください。
デフォルトの入金方法を受け入れるか、または新規入金方法を選択します。「支払詳細」リージョンで選択した入金方法は、この取引がクレジット・カード、口座引落しまたは受取手形などの自動的な方法で支払われる必要があることを示します。自動的な方法で支払われる取引では、資金取得処理の実行にOracle Paymentsが使用されます。関連項目: 『Oracle Receivablesインプリメンテーション・ガイド』の資金取得処理の有効化に関する項
入金方法は、サイト・レベルまたはアカウント・レベル(サイトが優先)で割り当てられた支払顧客の入金方法に基づいてデフォルト設定されます。割当済入金方法が存在しない場合、値リストから入金方法を選択できます。
値リストから任意の入金方法を選択できます。ただし、請求書日付が入金方法の有効日付の範囲内にあり、入金方法に請求書通貨の銀行口座があるか、または1つ以上の銀行口座の「多通貨の許可」チェック・ボックスが選択されている必要があります。
選択した入金方法によって、支払方法と手段番号が自動的にデフォルト設定されます。
関連項目: 「取引」ウィンドウ・フィールド・リファレンス
必要に応じて「手段の選択」を選択し、「支払手段」ウィンドウにナビゲートします。このボタンを選択するには、最初に入金方法を選択する必要があります。「支払手段」ウィンドウでは、異なる支払手段を選択したり、新しい支払手段を作成することができます。選択できる支払手段は、顧客アカウント・レベルまたはサイト・レベルでデフォルト設定された支払方法に割り当てられている支払手段です。
「支払手段」ウィンドウには支払手段の詳細も表示されます。これらのフィールドには、資金取得処理の過程でOracle Paymentsによって値が入力されます。
このウィンドウのフィールドは、入金方法に関連付けられている支払方法によって表示が異なります。次に例を示します。
支払方法が「銀行口座振替」の場合は、「支払手段」ウィンドウに銀行口座の詳細が表示されます。
「手段の作成 / 更新」を選択して「支払詳細」ページにナビゲートします。このページでは、既存の銀行口座を更新したり、新規に銀行、銀行支店または銀行口座を追加または作成できます。
支払方法が「クレジット・カード」の場合は、「支払手段」ウィンドウにクレジット・カードの詳細が表示されます。
「手段の作成 / 更新」を選択して「支払詳細」ページにナビゲートします。このページでは、既存のクレジット・カードを更新したり、新規にクレジット・カードを追加することができます。
いずれの支払手段タイプでも複数の手段がある場合は、顧客の通知作業環境(EメールやFAXなど)の場合と同様に、「支払詳細」ページを使用して各支払手段の優先度レベルを示します。
注意: 支払手段は、顧客アカウント・レベルまたはサイト・レベルで作成することもできます。関連項目: アカウントの支払詳細の入力および更新およびアカウント・サイトの支払詳細の入力および更新
「詳細」タブ・リージョンで、デフォルト地域を受け入れるか、新規地域を選択します。
営業担当を入力します(オプション)。
システム・オプションの「営業担当必須」が「Yes」に設定されており、顧客アカウントまたはサイト・レベルでこの顧客に営業担当を割り当てなかった場合、デフォルトは「販売実績なし」です。Oracle Receivablesで、取引のデフォルト営業担当がどのように選択されるかについては、『Oracle Receivablesインプリメンテーション・ガイド』の営業担当に関する項を参照してください。
販売実績の詳細は、「収益実績の入力」を参照してください。
「詳細」タブ・リージョンには、入力する取引に関する他の重要な属性も含まれます。関連項目: 「詳細」タブ・リージョン
この取引の「送金先所在地」を入力します。デフォルトは、この顧客の所在地の国、州および郵便番号の組合せに対して割り当てられている送金先所在地です。
この顧客に請求する商品またはサービスを入力するには、「明細品目」を選択し、各品目の「品目」、「数量」および「単価」を入力します。各明細の合計金額が自動的に計算されます。関連項目: 「明細」フィールド・リファレンス
注意: たとえば、Oracle Order Managementをインストールしていない場合や、標準在庫品目ではない明細を入力する場合などは、品目のかわりに標準メモ明細を使用できます。メモ明細を入力するには、「摘要」フィールドにカーソルを置いて、値リストから標準メモ明細を選択します(標準メモ明細を入力するときは、値リストを使用する必要があります)。関連項目: 『Oracle Receivablesインプリメンテーション・ガイド』の標準メモ明細に関する項
Oracle Receivablesでは、デフォルト税分類(存在する場合)が表示されます。Oracle Receivablesの旧バージョンからリリース12にアップグレードした場合、税分類は移行済税金コードに相当します。
ヒント: Oracle Receivablesでは、税金エンジンとしてOracle E-Business Taxが使用されます。E-Business Taxでは、Oracle Receivables用に税金計算を管理するためのアプリケーション機能一式が提供されています。さらに、E-Business Taxはすべての税金関連データのリポジトリとなります。
E-Business Taxでは、税金意思決定職責がユーザーから企業の税金エキスパートに移行されます。この強力な中央管理税金ソリューションを活用するには、E-Business Taxを実装します。E-Business Taxを実装して、取引明細の内容およびその他の税金ソースと対応する基準に基づいて税金を自動計算する場合、税分類を使用する必要はありません。
関連項目: 『Oracle Receivablesインプリメンテーション・ガイド』の税金の設定に関する項
税分類を選択した場合、E-Business Taxでは、税金計算を実行するために、対応する税金詳細が検索されます。税金詳細が不十分である場合(関連する税率が終了日付となっている場合など)、E-Business Taxでは取引明細の税金が計算されません。
在庫品目を入力した場合は、倉庫名を入力してこの品目の出荷元事業所を指定します(オプション)。「自動会計」が標準明細に基づいている場合は、在庫品目と倉庫名を使用して会計フレックスフィールド情報を作成できます。たとえば、複数の在庫組織を使用し、標準明細に基づいて収益勘定が作成されるように「自動会計」を設定するとします。この場合、「自動会計」では、ここで入力した品目と倉庫を使用して収益勘定の「製品」セグメントが作成されます。関連項目: 『Oracle Receivablesインプリメンテーション・ガイド』の自動会計に関する項
この明細の税金情報を検討または更新するには、「税金」を選択します(関連項目: 税金情報の入力)。この明細の免税情報を検討するには、「明細」を選択し、次に「免税」タブ・リージョンをオープンします。
重要: 標準明細タイプが「運送費」または「手数料」のどちらかの場合、または取引がチャージバックの場合、明細の税金情報は検討できません。
この取引の運送費情報を入力するには、「運送費」を選択します。関連項目: 運送費情報の入力
請求書明細の運送費情報を入力するには、明細を選択し次に「運送費」を選択します。関連項目: 運送費情報の入力
会計情報を検討または更新するには、「配分」を選択します。関連項目: 会計情報の検討
販売実績情報を検討または更新するには、「販売実績」を選択します。関連項目: 収益実績の入力
作業内容を保存します。この取引を終了する場合は、「取引の完了」を参照してください。
関連項目
この項では、「取引」ウィンドウ内のフィールドについて簡単に説明します。「取引要約」や「取引バッチ」のような別のウィンドウにもあるフィールドについては、注釈が付いています。
未回収残高: このリージョンは、取引に関する未回収残高の確認に使用します。「残高」ウィンドウにナビゲートするには、「詳細」を選択します。ウィンドウをクローズせずに取引残高を再計算するには、「リフレッシュ」を選択します。関連項目: 取引残高の表示
繰越残高請求番号: Oracle Receivablesでは、2つの取引番号フィールドが表示されます。1つ目のフィールドには、この取引に関連付けられた繰越残高請求番号が表示されます。2つ目のフィールドには取引番号が表示されます。このフィールドで繰越残高請求番号を入力して問合せを実行することで、特定の繰越残高請求について発生したすべての取引を表示できます。
管理金額: (「取引バッチ」ウィンドウ)このバッチの請求書の合計金額。異なる通貨で請求書を入力した場合は、通貨に関わりなく合計金額を入力します。たとえば、1つは100米ドル、もう1つは50ユーロの2つの請求書を入力する場合には、ここに150と入力します。
手段番号: このフィールドは表示専用です。Oracle Receivablesでは、入金方法に基づいてこの値がデフォルト設定されます。顧客は支払手段を使用して支払を行います。たとえば、支払手段にはクレジット・カードまたは銀行口座を指定できます。「手段の選択」を選択すると、「支払手段」ウィンドウがオープンし、支払手段を変更できます。このウィンドウから「手段の作成 / 更新」を選択して、「支払詳細」ページの支払手段を更新または作成します。
請求書日付: Oracle Receivablesによって、請求書に請求日が印刷されます。Oracle Receivablesによって、この請求書に割り当てられた請求日と支払条件から、支払期日が計算されます。バッチを入力した場合はバッチ日付が、バッチ情報を入力しなかった場合は現在日がデフォルト値です。
請求日を変更すると、Oracle Receivablesでは支払期日と関連税金が自動的に再計算されます。
番号: Oracle Receivablesでは、2つの取引番号フィールドが表示されます。1つ目のフィールドには、この取引に関連付けられた繰越残高請求番号が表示されます。2つ目のフィールドには取引番号が表示されます。
一部パージ済: (「取引バッチ」ウィンドウ) このボックスがチェックされている場合、このバッチに所属する取引のいくつかが「アーカイブ・パージ」プログラムによって削除されたことを意味します。取引が一部パージされた場合、パージされた取引は「実件数」と「金額」フィールドに含まれなくなるため、「管理合計」項は残高不一致のように見えます。
支払顧客: 請求顧客とは異なる可能性があります。たとえば、主顧客に関連請求書の支払を依頼する場合などがあります。
支払方法: このフィールドは表示専用です。Oracle Receivablesでは、入金方法に基づいてこの値がデフォルト設定されます。
入金方法: この取引に割り当てられている入金方法。
この値リストでは、すべての適格な入金方法が表示され、入金方法が支払顧客請求先所在地に割り当てられているかどうかが示されます。
Oracle Receivablesでは、次の階層を使用してこのフィールドにデフォルト値を設定します。
1) 親サイトの主要入金方法
2) 主要顧客の主要入金方法
3) 請求先サイトの主要入金方法
4) 請求先顧客の主要入金方法
注意: 請求書に割り当てた入金方法が、支払顧客にまだ割り当てられていないクレジット・カード入金方法の場合は、顧客レコードがこの入金方法情報によって自動的に更新されます。
期間: (「取引バッチ」ウィンドウ)「日付」フィールドに入力したバッチ日付に対応する会計期間。会計期間を定義するには、「会計カレンダ」ウィンドウを使用します。
参照: この取引の取引バッチ・ソースは、「参照」フィールドのデフォルトにするために「請求書取引フレックスフィールド」のどの属性が使用されるかを決定します。手動取引の場合は、関連取引番号や顧客名などこの取引に関する他の情報によってこのデフォルトを上書きできます。
販売先顧客: 商品およびサービスを販売した顧客。この顧客は、出荷先顧客や請求先顧客と異なっている場合もあります。デフォルトはこの取引の請求先顧客ですが、変更できます。
ステータス(「取引バッチ」ウィンドウおよび「取引バッチ要約」ウィンドウ): バッチのステータス。バッチ・ステータスを使って、バッチ承認サイクルを実装します。Oracle Receivablesでは複数の標準バッチ・ステータスを提供し、「Oracle Receivables の参照」ウィンドウでは参照タイプBATCH_STATUSを使って、追加ステータスを定義できます。Oracle Receivablesでは、ユーザーが作るバッチ・ステータスは「オープン」として扱われます。
所在地: この取引の送金先所在地。送金先所在地とは、顧客が支払を送付する先の所在地のことです。デフォルトは、この顧客の所在地の国、州および郵便番号に割り当てられている送金先所在地です。
基本契約: 請求書を入力する場合、これがこの請求書に対する発注基本契約です。選択顧客または選択顧客に関連する顧客と基本契約を定義してある場合のみ、このフィールドに入力できます。Oracle Order Managementの「受注」ウィンドウで、基本契約を顧客に関連付けることができます。
取引約定を入力する場合、これがこの取引約定に関連する基本契約です。Oracle Order Managementで定義された基本契約だけを使用できます。
注釈: この取引についての注釈。この取引がクレジット・メモの場合、このフィールドには、「クレジット・メモ取引」ウィンドウの「注釈」フィールドに入力された情報が表示されます。このテキストは、印刷された取引には表示されません。
相互参照: この請求書に関連する取引。このフィールドはオプションです。「請求先」顧客または選択顧客に割当済の取引はどれでも選択できます。相互参照取引番号を入力してから「請求先」顧客を変更すると、Oracle Receivablesでは、このフィールドの値は消されます。
デフォルト税金: 「税金: 顧客免税上書の許可」プロファイル・オプションが「Yes」に設定されていて、取引がチャージバックではない場合にだけ、このフィールドに値を入力できます。Oracle Receivablesの通常処理設定として税金計算を行う場合は、「標準」デフォルト値を使用します。「免税」を入力して請求書明細の免税を実行すると、システム・オプション「顧客免税使用」が「Yes」に設定されます。税金計算を請求書明細で実行するには、「必須」を入力します。このフィールドを更新しても、既存の請求書明細には影響しません。新規の請求書明細だけがデフォルトとして新規の値を与えられます。
係争額: この請求書、デビット・メモまたはチャージバックの係争中の現在金額。Oracle Receivablesでは支払計画の各賦払ごとに係争額が小計され、このフィールドに合計が表示されます。係争額は、増額することも減額することもできます。0(ゼロ)を入力すると、借方項目の係争はなくなります。借方項目に分割条件がない場合には、ゼロとこの品目の未回収残高の間にある係争額を入力できます。
また、「係争中請求書レポート」で係争中の借方品目を確認できます。分割条件のある借方品目には、「賦払い」ウィンドウで各賦払いに係争額を入力するか、またはこのフィールドに未回収残高かゼロのどちらかを設定できます。
延滞手数料免除: このチェック・ボックスを使用して、この請求書、デビット・メモまたはチャージバックに対して延滞手数料を計算するかどうかを指定します。このチェック・ボックスを選択した場合、顧客の与信プロファイルに従って延滞手数料が計算されます。このチェック・ボックスを選択しない場合、顧客の与信プロファイルとは関係なく、この取引の延滞手数料は計算されません。
当初取引: 「取引」ウィンドウでチャージバックを問い合わせると、チャージバックが作成された取引がこのフィールドに表示されます。
発注日: この取引の発注日。発注日が取引日より後の日付の場合は警告メッセージが表示されます。このフィールドは参照用で、Oracle Receivablesによる検証はありません。
発注番号: この取引の発注番号。このフィールドは参照用で、Oracle Receivablesによる検証はありません。
発注改訂: この取引の発注改訂番号。このフィールドは参照用で、Oracle Receivablesによる検証はありません。
印刷日: この取引が最後に印刷された日付。
印刷オプション: この請求書の印刷オプション。デフォルトはこの取引タイプの印刷オプションです。印刷する請求書に「印刷」を選択します。すべての新規または変更した請求書を一度に印刷するように選択できます。印刷しない請求書には、「印刷しない」を選択します(たとえば、社内目的で請求書を生成する必要がありながら、顧客には印刷済請求書を送付しない場合)。
特記事項: この取引に関するすべての特記事項。最高240文字までを入力できます。最初の51文字が、印刷された取引に記載されます。この取引がクレジット・メモの場合、このフィールドには、「クレジット・メモ取引」ウィンドウの「特記事項」フィールドに入力された情報が表示されます。追加の事項は「売掛/未収金参照」ウィンドウで定義できます。関連項目: 『Oracle Receivablesインプリメンテーション・ガイド』の売掛/未収金参照の検討と更新に関する項
ステータス: (「取引」ウィンドウ)この取引のステータス。このフィールドはユーザーが保守できるフィールドで、値は、Oracle Receivablesの「参照」ウィンドウで定義できます。入力できる値は「オープン」、「保留」、「クローズ」または「無効」です。このフィールドはOracle Receivablesでは使用されないため、請求書が支払われたとき、またはクローズされたときなどは、自動的に更新されません。このフィールドは手動で更新する必要があります。
地域: この請求書の営業地域。デフォルトは、「システム・オプション」ウィンドウ内の「営業地域のソース」の値になります(たとえば、請求先、出荷先、販売担当者、なし、など)。
日付: 新規のノートを入力する場合、デフォルトは現在日です。この取引が係争中の場合、デフォルトは係争発生日です。
ソース: このノートのソース。このフィールドは読取り専用です。新規のノートを入力する場合、ソースは「請求書管理」です。
メモ: この取引に関する追加情報。
注意: 「クレジット・メモ要求」ワークフローは、このフィールドの情報を使用して、承認プロセスによる係争請求書のパスを文書化します。関連項目: AMEクレジット・メモ要求ワークフロー
関連項目: 取引約定の入力
このリージョンのフィールドは、チャージバックとクレジット・メモにのみ使用します。
事由: この取引の事由。
取引がクレジット・メモの場合、このフィールドにはクレジットが要求された事由が含まれます。
この取引が、要求を解決するチャージバックの場合、このフィールドにはチャージバックの事由が含まれます。
関連項目: 要求の解決
顧客参照: この取引の事由に関して顧客から入手した追加情報。
関連項目
この項では、取引の「明細」ウィンドウ内のいくつかのフィールドについて簡単に説明します。この項に記載されていないフィールドについては、「取引の入力」で説明しています。
税込金額: このポップリストによって、この明細に税金が含まれるかどうかを示します。デフォルトはこの明細の税金コードの「税金を含む」オプション設定値です。この税金コードの「上書の許可」オプション設定値が「Yes」ならば、この設定を変更できます。この設定を変更すると、Oracle Receivablesによって明細金額が再計算されます。
注意: 「明細」ウィンドウはフォルダ・フォームで、「税込金額」、「ネット金額」および「ネット単価」の3つの追加フィールドの表示を選択できます。「税込金額」フィールドでは、この行の税が含まれるか否かを示します。これが包括税の場合、「ネット金額」および「ネット単価」フィールドに、この明細の税抜きの金額および販売単価が表示されます。これらのフィールドを表示するには、「フォルダ」メニューから「フィールドの表示」を選択し、表示するフィールドを選択します。
摘要: この請求書明細の摘要。Oracle Receivablesによって、請求書に摘要が印刷されます。税金および運送手数料など、以前に定義した標準メモ明細も選択できます。以前に選択したメモ明細を更新する場合、Oracle Receivablesでは同じタイプの他のメモ明細への変更だけが許可されます。たとえば、税金メモ明細がある場合、「税金」タイプの他のメモ明細に対してだけ変更できます。
「取引」ウィンドウで運送費を入力した場合、またはこの請求書関連の取引タイプの「運送費計上の許可」オプションを「No」に設定した場合、運送費タイプの標準メモ明細は値リストに現れません。この請求書用に選択した取引タイプの「運送費計上の許可」オプションが「Yes」に設定されている場合、「運送費」タイプの標準メモ明細を選択できます。運送費タイプの標準メモ明細を選択した後で「運送費」を選択し、この明細に割り当てる運送費の金額を指定できます。
プロファイル・オプション「税金: 手動税金明細の許可」が「Yes」に設定されている場合、税金タイプの標準メモ明細を選択できます。「税金」タイプのある標準メモ明細を選択した後で「税金」ボタンを選択し、この明細に割り当てる税金額を指定できます。
合計(運送費): この取引の運送費合計額。
合計(明細): この取引の全明細の合計。この金額に税金は含まれません。
合計(税金): 取引明細の全適用税金の合計。この金額には、すべての包括および除外の税金が含まれています。
合計(取引): この取引の全明細、税金および運送費の合計。この金額には、すべての包括および除外の税金が含まれています。
単価: この請求書明細品目の販売単価。標準明細品目を入力した場合、「メモ明細」ウィンドウでこの標準明細品目用に入力した「単価」がデフォルトになり、システム品目のデフォルトはありません。請求書の通貨が機能通貨と異なる場合、デフォルト単価は「標準価格/通貨換算レート」になります。「税金」および「運送費」明細のこのフィールドのデフォルト値はゼロです。この価格を受け入れるか、または実際の販売価格を入力できます。単価はプラスでもマイナスの数値でもかまいません。
日付: この品目を発注した日付。このフィールドの機能は情報目的だけです。
明細: この請求書明細の参照先である受注明細番号。
番号: この請求書明細の受注明細番号。
改訂: この発注の改訂番号。
承認: 「税金処理」フィールド(後続の説明を参照)に「免税」を入力した場合は、免税の証明書番号を入力します。既存の免税証明書番号を選択するには、値リストを使用します。
事由: 「税金処理」フィールドに「免税」を入力した場合は、免税を作成する際の事由を入力するか値リストから選択します。「Oracle Receivablesの参照」ウィンドウで、追加の免税事由を定義できます。
税金処理: 「税金: 顧客免税上書の許可」プロファイル・オプションが「Yes」に設定されている上に、取引がチャージバックではない場合にだけ、このフィールドに値を入力できます。Oracle Receivablesの正常処理設定として税金計算を行う場合は、「標準」デフォルト値を使用します。「顧客免税」システム・オプションが「Yes」に設定されていて、かつ請求書明細に免税を実施したい場合、「免税」を入力します。税金計算を請求書明細に実施するには、「必須」を入力します。このフィールドを更新しても、既存の請求書明細への影響はありません。新規の請求書明細に対してのみデフォルトが新規の値となります。
事由: ユーザー定義の参照コードによって、クレジット・メモの事由が示されます。請求書ヘッダー・レベルに基づいてデフォルト設定されますが、変更可能です。
参照: この明細品目の追加情報。
代替言語での摘要: 代替言語での在庫品目の説明。この情報は、在庫品目を定義するときに入力します。
倉庫名: この品目の出荷元事業所。「自動会計」が標準明細に基づいている場合、入力した在庫品目と倉庫を使用して会計フレックスフィールド情報を作成できます。関連項目: 『Oracle Receivablesインプリメンテーション・ガイド』の自動会計に関する項
関連項目
『Oracle Receivablesインプリメンテーション・ガイド』の標準メモ明細に関する項
Oracle Receivablesでは、税金エンジンとしてOracle E-Business Taxが使用されます。E-Business Taxでは、Oracle Receivables用に税金計算を管理するためのアプリケーション機能一式が提供されています。さらに、E-Business Taxはすべての税金関連データのリポジトリとなります。
E-Business Taxでは、取引および取引明細の事前定義済基準および多数のデータ・ポイントに従って税金が計算されます。これらの基準は、組織が直面する特定の要件および例外にあわせて必要に応じて複雑にできます。このように、E-Business Taxでは、税金意思決定職責が取引を入力するユーザーから企業の税金エキスパートへ移行されます。
取引を入力する際に、「税金」ボタンを選択してE-Business Taxで計算される税金を検討します。「詳細税金明細」ウィンドウには、E-Business Taxリポジトリから直接データが表示されます。既存の税金明細に対する手動変更および新規税金明細の入力機能は、E-Business Taxの職責、プロファイルおよびセキュリティによって厳密に制御されています。
前提条件
税金の設定
関連項目: 『Oracle E-Business Taxユーザー・ガイド』のOracle E-Business Taxでの税金の設定に関する項
「取引」ウィンドウまたは「取引要約」ウィンドウにナビゲートします。
表示する取引を問い合せます。
この取引の税金情報を入力または検討するには、「税金」を選択します。
特定の請求書明細の税金情報を入力または検討するには、「明細品目」で表示する明細を選択し、次に「税金」を選択します。
ヒント: すべての取引明細の税金情報を入力または検討するには、「この文書」を選択してください。
関連項目: 『Oracle E-Business Taxユーザー・ガイド』の詳細税金明細の管理に関する項
「税金情報」を選択し、「追加税金決定要素」ウィンドウにナビゲートします。
「追加税金決定要素」ウィンドウを使用して、売掛/未収金取引明細の追加税金情報を検討および入力します。
関連項目: 『Oracle E-Business Taxユーザー・ガイド』の売掛/未収金税金明細の追加決定要素情報の入力に関する項
関連項目
Oracle E-Business Taxユーザー・ガイド
『Oracle E-Business Tax Implementation Guide』
「詳細税金明細」ウィンドウのフィールドについては、『Oracle E-Business Taxユーザー・ガイド』で説明しています。
関連項目: 『Oracle E-Business Taxユーザー・ガイド』の詳細税金明細の管理に関する項
関連項目
請求書または各請求書明細に運送手数料を割り当てます。請求書に運送費を割り当てた場合、Oracle Receivablesでは請求書の合計金額に運送費が含まれます。請求書明細に運送費を割り当てるには、請求書明細を入力した後、「明細」ウィンドウから「運送費」を選びます。
請求書の取引タイプで「運送費入力許可」が「No」に設定されている場合は、または明細タイプが「税金」か「手数料」のどちらかの場合は、運送費情報を入力も更新もできません。
デフォルトでは、Oracle Receivablesによって運送手数料の税金は計算されません。ただし、在庫品目を使用して運送サービスを定義し、これらの品目を通常の請求書明細として入力することによって、運送費の売上税を計算できます。
前提条件
『Oracle Receivablesインプリメンテーション・ガイド』の運送業者の定義に関する項
「取引」ウィンドウまたは「取引要約」ウィンドウにナビゲートします。
表示する取引を問い合せます。
「取引要約」ウィンドウが表示されている場合は、取引を選択してから「オープン」を選択します。
この請求書に運送費情報を入力するには、「運送費」を選択します。
特定の請求書明細の運送手数料を入力するには、運送手数料を割り当てる「明細品目」を選択してから「運送費」を選びます。
値リストから運送業者を選択します(オプション)。デフォルト値はありません。
「運送業者」ウィンドウを使用して、値リストに表示される値を定義します。
この請求書または請求書明細用に回収された運送手数料の金額を入力します。請求書明細に運送手数料を割り当て、この明細が標準運送費明細の場合は、すべての通貨差異を修正した標準メモ明細の「単価」がデフォルト金額になります。
運送手数料をすべての請求書明細に割り当てるには、「全行の運送費」タブ・リージョンをオープンしてから、各明細に対する運送手数料の金額を入力します。Oracle Receivablesでは、請求書明細に対する運送手数料の合計金額が計算されます。
運送費GL勘定を入力します。「自動会計」ではデフォルトの運送費勘定が作成されます。勘定全体を作成できない場合は、ポップアップ・ウィンドウが表示されるため、そこで勘定情報を完了できます。関連項目: 自動会計の使用方法
関連項目
この項では、「運送費」ウィンドウのフィールドについて簡単に説明します。
運送者: 出荷製品を顧客に送付するときに利用する会社。
FOB(本船渡し): 商品の所有タイトルが売り手から買い手に渡される場所となる事業所。取引を入力する際、Oracle Receivablesでは、まず「出荷先FOB」、次に「請求先FOB」がデフォルト値として使われます。
出荷参照: 任意の関連運送費情報。Oracle Receivablesではこのフィールドは検証されません。
関連項目
『Oracle Receivablesインプリメンテーション・ガイド』の運送業者に関する項
請求書明細を入力すると、Oracle Receivablesでは「自動会計」を使用して、請求書の収益勘定が作成されます。「配分」ウィンドウで請求書に対する収益勘定科目割当を検討するか、または更新できます。
注意: 「自動会計」で作成したデフォルト会計は、暫定的な会計としてのみ考慮されます。Oracle Receivablesは、E-Business Suiteの中央管理の会計エンジンであるOracle Subledger Accountingと統合されており、「自動会計」によって導出されたデフォルト会計を変更せずに受け入れます。ただし、Subledger Accountingで会計基準を変更して、ビジネス要件を満たす会計を作成できます。関連項目: Oracle Receivablesでの会計
基準を使う請求書を検討する場合は、このウィンドウで会計情報を表示する前に、まず「収益認識」プログラムを実行する必要があります。関連項目: 収益の認識
各顧客勘定用に「会計フレックスフィールド」を変更できますが、配分ウィンドウで明細を作成したり、または削除することはできません。すでに転記された行を変更する場合は、Oracle Receivablesでは転記済の仕訳を変更するかわりに、追加仕訳を使用して修正します。更新可能なフィールドの一覧は、「取引の保守」を参照してください。
前提条件
『Oracle Receivablesインプリメンテーション・ガイド』の自動会計の定義に関する項
「取引」ウィンドウまたは「取引要約」ウィンドウにナビゲートします。
表示する取引を問い合せます。
注意: 「ツール」メニューから「会計の表示」を選択すると、詳細な会計明細を貸借一致会計仕訳(すなわち、借方 = 貸方)の形式で表示したり、T字型勘定として表示することもできます。
関連項目: 会計明細の表示
「取引要約」ウィンドウが表示されている場合は、取引を選択してから「オープン」を選択します。
この請求書が請求ルールを使用している場合は、「全明細のセット」タブ・リージョンをオープンすると、この請求書の勘定科目セットを閲覧できます。
注意: 「取引」ウィンドウの「明細」を選択し、「配分」を選択して会計処理情報を表示することもできます。
この請求書または請求書明細の収益勘定割当を更新するには、その勘定のGL勘定情報を修正します。
注意: 「自動会計」が営業担当に基づいていて、営業担当割当が分割されていない限り、勘定に割り当てられる各請求書明細のデフォルト金額率は100%です。この場合は、フィールドに分割が反映され、この率を受け入れるか、または他の率を入力することができます。率を変更すると、Oracle Receivablesによって金額が計算されます。
関連項目
この項では、「配分」ウィンドウのフィールドについて簡単に説明します。
会計基準: この請求書明細の会計基準。「会計基準」は複数のGL期間にまたがる収益を認識するために使用されます。請求書ヘッダー・レベルで請求ルールを入力した場合は、このフィールドに値を入力しなければなりません。 請求ルールを入力しなかった場合には、Oracle Receivablesでは、このフィールドはスキップされます。この請求書明細に標準メモ明細または会計基準をすでに選択してある場合、Oracle Receivablesでは、その会計基準にこのフィールドがデフォルト入力されます。
配分金額: この収益勘定に割り当てる請求書明細の特定金額。
GL記帳日: この勘定科目をGeneral Ledgerに転記する日付。デフォルトはこの請求書に入力したGL記帳日です。この日付は変更できません。請求ルールを使用している場合は、収益認識プログラムを実行するまで、GL記帳日は表示されません。関連項目: 基準付き請求書
パーセント(%): この収益勘定に割り当てるこの請求書明細のパーセント。
関連項目
「取引」ワークベンチで選択した取引の会計仕訳を草案モードまたは確定モードで作成できます。「ツール」 > 「会計の作成」を選択すると、「会計の作成」プログラムが発行されます。
プログラム・パラメータの詳細は、『Oracle Subledger Accountingインプリメンテーション・ガイド』の「会計の作成」プログラムに関する項を参照してください。
または、取引バッチ用の会計を作成できます。関連項目: Receivablesにおける会計の作成
関連項目
請求書、クレジット・メモそしてデビット・メモに対する収益と非収益の販売実績を割り当てることができます。各請求書または請求書明細品目に対する実績は複数の営業担当の間で分割して、請求書金額に追加またはボーナスの実績を割り当てることができます。既成の販売実績明細を修正することも新規の販売実績明細を登録することもできます。
デフォルトの販売実績を割り当てるには、取引を入力する際に 営業担当責任者を指定します。販売実績を1人以上の営業担当に与え、請求書明細に実績を配分するには、販売実績情報を入力または更新するだけです。各請求書明細に異なった販売実績がある場合は、明細レベルの販売実績を入力できます。
営業担当を指定した場合、Oracle Receivablesでは営業担当に割り当てられる営業グループが自動的に作成されます(グループがある場合)。デフォルトは変更できます。
販売実績はGeneral Ledgerに転記する前に更新できます。すでにGeneral Ledgerに転記済の販売実績を更新するには、「収益会計管理(RAM)」ウィザードを使用する必要があります。
注意: ルール・ベースの取引の場合、収益認識を実行した後は、取引が未完了の場合でも、「取引」ワークベンチを使用して販売実績の更新や営業担当の変更はできません。かわりに、「RAM」ウィザードを使用する必要があります。関連項目: 収益会計
取引のデフォルト営業担当を変更し、次に、作業内容を保存するか「販売実績」ボタンを選択すると、Oracle Receivablesでは「自動会計」を再実行して売掛/未収金勘定および運送費勘定を再計算するかどうかが尋ねられます。「Yes」を選択すると、Oracle Receivablesでは「自動会計」を再実行し、顧客勘定に適切な変更が加えられます。それ以外の場合、Oracle Receivablesでは販売実績情報への変更を保存しますが、「自動会計」は再実行しません。
重要: 「自動会計」が販売実績に基づいている場合にこの情報を変更すると、決定ウィンドウでこの取引の会計処理のデフォルトを再設定するかどうかが、尋ねられます。「No」を選択すると、旧販売実績明細への配分リンクが切断されます。「Yes」を選択すると、販売実績に基づいた勘定科目区分に対する勘定科目割当と勘定科目セットは、新規販売実績に基づいて再作成されます。関連項目: 自動会計の使用方法
警告: 「取引」ワークベンチで販売実績を更新する際、次に該当する場合は自動会計を再実行できません。
自動会計の基準が営業担当である場合。
「AR: 既存の販売実績の更新の許可」プロファイル・オプションが「Yes」に設定されている場合。
以前に「RAM」ウィザードを使用して、この取引の収益を修正した場合。
すでに修正してある収益を含む取引の販売実績を正常に更新するには、常に「RAM」ウィザードを使用する必要があります。
前提条件
『Oracle Receivablesインプリメンテーション・ガイド』の営業担当の定義に関する項
顧客の定義および営業担当責任者の割当
「取引」ウィンドウまたは「取引要約」ウィンドウにナビゲートします。
取引を問い合せます。
「取引」ウィンドウが表示されている場合は、ステップ4に進みます。
「要約」ウィンドウが表示されている場合には、取引を選択してから「オープン」を選択します。
この取引の販売実績を更新するには、「販売実績」を選択し、この営業担当の収益実績の新規パーセントを入力します。
各請求書明細または全ての請求書明細に対するさまざまな販売実績を入力するには、「明細品目」を選択してから「販売実績」を選択します。
請求書明細の販売実績を更新するには、メニューから「この行」を選択し、収益または非収益のパーセントか金額のいずれかを入力します。
すべての請求書明細の販売実績を更新するには、メニューから「全行」を選択し、各営業担当の収益か非収益パーセント、または金額のいずれかを入力します。
販売実績を他の営業担当と分割するには、メニューから「デフォルト」を選択した後、次の手順を実行します。
a. 営業担当責任者に対し、販売実績額と販売実績パーセントを更新し、「新たなレコードです。」を選択します。
b. 新しい営業担当の名前と彼らが受け取る販売実績率を入力します。
関連項目
必要なだけの量の情報と共に、取引を入力できます。Oracle Receivablesでは、大概の必須取引情報にデフォルト値を提供できるようにシステムを設定できます。
たとえば、多くの取引を入力する必要があるが、その時間がなかったり、入力するすべての必須情報がない場合です。この場合には、取引ソース、顧客名と事業所、すべての請求書明細などの最小限の情報だけを入力し、作業内容を保存します。その後、詳細情報を受け取ったときに、未完了取引を照会して欠けていたすべての情報を入力し、都合の良い時に各取引を完了することができます。
前提条件
『Oracle Receivablesインプリメンテーション・ガイド』の取引タイプの定義に関する項
『Oracle Receivablesインプリメンテーション・ガイド』の自動会計の定義に関する項
『Oracle Receivablesインプリメンテーション・ガイド』の取引バッチ・ソースの定義および請求番号自動採番の選択に関する項
『Oracle Receivablesインプリメンテーション・ガイド』の入金区分の定義に関する項
『Oracle Receivablesインプリメンテーション・ガイド』の入金方法の定義に関する項
『Oracle Receivablesインプリメンテーション・ガイド』の支払条件の定義に関する項
『Oracle Receivablesインプリメンテーション・ガイド』の会計基準の定義(オプション)に関する項
顧客の設定。所在地、支払条件、入金方法、回収担当、営業担当責任者、プロファイル区分、運送業者と条件を定義し、それぞれに支払詳細を定義します。
『Oracle Receivablesインプリメンテーション・ガイド』の顧客プロファイル区分の定義に関する項。営業担当責任者、請求先事業所、回収担当、支払条件、延滞手数料情報、通貨レートおよび制限を割り当てます。
「取引」ウィンドウまたは「取引要約」ウィンドウにナビゲートします。
取引ソースを入力します。
顧客名または顧客番号を入力します。
請求先の名称と事業所を入力します。
「取引要約」ウィンドウが表示されている場合は、「オープン」を選択します。
手動順序採番を使用している場合は、一意の文書番号を入力します。関連項目: 『Oracle Receivablesインプリメンテーション・ガイド』の文書連番の実装に関する項
請求書明細を入力するには、「明細品目」を選択して、品目、摘要、数量および品目の単価を入力します(オプション)。
作業内容を保存します。この取引を終了する場合は、「取引の完了」を参照してください。
関連項目
請求ルールによって、1つ以上の会計期間にまたがる請求書に対して、売掛/未収金をいつ認識するかを決定できます。Oracle Receivablesに手動入力するか、「自動インボイス」を通じてインポートする請求書に、請求ルールを割り当てることができます。
Oracle Receivablesには、次の請求ルールがあります。
前受請求: 売掛/未収金を即時に認識するために使用します。
未収請求: 収益認識計画の終了時に売掛/未収金を認識するためにこの基準を使います。
会計基準により期間数および合計収益の比率が決定され、各会計期間に記録されます。関連項目: 『Oracle Receivablesインプリメンテーション・ガイド』の会計基準に関する項
前提条件
『Oracle Receivablesインプリメンテーション・ガイド』の取引タイプの定義に関する項
『Oracle Receivablesインプリメンテーション・ガイド』の自動会計の定義に関する項
『Oracle Receivablesインプリメンテーション・ガイド』の取引バッチ・ソースの定義に関する項
『Oracle Receivablesインプリメンテーション・ガイド』の文書採番の設定(オプション)に関する項
『Oracle Receivablesインプリメンテーション・ガイド』の会計基準の定義に関する項
「取引」ウィンドウまたは「取引要約」ウィンドウにナビゲートします。
この請求書に一般情報を入力します。関連項目: 取引の入力
「前受」または「未収」の請求ルールを選択します。いったんこの請求書を保存すると、たとえ値が入力されなくても、このフィールドを更新することはできません。
重要: 会計基準を明細品目に割り当てる場合や、自分が入力した品目またはメモの明細に基づいてOracle Receivablesでデフォルト基準が入力されるようにする場合(次のステップを参照)は、請求ルールを入力する必要があります。
「明細品目」を選択し、この品目の品目、数量および単価を入力します。Oracle Receivablesでは合計額が自動的に計算されます。
注意: Oracle Receivablesでは、「明細品目」ボタンを選択すると請求書情報が保存されます。
ヒント: たとえばOracle Order ManagementまたはOracle Inventoryをインストールしていない場合は、品目のかわりに標準メモ明細を使用できます。メモ明細を使用するには、カーソルを「摘要」フィールドに置き、次にメモ明細を入力するかまたは値リストから選択します。関連項目: 『Oracle Receivablesインプリメンテーション・ガイド』の標準メモ明細に関する項
「ルール」タブ・リージョンをオープンします。この請求書明細の「会計基準」、「期間」および収益認識の「第1日」を入力します。
タイプが「日次収益率、 全期間」または「日次収益率、 一部期間」の会計基準を入力する場合、基準の開始日および終了日を入力します。期間を入力しないでください。
タイプが「変動予定」の会計基準を入力する場合、この請求書明細の収益を配分する一般会計期間の数を「期間」フィールドに入力します。
タイプが「固定予定」の会計基準を入力する場合、Oracle Receivablesはこの基準のデフォルト期間を表示します。
注意: 会計基準の期間タイプは、この元帳に割り当てられたカレンダの期間タイプと一致している必要があります。関連項目: 『Oracle General Ledgerインプリメンテーション・ガイド』の期間タイプの定義に関する項
自動会計で請求書明細に割り当てた勘定科目を閲覧するには、「配分」を選択します。
単一請求書明細の勘定仕訳セットを閲覧するには、メニューから「この行のセット」を選択します。すべての請求書明細の会計情報を閲覧するには、「全行のセット」を選択します。
注意: 「収益認識」プログラムでは勘定科目セットを使用して、収益勘定科目が決定されます。実績配分明細を生成するには、「収益認識」プログラムを実行する必要があります。関連項目: 収益の認識
会計情報を更新するには、勘定科目配分のセットすべての区分のGL勘定科目コードを変更します。
注意: 収益は、配分明細を許可する唯一の区分です。追加収益配分明細を追加する場合は、すべての収益配分明細の合計が請求書明細当り100%になる必要があります。収益認識プログラムを実行してから配分を更新するには、指定期間の配分を変更する必要があります。
関連項目
Receivablesで、機能通貨以外でバッチを作成するか、またはそのような入金や取引を入力すると、ポップアップ・ウィンドウが表示され、そこで換算レート情報を入力できます。Receivablesでは、この情報を利用して外貨入金および取引の金額が機能通貨に換算されます。
ヒント: 日次換算レートも定義できます。日次換算レートを定義した上でReceivablesにおいて外貨入金および取引を入力すると、自動的に換算レート情報が計算されます。関連項目: 『Oracle General Ledgerユーザーズ・ガイド』の日次レートの入力に関する項
次のプロファイル・オプションは、「換算レート」ウィンドウの外観と動作に影響を与えます。
仕訳: 換算レート逆算表示
通貨: 直接EMU/非EMUユーザー・レートの許可
注意: EMUは経済通貨統合の略語で、ユーロという単一通貨を共用する欧州連合内の国を指します。
プロファイル・オプション「仕訳: 換算レート逆算表示」が「No」の場合、Oracle Receivablesでは次のように機能通貨額が計算されます。
機能通貨 = 外貨 * 換算レート
それ以外の場合は、次のように計算されます。
機能通貨 = 外貨 / 換算レート
プロファイル・オプション「通貨: 直接EMU/非EMUユーザー・レートの許可」により、入力する入金または取引がEMUであるが機能通貨がEMU通貨でない場合(またはその逆の場合)に換算レートを入力できるようにするかどうかを制御します。
このプロファイル・オプションが「No」に設定されている場合に「レート・タイプ」を「ユーザー」に指定すると、Receivablesでは「換算レート」ウィンドウに3つの追加フィールドが表示されます。これらのフィールドを使用して、機能通貨とユーロの間の換算レートを入力します。するとReceivablesでは、固定(ユーロからEMU)換算レートと導出(EMUから非EMU)換算レートの両方が表示されます。詳細は、次の項を参照してください。
このプロファイル・オプションが「Yes」に設定されている場合に「レート・タイプ」を「ユーザー」に指定すると、機能通貨と入金または取引通貨の間の換算レートを入力できます(この場合、追加のフィールドは表示されません)。
レート基準日: 外貨の換算レートに適用する日。デフォルトはバッチ日付(この入金がバッチの一部の場合)、または入金日のどちらかです。
レート・タイプ: Oracle Receivablesには次の換算レートタイプがあります。
社内: この換算レートは会社のレートを統一するために定義します。これは一般に、組織全体で使用するよう、資金管理の上層部によって決定される標準マーケット・レートです。
直物: この換算レートは、特定日付の換算レートに基づいて換算を行うときに選択します。これは通貨の即時引渡に適用されます。
ユーザー: 入金について外貨を入力し、外貨の取引日換算レートをまだ定義していない場合にこの換算レートを選択します。このレート・タイプを選択すると、使用する換算レートを入力する必要があります。Oracle Receivablesにおいては、「ユーザー」タイプではレートは確定しません。
「直物」または「社内」のレート・タイプを選択すると、Receivablesでは入力した日付のレートが存在するかどうかがチェックされます。この換算レートは更新できません。
レート: 入金に対する換算レート。「ユーザー」を「レート・タイプ」として入力する場合は、換算レートを入力します。通貨換算レートは、同じ日付に対していくつでも入力することができます。それ以外の場合は、入力したレート・タイプはデフォルト・レートとなります。「日次レート」ウィンドウでユーザー以外の換算レートを定義します。「ユーザー」以外のレート・タイプを入力した場合、Oracle Receivablesでは入力したレート基準日のレートが存在するかどうかがチェックされます。
重要: 特定の条件が満たされると、「換算レート」ウィンドウには、「レート」フィールドではなく次のフィールドが表示されます。詳細は、『Oracle Receivablesインプリメンテーション・ガイド』のOracle General Ledgerのプロファイル・オプションに関する項を参照してください。
<機能通貨> - ユーロ: 機能通貨とユーロの間の換算レートを入力します。
EURから<取引/入金通貨>: ユーロとEMU通貨の間の固定換算レート。これは表示専用フィールドです。
<機能通貨> - <取引/入金通貨>: 機能通貨と取引または入金通貨の間の換算レート。これは表示専用フィールドです。
注意: プロファイル・オプション「仕訳: 換算レート逆算表示」により、これらのフィールド・プロンプトで通貨が表示される順序が決まります。
関連項目
GLへの転送後においても、外貨入金のレート・タイプ、レート基準日、換算レートを変更することができます。
外貨建て取引が既に転記されていたり、またはそれに対して消し込まれた入金がある場合、この取引の換算レートは修正できません。異なる換算レートを使うには、取引戻し処理を行い(削除、貸方記入、あるいは取引タイプを「未回収売掛金」を持ち「GL転記」が「No」に設定されているものに変更する)、次に新レートで取引を再作成します。
前提条件
『Oracle General Ledgerユーザーズ・ガイド』の日次換算レート・タイプの定義に関する項
外貨の入金または取引を入力します。
入金のレートを修正するために、「入金」または「入金要約」ウィンドウにナビゲートします。
入金を問い合せます。
入金を選択し、「ツール」メニューから「換算レートの調整」を選択します。
この換算レート調整について、GL記帳日と新レート基準日を入力します(オプション)。新レート基準日およびGL記帳日のデフォルトは現在日ですが、新しい日付を入力することもできます。現在日がオープン期間内にない場合、デフォルトのGL記帳日は直前のオープン期間の最終日となります。
外貨金額を機能通貨に換算する新レート・タイプを入力します。関連項目: 外貨取引
「ユーザー」のレート・タイプを入力した場合は、外貨金額を機能通貨に換算するための新レートを入力します。それ以外の場合は、レート・タイプおよびレート基準日からレートが決定されます。
3つの追加フィールドが表示されたら、機能通貨とユーロの間の換算レートを入力します。関連項目: 換算レートおよび換算レートの調整フィールド・リファレンス
「修正」を選択します。修正内容が保存され、この入金の金額が機能通貨で更新されます。
入金の通貨換算レート調整による機能通貨損益を表示するには、「入金履歴」を選択します。
入金の換算レート情報は、「入金」ウィンドウまたは「入金要約」ウィンドウで表示できます。取引の換算レート情報は、「取引」ウィンドウまたは「取引要約」ウィンドウで表示できます。
「入金」または「入金要約」ウィンドウにナビゲートします。
入金を問い合せます。
「入金」ウィンドウが表示されている場合は、「ツール」メニューから「換算レート」を選択します。
「入金要約」ウィンドウが表示されている場合、その入金を選択した後に「ツール」メニューから「換算レート」を選択します。
換算レートを修正するには、「換算レートの調整」を参照してください。
「取引」ウィンドウまたは「取引要約」ウィンドウにナビゲートします。
取引を問い合せます。
「取引」ウィンドウが表示されている場合は、「ツール」メニューから「換算レート」を選択します。
「取引要約」ウィンドウが表示されている場合、その取引を選択した後に「ツール」メニューから「換算レート」を選択します。
換算レートを更新するには、新規のレート・タイプを入力します(レート・タイプが「社内」または「直物」の場合)。レート・タイプが「ユーザー」の場合は、新規のレートを入力して「OK」を選択します。
分割支払条件を使用すると、顧客は複数の賦払で請求書を支払うことができます。請求書に分割支払条件を割り当てると、請求日とユーザー定義の支払条件に基づいて、支払計画が自動的に作成されます。たとえば、分割支払条件では、請求書の40パーセントを請求日の30日後の期日、残りを60日後の期日に指定できます。
分割支払条件は「支払条件」ウィンドウで定義します。各賦払の支払期日を入力すること、また支払条件の各明細に割引を指定することができます。初回賦払の請求書に税金と運送費を適用することも、また税金と運送費を賦払全体に按分することもできます。
請求書のステータスが「完了」の場合、Oracle Receivablesでは賦払請求の確認ができます。賦払請求は「賦払」ウィンドウで確認できます。プロファイル・オプションの「AR: 支払期日更新」が「Yes」に設定されている場合、「賦払」ウィンドウで取引支払期日を更新できます。
前提条件
『Oracle Receivablesインプリメンテーション・ガイド』の分割支払条件の定義に関する項
「取引」ウィンドウにナビゲートします。
この請求書に一般情報を入力します。関連項目: 取引の入力
「支払条件」フィールドに分割支払条件を入力するか、値リストから選択します。
作業内容を保存します。この請求書を完了する場合は、「取引の完了」を参照してください。
関連項目
請求ルール/会計基準により、いくつかの会計期間にわたって請求書の作成ができます。会計基準により、会計期間、つまりある請求書明細について収益の配分が記録される期間が決定されます。請求ルールは売掛金額が記録される会計期間を決定します。
請求ルールおよび会計基準を、Oracle Receivablesに「自動インボイス」を使用してインポートした取引、および「取引」ウィンドウで手動で作成した請求書に割当てできます。
会計基準を使用して、請求書明細についての収益認識計画を決定します。請求書の各明細に対して異なった会計基準を割当てできます。会計基準によって、各期間内で認識すべき期間数と収益合計のパーセンテージを指定できます。
また、会計基準で固定または変動どちらの収益認識予定を使用するかを指定できます。「固定予定」の会計基準はあらかじめ定義された期間数にわたります。「変動予定」の会計基準では、請求書入力の期間数を定義できます。
企業において、全会計期間と一部会計期間の両方を含む予定について正確な収益認識が必要な場合、「日次収益率、全期間」または「日次収益率、一部期間」の会計基準を使用できます。これらの会計基準では、一部期間の収益を日次レートで計算することにより、厳格な収益会計標準に対応できます。予定内の複数期間の正確な収益金額を詳細なレベルで認識できます。
収益を前受収益勘定に繰り延べる基準を作成することもできます。この基準により、正確な詳細がわかるまで、収益認識計画の指定を遅延します。詳細がわかった時点で、「収益会計管理(RAM)」ウィザードを使用して手動で収益を認識するか、収益修正APIを利用します。
関連項目: 『Oracle Receivablesインプリメンテーション・ガイド』の遅延会計基準に関する項および収益会計
関連項目: 基準の使用方法
請求ルールを使用して、2つ以上の会計期間にわたる請求書による売掛金を認識する時期を決定します。1つの請求書には1つの請求ルールだけを割り当てできます。
Oracle Receivablesには、次の請求ルールがあります。
前受請求: 売掛/未収金を即時に認識するために使用します。
未収請求: 売掛金/未収金を収益認識計画の最後に記録する場合、このルールを使用します。
重要: 「現金主義会計処理」では、支払が入金されたときのみ収益が認識されます。したがって、基準付き請求書はこの会計処理基準に適用可能ではありません。支払の入金前に、数次の期間にわたって収益を配分するように立案されているからです。現金主義会計システムに請求をインポートすると、関連付けられた請求書と会計基準の明細は「自動インボイス」によって拒否されます。

この図の説明文は、前受請求会計仕訳の図の説明文を参照してください。

この図の説明文は、未収請求会計仕訳の図の説明文を参照してください。
勘定科目セットは、収益を作成したり、個々の会計基準付き請求書明細の会計配分を相殺するために使用されるテンプレートです。これらの勘定科目セットによって、1以上の収益勘定または相殺勘定にわたる明細の収益を分割できます。ビジネス要件にあわせるために、収益認識プログラムの実行前に勘定科目セットを変更できます。収益認識プログラムの実行後に、個々のGL配分明細を変更することができ、その場合にOracle Receivablesでは逆GL仕訳が自動的に作成されます。自動会計では、請求書に対する初期収益の作成および勘定科目セットの相殺が行われます。
「収益認識」プログラムでは、すべての新しい取引を識別し、それらの取引の収益配分を作成します。配分は、取引に関連付けられたルールを使用して、すべての期間に対して(ステータスが「未オープン」の期間に対しても)作成されます。関連項目: 収益の認識
関連項目
『Oracle Receivablesインプリメンテーション・ガイド』の会計基準に関する項
この項では、Oracle Receivablesでの請求ルールおよび会計基準の使用方法について概要を示します。
「会計基準」ウィンドウを使用して、任意の数の会計基準を定義します。関連項目: 『Oracle Receivablesインプリメンテーション・ガイド』の会計基準に関する項
会計基準の定義には、次の基準タイプを使用します。
日次収益率、 全期間
このタイプの基準は、全期間と一部期間の両方を含むすべての会計期間にまたがって収益配分を正確に計算するために、Oracle Receivablesで日次収益率を使用する場合に使用します。一部期間とは、開始日が期間の初日ではない、または終了日が期間の最終日ではない会計期間のことです。
ヒント: この会計基準タイプでは、提供可能な中で最も正確な収益認識予定が提供されます。このタイプの基準は、一部会計期間に対して厳格な収益会計標準を満たす必要がある場合に使用します。
このタイプの基準を使用する場合、請求書入力の間に会計基準の開始日および終了日を指定する必要があります。このタイプの基準で請求書がインポートされる場合、両方の日付が自動インボイスによって要求されます。
Oracle Receivablesでは、次の式のように、明細の合計収益金額と、基準期間(開始日と終了日の両方を含む)の日数の組合せを使用して日次収益率を計算します。
日次収益率 = 収益合計 / 日数(基準期間合計)
Oracle Receivablesでは、次の式のように日次収益率を使用することで、収益認識予定内の各期間の収益を正確に計算できます。
収益金額 = 日次収益率 * 期間の日数
日次収益率、 一部期間
このタイプの基準は、一部期間のみに対して収益を正確に計算するために、Oracle Receivablesで日次収益率を使用する場合に使用します。この基準を使用することで、予定の全期間に均等に按分された収益配分が得られます。
「日次収益率、 全期間」の基準タイプと同様に、このタイプの基準を使用して日次収益率を計算するには、会計基準の開始日および終了日を指定しておく必要があります。
固定予定
固定予定の会計基準に対しては、収益が認められる期間(週次あるいは月次のように)および期間数を指定します。収益はその後、その期間にわたって均等に分けられます。パーセントは必要に応じて更新できますが、合計は常に100であることが必要です。たとえば、 4期間にわたる月次の期間タイプ付きの会計基準を定義し、かつデフォルトのとおりに収益の配分を按分した場合、Oracle Receivablesにより各4ヶ月ごと、4つの各期間に対して取引収益の25パーセントが認識されます。
「特定日付」を期間タイプとして選択すると、固定期間ルールによって、収益を認める具体的なGL記帳日を設定できます。期間に対して日付を指定するときは、この会計基準のすべての他の期間にも日付を割り当てる必要があります。
変動予定
変動予定の会計基準を定義するときは、期間タイプの入力は必要ですが、期間数の入力は不要です。期間数は、「取引」ウィンドウで請求書を手動入力するときに定義されます。請求書がインポートされる場合、期間数は自動インボイスを経由して渡されます。
変動予定の会計基準を定義するとき、必要に応じて、収益の何パーセントを最初の期間で認識するかを指定できます。残りの収益は、請求書の作成時に指定する期間数に応じて按分されます。
たとえば、1月14日に開始し4月13日に終了する(90日間の)$900の契約に対する請求処理を考えます。会計期間は「月次」とします。この契約期間では、1月と4月は一部期間であり、2月と3月は全期間です。次の表は、Oracle Receivablesで計算する収益認識予定と、会計基準のタイプによる配分の違いを示しています。
| GL記帳日 | 期間 | 延滞金利計算日数 | 日次収益率、 全期間 | 日次収益率、 一部期間 | 固定予定 | 変動予定 |
|---|---|---|---|---|---|---|
| 1月14日 | 1月 | 18 | 180 | 180 | 225 | 180 |
| 2月14日 | 2月 | 28 | 280 | 295 | 225 | 240 |
| 3月14日 | 3月 | 31 | 310 | 295 | 225 | 240 |
| 4月13日 | 4月 | 13 | 130 | 130 | 225 | 240 |
この例は、次のことを示しています。
会計基準が「日次収益率、 全期間」の場合、Oracle Receivablesは日次収益率($900 / 90日 = $10)を計算し、この率を使用して各期間の収益を計算します。Oracle Receivablesでは、最終の期間を使用して端数処理の問題に対処します。
会計基準が「日次収益率、 一部期間」の場合、Oracle Receivablesは一部期間の収益の計算にのみ日次収益率を使用します。残りの全期間の収益は均等に配分されます。
会計基準が「固定予定」の場合、Oracle Receivablesは基準定義を使用し、基準で指定された期間数で割った収益を各期間に均等に配分します。
会計基準が「変動予定」の場合、請求書の入力時に期間数を指定し、必要に応じて、最初の期間で認識する収益の比率を指定します。残りの収益は残りの期間に均等に配分されます。
この例では、全部で4つの期間のうち、収益合計の20%が最初の期間で認識されます。
手動で入力する請求書では、請求ルールを「取引」ウィンドウで割当てできます。デフォルトの請求ルールおよび会計基準を「マスター品目」ウィンドウ(「請求書」タブ・リージョン)の品目およ「標準メモ明細」ウィンドウの「標準明細」に割当てできます。
次の表に、デフォルト請求ルールの割当先を示します。
| 割当先 | ウィンドウ | タブ・リージョン |
|---|---|---|
| 請求書 | 取引 | メイン |
次の表に、デフォルト会計基準の割当先を示します。
| 割当先 | ウィンドウ | タブ・リージョン |
|---|---|---|
| 請求書明細 | 取引 | 追加明細情報 |
| 品目 | 品目の定義 | 品目(請求属性) |
| 標準明細 | 標準メモ明細 | 該当なし |
手動で請求書を入力する場合、請求書ヘッダーに請求ルールを入力する必要があります。そうしない場合、会計基準を請求書明細と関連付けることはできません。請求ルールを入力し、関連する会計基準を持つ品目または標準メモ明細を含めると、会計基準は請求書ではデフォルトとなります。請求書に対する活動がない場合、この請求書明細に対して会計基準を変更、あるいは手動で入力できます。
注意: また請求ルールを品目および標準明細に割り当てることもできますが、これらは手動の請求書入力中は使用されません。これは、請求書のヘッダーに割り当てられた請求ルールによって、品目または標準明細用に定義された請求ルールが上書きされるためです。
外部のシステムから請求書データをインポートする場合、「自動インボイス」でルール付きの請求書を生成するには、「自動インボイス」表の該当の列に記入する必要があります。
次の表に、「自動インボイス」で請求ルールを生成する場合に記入する列を示します。
| 列 | 次の場合に記入 |
|---|---|
| INVOICING_RULE_ID | バッチ・ソースがIDによってルールを検証する場合。 |
| INVOICING_RULE_NAME | バッチ・ソースが値によってルールを検証する場合。 |
次の表に、「自動インボイス」で会計基準を生成する場合に記入する列を示します。
| 列 | 次の場合に記入 |
|---|---|
| ACCOUNTING_RULE_DURATION | 変動予定のルールを渡している場合。 |
| ACCOUNTING_RULE_ID | バッチ・ソースがIDによってルールを検証する場合。 |
| ACCOUNTING_RULE_NAME | バッチ・ソースが値によってルールを検証する場合。 |
| RULE_START_DATEおよびRULE_END_DATE(または、RULE_END_DATEがない場合はACCOUNTING_RULE_DURATION) ACCOUNTING_RULE_NAMEまたはACCOUNTING_RULE_ID AMOUNT | 計算と日次収益率の使用が必要なルールを渡している場合。 |
注意: インタフェース表の請求書明細でパスするルールがない場合、「自動インボイス」では、関連の品目または標準明細から、請求書および会計基準が導出されません。
「自動インボイス」は請求書の中で明細をグループ化するために、請求明細書に割り当てた請求ルールを使います。請求書には、1つの請求ルールしか許容されていないため、請求書の作成時には、「未収請求」の請求ルールでインポート済の明細は、請求ルールが「前受請求」の明細とはグループ化されません。
ただし、請求書ではそれぞれの請求書明細に対して異なった会計基準が含まれる場合もあるので、会計基準では特別なグループ化は必要とされません。
請求書をインポートするとき、「自動インボイス」では次のように請求書GL記帳日および取引日が決定されます。
請求ルールとして「前受請求」を使う際、「自動インボイス」では、請求書のGL記帳日として請求書明細に関連した会計基準の最早の開始日が使用されます。
請求ルールとして「未収請求」を使用し、かつ請求書明細に「固定予定」の会計基準と「特定日付」の期間がある場合、「自動インボイス」により、GL記帳日および取引日が会計基準の最遅の「特定日付」と同じ日付に設定されます。
「未収請求」請求ルールを使う他のすべての会計基準については、「自動インボイス」は最初に各請求書明細について、会計基準、会計基準開始日および期間に基づいて、終了日付を計算します。次に、「自動インボイス」により、請求書GL記帳日および取引日の両方に対して最遅の特定日付が使用されます。
基準付き請求書を手作業で作成するとき、請求書のGL記帳日は請求書入力時に入力されます。請求ルールとして「前受請求」を使用する場合、この日付は請求書のGL記帳日と同じままです。
ただし、請求書明細を完了した後に請求書を保存するとき、Oracle Receivablesは「未収請求」請求ルールでこの日付を上書きします。Oracle Receivablesは、インポート済みの請求書に使用するのと同じ方法を新しいGL記帳日を得るのに使います。この方法の詳細は、上述の通りです。レコードを保存するとき、Oracle Receivablesは請求書のGL記帳日を更新していることを知らせる警告を出します。この日付が要求を満たさない場合は、変更できます。
注意: Oracle Receivablesでは、この日付が、「未オープン」ステータスの期間内であっても、GL記帳日を更新します。
会計基準の最初のGL記帳日と請求書のGL記帳日を別の日付にすることができます。収益認識プログラムが実行されて、会計基準開始日と請求書開始日が別の日付である場合、会計基準では、請求書開始日と、請求ルールが「前受」と「未収」のいずれであるかに基づいて売掛/未収金を認識する期間が変更されます。たとえば、請求書のGL記帳日が1月10日で、その明細に対する会計基準の最初のGL記帳日が2月15日であるとします。収益認識プログラムが1月に実行されると、請求書のGL記帳日は2月15日に変更され、それに応じてスケジュール全体が移動します。請求ルールが「前受」と「未収」のいずれであるかに応じて、売掛/未収金は2月またはスケジュールの最後の月に認識されます。
手動で請求書を入力する際、請求書明細の収益認識を開始する日付を設定する必要があります。開始日を入力するために、「明細」ウィンドウ内の「第1日」フィールドを使用します。
請求書をインポートするとき、「自動インボイス」で次のように会計基準開始日を決定します。
請求書に、タイプが「固定予定」で期間が「特定日付」の会計基準がある場合、「自動インボイス」によってルール開始日として最早の会計基準日付が使用されます。たとえば、会計基準日付が10-JUN-93、 10-JUL-93、10-AUG-93であれば、「自動インボイス」では、10-JUN-93がルール開始日となります。
ルール開始日を導出するように選択すると、「自動インボイス」では、インタフェース表にある出荷日が最初に使用されます。「自動インボイス」では、出荷日が存在しないと、受注日が使用されます。受注日が存在しない場合は、「自動インボイスの実行」ウィンドウにユーザーが入力した日付が使用されます。
特定日付期間のある「固定予定」の会計基準を請求書に使用しない、またはルール開始日の導出を決定しない場合は、「自動インボイスの実行」ウィンドウで指定したデフォルト日付が自動インボイスで使用されます。
遅延会計基準を使用する場合、「収益会計および販売実績」ウィンドウで取引明細について入力した日付とは異なるGL記帳開始日を使用できます。関連項目: 『Oracle Receivablesインプリメンテーション・ガイド』の遅延会計基準に関する項
ルール付き請求書の勘定セットは自動会計で作成されます。インポートされた請求書および手動作成された請求書の勘定科目セットを、取引ワークベンチから切り離された「配分」ウィンドウで手動で更新できます。
それぞれの勘定科目セットについて、勘定科目および各勘定科目に関連付けられた明細合計のパーセントが指定されます。「収益認識」プログラムの実行前であれば、「配分」ウィンドウの「この行のセット」および「全行のセット」リージョンで勘定科目セットを更新することによって、複数の勘定科目にわたって収益を分割するか、または金額を相殺することができます。これによって、勘定科目体系がどのように変更されても、収益が適切な勘定科目に配分されることが保証されます。Oracle Receivablesでは、入力したパーセントの合計が必ず100になることが保証されています。
「全行のセット」リージョンで全明細の勘定科目セットを表示できます。また、このリージョンを使用して、所定の明細の勘定科目の割当を更新できます。ただし、その勘定科目に割り当てられたパーセントを更新するには、「この行のセット」リージョンを使用する必要があります。
勘定科目セットを更新するには、その勘定科目セットが含まれている勘定科目セット区分を指定します。勘定科目セット区分には次のものがあります。
| 変数 | 摘要 |
|---|---|
| 相殺 | この勘定科目セット・タイプには、収益認識サイクルの間に使われる仮勘定が含まれます。請求ルールが「未収請求」であれば、相殺勘定科目セットは未請求収益です。請求ルールが「前受請求」であれば、相殺勘定科目セットは前受収益です。 |
| 収益 | この勘定科目セット・タイプには収益勘定が含まれます。 |
| 税金 | このタイプの勘定科目セットは税金明細に使用されます。 |
収益認識プログラムの実行後、「配分」ウィンドウのリージョンの名称が「この行の勘定科目」および「全行の勘定科目」リージョンに変更されます。これらのリージョンを使用して、指定した勘定科目セットを使用して生成した実際の配分を検討または更新します。
請求ルールおよび会計基準は、選択した請求書の収益および売掛/未収金額を認識する方法および時点をスケジュールするために使用されます。ただし、収益認識プログラムが実行されるまで配分は作成されません。関連項目: 収益の認識
「会計の作成」プログラムを使用して「一般会計」にレコードを転送するたびに、「収益認識」プログラムが自動的に実行されます。これにより、期間を転記してクローズする前に、基準付き請求書の収益が認識されることが保証されます。別の方法として、「収益認識処理の実行」ウィンドウから任意の時点に、手動で「収益認識」プログラムを発行することもできます。同じ期間中に「収益認識」プログラムが複数回実行される場合でも、重複した配分レコードが作成されることはありません。
クレジットする請求書の勘定科目割当を、LIFO、按分、単位の3つの方法で修正できます。「後入先出(LIFO)」方法は、請求書収益の最終GL時期から始めて収益を外に出します。この方法では、クレジット・メモ明細の金額と等しい金額の収益を外に出すまで、前期間から収益認識を戻し処理します。按分方法では請求書の勘定科目割当のすべてについて等しいパーセンテージをクレジットします。単位方法では、請求書の当初の明細書で指定する数の単位に対して収益を戻し処理できます。たとえば、請求書明細に10単位の数量があり、2単位をクレジットした場合、Oracle Receivablesは追加明細情報タブ・リージョンで指定する期間に始まる収益の20%を戻し処理し、クレジットの総額が得られるまでこれを続けます。「取引」ウィンドウか「自動インボイス」の実行によってクレジット・メモを作成するとき、これらのクレジット・メモ方法のどれでも指定できます。
関連項目
Oracle Receivablesでは、2つのタイプの取引約定の登録ができます。
前受/預り金: 前受/預り金を登録して、将来に提供する商品またはサービスに対する顧客前払いを記録します。
約定金額: 約定金額を登録して、指定した期間にまたがるビジネスを行うための基本契約を記録します。
「取引」ウィンドウを使って、顧客取引約定を入力または更新します。Oracle Receivablesでは、取引約定ステータスに応じて一定の情報を更新することができます。更新可能なフィールドの一覧は、「取引の保守」を参照してください。
取引約定を定義し、次に、借方と貸方の勘定科目を指定します。顧客が取引約定に反して請求したりまたは貸方記入した場合は、Oracle Receivablesでは自動的に取引約定残高が修正され、会計仕訳戻し処理が生成されます。
注意: 完了した請求書に預入を追加することもできます。関連項目: 取引約定の使用方法
収益と非収益の販売実績を、取引約定合計のパーセントとして割り当てできます。収益販売実績を割り当てた場合は、Oracle Receivablesでは確実に取引約定合計の100%が割り当てられます。ある販売に対して、追加またはボーナス実績を割り当てるには、非収益販売実績を使います。
注意: 前受/預り金を取引に消し込むときに、税金と運送費を含めるかどうかを取引タイプで指定できます。関連項目: 『Oracle Receivablesインプリメンテーション・ガイド』の取引タイプに関する項
前提条件
『Oracle Receivablesインプリメンテーション・ガイド』の支払条件の定義に関する項
『Oracle Receivablesインプリメンテーション・ガイド』の取引タイプの定義に関する項
『Oracle Receivablesインプリメンテーション・ガイド』の取引バッチ・ソースの定義に関する項
『Oracle Receivablesインプリメンテーション・ガイド』の営業担当の定義に関する項
取引約定を入力するには、取引の入力時と同じ手順に従います。関連項目: 取引の入力
ただし、次の手順は取引約定の入力に固有のものです。
「前受/預り金」または「約定金額」の取引区分を選択します。
この取引約定が前受/預り金の場合は、支払条件を入力します。
取引約定が約定金額の場合、賦払支払条件は入力できません。
「取引約定」タブ・リージョンをオープンします。
この取引約定の「有効日」範囲を入力します (オプション)。終了日を割り当てないと、Oracle Receivablesでは未払額がゼロになるまで、無期限にこの取引約定に対して請求書とクレジット・メモを入力できます。終了日を入力すると、Oracle Receivablesは、この取引約定に対するすべての既存の請求書がこの日付範囲に含まれていることを検証します。
この取引約定の金額を入力します。
注意: 元の前受/預り金より多い金額を使用したり、前受/預り金の金額を増やすことはできません。
この取引約定の「品目」または「メモ明細」を入力するか、値リストから選択します。
自動会計が標準明細品目に依存する場合、Oracle Receivablesでは、この品目もしくは「自動会計」のメモ明細に関連する収益勘定を使用して、この取引約定に対するデフォルト収益、「自動インボイス決済」、「未収収益」、「前受収益」および「売掛/未収金勘定」などが設定されます。
この取引約定の簡単な摘要を入力します。
会計情報を検討または更新するには、「配分」を選択します。関連項目: 会計情報の検討
注意: 前受/預り金に対する相殺勘定を導出する方法を指定する場合は、「AR: 前受/預り金相殺勘定ソース」プロファイル・オプションを使用します。Oracle Receivablesでは、自動会計または前受/預り金の取引タイプのいずれかを、相殺勘定の会計ソースとして使用できます。
関連項目
請求書とデビット・メモをバッチにグループ化する場合は、取引を入力する際に、管理と実績バッチ合計との差異を閲覧できます。これらの差異があれば、データ入力のエラー、取引の欠損または消失、あるいは重複入力がある旨の警告となります。さらに、関連取引をバッチにグループ化することにより、取引タイプ、取引ソースおよび支払条件などのデフォルト属性を取引間で共有できます。
バッチは、取引を含んでいない場合だけ削除できます。
前提条件
『Oracle Receivablesインプリメンテーション・ガイド』の取引タイプの定義に関する項
『Oracle Receivablesインプリメンテーション・ガイド』の取引バッチ・ソースの定義に関する項
『Oracle Receivablesインプリメンテーション・ガイド』の文書採番の設定に関する項
バッチにはバッチが完了しているかを示すステータスがあります。バッチ・ステータスは、以下のいずれかになります。
新規: これは新規バッチで、まだ保存されていません。保存後、ステータスを「残高不一致」、「オープン」、または「クローズ」に変更できます。
残高不一致: このバッチの実施回数および取引の実績金額が、管理回数および金額に一致しません。
オープン: 実件数および実績額が、管理件数および管理金額と同じです。
クローズ: 実件数および実績額が、管理件数および管理金額と一致します。
重要: Oracle Receivablesでは、バッチ・ステータスは自動的に更新されません。取引を入力した後、「取引バッチ」ウィンドウの「ステータス」フィールドにナビゲートしてステータスを入力するか、値リストからいずれかのステータスを選択してください。
「取引バッチ」ウィンドウまたは「取引バッチ要約」ウィンドウにナビゲートします。
取引バッチ・ソースを入力します。バッチ・ソースは、このバッチに加えた取引の請求書、請求書バッチ番号およびデフォルト取引タイプを管理します。
このバッチ・ソースの「バッチ番号自動採番」が「No」の場合は、一意のバッチ名を入力します。それ以外の場合は、保存時にバッチ名が割り当てられます。
このバッチのバッチ日付とGL記帳日を入力します。デフォルトのバッチ日付は現在日ですが、変更できます。デフォルトGL記帳日は現在日です。ただし、現在日がオープン期間内でない場合は、最早のオープン期間の最終日になります。入力するGL記帳日は、オープン期間または先日付期間内である必要があります。バッチの日付およびGL記帳日によって、このバッチに追加する取引のデフォルト日付が提供されます。
バッチ通貨を入力します。デフォルトはユーザーの機能通貨ですが、変更できます。バッチ通貨を変更し、取引日換算レートを定義していない場合は、換算レートに関する情報を入力します。関連項目: 外貨取引
「管理件数」フィールドにこのバッチ取引の合計数を入力し、「管理金額」フィールドにこのバッチ取引の合計ドル建て金額を入力します。
このバッチに取引を追加するには、「取引」または「取引要約」を選択します(関連項目: 取引の入力)。ユーザーのバッチ情報が保存されます。
関連項目
Oracle Receivablesの取引を完了する前に、その取引タイプのすべての必須情報が入力されているかどうか確認しなければなりません。
すべての必須情報を入力した後に、「取引」ウィンドウまたは「取引要約」ウィンドウで取引のステータスを「完了」に変更できます。請求書を完了すると、Oracle Receivablesでは、ユーザー指定の支払条件と請求日に基づいて支払計画を作成し、取引タイプの「未回収売掛金」が「Yes」に設定されている場合は、請求書を標準年齢調べと回収処理に含みます。
重要: 完了請求書の取引タイプを、「未回収売掛金」が「No」に設定されているタイプに変更すると、この請求書は、標準年齢調べおよび回収処理の対象から除外されます。
「自動会計」が依存する値(たとえば営業担当)を変更して完了請求書を更新し、「自動会計」が失敗した場合、Oracle Receivablesでは警告メッセージを表示し、請求書のステータスを「未完了」に変更します。これはOracle Receivablesで税金計算に使う値を変更する場合にも当てはまります(たとえば、「出荷先所在地」)。
「取引」または「取引要約」のウィンドウ内の「完了」ボタンを使用して、取引を完了します。フォームが「問合せ」モードになっている場合は、「完了」チェック・ボックスを使用して、表示する取引のステータスを指定します。
前提条件
請求書には少なくとも1つの明細がなければなりません。
請求書のGL記帳日は「オープン」または「先日付」期間でなければなりません。
請求書記号は、取引タイプの登録記号に一致しなければなりません。
各明細の配分合計は請求書明細金額に等しくなければなりません。
取引タイプの「税金の計算」フィールドが「Yes」に設定されている場合、各明細に税金が必須となります(「手数料」タイプの明細は除く)。
この取引に運送費が入力されている場合は、運送費勘定を指定しなければなりません。
システム・オプション「営業担当必須」が「Yes」の場合は、各明細に営業担当が割り当てなければなりません。
各明細に営業担当が割り当てられている場合には、合計収益の販売実績のパーセントが100%に等しくなくてはなりません。
設定値(たとえば支払条件)の活動日付範囲のすべてが、請求日に対して有効でなければなりません。
この取引で自動入金方法を使用する場合は、顧客銀行、支店および顧客口座情報を入力する必要があります。
各明細には会計基準と基準開始日が必要です。
各請求書明細には有効な勘定科目セットが必要です。
計算または入力された税金に対する有効な勘定科目セットがなければなりません。
少なくとも1つのクレジット・メモ明細を入力し、各メモ明細に収益勘定割当を指定しなければなりません。
有効な売掛/未収金勘定を指定しなければなりません。
クレジット・メモが税金のクレジットである場合は、有効な税金勘定を指定しなければなりません。
クレジット・メモが運送費を貸方記入している場合には、有効な運送費勘定科目を指定しなければなりません。
注意: 請求書、デビット・メモ、または取引約定に対して入力したクレジット・メモのステータスは、最初のメモの後でこの品目に対して別のクレジット・メモを入力した場合は、「完了」から「未完了」に変更できません。
請求書、デビット・メモ、または取引約定に対して入力したクレジット・メモのステータスは、最初のメモの後でこの品目に対して別のクレジット・メモを入力した場合は、「未完了」から「完了」には変更できません。
「取引」ウィンドウまたは「取引要約」ウィンドウにナビゲートします。
完了する取引を問い合せます。
このタイプの取引を完了するための要件がすべて満たされていることを検証します(前述を参照)。
「取引要約」ウィンドウが表示されている場合は、取引を選択してから「完了」ボタンを選択します。
「取引」ウィンドウが表示されている場合は、「完了」ボタンを選択します。
注意: 取引を完了すると、ボタン名が「完了」から「未完了」に変わります。ボタンを再度クリックすると、Oracle Receivablesでは取引ステータスが「未完了」に戻ります(ただし、取引がGLに転記された場合や、入金消込のような取引に対する活動が発生した場合は、ステータスを変更できません)。
関連項目
Oracle Receivablesでは、取引タイプを更新することで、デビット・メモ、クレジット・メモ、対顧客勘定クレジット、請求書またはチャージバックを無効にできます。
次の両方の条件に当てはまる場合にのみ、取引を無効にできます。
取引に対する活動がない
「収益認識」プログラムによりまだ処理されていない
取引がGLにまだ転記されていない
前提条件
『Oracle Receivablesインプリメンテーション・ガイド』の取引タイプ「無効」の定義(未回収売掛金を「No」に設定)に関する項
「取引」ウィンドウまたは「取引要約」ウィンドウにナビゲートします。
取引を問い合せます。
取引タイプを「無効」取引タイプに変更します。
Oracle Receivablesでは、請求書、入金、クレジット・メモ、デビット・メモおよび未回収残高がある取引約定について、その詳細情報または要約情報を表示できます。
特定の取引のステータス、支払期日、遅延日数、係争額および未回収残高を表示するには、「勘定詳細」ウィンドウを使用します。「詳細」ボタンを選択すると、取引に関するさらに詳細な情報を表示できます。このウィンドウでは、入金に関する詳細も表示できます。
注意: 「勘定詳細」ウィンドウでは、「未回収売掛金」が「No」に設定された取引タイプの入金、クレジット・メモ、対顧客勘定クレジット、修正および借方品目は表示されません。「未回収売掛金」が「No」に設定された取引タイプに割り当てられた取引は、顧客残高を更新しないため、標準年齢調べおよび回収処理には含まれません。
プロファイル・オプション「AR: 支払期日更新」が「Yes」に設定されている場合は、このウィンドウで取引の支払期日を更新できます。
顧客請求先および出荷先所在地、支払条件、支払期日、ステータスおよび請求書明細など、特定取引の情報を表示するには、「取引概要」ボタンを選択します。
ヒント: 顧客の支払遅延残高を計算する際に、自動的に未決済入金を表示し、それらが組み込まれるようにするには、プロファイル・オプション「AR: 顧客残高にはリスクのある入金も含まれます」を「Yes」に設定します。関連項目: 『Oracle Receivablesインプリメンテーション・ガイド』のOracle Receivablesユーザー・プロファイル・オプションの概要に関する項
このプロファイル・オプションが「No」に設定されている場合は、「ツール」メニューから「顧客残高に未決済入金含む」を選択してから問合せを再実行することによって、未決済入金を含めることができます。
「勘定詳細」ウィンドウにナビゲートします。
問合せを制限するには、「勘定詳細の検索」ウィンドウで選択基準を入力します。たとえば「取引番号」、「支払期日」の範囲、「請求先顧客名」、「取引区分」、「ステータス」、または「未回収残高」の下位値および上位値を入力して、基準に一致する取引のみを選択します。問合せ対象を選択基準に一致する取引に限定しない場合は、フィールドを空白のままにします。
「検索」を選択します。
表示する品目を選択して、「詳細」を選択します。
注意: 「勘定詳細」ウィンドウから「入金」または「取引」ワークベンチのどちらかにナビゲートするとき、[↓]キーを押しても次の取引は表示できません。次の取引を表示するには、「勘定詳細」ウィンドウへ戻り、マウスまたは[↓]キーを使って表示する取引を選択してから、「詳細」をもう一度選択してください。
「勘定詳細」ウィンドウにナビゲートします。
問合せ対象を限定するには、「勘定詳細の検索」ウィンドウに選択基準を入力します。
「検索」を選択します。
表示する取引を選択して、「活動」を選択します。
入金に関する活動も表示できます。関連項目: 入金と消込の検討
「勘定詳細」ウィンドウにナビゲートします。
問合せ対象を限定するには、「勘定詳細の検索」ウィンドウに選択基準を入力します。
「取引概要」を選択します。
この取引の追加情報を表示するには、「詳細」タブ・リージョンをオープンします。
注意: 「取引概要」ウィンドウ内の「明細」および「取引合計」フィールドには、表示されている取引の内税または外税の税額が含まれていません。ただし、この明細の税金コードまたは税グループが内税の場合は、個別の取引明細の「単価」と「金額」フィールドに税金が含まれます。
Oracle Receivablesでは、「残高」ウィンドウで特定取引の完全な情報を表示できます。「残高」ウィンドウに、当初取引金額、入金の合計金額、クレジット・メモ、修正、およびこの取引および実施済割引に適用された延滞手数料が表示されます。
注意: 受取手形が使用可能な場合は、「残高」ウィンドウにも受取手形割当に関する情報が表示されます。
また、「残高」ウィンドウには、この取引に適用された入金、与信、または割引のレベルおよび作成された調整のタイプも表示されます。たとえば、単一取引に2つのタイプの調整、1つは「手数料」でもう1つは「運送費」を作成したとします。同様に、2つ以上のクレジット・メモ、1つは明細レベル、もう1つは税金レベルを消し込みしたものとします。
Oracle Receivablesでは、この取引に影響している各活動の合計金額が「合計」列に表示され、明細、税金、運送、延滞手数料残高の影響された結果が「残高」行に表示されます。
入金が消し込まれた後に、「明細番号」フィールドを使用して、取引の明細レベルの残高を表示します。関連項目: 詳細での入金消込
デフォルトでは、「残高」ウィンドウには入力済通貨単位での取引残高が表示されますが、「機能通貨」ボックスをチェックすると、その金額を機能通貨でも表示できます(入力した通貨が機能通貨と異なる場合)。
「勘定詳細」ウィンドウで取引を問い合せ、「残高」を選択します。
「取引」ウィンドウで取引を問い合せ、「未回収残高」リージョンで「詳細」を選択します。
「取引要約」ウィンドウで取引を問い合せ、「ツール」メニューから「残高」を選択します。
関連項目
この項では、「勘定詳細」ウィンドウ内のいくつかのフィールドについて簡単に説明します。
未回収残高: 取引残高。この項目が請求書、デビット・メモ、前受/預り金、約定金額またはチャージバックの場合、この残高は未払額です。この項目が入金または対顧客勘定クレジットの場合、この残高は、借方品目に対してまだ消し込まれていない金額です。
区分: 取引または入金の取引区分。区分には、請求書、入金、クレジット・メモ、チャージバック、約定金額、前受/預り金、およびデビット・メモが含まれます。
累計残高: 取引の範囲を選択すると、この「累計残高」フィールドには選択した項目の残高が表示されます。取引の範囲を選択するには、[Shift]キーを押しながらマウスをクリックします。特定の取引を選択するには、[Ctrl]キーを押しながらマウスをクリックします。取引を選択しないと、累計残高と合計残高は等しくなります。通貨が異なる複数の取引を選択した場合、「機能」列に表示されるのは、累計残高のみです。
注意: 「勘定詳細」ウィンドウには、複数の営業単位にまたがる取引を表示できます。この「勘定詳細」ウィンドウに表示された取引が異なる元帳に属している場合、累計残高は機能通貨で表示されません。これは、元帳には異なる複数の機能通貨を設定できるためです。
係争額: 係争中または保留修正がある対象取引の金額。
ある項目の未処理残高について顧客が合意しない場合は、その項目または特定の未払額に「係争中」のマークを付けることができます。係争中の金額は回収レポートに表示されます。Oracle Receivablesでは、係争中の取引に支払を消し込むことができます。
Oracle Advanced CollectionsまたはiReceivablesから取引を係争中として指定するには、クレジット・メモ・ワークフローを使用してクレジットを要求します。関連項目: AMEクレジット・メモ要求ワークフロー
Oracle Trade Managementを使用して、顧客の請求書過少支払を追跡管理している場合は、要求を作成して取引を係争中として指定することもできます。関連項目: 入力の消込
Oracle Receivablesでは、次の各ウィンドウで、項目を係争中として指定したり、係争中の項目を外すことができます。
勘定詳細
賦払(「取引」または「取引要約」ウィンドウからアクセスします)
取引(「詳細」タブ)
係争中の項目について延滞手数料を計算するかどうかを選択するには、顧客プロファイル区分、顧客アカウントまたはサイトのレベルで「係争取引」オプションを選択します。関連項目: 『Oracle Receivablesインプリメンテーション・ガイド』の顧客プロファイル区分の定義に関する項およびアカウントの延滞手数料の追加および更新
「取引要約」ウィンドウにナビゲートします。
係争中として指定する取引を問い合せます。
取引を選択し、「賦払」を選択します。
「係争額」と「係争発生日」を入力します。
「勘定詳細」ウィンドウ、または「取引」ウィンドウの「詳細」タブで係争額と係争発生日を入力して、項目を係争中として指定することもできます。
「勘定詳細」、「賦払」または「取引」ウィンドウにナビゲートします。
取引を問い合せます。
「係争額」を0(ゼロ)に変更します。
「係争発生日」を今日の日付に変更します。
「係争中請求書レポート」を作成して、係争項目を検討します。関連項目: 係争中請求書レポート
関連項目
『Oracle Advanced Collections User Guide』の係争中請求書に関する項
『Oracle iReceivables Implementation Guide』
「取引のコピー」ウィンドウでは、顧客に定期的に提供する商品またはサービスの請求書を、自動的に作成できます。たとえば、2年間毎月1回供給するサービスまたは製品を顧客に請求する必要があるが、毎月新しい請求書を手動で作成したくない場合です。請求書コピーを作成すると、同じ特性を共有する請求書のグループを迅速に作成できます。コピーした請求書のすべての日付は(たとえば、請求日、GL記帳日および支払期日)は指定したコピー基準によって決められます。
請求書をコピーするとき、Oracle Receivablesでは、コピーされる請求日から換算レートと税率を導出しません。そのかわり、最初にコピーした請求書から換算レートと税率を導出します。このため、時間の経過で変化した外貨または税率による請求書をコピーする場合は、換算レートと税率を手動で更新する必要が出てくる場合があります。(請求書をコピーすると、売掛金税設計をコールし、税金が再計算されます。)コピーした請求書の税率を更新するには、「取引」ウィンドウを使います。
重要: コピーする請求書に内税コードを使用する明細があり、税率が変更されている場合には、コピー済請求書の明細金額も当初取引と異なります。これは税金の内税コードに割り当てられた明細の金額には、税金が含まれるためです。当初請求書明細のいずれかの税率が変更されている場合には、コピー済請求書の明細、税金、収益および販売実績も当初取引と異なります。
コピー処理中、Oracle Receivablesでは当初請求書の取引タイプにある「税金計算」ボックスの値が無視され、税金の計算が保存されます。
Oracle Receivablesではコピーした請求書のモデル請求書からの請求金額が使われます。このため、モデル請求書がクレジットされ、調整され、または支払われた場合でも、すべてのコピーした請求書の金額は当初の請求金額に一致します。
Oracle Receivablesでは、コピーした請求書のモデル請求書からの会計配分も使用されます。モデル請求書が自動収益認識のための回収可能性分析に失敗した場合は、コピーした請求書も、モデル請求書の前受収益配分を継承します。コピーした取引が完了した後は、会計配分を検討し、「収益会計管理(RAM)」ウィザードを使用して、適宜変更する必要があります。関連項目: 収益会計およびイベント基準の収益管理
Oracle Receivablesでは、請求書のコピー時に当初の営業担当と営業グループが保持されます。この営業情報は変更できます。
必要な回数だけ請求書をコピーでき、またクローズ済の請求書を含む任意の既成請求書からコピーを作成できます。
「取引」ウィンドウでコピーした請求書を登録、検討および更新します。
請求書をコピーするには、次の基準の中の1つを使用できます。
年次: この基準では、1年に1回、各年度の同月同日に請求書が作成されます。たとえば、モデル請求書の請求日が1991年1月1日だとすると、最初のコピー請求書の請求日は1991年1月1日です。後続のすべての請求日は、1年の間隔で計算されます。
半期: この規則では、6か月ごとの同日に請求書が登録されます。
四半期ごと: この規則では、3か月ごとの同日に請求書が登録されます。たとえば、モデル請求書の請求日が1991年1月1日だとすると、最初のコピー請求書の請求日は1991年4月1日です。すべての後続する請求日は、3か月間隔で計算されます。
月次: この基準では、毎月同日に請求書が登録されます。たとえば、モデル請求書の請求日が1991年1月1日だとすると、最初のコピー請求書の請求日は1991年2月1日です。すべての後続する請求日は、1か月間隔で計算されます。
隔月: この基準では、隔月同日に請求書が登録されます。たとえば、モデル請求書の請求日が1991年1月1日だとすると、最初のコピー請求書の請求日は1991年3月1日です。すべての後続する請求日は、2か月間隔で計算されます。
週次: この基準では、7日ごとに請求書が登録されます。たとえば、モデル請求書の請求日が1991年1月1日だとすると、最初のコピー請求書の請求日は1991年1月8日です。すべての後続する請求日は、7日間隔で計算されます。
単独コピー: この基準では、「最初の請求書日付」フィールドに入力した日付のモデル請求書のコピーを1つ登録します。
日数: この基準では、指定した日数に基づいて請求書が登録されます。たとえば、モデル請求書の請求日が1991年1月1日で、「日数」フィールドに20を入力したとすると、最初のコピー請求書の請求日は1991年1月21日です。すべての後続する請求日は、20日間隔で計算されます。
前提条件
「取引要約」ウィンドウまたは「取引のコピー」ウィンドウにナビゲートします。
コピー請求書のモデルとして使用する請求書を問い合せます。
注意: 完了請求書を選択する必要があります。
「取引要約」ウィンドウが表示されている場合は、請求書を選択してから「コピー」を選択します。
コピー基準を選択します。
登録するコピーの数を「回数」フィールドに入力します。
コピー基準が「日数」の場合は、コピー請求日の間隔の日数を入力します。
モデル請求書の取引タイプの「GL転記」フラグが「Yes」の場合は、コピー請求書の第1GL記帳日を入力します。この日付は、オープン期間、先日付期間または未オープン期間内である必要があります。
注意: 未オープン期間の日付を選択すると、Oracle Receivablesでは請求書を未完了として登録します。これらの請求書を完了するには、「取引要約」ウィンドウで期間をオープンして請求書を問い合せ、次に「完了」ボタンを選択します。「未収請求」基準を使用している場合は、そのGL記帳日が未オープン期間にあっても、請求書は完全なものとして作成されます。
コピー請求書を登録するには、「第1取引日」を入力します。デフォルトは最初のコピー請求書の請求日(入力したコピー基準によって決定される)ですが、変更できます。
手動順序採番を使用している場合は、各コピー済請求書に一意の文書番号を入力します。それ以外の場合は、保存時に文書番号が割り当てられます。関連項目: 『Oracle Receivablesインプリメンテーション・ガイド』の文書連番の実装に関する項
作業内容を保存します。コンカレント・プロセスが発行され、コピー請求書が登録されて一意の要求ID番号が生成されます。この番号を使用すると、「コンカレント要求の要約」ウィンドウでユーザーの要求のステータスを確認できます。
Oracle Receivablesではまた、保存の際に「定型請求書プログラム・レポート」も作成します。このレポートは、請求と会計基準を使用する請求書の指定期間に登録されたすべての収益配分を検討するために使います。関連項目: 定型請求書プログラム・レポート
関連項目
このレポートには、モデル請求書および、「取引のコピー」ウィンドウで作成した新規のコピー請求書の情報が含まれます。コピー請求書の登録要求を発行すると、Oracle Receivablesでは、自動的にこのレポートが生成されます。
重要: 新規のコピー済請求書が作成されたときに、「第1GL記帳日」が未オープン期間にあると、これらの請求書は未完了として作成されます。この請求書を完了するには、未オープン期間をオープンし、「取引」ウィンドウの各請求書を問い合せて、「完了」チェック・ボックスを選択する必要があります。「未収請求」請求ルールを使用している場合は、未オープン期間にそのGL記帳日があったとしても、請求書は完了として作成されます。
関連項目
Oracle Receivablesでは、請求書、デビット・メモ、チャージバック、対顧客勘定クレジット、前受/預り金、約定金額に正または負の修正を行うことができます。ユーザーは、承認限度内の修正を承認でき、承認限度外の修正には保留ステータスを与えることができます。選択基準に合った借方品目は自動的に上書きできます。
修正には、完了しているかどうかを示すステータスが付いています。Oracle Receivablesには、次の修正ステータスがあります。
承認: この修正はすでに承認されています。Oracle Receivablesにより、借方品目または貸方品目の額とステータスが更新され、修正が反映されるようになります。
調査必須: ユーザーは、借方品目または貸方品目を検索しているか、または修正に関する追加情報を要求しているので、この修正は保留になっています。
拒否: この修正は拒否されています。修正がこのステータスになっている場合、貸方品目または借方品目の残高は更新されません。
保留承認: 修正額は、この修正を入力したユーザーの承認限度の範囲外にあります。このステータスを修正できるのは、適切な承認限度を持ったユーザーだけです。
Oracle Receivablesの参照「承認タイプ」を更新して、その他の修正ステータスを定義できます。関連項目: 『Oracle Receivablesインプリメンテーション・ガイド』の売掛/未収金参照の検討と更新に関する項
その他の入金、延滞手数料、修正取引のための会計情報のデフォルトを決定するために、「売掛/未収金活動」を使用します。「売掛/未収金活動」は、いくつでも定義できます。「売掛/未収金活動」ウィンドウで修正活動を定義します。関連項目: 『Oracle Receivablesインプリメンテーション・ガイド』の売掛/未収金活動に関する項
請求書ヘッダー・レベルで修正を作成できますが、請求書、デビット・メモまたはチャージバックの特定の要素は修正できません。関連項目: 修正の作成
修正を作成すると、Oracle Receivablesではその修正を承認する前に、それが修正承認限度内であるかどうか検証します。入力した修正が、その品目の通貨用にユーザーに割り当てられた承認限度の範囲内にある場合、Oracle Receivablesにより、顧客の残高が更新され、修正が反映されます。承認限度外にある修正を入力した場合は、Oracle Receivablesでは「保留承認」ステータスのある保留修正を作成します。関連項目: 『Oracle Receivablesインプリメンテーション・ガイド』の承認限度に関する項
取引タイプが超過消込を認めない場合は、借方品目の残高の符号を逆にするような金額の入力はできません。
修正タイプとして「請求書修正」を指定すると、修正する品目をちょうどクローズできるだけの額を修正額として「金額」フィールドに入力することが必要となります。
保留修正は、取引の残高に影響を与える前に承認される必要があります。修正承認処理は、個別承認限度を作成して管理します。承認限度の定義は「承認限度」ウィンドウで行います。そこで、各ユーザーおよび各通貨に対し、最小承認金額と最大承認金額を指定します。関連項目: 『Oracle Receivablesインプリメンテーション・ガイド』の承認限度に関する項
修正する品目の取引タイプに、「Yes」に設定されている「超過消込の許可」がある場合は、修正を超過消込できます。関連項目: 『Oracle Receivablesインプリメンテーション・ガイド』の取引タイプに関する項
「修正」または「修正の承認」ウィンドウを使用して、保留修正を検討および承認します。修正およびそのステータスを検討するには、「修正承認レポート」を参照してください。「承認」ステータスのある修正だけを検討するには、「修正台帳」を参照してください。
修正を作成すると、Oracle Receivablesによって一意の修正番号が生成されて割り当てられます。
関連項目
修正を作成するには「修正」ウィンドウを使用します。修正に活動を割り当てると、Oracle Receivablesでは修正に対し、その活動に割り当てられた勘定科目が自動的に使用されるようになります。
取引を修正するには、その取引のステータスが「完了」である必要があります。
前提条件
『Oracle Receivablesインプリメンテーション・ガイド』のユーザー承認限度の定義に関する項
「取引要約」ウィンドウにナビゲートします。
修正する取引を問い合せます。
取引を選択し、「修正」を選択します。
この取引に複数の賦払がある場合は、修正する賦払を選択し、「修正」を選択します。
修正を入力します。
活動名を入力し、作成中の修正タイプを選択します。有効な修正タイプには「請求書」、「手数料」、「運送費」および「税金」があります。
この修正の金額を入力します。修正タイプとして「請求書」を指定した場合は、Receivablesによって、修正する項目をクローズするために最低限必要な修正額が要求され、その額が「金額」フィールドに表示されます。この修正額が、承認限度外の場合は、保存する際に修正のステータスが「保留承認」に設定されます(未承認の修正では項目の未回収残高は更新されません)。
重要: 取引タイプ「超過消込の許可」オプションが「Yes」に設定されている場合のみ、未回収残高より大きい金額を入力できます。詳細は、『Oracle Receivablesインプリメンテーション・ガイド』の取引タイプに関する項を参照してください。
この修正のGL記帳日を入力します。デフォルトは、取引GL記帳日または現在の日付以降の日付です。ただし、この日付がオープン期間内にない場合は、デフォルトGL記帳日が直前のオープン期間の最終日に変更されます。GL記帳日は、修正中の借方品目のGL記帳日かそれ以降の日付であり、さらにオープン期間あるいは入力可能な将来の期間の日付である必要があります。
修正日を入力します。デフォルトは現在の日付ですが、変更可能です。
「勘定科目ID」タブ・リージョンをオープンし、この修正のGL勘定を入力します(オプション)。活動名はデフォルトのGL勘定ですが、変更可能です。
手動文書採番を使用している場合は、この修正に対して一意の文書番号を入力します。自動文書採番を使用している場合は、保存する際に文書番号が割り当てられます。関連項目: 『Oracle Receivablesインプリメンテーション・ガイド』の文書連番の実装に関する項
「注釈」タブ・リージョンをオープンし、この修正を作成する事由を入力します(オプション)。この事由は、修正台帳に印刷されます。
注意: 修正事由は、「AR: 修正事由必須」プロファイル・オプションが「Yes」に設定されていない場合は、オプションです。関連項目: 『Oracle Receivablesインプリメンテーション・ガイド』のOracle Receivablesユーザー・プロファイル・オプションの概要に関する項
この修正のステータスを更新します(オプション)。この修正がユーザー承認限度内の場合は、任意のステータスを選択できます。以前に承認済の修正を検討している場合、このフィールドはスキップされます。
作業内容を保存します。この修正に一意の番号が生成されます。
関連項目
この項では、「修正」ウィンドウ内のいくつかの項目について簡単に説明します。
修正日付: 選択した品目に修正を消し込む日。デフォルト値は、取引のGL記帳日と現在日のうちの遅い方の日付です。修正の消込日は、修正する品目の取引日以降(当日を含め)であることが必要です。
残高: 請求書、デビット・メモまたはチャージバックの、入力した通貨での未回収残高。デビット・メモの未回収残高は、当初金額から支払やクレジットメモ、修正などの活動を差し引いたものです。
保留修正: この品目に対して保留されている修正の合計額。保留修正はユーザーが承認も拒否もしていない修正で、「保留承認」または「調査継続」のステータスを持っています。
ステータス: (「注釈」タブ・リージョン)修正のステータス。この修正を保存すると、Oracle Receivablesではステータスが割り当てられます。
関連項目
すべてのオープン請求書、デビット・メモ、クレジットメモおよびチャージバックの残高を自動的に修正するには、「自動修正」を実行します。特定の取引を修正するには、残高、支払期日、取引タイプ、顧客名、顧客番号などの選択基準を入力します。
「自動修正」を実行すると、ユーザーの承認限度に基づいて、保留修正または承認済修正がOracle Receivablesによって自動的に作成され、「自動修正」処理の概要および監査レポートが印刷されます。
入力した「残高」範囲が承認限度を超える場合は、発行の際に警告メッセージとユーザーの承認限度が表示されます。継続を選択すると、Oracle Receivablesでは「保留承認」ステータスのある修正が作成されます。
指定した「残高」範囲が承認限度の範囲内にある場合は、修正が自動的に承認されます。
前提条件
「自動修正の作成」ウィンドウにナビゲートします。
修正する取引の「請求書通貨」を入力します。デフォルトはユーザーの機能通貨ですが、変更できます。
選択基準を入力して、修正する取引を指定します。「未回収残高」または「残高比率」の範囲の上限と下限、「支払期日」、「取引タイプ」または「顧客名」を入力して、基準に一致する取引のみを修正します。基準に一致する取引に修正対象を限定しない場合は、フィールドを空白のままにします。
「修正活動」を入力するか、値リストから選択します。「修正活動」によって、修正の際に借方転記される勘定科目が決まります。
作成する修正のタイプを入力します。修正を作成できるタイプは、「明細」、「運送費」、「手数料」、「税金」または「請求書」です。
修正をGeneral Ledgerに転記する日付を「GL記帳日」フィールドに入力します。デフォルトは現在日ですが、変更できます。現在日がオープン期間内でない場合、デフォルトは最早のオープン期間の最終日になります。GL記帳日は、修正中の借方品目のGL記帳日以降の日付で、オープンまたは先日付の入力可能な期間内である必要があります。
この修正を作成する「事由」を入力するか、値リストから選択します。
次の自動修正オプションのいずれかを選択します。
レポートのみ生成: このオプションの場合、「自動修正プレビュー・レポート」が印刷され、品目を実際に更新する前に、修正の及ぼす影響を確認することができます。そのため、作成する修正を分析し、修正を実際に実行する前に選択基準を変更することも可能です。
修正の作成: このオプションの場合、承認済修正および保留修正の作成、該当する品目のクローズ、「自動修正監査レポート」の印刷が行われます。
関連顧客の品目を修正しない場合は、「関連請求書の修正」チェック・ボックスの選択を解除します。
「発行」を選択します。コンカレント処理の要求ID番号が表示され、「自動修正実行レポート」が作成されます(関連項目: 自動修正レポート)。要求ID番号を使用して、「コンカレント要求の要約」ウィンドウで要求のステータスを確認できます。
関連項目
『Oracle Applicationsユーザーズ・ガイド』の要求の監視に関する項
自動修正の合計値、修正済借方品目の数、保留修正および承認済修正に関する詳細、最終借方品目残高を確認するためには、「自動修正プレビュー・レポート」または「自動修正実行レポート」を使用します。
「自動修正プレビュー・レポート」は、修正の及ぼす影響を確認するために、自動修正を作成する前に実行します。「自動修正の作成」ウィンドウで「レポートのみ生成」オプションを選択した場合、Oracle Receivablesによってこのレポートが生成されます。
「自動修正の作成」ウィンドウで「修正の作成」オプションを選択した場合、Oracle Receivablesでは自動的に「自動修正実行」レポートが生成されます。
修正タイプ: ユーザーが指定した修正タイプ。
承認限度: 「自動修正」処理の発行人に対する修正承認限度。
修正の作成/レポートのみ生成: 指定した「自動修正」オプションに基づいたレポートの適切なサブタイトル。これは、「自動修正」処理についての可能な修正プレビューと実際の結果を区別することを許容します。
通貨: 修正することを選択した借方品目に対する通貨コード。「自動修正レポート」は一度に1つの通貨だけに実行できます。
外貨建て金額の修正: 各請求書、デビット・メモおよびチャージバックに対する借方品目が入力された通貨での修正金額。修正金額は、指定した残高範囲または残高率範囲を使用して決定されます。
機能通貨建て金額の修正: 各請求書、デビット・メモおよびチャージバックに対する機能通貨での修正金額。修正金額は、指定した残高範囲または残高率範囲を使用して決定されます。
修正ステータス: 「自動修正」処理での各請求書、デビット・メモおよびチャージバックに対する修正ステータス。有効な修正ステータスは: 「承認」および「保留承認」です。
外貨での未回収残高金額: 各請求書、デビット・メモおよびチャージバックに対する借方品目が入力された通貨での未回収残高。
機能通貨での未回収残高金額: 機能通貨での各請求書、デビット・メモおよびチャージバックに対する未回収残高。
請求書タイプ: 各請求書、デビット・メモおよびチャージバックに対する取引タイプ。Oracle Receivablesでは、特定の取引タイプまたはすべてのタイプに対するレポートの検討が許されています。
承認済修正件数: 「自動修正」処理の承認修正の数。
承認済修正合計: 「自動修正」処理のすべての承認修正に対する外貨と機能通貨の両方での合計修正および未回収残高。
保留修正件数: 「自動修正」処理での保留修正の数。
保留修正合計: 「自動修正」処理のすべての保留修正に対する外貨と機能通貨の両方での合計修正および未回収残高。
合計承認済修正件数: すべての承認修正に対する総計実施回数。
機能通貨での合計承認済修正: すべての承認修正に対する機能通貨での総計額および未回収残高。
合計保留修正件数:すべての保留修正に対する総計実施回数。
機能通貨での合計保留修正:すべての保留修正に対する機能通貨での総計額と未回収残高。
関連項目
承認限度を超える修正を作成すると、Oracle Receivablesでは「保留承認」ステータスで保留修正が作成されます。保留修正は、Oracle Receivablesで取引の残高が更新される前に承認しなくてはなりません。
注意: 保留承認中の調整では、その他のタイプの活動(現預金消込またはクレジット・メモ消込など)による更新を避けるために取引の予約を行うことはありません。
保留修正を承認できるのは、修正額が承認限度の範囲内である場合のみです。ただし、その修正が承認限度の範囲外にある場合でも、修正履歴の確認や、注釈の記録、その他の処理(「調査継続」または「拒否」のステータスの割当など)の作成は可能です。関連項目: 『Oracle Receivablesインプリメンテーション・ガイド』の承認限度に関する項
修正を承認できるのは、ユーザー・プロファイル・オプション「AR: 不明入金のある請求書」を「修正」または「修正およびクレジット」に設定している場合に、自動入金の生成を選択、承認した修正だけです。
承認限度の範囲内にある修正を承認する場合、取引の残高がOracle Receivablesによって自動的に更新されます。
前提条件
「修正の承認」ウィンドウにナビゲートします。
特定の修正のみを表示する場合は、選択基準を入力します。たとえば、「作成者」、「修正番号」、「通貨」、「金額」の範囲、または修正の「ステータス」を入力します。特定の取引、顧客または修正について選択基準を入力するには、「詳細」タブ・リージョンをオープンします。問合せ対象を選択基準に一致する修正に限定しない場合は、フィールドを空白のままにします。
Oracle Receivablesの修正表示方法は、「金額でソート」または「ステータス」オプションを選択して、管理できます。
「検索」を選択します。
注意: 「ツール」メニューから「会計の表示」を選択すると、修正の詳細な会計明細を貸借一致の会計仕訳(すなわち、借方 = 貸方)の形式で表示できます。また、詳細勘定科目をT字型勘定として表示するように選択することもできます。
関連項目: 会計明細の表示
修正を承認するには、「承認済」ステータスを入力します。
この修正に関する情報(修正が作成された日付、作成者、関連する注釈など)を確認するには、「処理履歴」を選択します。
関連項目
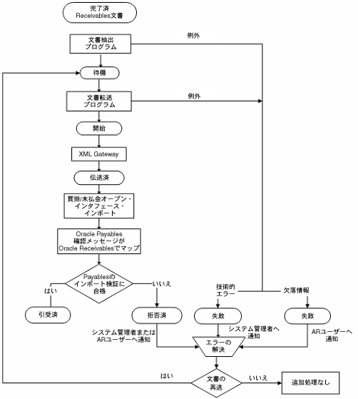
Oracle XML Gatewayを使用して、Receivables文書を顧客に送付できます。現在、XML Receivables文書には、請求書、デビット・メモ、クレジット・メモ、チャージバックおよび前受/預り金が含まれます。顧客に伝送されるXML文書の最大の部分は顧客請求書です。
Oracleでは、171_process_invoice_002.dtd(バージョン7.2.1)と呼ばれるOpen Applications Group請求書処理DTDが使用されます。送付したXML請求文書を顧客の買掛管理部門で正しく受け入れて処理できるためには、顧客がこの標準を順守している必要があります。
顧客は確認メッセージを自動的に返信するようシステムを設定できます。これらのOracle Payables確認メッセージは、XML文書のインポート・ステータスおよび拒否済請求書の事由コードを示します。XML Gatewayではこれらの確認メッセージが処理され、顧客が拒否した文書に関する適切な売掛/未収金処理および通知が開始されます。
文書転送要求セットを使用して、「文書転送計画」プログラムおよび「文書転送」プログラムを実行し、最初にXML文書を顧客に送付します。または、この2つのプログラムを個別かつ順番に実行して計画し、その後に文書転送を処理できます。インポート・ステータスを検討し、必要に応じてXML文書を再送するには、「文書転送要約」ページおよび「文書転送」ページを使用します。
この機能は、Open Applications Group Integration Specification(OAGIS)リリース7.2.1標準に準拠しています。OAGIS標準の詳細は、OAG Webサイト(www.openapplications.org)を参照してください。
次の図に、顧客の買掛管理システムによる請求書インポートの検証およびエラーの解決を含め、完全なXML請求処理フローを示しています。
XML請求処理フロー

XML請求文書では、常に次のXMLメッセージが使用されます。
請求書処理: このXMLメッセージには、顧客の請求書、デビット・メモ、クレジット・メモ、チャージバックおよび前受/預り金に関する情報が含まれます。
さらに、顧客はこのXMLメッセージを返信するようシステムを設定できます。
ビジネス・オブジェクト文書の確認(確認BOD): 顧客はこのXMLメッセージを送付し、XML請求文書のインポートが正常に実行されたかどうかをユーザーに通知できます。これは標準OAG「確認BOD」XMLメッセージです。
関連項目
『Oracle Receivables Reference Guide』のXMLトランザクション・マッピングに関する項
『Oracle XML Gatewayユーザーズ・ガイド』
『Oracle Workflow開発者ガイド』
OAG Webサイト: www.openapplications.org
システムを設定し、組織および顧客のニーズに最適となるようにXML請求文書を処理できます。
XMLメッセージを顧客と送受信するには、ユーザーと顧客が次の各項目に合意し、実装する必要があります。
OAG標準およびバージョン7.2.1のDTD。
XML DTDのユーザー領域セクションで定義された請求書情報。
Oracle Payablesでシード済のものを除く、確認メッセージで使用される請求書インポート・ステータス・コード。
XML Gatewayのソース取引先事業所コードなど、一意の取引先識別子。
Oracle Transport Agent(OTA)。あるいは、顧客はOTAプロトコルを認識するプログラムを実装できます。
詳細は、『Oracle XML Gatewayユーザーズ・ガイド』を参照してください。
この機能を設定する前に、次の質問について考慮してください。
顧客は確認BODをユーザーに送付しますか。送付する場合、毎回送付しますか。あるいはXML文書のインポート・エラーが発生した場合のみ送付しますか。
通知の送付はEメールとOracle Workflowワークリストのどちらの使用を希望しますか。あるいはその両方ですか。
ワークフローのタイムアウトのデフォルト値を修正しますか。XMLトランザクション・メッセージを送付するたびに顧客による確認の送付を必要とする場合のみ、「確認BOD」メッセージのタイムアウト値を設定してください。デフォルト値は10分です。
ワークフローによるXML請求文書処理の管理方法にこれらの決定が及ぼす影響については、「XML請求処理フロー」を参照してください。
次の表には、XML請求文書の設定に必要な相互製品ステップを示しています。
| ステップ | 実行者 | アプリケーション | タスク | 必須/ オプション |
|---|---|---|---|---|
| 1 | Receivablesユーザー | Receivables | 顧客請求先サイトの定義 | 必須 |
| 2 | 実施者 | XML Gateway | システム・プロファイル値の定義 | 必須 |
| 3 | 実施者 | XML Gateway | シード済取引の検証 | 必須 |
| 4 | 実施者 | XML Gateway | 顧客請求先サイトの取引先としての定義 | 必須 |
| 5 | 実施者 | XML Gateway | Oracle Transport Agentサーバー間接続のテスト | 必須 |
| 6 | 実施者 | Workflow | ユーザーに対するワークフロー・ロールの定義 | 必須 |
| 7 | 実施者 | Workflow | 使用するタイムアウト値の修正 | オプション |
| 8 | 実施者 | Workflow | 標準メッセージの変更 | オプション |
| 9 | 実施者 | Workflow | 次のパラメータを使用してワークフロー・エージェント・リスナーを起動: ECX_INBOUNDECX_TRANSACTIONWF_DEFERREDWF_ERROR | 必須 |
| 10 | 実施者 | Oracle Transport Agent | セキュリティ・オプションの設定 | オプション |
| 11 | 実施者 | Eメール・システム | Eメール・ワークフロー通知を受け取るようEメール・サーバーを設定 | オプション |
Oracle Receivablesで、顧客に対して請求先サイトを定義します。
XML Gatewayで、次のシステム・プロファイル値を定義します。
XMLメッセージおよび処理ファイルの「ECX: ログ・ファイル・パス」
XSLTスタイル・シートの「ECX: XSLTファイル・パス」
Oracle XML Gatewayシステム管理者のEメール・アドレス
送信者の情報システムを識別するECX_OAG_LOGICALID
XML Gatewayで、XML請求文書に対してシードされた取引を検証します。
パーティ・タイプ=顧客
取引タイプ=AR
取引サブタイプ:
請求書処理メッセージ
PROCESS_INVOICE
PROCESS_DEBIT_MEMO
PROCESS_CREDIT_MEMO
PROCESS_CHARGE_BACK
PROCESS_DEPOSIT
確認BODメッセージ
CONFIRM_BOD
XML Gatewayの「取引先の設定」ウィンドウで、顧客請求先サイトをXML Gatewayの取引先として定義します。
重要: 顧客のXML請求文書を送信不可にする手順は、XML Gatewayの「取引先の設定」ウィンドウから顧客の請求先サイトを単に削除します。
次の情報を入力します。
取引先タイプ: 顧客
取引先名: 顧客名
取引先サイト: 顧客請求先サイト
会社管理者Eメール: メッセージ受信者のEメール・アドレス
XML Gatewayの「取引先の設定」ウィンドウの「取引先詳細」リージョンで、XML Gateway実行エンジンで使用される取引を選択し、取引先詳細を指定します。この設定により、インバウンド・メッセージを取り出してアウトバウンド・メッセージを格納するキューが識別されます。
(必須)次に示す「請求書処理」メッセージ取引詳細を設定します。
取引タイプ=AR
取引サブタイプ:
PROCESS_INVOICE
PROCESS_DEBIT_MEMO
PROCESS_CREDIT_MEMO
PROCESS_CHARGEBACK
PROCESS_DEPOSIT
注意: 「取引タイプ」および「取引サブタイプ」のペアを選択すると、「標準コード」、「外部取引タイプ」、「外部取引サブタイプ」および「方向」の各フィールドの値が自動的に入力されます。
マップ: 171_process_invoice_002
プロトコル・タイプ: HTTPS
「接続/ハブ」フィールドに適切な値を入力します。関連項目: 『Oracle XML Gatewayユーザーズ・ガイド』
「ユーザー名」、「パスワード」および「プロトコル・アドレス」の各フィールドに適切な値を入力します。これらの値は顧客のシステム管理者から取得します。
「ソース取引先事業所コード」フィールドに、顧客と合意した一意の値を入力します。
(オプション)顧客がXMLメッセージを受け取ったという確認を送付する場合、インバウンド確認BODメッセージを使用可能にします。「文書確認」に次のように入力します。
0: 顧客がユーザーに確認BODを送付しない場合
1: インポート・エラーがあるときのみ顧客がユーザーに確認BODを送付する場合
2: 顧客が必ずユーザーに確認BODを送付する場合
関連項目: 『Oracle XML Gatewayユーザーズ・ガイド』のOAG確認ビジネス・オブジェクト文書の実装方法に関する項
(オプション)次に示す確認BODメッセージ取引詳細を設定します。
取引タイプ=AR
取引サブタイプ: CONFIRM_BOD
マップ: 002_confirm_bod_004
HTTPSサーバー間接続をテストします。
Oracle Workflowで、組織で請求文書を処理するユーザーに対してワークフロー・ロールを定義し、通知を受け取れるようにします。関連項目: 『Oracle Workflow管理者ガイド』のOracle Workflowディレクトリ・サービスの設定に関する項
(オプション)Oracle Workflowで、使用するタイムアウト値を修正します。
(オプション)Oracle Workflowで、標準メッセージを変更します。
Oracle Workflowエージェント・リスナーを起動します。
(オプション)Oracle Transport Agentで、使用する予定のセキュリティ・オプションを設定します。Oracle Transport Agentの詳細は、『Oracle XML Gatewayユーザーズ・ガイド』を参照してください。
(オプション)Eメール・ワークフロー通知を受け取るようEメール・サーバーを設定します。
注意: XML Gatewayエンジンをデバッグ・モードで実行し、詳細ログ・ファイルを生成できます。詳細ログ・ファイルを生成するには、XML Gatewayエンジン・プロセスを実行するイベント・サブスクリプションを変更する必要があります。Oracle Workflowで「イベント・サブスクリプションの検索」ウィンドウにナビゲートし、Oracle Receivablesの「XML請求書」、「クレジット・メモ」、「デビット・メモ」、「チャージバック」、「前受/預り金」イベントを検索します。そのウィンドウの「パラメータ」フィールドに「ECX_DEBUG_LEVEL=3」と入力し、作業内容を保存します。
この概要では、顧客へのXML請求文書の送付に関する一般情報を提供します。
XML請求文書処理は設定によって異なるため、ワークフローにおけるXML請求文書の管理方法の詳細は、「文書転送メッセージ・ワークフロー」を参照してください。
前提条件
XML請求文書用にシステムを設定します。関連項目: XML請求文書のためのシステム設定
次の条件を満たす売掛/未収金取引が存在することを確認します。
取引のステータスは「完了」である必要があります。
取引は伝送済でない必要があります。
XML Gateway取引先設定として、取引の請求先顧客および請求先サイトが存在する必要があります。
重要: 請求書を印刷するコンカレント・プログラムを実行する前に、XML請求文書を処理および転送する必要があります。「文書転送」プログラムでは、「請求書の印刷」プログラムですでに印刷された売掛/未収金取引は選択されません。
このプロセスの概要は、「XML請求処理フロー」を参照してください。
「文書転送要求セット」を発行して、XMLフォーマットの売掛/未収金請求文書の転送を開始します。これによって、「文書転送計画」および「文書転送」コンカレント・プログラムが実行されます。
あるいは、2つのプログラムを個別かつ順番に発行できます。最初に「文書転送計画」プログラム、次に「文書転送」プログラムを発行します。
注意: 「文書転送要求セット」を使用するのは、請求文書の初回XML転送についてのみです。請求文書を再送する必要がある場合、「文書転送」ページから再送要求を開始する必要があります。続いて、「文書転送」プログラムを発行して再送を実行できます。
Oracle Receivablesでは、プログラムの発行時に指定した次のパラメータに従って、XML転送についての取引が選択されます。
取引区分
取引タイプ
取引番号(下限値および上限値)
顧客区分
顧客
取引日(下限値および上限値)
「文書転送計画」プログラムの完了後、Oracle Receivablesにより取引の伝送ステータスが「待機」または「失敗」のいずれかに変更されます。ステータスが「失敗」の場合、システム管理者はOracle Workflowから通知を受け取ります。
「文書転送」プログラムにより、ステータスが「待機」である取引が検証されます。検証時に、取引の伝送ステータスが次のいずれかに変更される場合があります。
開始: 文書はすべての検証にパスしており、転送可能です。
失敗: 検証処理でエラーが発生しました。ワークフロー通知が適切なOracle Receivablesユーザーまたはシステム管理者に送付されます。
続いて、「文書転送」プログラムによりXML Gatewayがコールされ、検証をパスした請求文書が伝送されます。XML GatewayによりXML請求文書が作成され、顧客に伝送されます。この処理時に、取引の伝送ステータスが次のいずれかに変更される場合があります。
伝送済: 請求文書は伝送済です。
失敗: XML Gatewayの伝送処理で技術的エラーが発生しました。ワークフロー通知がシステム管理者に送付されます。
これで顧客は伝送済XML請求文書を買掛管理システムにインポートできます。顧客は受信した請求文書を検証し、オプションで確認メッセージをユーザーに返信できます。確認メッセージの詳細は、「XML請求文書のインポート・ステータスの確認」を参照してください。
ユーザーと顧客は、ニーズを満たすメッセージと活動をオプションで実装できます。
XML Gatewayの自動受取り確認に対して請求書XMLメッセージの処理を設定すると、顧客が請求書メッセージを受け取った際に、その顧客からユーザーのシステムに確認BODメッセージが返送されます。
これらのメッセージは、請求文書のインポート・ステータスを確認し、インポートの失敗に関する事由コードを示します。Oracle Payablesのインポート・ステータスおよび事由コードは、Oracle Receivablesで確認処理にマップされます。
確認メッセージを受け取ると、Oracle Receivablesではインポート・ステータスおよび事由コードが適切な確認処理に変換され、それに応じて伝送ステータスが更新されます。
各XML請求書について、伝送ステータスが次のいずれかに変更されます。
引受済: インポート・ステータスが「成功」である確認メッセージを受け取った場合。
拒否: インポート・ステータスが「失敗」であり、事由コードが添付された確認メッセージを受け取った場合。
Oracle Receivablesのシード済事由コードの詳細は、「XML請求文書のトラブルシューティング」を参照してください。
Oracle Payables確認メッセージでエラーが示された場合、Oracle Workflowにより事由コードに基づいて適切な個人に通知が送付されます。
請求書金額の欠落など、エラーが失敗済のインポート検証に関連している場合、適切なOracle Receivablesユーザーに通知されます。
エラーが技術的または伝送に関する問題で発生した場合、システム管理者に通知されます。
次の表では、Oracle Receivablesでシードされた確認処理にマップされるOracle Payablesインポート・ステータスおよび事由コードを示しています。顧客がOracle Payablesを使用していない場合、確認メッセージがOracle Receivables確認処理にマップされるよう、顧客はこれらのコードを実装する必要があります。
| ステータス | 事由コード | 摘要 |
|---|---|---|
| 00 | NA | 請求文書のインポートに成功しました。 |
| 10 | DUPLICATE_INVOICE_NUMBER | 請求文書番号が重複しています。 |
| 10 | DUPLICATE_LINE_NUMBER | 明細番号が重複しています。 |
| 10 | INCONSISTENT_CURR | 請求文書と顧客の発注の通貨が異なります。 |
| 10 | INCONSISTENT_PO_SUPPLIER | 仕入先用に入力した値は、発注の仕入先に一致しません。 |
| 10 | INVALID_LINE_AMOUNT | 明細金額が数量 x 単価に等しくありません。 |
| 10 | INVALID_INVOICE_AMOUNT | 請求書金額の値を入力しませんでした。 |
| 10 | INVALID_PO_NUM | 発注番号が無効です。 |
| 10 | INVALID_PRICE_QUANTITY | 「単価」、「請求済数量」および「明細金額」の値が矛盾しています。(請求済数量 x 単価 = 金額) |
| 10 | INVALID_QUANTITY | 「標準」タイプの請求書の数量(QUANTITY_INVOICED)は、ゼロより大きくする必要があります。 |
| 10 | INVALID_SUPPLIER | 仕入先情報が無効です。XML Gatewayの取引先設定における「取引先事業所」コードは、顧客と一致する必要があります。 |
| 10 | INVALID_SUPPLIER_SITE | 仕入先サイト情報が無効です。XML Gatewayの取引先設定における「取引先事業所」コードは、顧客と一致する必要があります。 |
| 10 | INVALID_UNIT_PRICE | 「単価」(UNIT_PRICE)の値は、ゼロより大きくする必要があります。XML Gatewayの取引先設定における「取引先事業所」コードは、顧客と一致する必要があります。 |
| 10 | NO_SUPPLIER | 仕入先情報が指定されていません。 |
顧客が上の表に示されていない事由コードを使用する必要がある場合、それも可能です。ただし、顧客は使用する事由コードをユーザーに通知し、ユーザーがOracle Receivablesの確認処理を事由コードにマップできるようにする必要があります。
「確認処理」ページにナビゲートします。
「追加」をクリックします。
成功した処理にはステータス「00」、失敗した処理には「10」を入力します。
顧客が使用する事由コードにマップする事由コードを入力します。
「開始日」、オプションで「終了日」を入力します。
ハンドラ・タイプ(通常はPL/SQL)およびハンドラ名(使用するPL/SQLプログラム名)を入力します。
インポート処理に失敗し、Oracle Receivablesで事由コードが認識されない場合、ワークフロー通知によって認識できない事由コードが示されます。
インポートの失敗は請求書番号の重複が原因であることを事由コードが示している場合、Oracle Receivablesによってクレジット・メモ・ワークフローが自動的に開始され、重複する請求書に対してクレジット・メモが生成されます。
XML請求文書の伝送ステータスを検討するには、「文書転送要約」ページを使用します。このページから「文書転送」ページにドリルダウンし、伝送詳細およびエラー・メッセージを参照できます。「文書転送」ページから、失敗または拒否されたXML請求文書の再送を開始することもできます。
このページには、直近に伝送されたXML請求文書が表示されます。別の請求文書の転送を検索する場合は、次の要素を使用して問合せを実行します。
顧客名
顧客番号
取引番号の上限値と下限値
発行日の上限値と下限値
文書転送番号
ステータス
例外タイプ
「結果」リージョンで、検討する請求文書転送の「編集」ボタンを選択します。
「文書転送」ページが表示されます。このページには、次の詳細が表示されます。
文書転送番号: 「文書転送計画」プログラムの実行後に生成されます。
取引番号
顧客名および顧客番号
最終発行日: 「文書転送計画」プログラムまたは「文書転送」プログラムの最終発行日を示します。
ステータス: 請求文書の伝送ステータス(「引受済」、「失敗」、「拒否」、「開始」、「伝送済」および「待機」など)を示します。
イベント名: 売掛/未収金請求文書を伝送するためにXML Gatewayによって予約されたビジネス・イベントを示します。
Gateway取引名: XML Gatewayで定義した取引タイプおよびサブタイプを示します。
エラー・ メッセージ: 顧客からの確認メッセージで示された設定、システムまたはインポート・エラーなどのすべてのエラーが含まれます。XML転送を再発行する前に、このエラー・メッセージに示されたエラーを解決する必要があります。
この伝送のステータスが「失敗」または「拒否」の場合、修正を加え、変更内容を保存します。
「再送」をクリックします。伝送ステータスが「待機」に変更されます。
「文書転送」プログラムを発行し、再送を実行します。
文書転送メッセージ・ワークフローでは、XML請求文書が作成され、顧客に送付されます。このワークフローは次の2つの項目タイプで構成されます。
「AR文書の転送」項目タイプ
「AR通知」項目タイプ
次の図は、「AR文書の転送」項目タイプのワークフロー・プロセスを示しています。
「AR文書の転送」項目タイプ

「文書転送」プログラムを実行すると、ワークフローを開始するビジネス・イベントが呼び出されます。ワークフローはノード2に続きます。
この機能により、アウトバウンド・メッセージの作成がトリガーされます。続いてOracle Transport Agentにより請求書処理メッセージが顧客に伝送されます。ワークフローはノード3で正常に終了します。
次の図は、「AR通知」項目タイプのワークフロー・プロセスを示しています。
「AR通知」項目タイプ

XML転送処理時にエラーが発生した場合、ワークフローを開始するビジネス・イベントが呼び出されます。ワークフローはノード2に続きます。
このノードはPL/SQL活動です。関連するプロシージャでは、イベント情報を使用して通知のテキストが構成されます。また、通知を受け取る必要がある個人も識別されます。ワークフローはノード3に続きます。
この機能では、メッセージの内容がチェックされます。
メッセージにテキストがない場合、ワークフローはノード7で正常に終了します。
メッセージにテキストが含まれる場合、ワークフローはノード4に続きます。
この機能ではメッセージ内容がチェックされ、通知に「文書転送要約」ページへのハイパーテキスト・リンクが含まれるかどうかが判別されます。
ハイパーテキスト・リンクが存在する場合、ワークフローはノード5に続きます。
ハイパーテキスト・リンクが存在しない場合、ワークフローはノード6に続きます。
この機能では、エラー通知が適切なOracle Receivablesユーザーに送付されます。ワークフローはノード7で正常に終了します。
この機能では、「文書転送要約」ページへのハイパーテキスト・リンクが含まれるエラー通知が、適切なOracle Receivablesユーザーに送付されます。ワークフローはノード7で正常に終了します。
Oracle WorkflowまたはOracle XML Gatewayエラーの場合、ログ・ファイルで詳細を検討し、ワークフロー管理者機能を使用してワークフロー・プロセスをモニターおよび管理します。関連項目: 『Oracle XML Gatewayユーザーズ・ガイド』のワークフロー・プロセスのモニターに関する項
関連項目
『Oracle Receivables Reference Guide』のXMLトランザクション・マッピングに関する項
『Oracle XML Gatewayユーザーズ・ガイド』
『Oracle Workflow開発者ガイド』
『Oracle Workflowユーザーズ・ガイド』
Open Applications Group(OAG)Webサイト(http://www.openapplications.org)
手動で入力した、または「自動インボイス」でOracle Receivablesにインポートした取引に対する請求書、デビット・メモ、前受/預り金、約定金額、クレジット・メモ、対顧客勘定クレジット・メモおよびチャージバック情報を検討するか、更新できます。
「印刷済取引の変更の許可」システム・オプションが「Yes」の場合、印刷済であるかどうかにかかわらず、ほとんどの取引情報を更新できます。ただし、その取引に対する活動が発生した場合は、Oracle Receivablesではほとんどの取引属性を更新できません。活動には、支払、クレジット・メモ、修正、繰越残高請求書への取引の追加などがあります。
支払期日、発注番号、営業担当および送金先所在地などの借方品目情報を更新できます。係争額を指定することで借方品目を係争中にしたり、借方品目を延滞手数料から除外したり、または請求先情報を更新することもできます。借方品目に対する活動がない場合でも、Oracle Receivablesでは借方品目の換算レートを入力または更新できます。
「取引」ウィンドウの「ノート」タブ・リージョンで借方品目のノートを追加することで、その他の情報をレコードすることもできます。
前提条件
「取引」ウィンドウにナビゲートします。
取引を問い合せます。
この取引の情報を更新します。更新可能なフィールドの一覧は、「「取引の保守」フィールド・リファレンス」を参照してください。
関連項目
この項では、売掛/未収金取引の特定の属性を更新できる条件とできない条件を説明します。一部のセルには、その属性と条件に少なくとも1つの例外が存在することを示す例外番号が含まれています。各例外の説明は、この項の最後に記載しています。
たとえば下の表は、取引が完了したときに「請求先担当者」フィールドを更新できることを示しています。ただし、番号4は、取引がチャージバックの場合は「請求先担当者」を更新できない、という例外があることを示しています。
取引がOracle Generel Ledgerに転記された後でも、ほとんど大部分の情報を更新できます。Oracle Receivablesにより、会計仕訳に加えたすべての転記済変更の完全な監査証跡が保守されます。転記されなかった取引を変更する際は、監査証跡は保守されません。
取引に対する活動がある場合、システム・オプションの「印刷済取引の変更の許可」の設定に関係なく、その取引は更新できません。活動の例として、支払、クレジット・メモ、修正、繰越残高請求書への取引の追加などがあります。
管理者がシステム上で機能セキュリティを設定した方法に基づいて、Oracle Receivables内の取引を削除できる方法がいくつかあります(関連項目: 『Oracle Receivablesインプリメンテーション・ガイド』のOracle Receivablesの機能セキュリティに関する項)。活動のない取引は、次のいずれかの方法で削除できます。
「取引」ウィンドウで「編集」メニューから「レコードの削除」を選択して請求書を削除します。これにより、請求書とすべての明細が削除されます。
「取引」ウィンドウの中にある請求書のタイプを「未回収売掛金」を持つタイプに変更し、「GL転記」オプションを「No」に設定することにより、請求書を無効にします。これで支払計画が削除され、GL記帳日の削除によって配分が取り消されます。
請求書に対してクレジット・メモを作成することによって配分を戻し処理します。
「取引」ウィンドウで「未完了」ボタンを選択することにより、支払計画を削除します。これによって、支払または与信のために請求書にアクセスすることができなくなります。
次の表には、インポート済、手動入力済およびコピー済の取引に対して「取引」ウィンドウで可能な変更がリストされています。
* 取引の支払条件は、顧客アカウントまたは顧客サイト・レベルで「顧客」プロファイルの「条件上書」チェック・ボックスが選択されていないかぎり、更新できません。
「凡例の表示」を選択すると、この表に付属する凡例を表示できます。
| ヘッダー・レベル | 未完了 | 完了 | 基準 | 印刷済 | 活動 | 転記済 |
|---|---|---|---|---|---|---|
| 基本契約 | No | No | No | No | No | No |
| 請求先所在地 | Yes 12 | No | No | No | No | No |
| 請求先担当者 | Yes12 | Yes 4,12 | Yes 4,12 | Yes 8,12 | No | Yes 12 |
| 請求先顧客 | Yes 11,12 | No | No | No | No | No |
| 区分 | No | No | No | No | No | No |
| 注釈 | Yes | Yes | Yes | Yes | Yes | Yes |
| 取引約定 | Yes | Yes 15 | Yes 15 | Yes 15 | Yes 15 | Yes 15 |
| 完了 | Yes 12 | Yes 4,5,12 | Yes 12 | Yes 12 | No | No |
| クレジット事由 | Yes | Yes | Yes | Yes | Yes | Yes |
| クレジット参照 | Yes | Yes | Yes | Yes | Yes | Yes |
| クレジット参照日 | Yes | Yes | Yes | Yes | Yes | Yes |
| 相互参照 | Yes 2 | Yes | Yes | Yes | Yes | Yes |
| 通貨 | Yes 1 | No | Yes 2 | Yes 8 | No | No |
| デフォルト税金 | Yes | NA | NA | NA | NA | NA |
| 付加フレックスフィールド[ ] | Yes | Yes | Yes | Yes | Yes | Yes |
| 係争額 | NA | Yes | Yes | Yes | No | Yes |
| 係争発生日 | NA | Yes | Yes | Yes | No | Yes |
| 文書番号 | No 13 | No | No | No | No | No |
| 支払期日 | No | No | No | No | No | No |
| 延滞手数料 | Yes 2 | Yes | Yes | Yes | No | Yes |
| GL記帳日 | Yes | Yes 5 | Yes 4 | Yes | No | No |
| 請求ルール | No | No | No | No | No | No |
| ノート | Yes | Yes | Yes | Yes | Yes | Yes |
| 当初取引 | (読取り専用) | No | No | No | No | No |
| 支払顧客名および番号 | Yes | Yes | Yes | Yes | No | Yes |
| 支払事業所 | Yes | Yes | Yes | Yes | No | Yes |
| 入金方法 | Yes | Yes 5 | Yes 5 | Yes | Yes | Yes |
| 発注日 | Yes | Yes | Yes | Yes | Yes | Yes |
| 発注番号 | Yes | Yes | Yes | Yes 8 | Yes | Yes |
| 発注改訂 | Yes | Yes | Yes | Yes | Yes | Yes |
| 印刷日 | (読取り専用) | No | No | No | No | No |
| 印刷オプション | Yes | Yes | Yes | Yes | Yes | Yes |
| レート | Yes 1 | Yes 4,5 | Yes 4 | Yes | No | No |
| レート基準日 | Yes 2 | Yes 4,5 | Yes 4 | Yes | No | No |
| レート・タイプ | Yes 1 | Yes 4,5 | Yes 4 | Yes | No | No |
| 売掛/未収金勘定 | Yes | Yes | Yes | Yes | No | No |
| 参照 | Yes | Yes 7 | Yes | Yes | No | Yes |
| 送金先所在地 | Yes 2 | Yes 2 | Yes | Yes 8 | Yes | Yes |
| 営業地域 | Yes | Yes | Yes | Yes | Yes | Yes |
| 営業担当 | Yes | Yes 4 | Yes 14 | Yes 8 | No | No |
| 出荷先所在地 | Yes 1,12 | No | No | No | No | No |
| 出荷先担当者 | Yes 1 | Yes | Yes | Yes 8 | No | Yes |
| 出荷先顧客 | Yes 1,11,12 | No | No | No | No | No |
| 販売先顧客 | Yes | Yes | Yes | Yes | Yes | Yes |
| ソース | No | No | No | No | No | No |
| 特記事項 | Yes | Yes | Yes | Yes 8 | Yes | Yes |
| ステータス | Yes | Yes | Yes | Yes | No | Yes |
| 条件* | Yes 2 | Yes 4,5 | Yes | Yes 8 | No | No |
| 取引日 | Yes | No | No | No | No | No |
| 取引フレックスフィールド | Yes 6 | Yes 6 | Yes 6 | Yes 6 | Yes 6 | Yes 6 |
| 取引番号 | No | No | No | No | No | No |
| 取引タイプ | Yes 12 | No | No | No | No | No |
次の表には、インポート済、手動入力済およびコピー済の取引に対して「明細」ウィンドウで可能な変更がリストされています。
「凡例の表示」を選択すると、この表に付属する凡例を表示できます。
| 明細レベル | 未完了 | 完了 | 基準 | 印刷済 | 活動 | 転記済 |
|---|---|---|---|---|---|---|
| 会計基準 | Yes | Yes | No | Yes | No | No |
| 税込み金額フラグ | Yes | No | No | No | No | No |
| 摘要 | Yes 12 | No | No | No | No 12 | No |
| 付加フレックスフィールド | Yes | Yes | Yes | Yes | Yes | Yes |
| 第1GL記帳日 | Yes | Yes | No | Yes | No | No |
| 品目 | Yes | No | No | No | No | No |
| 品目フレックスフィールド | Yes 12 | No | No | No | No | No |
| 明細番号 | Yes | Yes 5 | Yes | Yes 8 | No | Yes |
| 正味拡張価格 | Yes | No | No | No | No | No |
| 正味販売単価 | Yes | No | No | No | No | No |
| 会計期間数 | Yes | Yes | No | Yes | No | No |
| 受注日 | Yes | Yes | Yes | Yes | Yes | No |
| 受注明細 | Yes 6 | Yes 6 | Yes | Yes | Yes | No |
| 受注番号 | Yes | Yes | Yes | Yes 8 | Yes | No |
| 受注改訂 | Yes | Yes | Yes | Yes | Yes | Yes |
| 価格 | Yes 12 | No | No | No | No | No |
| 数量 | Yes 12 | No | No | No | No | No |
| 事由 | Yes | Yes | Yes | Yes | Yes | Yes |
| 参照 | Yes | Yes | Yes | Yes | No | Yes |
| 販売チャネル | Yes | Yes | Yes | Yes | Yes | Yes |
| 標準メモ明細 | Yes 6 | No | No | No | No | No |
| 納税証明書 | Yes | Yes 5,6 | No | No | No | No |
| 税金コード | Yes | No | No | No | No | No |
| 税金処理 | Yes | No | No | No | No | No |
| 税金事由 | Yes | Yes 5,6 | No | No | No | No |
| 取引コード | Yes | Yes | Yes | Yes | No | No |
| 取引フレックスフィールド | Yes 6 | Yes 6 | Yes 6 | Yes 6 | Yes 6 | Yes 6 |
| 単位 | Yes 2 | Yes 2,4 | Yes | Yes | Yes | Yes |
| 明細の追加? | Yes 12 | No | No | No | No | No |
| 明細の削除? | Yes 12 | No | No | No | No | No |
次の表には、インポート済、手動入力済およびコピー済の取引に対して「税金」ウィンドウで可能な変更がリストされています。
「凡例の表示」を選択すると、この表に付属する凡例を表示できます。
| 税金明細 | 未完了 | 完了 | 基準 | 印刷済 | 活動 | 転記済 |
|---|---|---|---|---|---|---|
| 明細番号 | Yes | Yes | Yes | Yes | No | Yes |
| 優先番号 | No | No | No | No | No | No |
| 税金コード | No | No | No | No | No | No |
| 税率 | Yes 1,12 | No | No | No | No | No |
| 税額 | Yes 12 | No | No | No | No | No |
| 取引フレックスフィールド | Yes 6 | Yes 6 | Yes 6 | Yes 6 | Yes 6 | Yes 6 |
| 付加フレックスフィールド | Yes | Yes | Yes | Yes | Yes | Yes |
| 明細の追加? | No | No | No | No | No | No |
| 明細の削除? | No 3 | No | No | No | No | No |
次の表には、インポート済、手動入力済およびコピー済の取引に対して「販売実績」ウィンドウで可能な変更がリストされています。
「凡例の表示」を選択すると、この表に付属する凡例を表示できます。
| 販売実績明細 | 未完了 | 完了 | 基準 | 印刷済 | 活動 | 転記済 |
|---|---|---|---|---|---|---|
| 非収益% | Yes | Yes | Yes 14 | Yes | Yes | Yes |
| 非収益金額 | Yes | Yes | Yes 14 | Yes | Yes | Yes |
| 収益% | Yes | Yes | Yes 14 | Yes | Yes | Yes |
| 収益金額 | Yes | Yes | Yes 14 | Yes | Yes | Yes |
| 営業担当 | Yes | Yes | Yes 14 | Yes | Yes | Yes |
| 明細の追加? | Yes | Yes | Yes 14 | Yes | Yes | Yes |
| 明細の削除? | Yes | Yes 9 | Yes 9,14 | Yes 9 | Yes 9 | Yes |
次の表には、インポート済、手動入力済およびコピー済の取引に対して「配分」ウィンドウで可能な変更がリストされています。
「凡例の表示」を選択すると、この表に付属する凡例を表示できます。
次の表に、勘定科目配分の詳細を示します。
| 配分 | 未完了 | 完了 | 基準 | 印刷済 | 活動 | 転記済 |
|---|---|---|---|---|---|---|
| パーセント/金額 | Yes | Yes 4 | No 4 | Yes | Yes | No |
| 勘定科目* | Yes | Yes 4 | Yes 4 | Yes | Yes | Yes |
| 明細の削除? | Yes | No | No | No | No | No |
| 明細の追加? | Yes | Yes 4 | No 4 | Yes | No | No |
次の表に、勘定セット配分の詳細を示します。
| 配分 | 未完了 | 完了 | 基準 | 印刷済 | 活動 | 転記済 |
|---|---|---|---|---|---|---|
| パーセント/金額 | No | No | No | No | No | No |
| 勘定科目* | Yes | Yes | Yes | Yes | Yes | No |
| 取引フレックスフィールド | Yes 6 | Yes 6 | Yes 6 | Yes 6 | Yes 6 | Yes 6 |
| 付加フレックスフィールド | Yes | Yes | Yes | Yes | Yes | Yes |
| 明細の追加? | Yes | No | No | No | No | No |
| 明細の削除? | Yes | No | No | No | No | No |
* 収益、売掛/未収金、税金および運送費勘定は更新できますが、取引を転記すると、売掛/未収金勘定は更新できなくなります。
次の表には、インポート済、手動入力済およびコピー済の取引に対して「運送費」ウィンドウで可能な変更がリストされています。
「凡例の表示」を選択すると、この表に付属する凡例を表示できます。
| 運送費 | 未完了 | 完了 | 基準 | 印刷済 | 活動 | 転記済 |
|---|---|---|---|---|---|---|
| 運送業者 | Yes | Yes | Yes | Yes 8 | Yes | Yes |
| 出荷日 | Yes | Yes | Yes | Yes 8 | Yes | Yes |
| 出荷参照 | Yes | Yes | Yes | Yes 8 | Yes | Yes |
| FOB | Yes | Yes | Yes | Yes 8 | Yes | Yes |
| 金額 | Yes 6 | No | No | No | No | No |
| 勘定科目 | Yes 6 | Yes | Yes | Yes | Yes | No |
| 取引フレックスフィールド | Yes 6 | Yes 6 | Yes 6 | Yes 6 | Yes 6 | Yes 6 |
| 付加フレックスフィールド | Yes | Yes | Yes | Yes | Yes | Yes |
| 明細の追加? | Yes 6 | No | No | No | No | No |
| 明細の削除? | Yes 6 | No | No | No | No | No |
取引が(対顧客勘定クレジット・メモでなく)通常のクレジット・メモである場合を除きます。
取引が対顧客勘定クレジット・メモの場合を除きます。
手動で追加された税金明細は、削除可能です。
取引がチャージバックの場合を除きます。
取引が自動入金用に選択されたが、未承認の場合を除きます。
取引が自動インボイスによって作成された場合、または取引明細がインポート済取引に手動で追加された場合を除きます。そのような明細に対して付加フレックスフィールド情報を入力する必要がある場合は、「請求書明細情報」フレックスフィールドを使用します。
値がフレックスフィールド・セグメントによって生成された場合を除きます。
システム・オプション「印刷済取引の変更の許可」が「No」に設定されている場合を除きます。
プロファイル・オプション「AR: 既存の販売実績の更新の許可」が「No」に設定されている場合を除きます。
会計処理基準が「現金主義」の場合を除きます。
プロファイル・オプション「AR: 取引上の顧客変更」が「No」に設定されている場合を除きます。
取引が、自動インボイスによって計算された税金明細を持つ対顧客勘定クレジット・メモ取引である場合を除きます。
連番が手動で、文書番号が生成されていない場合を除きます。
収益認識をすでに実行している場合を除きます(「収益会計管理(RAM)」ウィザードをかわりに使用します。関連項目: 収益会計)。
「預入の消込」ウィンドウを使用します(関連項目: 取引約定の使用方法)。
NA この列は、この属性およびステータスに適用できません。
関連項目
特定の請求書、デビット・メモ、または取引約定に対して、クレジット・メモを入力、更新、および検討するために、「クレジット・メモ取引」ウィンドウを使います。取引に対する未回収残高を減らすためにクレジット・メモを作成します。取引をクレジットすると、Oracle Receivablesは適切な会計仕訳を作成し、営業担当に割り当てられた販売実績を戻し処理します。
Oracle Receivablesによって請求書全体あるいは特定の請求書明細をクレジットできます。また、請求書全体あるいは特定の請求書明細だけの運送費をクレジットすることもできます。
システム・オプション「請求書削除の許可」を「Yes」に設定すれば、不完全なクレジット・メモを削除できます。関連項目: 『Oracle Receivablesインプリメンテーション・ガイド』のOracle Receivablesシステム・オプションの定義に関する項
取引が完了していないと、その取引に対するクレジット・メモを作成できません。
注意: 「明細」フィールドには、クレジットする取引に税金が含まれている場合でも、税金なしの金額が表示されます。このようなフィールドには、「金額」、「当初残高」および 「未回収残高」の各フィールドがあります。
クレジットする取引がすでに支払済の場合は、払戻をすることがあります。関連項目: 取引をクレジット中の現金未消込およびクレジットのための自動入金処理
前提条件
『Oracle Receivablesインプリメンテーション・ガイド』のクレジット・メモ・ソースの定義に関する項
『Oracle Receivablesインプリメンテーション・ガイド』のクレジット・メモ取引タイプの定義に関する項
「取引要約」ウィンドウまたは「クレジット・メモ取引」ウィンドウにナビゲートします。
「取引要約」ウィンドウが表示されている場合は、クレジットする取引を問い合せてから「クレジット」を選択します。
「ナビゲータ」から「クレジット・メモ取引」を選択した場合は、クレジットする取引の番号を「取引の検索」ウィンドウに入力します。取引番号がわからない場合は、「区分」、「取引日」および「通貨」などの選択基準を入力して検索範囲を絞り込みます。
このクレジット・メモをバッチに追加するには、「クレジット・メモのバッチ処理」を参照してください。
このクレジット・メモのバッチ・ソースを入力します。デフォルトは次のいずれかですが、変更できます。
クレジット中の取引のバッチ・ソース
クレジット中の取引のバッチ・ソースに入力されたクレジット・メモ・バッチ・ソース
このクレジット・メモの日付を入力します。この日付がクレジット・メモに印刷されます。
このクレジット・メモがバッチの一部であれば、デフォルトはバッチの日付です。バッチ情報がないか、バッチ日付がクレジット取引の日付以前であれば、デフォルトは現在の日付になります。クレジットしている請求書の日付がクレジット・メモの日付以降であれば、デフォルトは請求書の日付になります。
バッチ・ソースで「自動取引番号採番」を使用しない場合は、クレジット・メモ番号を入力します。使用する場合は、保存時に番号が割り当てられます。関連項目: 『Oracle Receivablesインプリメンテーション・ガイド』の文書連番の実装に関する項
このクレジット・メモの取引タイプを入力します。バッチ・ソースによってデフォルト・タイプが提示されますが、変更できます。請求書または取引約定に対するクレジット・メモの場合、デフォルトは請求書または取引約定に割り当てられている取引タイプです。区分が「クレジット・メモ」の取引タイプを選択できます。
このクレジット・メモのGL記帳日を入力します。この日付は、オープンまたは先日付の入力可能な会計期間内であること、およびクレジット取引のGL記帳日以降の日付であることが必要です。このクレジット・メモがバッチの一部である場合、デフォルトはバッチGL記帳日です。
請求および会計基準を使用する取引をクレジットしている場合は、次の処理方法のいずれかを選択します。
後入先出(LIFO): 最後のGeneral Ledger(GL)期間から始めて収入を撤回し、クレジット・メモを使い切るまで以前の全期間を戻し処理するには、このオプションを選択します。
按分: この請求書に対するすべての勘定割当に同等の比率でクレジットするには、このオプションを選びます。
単位: 請求書の元の項目から指定した単位数に対する収入を戻し処理するには、このオプションを選びます。
このクレジット・メモの通貨を入力します。このクレジット・メモがバッチの一部である場合、デフォルトはバッチの通貨です。そうでない場合、デフォルトは機能通貨です。このクレジット・メモを取引に消し込み中の場合、クレジット・メモ通貨は取引通貨と同じである必要があります。機能通貨以外の通貨を入力する場合には、換算レートの情報を入力します。関連項目: 外貨取引
複数の賦払がある取引をクレジットする場合は、次の分割条件方法のいずれかを選択します。
先入先出(FIFO): この方法は最初の分割払い分を先にクレジットする方法です。
後入先出(LIFO): この方法は最後の分割払い分を先にクレジットする方法です。
按分: この方法はクレジット取引の分割払いをクレジットし、それを各分割払いごとの残金に基づいて比例按分する方法です。
自動順序採番を使用していない場合は、「詳細」タブ・リージョンをオープンし、このクレジット・メモの一意の文書番号を入力します。関連項目: 『Oracle Receivablesインプリメンテーション・ガイド』の文書連番の実装に関する項
この取引の未回収残高の一部のみをクレジットするには、クレジット対象の明細、税金または運送費の率または金額を入力します。手数料の特定部分をクレジットするには、「金額」フィールドにマイナスの数値を入力します(たとえば、未回収残高を$50削減するには-50と入力します)。率を入力すると金額が計算され、金額を入力すると率が計算されます。
率はクレジットする取引の当初残高に基づくものです。Oracle Receivablesでは、クレジットする各タイプの手数料に対する「未回収残高」が更新され、すべての会計戻し処理が作成されます。営業担当に割り当てられた収益および非収益販売実績のこの率も、Oracle Receivablesにより戻し処理されます。
注意: この金額をそのまま使うこともできますが、別の金額(たとえば、この対顧客勘定クレジットを一つ以上の取引に消込みたい場合)を入力することもできます。クレジット取引の取引タイプの「超過消込の許可」フラグが「Yes」に設定されていない場合は、その取引を超過消込する金額を入力することは許可されません。取引を超過消込するには、「クレジット明細」を選択してから、「明細」ウィンドウでどの明細にクレジットするか指定します。
この取引について未回収残高の全額をクレジットするには、「クレジット残高」を選択します。各タイプの手数料についてこの取引の未回収残高がゼロになります。
注意: 前受/預り金に対する請求書については、「未回収残高」がクレジットに使用可能な金額で、この金額にはその請求書に使われた前受/預り金金額が含まれます。
個別の取引明細をクレジットする場合は、「取引明細のクレジット」を参照してください。
作業内容を保存します。すべての会計戻し処理仕訳が作成され、営業担当に割り当てられた収益および非収益販売実績の金額が戻し処理されます。
Oracle Receivablesでは、クレジット取引から新規クレジット・メモへ営業グループもコピーされます(グループがある場合)。必要な場合、営業情報はクレジット・メモを完了する前に変更できます。
このクレジット・メモを終了する場合は、「取引の完了」を参照してください。
関連項目
対象取引の未払残高の一部あるいは全体をクレジットすることに加えて、Oracle Receivablesでは個々の取引明細をクレジットできます。たとえば、対象取引に複数の明細品目がある場合、各明細または単一明細品目だけの未払金額を分割で、あるいは全額をクレジットできます。
前提条件
「取引要約」ウィンドウまたは「クレジット・メモ取引」ウィンドウにナビゲートします。
クレジットする取引を問い合せます。
「取引要約」ウィンドウが表示されている場合は、取引を選択してから「クレジット」を選択します。
このクレジット・メモの一般情報を入力します。関連項目: 取引の貸方記入
「クレジット明細」を選択します。
注意: クレジット済の取引明細のクレジット・メモを表示している場合、Oracle Receivablesでは明細のウィンドウにこれらのクレジット・メモ明細が表示されます。クレジットする取引明細をさらに選択するには値リストを使います。
クレジットする取引明細を値リストから選択します。
この明細に、数量と単価またはクレジット金額のいずれかを入力します。数量と単価を入力するとその金額が計算されます。クレジット中の取引の取引タイプに対して「超過消込の許可」が「Yes」に設定されている場合は、クレジット・メモ明細を超過消込できます。
クレジット・メモの取引タイプの作成符号が「プラス符号」の場合は、プラスの金額のみ入力できます。この作成符号が「マイナス」または「全ての符号」の場合は、マイナスの金額を入力できます。関連項目: 『Oracle Receivablesインプリメンテーション・ガイド』の取引タイプに関する項
注意: 数量を入力すると、単価はクレジットしている元の請求書か取引約定の明細の単価になります。この単価が使えず、標準のクレジット・メモをクレジットしているのであれば、デフォルトは通貨差異を調整した標準明細の単価です。クレジット・メモ明細の金額と数量を指定し、Oracle Receivablesで単価価格のデフォルトが入力できなくなると、デフォルト単価価格は金額を数量で割ったものになります。
クレジットする各取引明細について、ステップ6と7を繰り返します。
クレジット・メモまたは税金明細の勘定科目割当を入力または検討するには、「配分」を選択します。関連項目: 会計情報の検討
クレジット・メモ明細のために販売実績の情報を入力または更新するには「販売実績」を選択します。関連項目: 収益実績の検討
クレジット・メモ明細に運送費情報を関連づけるためには「運送費」を選択します。関連項目: 運送費情報の検討
クレジット・メモ明細に税金情報を検討または更新するには、「税金」を選択します。関連項目: 税金情報の検討
関連項目
この項では、「クレジット・メモ取引」および「明細」ウィンドウ内のいくつかのフィールドおよびタブ・リージョンを簡単に説明します。また、この項で「明細」ウィンドウからオープンする場合に、「税金」、「運送費」および「配分」ウィンドウなどがどのように表示されるかを説明します。
顧客参照: 顧客の参照番号。この情報を使うと、顧客の与信要求の追跡を続けるのに役立ちます。
注釈: 参考となる、このクレジット・メモに関する注釈。この情報は、印刷された取引には表示されません。
特記事項: ユーザーの参考になる特記事項または情報。このフィールドには最高240文字までを入力できます。印刷された取引には最初の51文字が表示されます。
金額: この勘定へ割り当てるクレジット・メモ明細または税金明細の金額。金額を入力すると、Oracle Receivablesではこの金額のこの明細に対する比率が計算されます。このクレジット・メモが対顧客勘定クレジットであれば、収益について定義した自動インボイスが営業担当に依存していないかぎり、このフィールドのデフォルトの金額はクレジット・メモの明細の金額です。収益の自動インボイスでセグメント値の決定が営業担当に依存しない場合、営業担当明細の額と同額になる各営業担当につき1明細で複数の勘定科目割当明細が作成されます。
このクレジット・メモを特定取引に入力中で、そのプロファイル・オプション「AR: クレジット・メモ用に請求書会計を使用」が「No」に設定されている場合、このクレジット・メモのデフォルト値は、対顧客勘定クレジットと同じです。このプロファイル・オプションが特定の取引に対して入力するクレジット・メモに対して「Yes」に設定されている場合、デフォルトの金額は次の公式を使った該当する請求書の勘定割当明細の金額です。
金額 = (クレジット・メモ明細÷請求書明細金額) × 請求書勘定科目割当金額
基準を使う請求書に対するクレジット・メモの収益勘定割当を検討中で、この取引が特定請求書または取引約定に対するクレジット・メモである場合、Oracle Receivablesではこの金額は「クレジット・メモ取引」ウィンドウ内の「基準方法」フィールドでユーザーが指定した方法に基づいて計算されます。
GL記帳日: この勘定科目をGeneral Ledgerに転記する日付。基準を使用する請求書をクレジットしていないかぎり、このフィールドのデフォルト値は「クレジット・メモ取引」ウィンドウに入力した日付です。この場合、GL記帳日は、請求書の勘定科目割当のGL記帳日を使用して、基準のクレジット方法に基づいて自動的に計算されます。
パーセント: このクレジット・メモ明細額の率またはこの勘定に割り当てられた税額。勘定科目割当明細にマイナスの比率を特定することができます。勘定科目割当明細の比率の合計が100に等しくなるか、勘定科目割当の金額の合計が明細金額の合計に等しくなければなりません。ただし、クレジット・メモで基準を使用する場合、勘定科目割当の合計はこのリージョンを入力したときと同じでなければなりません。
「この行のセット」タブ・リージョンは、会計基準のあるクレジット・メモの「配分」ウィンドウでのみ、また「AR: クレジット・メモ用に請求書会計を使用」プロファイル・オプションが「No」に設定されている場合にのみ表示されます。
「この行の勘定科目」タブ・リージョンは、会計基準の記載がないクレジット・メモの「配分」ウィンドウに表示されるだけです。この明細の勘定科目割当が「収益認識」プログラムによって作成された後に、基準付きのクレジット・メモ用に表示されます。
運送費情報をクレジット・メモ明細と関連付けるために、このウィンドウを使用します。Oracle Receivablesではクレジット中の取引の情報(存在する場合)はデフォルト・ヘッダー・レベルで入力されます。
これが対顧客勘定クレジット・メモであり、メモの明細に税金タイプが付けられていない場合、「当該明細の運送費」タブ・リージョンは、「運送費」ウィンドウ内にのみ現れます。それは、これが対顧客勘定のクレジット・メモではなく、クレジット中の取引明細に運送費がある場合にも現れます。詳細は、「運送費情報の入力」を参照してください。
「金額」、「摘要」、「事由」および 「単価」フィールドの情報は、「「明細」ウィンドウ・フィールド・リファレンス」を参照してください。
「クレジット取引明細」リージョンでは、この明細残余予算額の「単価」、「当初明細金額」、およびクレジット(クレジットなしフィールド)の「残高」などのクレジット中の明細情報が表示されます。
注意: 明細金額には、この明細の税金コードまたは税金グループに応じて、この明細の税金を含む場合と含まない場合があります。「税込金額」ポップリストは、明細金額に税金が含まれているかどうかを示します。詳細は、「「明細」ウィンドウ・フィールド・リファレンス」を参照してください。
「受注」タブ・リージョン
日付: この品目を発注した日付。このフィールドの機能は情報目的だけです。
明細: この請求書明細の参照先である受注明細番号。
番号: この請求書明細の受注明細番号。
改訂: この発注の改訂番号。
チャネル: この売上受注を生成するために使われた方法、たとえば電話マーケティングまたは直接マーケティングなど。Oracle Order Managementでは、この情報をレポート作成に使います。
「免税」タブ・リージョン
承認: 「税金処理」フィールド(後続の説明を参照)に「免税」を入力した場合は、免税の証明書番号を入力します。既存の免税証明書番号を選択するには、値リストを使用します。
事由: 「税金処理」フィールドに「免税」を入力した場合は、免税を作成する際の事由を入力するか値リストから選択します。「Oracle Receivablesの参照」ウィンドウで、追加の免税事由を定義できます。
税金処理: 「税金: 顧客免税上書の許可」プロファイル・オプションが「Yes」に設定されている上に、取引がチャージバックではない場合にのみ、このフィールドに値を入力できます。Oracle Receivablesの正常処理設定として税金計算を行う場合は、「標準」デフォルト値を使用します。「顧客免税」システム・オプションが「Yes」に設定されていて、かつ請求書明細に免税を実施したい場合、「免税」を入力します。税金計算を請求書明細に実施するには、「必須」を入力します。このフィールドを更新しても、既存の請求書明細への影響はありません。新規の請求書明細に対してのみデフォルトが新規の値となります。
このウィンドウは、特定クレジット・メモ明細の販売実績情報を入力するために使います。この取引が特定請求書または取引約定に対するクレジット・メモである場合、デフォルト販売実績は、当初特定請求書か、または取引約定販売実績明細の販売実績です。詳細は、「収益実績の入力」を参照してください。
Oracle Receivablesでは、当初請求書に割り当てられた販売グループ(複数可)もデフォルト設定しますが、このデフォルトは変更できます。
このクレジット・メモが対顧客勘定であり、メモの明細に運送費タイプがない場合に、「この行の税金」の選択肢が「詳細税金明細」ウィンドウのみに表示されます。また、このクレジット・メモが対顧客勘定でなくても、クレジット対象取引明細に税金が含まれている場合には表示されます。このウィンドウのフィールドの詳細は、「「詳細税金明細」ウィンドウ・フィールド・リファレンス」を参照してください。
関連項目
Oracle Receivablesでは、クレジット・メモあるいは税金の明細に対する勘定科目の割当を「配分」ウィンドウで入力したり、表示することができます。Oracle Receivablesでは、「自動会計」を使ってクレジット・メモ明細の収益と税勘定科目にデフォルトの値が作成されます。
この取引が特定請求書または取引約定に対するクレジット・メモであり、そのプロファイル・オプション 「AR: クレジット・メモ用に請求書会計を使用」が「Yes」に設定されている場合、Oracle Receivablesでは、これらの勘定科目のデフォルト値を作るために「自動会計」は使われません。そのかわりに、戻し処理は作成中の請求書または取引約定を使って作成されます。
前提条件
「取引要約」ウィンドウまたは「取引」ウィンドウにナビゲートします。
表示するクレジット・メモを問い合せます。
「取引要約」ウィンドウが表示されている場合は、「オープン」を選択します。
「配分」を選択します。
このクレジット・メモ明細の収益勘定科目割当を更新するには、この勘定のGL勘定情報を修正します。
会計基準を持つ請求書に対するクレジット・メモ明細を表示中で、そのプロファイル・オプション「AR: クレジット・メモ用に請求書会計を使用」が「No」に設定されている場合、勘定科目セットを入力するか更新するには、「単一明細の勘定科目セット」タブ・リージョンを使います。会計基準を持つクレジット・メモを表示している場合、このウィンドウにナビゲートする前に「収益認識」プログラムを実行しなくてはなりません。関連項目: 収益の認識
注意: すでに転記した勘定科目の割当を更新しても、Oracle Receivablesは元の割当を変更しません。このような場合には、変更内容を保存するとその更新を反映させるために新しい勘定科目の割当が作成されます。最初の割当は転記した元の勘定科目を相殺し、2番目の割当は更新した新しい金額のパーセントあるいは勘定科目を記録します。未転記の勘定科目割当を更新すると、指定した勘定科目割当がOracle Receivablesによって直接更新され、変更内容を保存する際に相殺会計割当入力は行われません。
関連項目
Oracle Receivablesではクレジット・メモの販売実績を入力したり更新することができます。特定の請求書または取引約定に対してクレジット・メモを検討している場合、Oracle Receivablesでは、元の請求書または元の取引約定販売実績明細を基にデフォルト販売実績が設定されます。
Oracle Receivablesでは、営業担当に割り当てられる販売グループもデフォルト設定します(グループがある場合)。このデフォルトは変更できます。
対顧客勘定クレジット・メモを参照している場合、すべての販売実績は「取引」ウィンドウで入力した営業担当責任者に割り当てられています。関連項目: 対顧客勘定クレジット・メモの作成
自動会計が販売実績に依存し、ユーザーが「営業担当」フィールドを変更した場合、Oracle Receivablesでは意思決定ウィンドウが表示され、このクレジット・メモ明細のために「自動会計」を再実行するかどうかを尋ねてきます。「Yes」を選択すると、Oracle Receivablesでは「自動会計」が再実行され、このクレジット・メモ明細に対する収益勘定が更新されます。この販売実績の明細に「自動会計」を再実行する場合で、すでにクレジット・メモ勘定科目割当が転記済の場合は、当初の会計仕訳と販売実績レコードは更新されません。この場合、当初の販売実績を相殺し、新規入力を記録するために、新規の会計仕訳および販売実績レコードが作られます。「No」を選択すると、Oracle Receivablesでは「自動会計」が起動されず、販売実績情報の変更を保存します。
販売実績を使用するために「税金」、「未収金」、「前受金」、および「自動インボイス未決算勘定」用の「自動会計」を定義し、「自動会計」を再実行するために「Yes」を入力した場合、Oracle Receivablesによって、クレジット・メモ明細と関連付けられており、かつ現在営業担当に基づいているこれらの区分が更新されます。
警告: 以前に「収益会計管理(RAM)」ウィザードを使用してクレジット・メモの収益を修正している場合、クレジット・メモの販売実績は、「取引」ワークベンチではなく、常に「収益会計管理(RAM)」ウィザードを使用して修正してください。関連項目: 収益実績の入力
前提条件
「取引要約」ウィンドウまたは「取引」ウィンドウにナビゲートします。
表示するクレジット・メモを問い合せます。
「取引要約」ウィンドウが表示されている場合は、「オープン」を選択します。
「販売実績」を選択します。
販売実績を更新するには、新規の収益実績、他の実績率または金額を入力します。
他の営業担当と販売実績を分配する手順は、次のとおりです。
a. 営業担当責任者に対し、販売実績額と販売実績パーセントを更新し、「新たなレコードです。」を選択します。
b. 新しい営業担当の名前と彼らが受け取る販売実績率を入力します。
関連項目
クレジットしている取引が運送費に関係する場合、「運送費」ウィンドウでクレジット・メモの運送費情報を入力したり、更新することができます。クレジット・メモの明細別に運送費の金額と会計処理のフレックスフィールドを特定することができます。「運送費」ウィンドウをオープンすると、Oracle Receivablesでは、表示中のクレジット・メモ用にヘッダー・レベルの運送費情報がデフォルト設定されます。
クレジット・メモの取引タイプ「運送費計上の許可」が「No」に設定されている場合、または標準メモ明細タイプに「税金」を指定した場合は、運送費情報をクレジット・メモに入力できません。
前提条件
『Oracle Receivablesインプリメンテーション・ガイド』の運送業者の定義に関する項
「取引」ウィンドウまたは「取引要約」ウィンドウにナビゲートします。
表示するクレジット・メモを問い合せます。
「取引要約」ウィンドウが表示されている場合は、「オープン」を選択します。
「運送費」を選択します。
このクレジット・メモまたはクレジット・メモ明細(オプション)の運送費の金額を入力します。請求書あるいは取引約定に対するクレジット・メモの場合、デフォルトは元の運送費およびクレジットしている請求書の明細の未払残高です。運送費のみの明細の場合、デフォルトの運送費は、すべての通貨差異を修正した選択済の標準明細の定価です。
このクレジット・メモまたはクレジット・メモ明細(オプション)の運送費GL勘定を入力します。プロファイル・オプション「AR: クレジット・メモ用に請求書会計を使用」が「No」に設定されている場合、またはこの内容が対顧客勘定クレジットである場合は、このクレジット・メモまたはクレジット・メモ明細のデフォルト運送費勘定を決めるために、「自動会計」が使用されます。それ以外の場合、Oracle Receivablesでは、クレジット中の取引の運送費勘定が使用されます。
関連項目
Oracle Receivablesでは、「詳細税金明細」ウィンドウでクレジット・メモ明細の税金情報を検討できます。
Oracle Receivablesでは、税金エンジンとしてOracle E-Business Taxが使用されます。E-Business Taxでは、Oracle Receivables用に税金計算を管理するためのアプリケーション機能一式が提供されています。さらに、E-Business Taxはすべての税金関連データのリポジトリとなります。
Oracle E-Business Taxでは、取引および取引明細からの事前定義済基準や多くのデータ・ポイントに従って、税金が計算されます。Oracle E-Business Taxでは常に、事前定義済基準およびクレジット取引に存在するデータに従って、クレジット・メモの税金の計算が試行されます。
前提条件
税金の設定
関連項目: 『Oracle E-Business Taxユーザー・ガイド』のOracle E-Business Taxでの税金の設定に関する項
「クレジット・メモ取引」ウィンドウまたは「取引要約」ウィンドウにナビゲートします。
表示するクレジット・メモを問い合せます。
「取引要約」ウィンドウが表示されている場合は、「オープン」を選択します。
「クレジット・メモ取引」ウィンドウが表示されている場合は、「貸方明細」を選択します。
「税金」を選択します。
関連項目
Oracle Receivablesでは、取引に消込済の入金を取り消し、その金額のクレジット・メモを作成することができます。
たとえば、全額支払済の顧客から返品があった場合などです。この取引の現預金を未消込にして、請求書に対する全額のクレジット・メモを作成できます。
現預金を未消込にした後、次のいずれかのことができます。
後で別の取引に再配賦できるように、現金を対顧客勘定に入れる。
現金を顧客に返送する。
たとえば、手動クレジット・カード返済を作成するには、単に取引からの現預金を未消込にして、クレジット・カード返済を作成し、取引をクレジットします。関連項目: クレジット・カード返済
この処理を自動化する方法は、「クレジットのための自動入金処理」を参照してください。
前提条件
「入金」ウィンドウにナビゲートします。
未消込対象の入金を問い合せて、「消込」を選択します。
取引の横にある「消込」チェック・ボックスの選択を解除します。
作業内容を保存します。
「クレジット・メモ取引」ウィンドウにナビゲートします。
ステップ3の取引を問い合せます。
全額または一部金額に対して、クレジット・メモを作成します。
関連項目: 取引の貸方記入
関連項目
複数の賦払の取引をクレジットするときに、クレジット・メモでクレジット取引の賦払への消込を更新するために「賦払」ウィンドウを使うことができます。Oracle Receivablesでは各賦払期日に基づいて取引の賦払情報が表示されます。Oracle Receivablesはこのクレジット・メモを作成するときに入力した分割条件法に基づいて明細、税金および運送費の情報がデフォルト設定されます。これらの値を受け入れることも、また新規の値を入力することもできます。
「賦払」ウィンドウではクレジット・メモの金額を更新したり、税金あるいは運送費を加えたりすることはできません。クレジット・メモが未完了もしくはこの取引が対顧客勘定クレジットの場合は、「賦払」ウィンドウをオープンすることはできません。
前提条件
「取引要約」ウィンドウにナビゲートします。
更新するクレジット・メモを問い合せます。
「処理」メニューから「クレジット賦払」を選択します。
このクレジット・メモの賦払を更新するには、各賦払の「明細」、「税金」または「運送費」のクレジット金額を変更します。明細クレジットの合計はクレジット・メモの合計明細金額に等しく、税金クレジットの合計はクレジット・メモの合計税金額に等しく、運送費クレジットの合計はクレジット・メモの合計運送費金額に等しい必要があります。
関連項目
クレジット・メモをバッチにグループ化するのであれば、クレジット・メモを入力するときにコントロールの合計と実際のバッチ合計との間の差異を見ることができます。これらの差異を見ることにより入力誤りや重複入力がわかります。さらに、関連するクレジット・メモをグループ化することにより、自動/手動の連番化や取引タイプのようなデフォルトの属性をシェアすることができます。
貸方記入している取引がバッチの一部である場合、クレジット・メモをバッチに追加できます。
前提条件
『Oracle Receivablesインプリメンテーション・ガイド』のクレジット・メモ・ソースの定義に関する項
『Oracle Receivablesインプリメンテーション・ガイド』のクレジット・メモ取引タイプの定義に関する項
クレジット・メモのバッチの作成(オプション)
「取引要約」ウィンドウまたは「クレジット・メモ取引」ウィンドウにナビゲートします。
「取引」または「取引要約」ウィンドウが表示されている場合は、貸方記入する取引を問い合せてから「クレジット」を選択します。
「ナビゲータ」から「クレジット・メモ取引」を選択した場合は、クレジットする取引の番号を「取引の検索」ウィンドウに入力します。取引番号がわからない場合は、「区分」、「取引日」および「通貨」などの選択基準を入力して検索範囲を絞り込みます。
このクレジット・メモを既存のバッチに追加するには、「新規」バッチ・タイプを選択し、このクレジット・メモを追加するバッチ名を入力するか、値リストから選択します。
貸方記入した取引が属しているバッチと同じバッチにこのクレジット・メモを追加するには、「クレジット取引」バッチ・タイプを選択します。確認のウィンドウが表示されます。
バッチからこのクレジット・メモのデフォルト値を抽出するには、「Yes」を選択します。貸方記入中の取引からデフォルト値を抽出するには、「No」を選択します。デフォルト値は、取引ソース、クレジット・メモ日付、取引タイプ、GL記帳日、および通貨を含みます。
注意: ソースに関係なくクレジット・メモのデフォルト値を更新できます。
クレジット・メモを入力します。関連項目: 取引の貸方記入
関連項目
クレジット・メモおよび対顧客勘定クレジット・メモは、「取引」または「取引要約」ウィンドウで検討できます。
注意: 「取引要約」ウィンドウを使用して請求書に消し込まれたクレジット・メモを問い合せる場合、「消込」ボタンは使用できません。「取引要約」ウィンドウの「消込」ボタンは、対顧客勘定クレジット・メモの消込にのみ使用されます。関連項目: 対顧客勘定クレジット・メモの消込
前提条件
「取引」ウィンドウまたは「取引要約」ウィンドウにナビゲートします。
参照するクレジット・メモまたは対顧客勘定クレジットを問い合せます。
「取引要約」ウィンドウが表示されている場合は、参照する取引を選択してから「オープン」を選択します。
関連項目
対顧客勘定クレジット・メモは、特定の請求書に関連付けられていない顧客アカウントに割り当てるクレジットです。たとえば、販売した製品またはサービスに顧客が満足していない場合、対顧客勘定クレジット・メモを作成できます。その後、この対顧客勘定クレジット・メモを別の取引に消し込むことができます。
対顧客勘定クレジット・メモは請求書、借方品目およびチャージバックに消込および再消込できます。
関連項目: 対顧客勘定クレジット・メモの消込
「消込」ウィンドウで手動で入金を消し込むときに、勘定に金額を入金することもできます。これは対顧客勘定入金であり、対顧客勘定クレジット・メモとは異なります。関連項目: 入金の手動消込
前提条件
取引の入力時と同じ手順に従います。関連項目: 取引の入力
ただし、取引額を入力するときは、この対顧客勘定クレジット・メモの金額をマイナスの数値として入力します。たとえば、$25の与信を入力する場合、-25と入力します。
関連項目
Oracle Receivablesによって対顧客勘定クレジット・メモを顧客の未回収品目に消し込むことができます。たとえば、顧客の対顧客勘定クレジット・メモが$200だとします。対顧客勘定クレジット・メモおよび顧客の未回収残高を削減または決済するために、対顧客勘定クレジット・メモを1つ以上の未回収借方品目へ消し込むことができます。
注意: 「取引要約」ウィンドウを使用して請求書に消し込まれたクレジット・メモを問い合せる場合、「消込」ボタンは使用できません。
「取引要約」ウィンドウの「消込」ボタンは、完了した対顧客勘定クレジット・メモの消込にのみ使用されます。
前提条件
「取引要約」ウィンドウにナビゲートします。
消込をする対顧客勘定クレジット・メモを問い合せます。
「消込」を選択します。
この対顧客勘定クレジット・メモの消込先取引を値リストから選択します。
「消込済金額」が自動的に入力され、対顧客勘定クレジット・メモの「未消込金額」と、この取引の「未回収残高」が更新されます。
未回収残高がこの対顧客勘定クレジットの金額よりも大きくない限り、デフォルトの「消込済金額」はこの取引の未回収残高です。この場合には、デフォルトの「消込済金額」は、対顧客勘定クレジットの未消込金額です。この金額を受け入れるか、または別の金額を入力する(たとえば、この対顧客勘定クレジットを複数の取引に対して消し込む場合)ことができます。
注意: Oracle Receivablesでは、クレジットを消し込む借方項目の取引タイプを使用して、消込金額が検証されます。
取引タイプが超過消込不可を強制する場合は、借方項目の残高をゼロに近づける消込金額を入力する必要があります。
取引タイプが超過消込を認めない場合は、借方項目の残高の符号を逆にするような金額の入力はできません。
取引タイプが超過消込を許可する場合は、この対顧客勘定クレジットをクローズされた借方項目に対して消し込むことができます。「取引」ワークベンチからクローズされた請求書にアクセスするには、「ツール」メニューの「消込済請求書の表示」チェック・ボックスをチェックする必要があります。
注意: 借方項目の取引タイプは、この消込の消込ルール・セットを決める際にも使用されます。
この対顧客勘定クレジット・メモを別の取引に対して消し込むには、手順4を繰り返します。
この対顧客勘定クレジットの消込に満足であれば、作業内容を保存します。Oracle Receivablesにより、顧客の勘定残高が更新されます。
Oracle Receivablesにより既存の対顧客勘定クレジット・メモで1つ以上の顧客の未決済借方項目をクローズするために入金を消し込むことができます。たとえば、顧客は合計$500の商品を受け取ってもそれに満足していないとします。顧客勘定に$100をクレジットすることに同意するとします。その顧客が$400を送金すると同時に、入金とともに対顧客勘定クレジット・メモを消し込んで、未回収請求書および対顧客勘定クレジット・メモの両方をクローズできます。
入金および対顧客勘定クレジットを異なる通貨で取引に消し込むことができます。たとえば、機能通貨がUSDである場合に、ドイツ人の顧客がDEMでのオープン請求書を持っているとします。顧客によりこの請求書の一部支払がUSD、DEMまたはEUR(ユーロ)で送金された場合、入金と対顧客勘定クレジットを結合してオープン請求書に消し込むことができます。Receivablesでは、消込によって作成された差益、差損または端数処理金額が自動的に記録されます。関連項目: 相互通貨入金
「入金」または「入金要約」ウィンドウにナビゲートします。
入金を照会または入力して消し込みます。関連項目: 入金の入力
「適用」を選択します。
金額リストから未決済取引と対顧客勘定クレジット・メモを選択します。
対顧客勘定クレジット・メモおよび未回収借方品目に入金を消し込みます。関連項目: 入金の手動消込
関連項目
Oracle Receivablesではほとんどのクレジット・メモ情報を更新できます。たとえば、不完全なクレジット・メモの取引タイプ、GL記帳日、参照番号、請求先事業所、営業担当、および文書番号を変更することができます。クレジット・メモのステータスが「完了」である場合は、その営業担当、事由、および顧客参照番号だけを更新できます。取引を更新するための基準の完全なリストについては、「取引の保守」を参照してください。
「営業担当」と、営業担当に依存する「自動会計」を修正する場合、Oracle Receivablesでは入金および運送費の勘定科目を再計算するために、「自動会計」を再実行するかどうかを尋ねる意思決定のウィンドウが表示されます。「Yes」を選択した場合には、Oracle Receivablesでは「自動会計」を再実行して、勘定科目へ適切な変更が加えられます。「No」を選択すると、Oracle Receivablesでは、販売実績への変更が保存されますが、「自動会計」の再実行は行われません。この取引に対する活動が存在するか、この取引がGeneral Ledgerへ転記されていると、Oracle Receivablesでは、勘定を再計算するかどうか尋ねられません。
警告: 非一時的税金コードに基づく自動的に計算された税金を使う「自動インボイス」からOracle Receivablesへ渡された対顧客勘定クレジットのすべての税金関連フィールドを更新するために、「クレジット・メモ取引」ウィンドウは使用できません。これらの取引を税金コードと取引ソース別に識別できます。
前提条件
「クレジット・メモ取引」ウィンドウまたは「取引」ウィンドウにナビゲートします。
更新するクレジット・メモを問い合せます。
対顧客勘定クレジット情報を必要に応じて更新します。
「取引要約」ウィンドウまたは「取引」ウィンドウにナビゲートします。
更新する対顧客勘定クレジットを問い合せます。
「取引要約」ウィンドウを開いている場合は、対顧客勘定クレジットを選択して「オープン」を選択します。
対顧客勘定クレジット情報を必要に応じて更新します。
関連項目
Oracle Receivablesでは、すべての会計戻し処理仕訳が自動的に作成される間、ユーザーは請求書を完全にまたは一部クレジットできます。「クレジット・メモ取引」ウィンドウまたは自動インボイスを使用して、クレジット・メモを作成できます。クレジット・メモが自動インボイスによってインポートされるか、「クレジット・メモ取引」ウィンドウを使用して手動入力されるかにかかわらず、会計は常に同じになります。
次の複数の項では、Oracle Receivablesで各種請求書に対して全クレジット・メモおよび一部クレジット・メモが計上される方法の例を示します。
1/1/XXに、次の詳細により請求書が作成されます。
請求書番号 = 102
請求書日付 = 1/1/XX
請求金額=$100
期間 = 5か月
請求ルール = 前受請求
会計基準 = 次に示す固定金額
期間1 = $20
期間2 = $20
期間3 = $10
期間4 = $30
期間5 = $20
次の表では、5つの会計期間に及ぶ請求書102の会計仕訳を示しています。
| 勘定科目 | 借方 | 貸方 | GL記帳日 | 期間ステータス |
|---|---|---|---|---|
| 売掛/未収金 | 100.00 | 1/1/XX | オープン | |
| 前受収益 | 20.00 | 1/1/XX | オープン | |
| 前受収益 | 100.00 | 1/1/XX | オープン | |
| 収益 | 20.00 | 1/1/XX | オープン | |
| 前受収益 | 20.00 | 2/1/XX | 未オープン | |
| 収益 | 20.00 | 2/1/XX | 未オープン | |
| 前受収益 | 10.00 | 3/1/XX | 未オープン | |
| 収益 | 10.00 | 3/1/XX | 未オープン | |
| 前受収益 | 30.00 | 4/1/XX | 未オープン | |
| 収益 | 30.00 | 4/1/XX | 未オープン | |
| 前受収益 | 20.00 | 5/1/XX | 未オープン | |
| 収益 | 20.00 | 5/1/XX | 未オープン |
次の例では、4つの異なるケースについて説明しています。
ケース1 - 全クレジット・メモが請求書に対して入力されます。
ケース2 - 一部クレジット・メモが請求書に対して入力され、基準のクレジット方法は「按分」に設定されます。
ケース3 - 一部クレジット・メモが請求書に対して入力され、基準のクレジット方法は「LIFO」に設定されます。
ケース4 - 6/1/XXに一部クレジット・メモが請求書に対して入力され、基準のクレジット方法は「単位」に設定されます。
2/15/XXに、全クレジット・メモが次の詳細により請求書102に対して入力されます。
クレジット・メモ日付 = 2/15/XX
クレジット・メモ金額 = $100
次の表では、クレジット・メモの消込み後の戻し処理会計仕訳を示しています。
| 勘定科目 | 借方 | 貸方 | GL記帳日 | 期間ステータス |
|---|---|---|---|---|
| 前受収益 | 100.00 | 2/15/XX | オープン | |
| 収益 | 20.00 | 2/15/XX | オープン | |
| 収益 | 20.00 | 2/15/XX | オープン | |
| 売掛/未収金 | 100.00 | 2/15/XX | オープン | |
| 前受収益 | 20.00 | 2/15/XX | オープン | |
| 前受収益 | 20.00 | 2/15/XX | オープン | |
| 収益 | 10.00 | 3/1/XX | 未オープン | |
| 前受収益 | 10.00 | 3/1/XX | 未オープン | |
| 収益 | 30.00 | 4/1/XX | 未オープン | |
| 前受収益 | 30.00 | 4/1/XX | 未オープン | |
| 収益 | 20.00 | 5/1/XX | 未オープン | |
| 前受収益 | 20.00 | 5/1/XX | 未オープン |
2/15/XXに、$65の一部クレジット・メモが請求書102に対して入力され、基準のクレジット方法は「按分」に設定されます。クレジット・メモの詳細は次のとおりです。
クレジット・メモ日付 = 2/15/XX
クレジット・メモ金額 = $65
次の表では、クレジット・メモの消込み後の一部戻し処理会計仕訳を示しています。一部金額の導出に計算が使用されています。
| 勘定科目 | 借方 | 貸方 | GL記帳日 | 期間ステータス |
|---|---|---|---|---|
| 前受収益(65/100)*($100) | 65.00 | 2/15/XX | オープン | |
| 収益(65/100)*($20) | 13.00 | 2/15/XX | オープン | |
| 収益(65/100)*($20) | 13.00 | 2/15/XX | オープン | |
| 売掛/未収金 | 65.00 | 2/15/XX | オープン | |
| 前受収益 | 13.00 | 2/15/XX | オープン | |
| 前受収益 | 13.00 | 2/15/XX | オープン | |
| 収益(65/100)*($10) | 6.50 | 3/1/XX | オープン | |
| 前受収益 | 6.50 | 3/1/XX | オープン | |
| 収益(65/100)*($30) | 19.50 | 4/1/XX | 未オープン | |
| 前受収益 | 19.50 | 4/1/XX | 未オープン | |
| 収益(65/100)*($20) | 13.00 | 5/1/XX | 未オープン | |
| 前受収益 | 13.00 | 5/1/XX | 未オープン |
2/15/XXに、$65の一部クレジット・メモが請求書102に対して入力され、基準のクレジット方法は「LIFO」に設定されます。クレジット・メモ金額は期間2によって完全に消し込まれます。クレジット・メモの詳細は次のとおりです。
クレジット・メモ日付 = 2/15/XX
クレジット・メモ金額 = $65
次の表では、クレジット・メモの消込み後の一部および全戻し処理会計仕訳を示しています。
| 勘定科目 | 借方 | 貸方 | GL記帳日 | 期間ステータス |
|---|---|---|---|---|
| 収益 | 5.00 | 2/15/XX | オープン | |
| 前受収益 | 65.00 | 2/15/XX | オープン | |
| 前受収益 | 5.00 | 2/15/XX | オープン | |
| 売掛/未収金 | 65.00 | 2/15/XX | オープン | |
| 収益 | 10.00 | 3/1/XX | オープン | |
| 前受収益 | 10.00 | 3/1/XX | オープン | |
| 収益 | 30.00 | 4/1/XX | 未オープン | |
| 前受収益 | 30.00 | 4/1/XX | 未オープン | |
| 収益 | 20.00 | 5/1/XX | 未オープン | |
| 前受収益 | 20.00 | 5/1/XX | 未オープン |
注意: Oracle Receivablesでは、クレジット・メモ金額から期間5、4および3の収益金額を差し引いて、期間2の一部戻し処理金額$5が導出されます(20 + 30 + 10 + 5 = 65)。クレジット・メモは期間5、4、3および2で完全に消し込まれていたため、期間1の会計仕訳はありません。
6/1/XXに、$65の一部クレジット・メモが請求書102に対して8単位入力されます。この請求書は10単位で構成されており、それぞれが値$10で合計$100であると仮定します。このクレジット・メモは、基準のクレジット方法が「単位」に設定された状態で入力されます。クレジット・メモの詳細は次のとおりです。
クレジット・メモ日付 = 6/1/XX
クレジット・メモ金額 = $65
Oracle Receivablesでは、各期間のネット単価とクレジットする単位数(この例では8)を乗算して、各期間のクレジット金額が導出されます。Oracle Receivablesでは、次の算式によってネット単価が導出されます。
ネット単価 = (この期間の請求書金額 - この期間内の前のクレジット・メモ)/当初請求数量
次の表では、各期間のネット単価を示しています。
| 期間 | 計算 | ネット単価 |
|---|---|---|
| 期間5 | ($20-$0)/10単位 | $2 |
| 期間4 | ($30-$0)/10単位 | $3 |
| 期間3 | ($10-$0)/10単位 | $1 |
| 期間2 | ($20-$0)/10単位 | $2 |
| 期間1 | ($20-$0)/10単位 | $2 |
次の表では、前述の計算の結果として、各期間のクレジット金額(ネット単価 * クレジット単位数)を示しています。
| 期間 | クレジット金額 | クレジット金額(実績) |
|---|---|---|
| 期間5 | $2 * 8単位 | $16 |
| 期間4 | $3 * 8単位 | $24 |
| 期間3 | $1 * 8単位 | $8 |
| 期間2 | $2 * 8単位 | $16 |
| 期間1 | $2 * 8単位 | $1(クレジット・メモの残高) |
次の表では、クレジット・メモの消込み後の一部戻し処理会計仕訳を示しています。
| 勘定科目 | 借方 | 貸方 | GL記帳日 | 期間ステータス |
|---|---|---|---|---|
| 前受収益 | 65.00 | 1/1/XX | オープン | |
| 収益 | 1.00 | 1/1/XX | オープン | |
| 売掛/未収金 | 65.00 | 1/1/XX | オープン | |
| 前受収益 | 1.00 | 1/1/XX | オープン | |
| 収益 | 16.00 | 2/1/XX | オープン | |
| 前受収益 | 16.00 | 2/1/XX | オープン | |
| 収益 | 8.00 | 3/1/XX | オープン | |
| 前受収益 | 8.00 | 3/1/XX | オープン | |
| 収益 | 24.00 | 4/1/XX | オープン | |
| 前受売掛/未収金 | 24.00 | 4/1/XX | オープン | |
| 収益 | 16.00 | 5/1/XX | オープン | |
| 前受売掛/未収金 | 16.00 | 5/1/XX | オープン |
1/1/XXに、次の請求書が作成されます。
請求書番号 = 103
請求書日付 = 5/1/XX
請求金額=$100
期間 = 5か月
請求ルール = 未収請求
会計基準 = 次に示す固定金額
期間1 = $20
期間2 = $20
期間3 = $10
期間4 = $30
期間5 = $20
次の表では、5つの会計期間に及ぶ請求書103の会計仕訳を示しています。
| 勘定科目 | 借方 | 貸方 | GL記帳日 | 期間ステータス |
|---|---|---|---|---|
| 未請求売掛金 | 20.00 | 1/1/XX | オープン | |
| 収益 | 20.00 | 1/1/XX | オープン | |
| 未請求売掛金 | 20.00 | 2/1/XX | 未オープン | |
| 収益 | 20.00 | 2/1/XX | 未オープン | |
| 未請求売掛金 | 10.00 | 3/1/XX | 未オープン | |
| 収益 | 10.00 | 3/1/XX | 未オープン | |
| 未請求売掛金 | 30.00 | 4/1/XX | 未オープン | |
| 収益 | 30.00 | 4/1/XX | 未オープン | |
| 売掛/未収金 | 100.00 | 5/1/XX | 未オープン | |
| 未請求売掛金 | 20.00 | 5/1/XX | 未オープン | |
| 未請求売掛金 | 100.00 | 5/1/XX | 未オープン | |
| 収益 | 20.00 | 5/1/XX | 未オープン |
次の例では、4つの異なるケースについて説明しています。
ケース1 - 全クレジット・メモが請求書に対して入力されます。
ケース2 - 6/1/XXに一部クレジット・メモが請求書に対して入力され、基準のクレジット方法は「按分」に設定されます。
ケース3 - 6/1/XXに一部クレジット・メモが請求書に対して入力され、基準のクレジット方法は「LIFO」に設定されます。
ケース4 - 6/1/XXに一部クレジット・メモが請求書に対して入力され、基準のクレジット方法は「単位」に設定されます。
6/1/XXに、全クレジット・メモが次の詳細により請求書103に対して入力されます。
クレジット・メモ日付 = 6/1/XX
クレジット・メモ金額 = $100
次の表では、クレジット・メモの消込み後の戻し処理会計仕訳を示しています。
| 勘定科目 | 借方 | 貸方 | GL記帳日 | 期間ステータス |
|---|---|---|---|---|
| エントリなし | 1/1/XX | クローズ | ||
| エントリなし | 2/1/XX | クローズ | ||
| エントリなし | 3/1/XX | クローズ | ||
| 収益(期間1エントリの戻し処理) | 20.00 | 4/1/XX | オープン | |
| 収益(期間2エントリの戻し処理) | 20.00 | 4/1/XX | オープン | |
| 収益(期間3エントリの戻し処理) | 10.00 | 4/1/XX | オープン | |
| 収益(期間4エントリの戻し処理) | 30.00 | 4/1/XX | オープン | |
| 未請求売掛金 | 20.00 | 4/1/XX | オープン | |
| 未請求売掛金 | 20.00 | 4/1/XX | オープン | |
| 未請求売掛金 | 10.00 | 4/1/XX | オープン | |
| 未請求売掛金 | 30.00 | 4/1/XX | オープン | |
| 収益(期間5エントリの戻し処理) | 20.00 | 5/1/XX | オープン | |
| 未請求売掛金 | 20.00 | 5/1/XX | オープン | |
| 未請求売掛金(当初売掛金の戻し処理) | 100.00 | 6/1/XX | オープン | |
| 売掛/未収金 | 100.00 | 6/1/XX | オープン |
6/1/XXに、$65の一部クレジット・メモが請求書103に対して入力され、基準のクレジット方法は「按分」に設定されます。クレジット・メモの詳細は次のとおりです。
クレジット・メモ日付 = 6/1/XX
クレジット・メモ金額 = $65
次の表では、クレジット・メモの消込み後の一部戻し処理会計仕訳を示しています。一部金額の導出に計算が使用されています。
| 勘定科目 | 借方 | 貸方 | GL記帳日 | 期間ステータス |
|---|---|---|---|---|
| エントリなし | 1/1/XX | クローズ | ||
| エントリなし | 2/1/XX | クローズ | ||
| エントリなし | 3/1/XX | クローズ | ||
| 収益(65/100)*($20) | 13.00 | 4/1/XX | オープン | |
| 収益(65/100)*($20) | 13.00 | 4/1/XX | オープン | |
| 収益(65/100)*($10) | 6.50 | 4/1/XX | オープン | |
| 収益(65/100)*($30) | 19.50 | 4/1/XX | オープン | |
| 未請求売掛金 | 13.00 | 4/1/XX | オープン | |
| 未請求売掛金 | 13.00 | 4/1/XX | オープン | |
| 未請求売掛金 | 6.50 | 4/1/XX | オープン | |
| 未請求売掛金 | 19.50 | 4/1/XX | オープン | |
| 収益(65/100)*($20) | 13.00 | 5/1/XX | オープン | |
| 未請求売掛金 | 13.00 | 5/1/XX | オープン | |
| 未請求売掛金 | 65.00 | 6/1/XX | オープン | |
| 売掛/未収金 | 65.00 | 6/1/XX | オープン |
6/1/XXに、$65の一部クレジット・メモが請求書103に対して入力され、基準のクレジット方法は「LIFO」に設定されます。クレジット・メモの詳細は次のとおりです。
クレジット・メモ日付 = 6/1/XX
クレジット・メモ金額 = $65
次の表では、クレジット・メモの消込み後の一部および全戻し処理会計仕訳を示しています。
| 勘定科目 | 借方 | 貸方 | GL記帳日 | 期間ステータス |
|---|---|---|---|---|
| エントリなし | 1/1/XX | クローズ | ||
| エントリなし | 2/1/XX | クローズ | ||
| エントリなし | 3/1/XX | クローズ | ||
| 収益 | 5.00 | 4/1/XX | オープン | |
| 収益 | 10.00 | 4/1/XX | オープン | |
| 収益 | 30.00 | 4/1/XX | オープン | |
| 未請求売掛金 | 5.00 | 4/1/XX | オープン | |
| 未請求売掛金 | 10.00 | 4/1/XX | オープン | |
| 未請求売掛金 | 30.00 | 4/1/XX | オープン | |
| 収益 | 20.00 | 5/1/XX | オープン | |
| 未請求売掛金 | 20.00 | 5/1/XX | オープン | |
| 未請求売掛金 | 30.00 | 6/1/XX | オープン | |
| 売掛/未収金 | 30.00 | 6/1/XX | オープン |
注意: Oracle Receivablesでは、クレジット・メモ金額から期間3、4および5の収益金額を差し引いて、期間4の一部戻し処理金額$5が導出されます。
6/1/XXに、$40の一部クレジット・メモが請求書103に対して8単位入力されます。この請求書は10単位で構成されており、それぞれが値$10で合計$100であると仮定します。このクレジット・メモは、基準のクレジット方法が「単位」に設定され、請求書の最終期間の「最終クレジット期間」が設定された状態で入力されます。クレジット・メモの詳細は次のとおりです。
クレジット・メモ日付 = 6/1/XX
クレジット・メモ金額 = $40
Oracle Receivablesでは、各期間のネット単価とクレジットする単位数(この例では8)を乗算して、各期間のクレジット金額が導出されます。Oracle Receivablesでは、次の算式によってネット単価が導出されます。
ネット単価 = (この期間の請求書金額 - この期間内の前のクレジット・メモ)/当初請求数量
次の表では、各期間のネット単価を示しています。
| 期間 | 計算 | ネット単価 |
|---|---|---|
| 期間5 | ($20-$0)/10単位 | $2 |
| 期間4 | ($30-$0)/10単位 | $3 |
| 期間3 | ($10-$0)/10単位 | $1 |
| 期間2 | ($20-$0)/10単位 | $2 |
| 期間1 | ($20-$0)/10単位 | $2 |
次の表では、前述の計算の結果として、各期間のクレジット金額(ネット単価 * クレジット単位数)を示しています。
| 期間 | クレジット金額 | クレジット金額(実績) |
|---|---|---|
| 期間5 | $2 * 8単位 | $16 |
| 期間 4 | $3 * 8単位 | $24 |
次の表では、クレジット・メモの消込み後の一部戻し処理会計仕訳を示しています。
| 勘定科目 | 借方 | 貸方 | GL記帳日 | 期間ステータス |
|---|---|---|---|---|
| エントリなし | 1/1/XX | クローズ | ||
| エントリなし | 2/1/XX | クローズ | ||
| エントリなし | 3/1/XX | クローズ | ||
| 収益 | 24.00 | 4/1/XX | オープン | |
| 未請求売掛金 | 24.00 | 4/1/XX | オープン | |
| 収益 | 16.00 | 5/1/XX | オープン | |
| 未請求売掛金 | 16.00 | 5/1/XX | オープン | |
| 未請求売掛金 | 40.00 | 6/1/XX | オープン | |
| 売掛/未収金 | 40.00 | 6/1/XX | オープン |
1/1/XXに、次の詳細により請求書が作成されます。
請求書番号 = 104
請求書日付 = 1/1/XX
請求金額=$100
支払条件 = 3回の賦払い(次の表のとおり)
| 支払期日 | 金額 |
|---|---|
| 2/1/XX | $50 |
| 3/1/XX | $25 |
| 4/1/XX | $25 |
次の表では、これらの賦払いの支払計画を示しています。
| 支払期日 | 当初未払額 | 未回収残高 | クレジット金額合計 |
|---|---|---|---|
| 2/1/XX | $50 | $50 | $0 |
| 3/1/XX | $25 | $25 | $0 |
| 4/1/XX | $25 | $25 | $0 |
次の例では、3つの異なるケースについて説明しています。
ケース1 - 一部クレジット・メモが請求書に対して入力され、分割条件のクレジット方法は「按分」に設定されます。一部支払が請求書に対して入力されます。別の一部クレジット・メモが請求書に対して入力されます。
ケース2 - 一部クレジット・メモが請求書に対して入力され、分割条件のクレジット方法は「LIFO」に設定されます。一部支払が請求書に対して入力されます。別の一部クレジット・メモが請求書に対して入力されます。
ケース3 - 一部クレジット・メモが請求書に対して入力され、分割条件のクレジット方法は「FIFO」に設定されます。一部支払が請求書に対して入力されます。別の一部クレジット・メモが請求書に対して入力されます。
請求書104には3つの取引があります。分割条件のクレジット方法が「按分」に設定された$45の一部クレジット・メモ、$20の一部支払、$20の別の一部クレジット・メモです。
1/1/XXに、$45のクレジット・メモが請求書104に対して入力されます。分割条件のクレジット方法は「按分」に設定されます。クレジット・メモの詳細は次のとおりです。
クレジット・メモ日付 = 1/1/XX
クレジット・メモ金額 = $45
支払計画ごとにクレジット金額を計算するために、Oracle Receivablesでは次の算式が使用されます。
クレジット金額 = (クレジット・メモ金額/未回収残高合計)*この賦払いの未払額
次の表では、各賦払いのクレジット金額の計算を示しています。
| 支払期日 | 計算 | クレジット金額 |
|---|---|---|
| 2/1/XX | $45/100 * $50 | $22.50 |
| 3/1/XX | $45/100 * $25 | $11.25 |
| 4/1/XX | $45/100 * $25 | $11.25 |
次の表に示すように、このクレジット・メモは請求書104の支払計画に影響します。
| 支払期日 | 当初未払額 | 未回収残高 | クレジット金額合計 |
|---|---|---|---|
| 2/1/XX | $50 | $27.50 | $22.50 |
| 3/1/XX | $25 | $13.75 | $11.25 |
| 4/1/XX | $25 | $13.75 | $11.25 |
1/15/XXに、$20の支払を受け入れます。次の表に示すように、この支払は請求書104の支払計画に影響します。
| 支払期日 | 当初未払額 | 未回収残高 | クレジット金額合計 | 消込支払 |
|---|---|---|---|---|
| 2/1/XX | $50 | $7.50 | $22.50 | $20 |
| 3/1/XX | $25 | $13.75 | $11.25 | $0 |
| 4/1/XX | $25 | $13.75 | $11.25 | $0 |
1/16/XXに、別の$20のクレジット・メモが請求書104に対して入力されます。クレジット・メモの詳細は次のとおりです。
クレジット・メモ日付 = 1/16/XX
クレジット・メモ金額 = $20
次の表に示すように、このクレジット・メモは請求書104の支払計画に影響します。
| 支払期日 | 当初未払額 | 未回収残高 | クレジット金額合計 | 消込支払 |
|---|---|---|---|---|
| 2/1/XX | $50 | $3.22 | $26.78 | $20 |
| 3/1/XX | $25 | $5.89 | $19.11 | $0 |
| 4/1/XX | $25 | $5.89 | $19.11 | $0 |
注意: 「クレジット金額合計」列の金額は、次の算式から導出されます。
取引2の賦払い当りのクレジット金額合計 + (クレジット・メモ金額/取引2の未回収残高合計 * 取引2の賦払い当りの未回収残高)
結果は小数点第二位まで端数処理されます。
請求書104には3つの取引があります。分割条件のクレジット方法が「LIFO」に設定された$45の一部クレジット・メモ、$20の一部支払、$20の別の一部クレジット・メモです。
1/1/XXに、$45のクレジット・メモが請求書104に対して入力されます。分割条件のクレジット方法は「LIFO」に設定されます。クレジット・メモの詳細は次のとおりです。
クレジット・メモ日付 = 1/1/XX
クレジット・メモ金額 = $45
次の表に示すように、このクレジット・メモは請求書104の支払計画に影響します。
| 支払期日 | 当初未払額 | 未回収残高 | クレジット金額合計 |
|---|---|---|---|
| 2/1/XX | $50 | $50 | $0 |
| 3/1/XX | $25 | $5 | $20 |
| 4/1/XX | $25 | $0 | $25 |
1/15/XXに、$20の支払を受け入れます。次の表に示すように、この支払は請求書104の支払計画に影響します。
| 支払期日 | 当初未払額 | 未回収残高 | クレジット金額合計 | 消込支払 |
|---|---|---|---|---|
| 2/1/XX | $50 | $30 | $0 | $20 |
| 3/1/XX | $25 | $5 | $20 | $0 |
| 4/1/XX | $25 | $0 | $25 | $0 |
1/16/XXに、別の$20のクレジット・メモが請求書#104に対して入力されます。クレジット・メモの詳細は次のとおりです。
クレジット・メモ日付 = 1/16/XX
クレジット・メモ金額 = $20
次の表に示すように、このクレジット・メモは請求書104の支払計画に影響します。
| 支払期日 | 当初未払額 | 未回収残高 | クレジット金額合計 | 消込支払 |
|---|---|---|---|---|
| 2/1/XX | $50 | $15 | $15 | $20 |
| 3/1/XX | $25 | $0 | $25 | $0 |
| 4/1/XX | $25 | $0 | $25 | $0 |
請求書104には3つの取引があります。分割条件のクレジット方法が「FIFO」に設定された$45の一部クレジット・メモ、$20の一部支払、$20の別の一部クレジット・メモです。
1/1/XXに、クレジット・メモが請求書104に対して入力されます。分割条件のクレジット方法は「FIFO」に設定されます。クレジット・メモの詳細は次のとおりです。
クレジット・メモ日付 = 1/1/XX
クレジット・メモ金額 = $45
次の表に示すように、このクレジット・メモは請求書104の支払計画に影響します。
| 支払期日 | 当初未払額 | 未回収残高 | クレジット金額合計 |
|---|---|---|---|
| 2/1/XX | $50 | $5 | $45 |
| 3/1/XX | $25 | $25 | $0 |
| 4/1/XX | $25 | $25 | $0 |
1/15/XXに、$20の支払を受け入れます。次の表に示すように、この支払は請求書104の支払計画に影響します。
| 支払期日 | 当初未払額 | 未回収残高 | クレジット金額合計 | 消込支払 |
|---|---|---|---|---|
| 2/1/XX | $50 | $0 | $45 | $5 |
| 3/1/XX | $25 | $10 | $0 | $15 |
| 4/1/XX | $25 | $25 | $0 | $0 |
| 合計 | $100 | $35 | $45 | $20 |
注意: 1/15/XXに消し込まれた支払によって初回支給期間の未払額が完全に補償された場合、残りの支払は次の期間の未払額に消し込まれます。
1/16/XXに、別の$20のクレジット・メモが請求書104に対して入力されます。クレジット・メモの詳細は次のとおりです。
クレジット・メモ日付 = 1/16/XX
クレジット・メモ金額 = $20
次の表に示すように、このクレジット・メモは請求書104の支払計画に影響します。
| 支払期日 | 当初未払額 | 未回収残高 | クレジット金額合計 | 消込支払 |
|---|---|---|---|---|
| 2/1/XX | $50 | $0 | $45 | $5 |
| 3/1/XX | $25 | $0 | $10 | $15 |
| 4/1/XX | $25 | $15 | $10 | $0 |
取引約定に対して請求書をクレジットすると作成される会計仕訳の例を次に示します。
この例には、3つの取引が含まれます。
$1000について前受/預り金が入力されます。会計仕訳について次の表に示します。
| 勘定 | 借方 | 貸方 |
|---|---|---|
| 売掛/未収金(前受/預り金) | 1000.00 | |
| 収益 | 1000.00 |
$400の請求書がこの前受/預り金に対して入力されます。会計仕訳について次の表に示します。
| 勘定 | 借方 | 貸方 |
|---|---|---|
| 売掛/未収金(請求書) | 400.00 | |
| 収益 | 400.00 | |
| 収益 | 400.00 | |
| 売掛/未収金(請求書) | 400.00 |
Oracle Receivablesでは、請求書金額に対して売掛/未収金修正が自動的に作成されます。この修正が請求書に対して作成され、その結果、売掛/未収金の未払額が$0となります(この例では、$400には税金および運送費は含まれません)。したがって、$400の請求書には未回収残高はありません。これは、請求書の支払のかわりに$1000の前受/預り金に対して振り出したためです。
$400のクレジット・メモが$400の請求書に消し込まれます。会計仕訳について次の表に示します。
| 勘定 | 借方 | 貸方 |
|---|---|---|
| 売掛/未収金(請求書) | 400.00 | |
| 収益 | 400.00 | |
| 収益 | 400.00 | |
| 売掛/未収金(請求書) | 400.00 |
最初の会計仕訳により、前のステップで入力した修正が戻し処理されます。2つ目の会計仕訳により、前のステップで入力した請求書が戻し処理され、前受/預り金残高が$600のままとなります。
この例には、3つの取引が含まれます。
$1000について約定金額が入力されます。会計仕訳について次の表に示します。
| 勘定 | 借方 | 貸方 |
|---|---|---|
| 未請求売掛金 | 1000.00 | |
| 前受収益 | 1000.00 |
$400の請求書がこの約定金額に対して入力されます。会計仕訳について次の表に示します。
| 勘定 | 借方 | 貸方 |
|---|---|---|
| 売掛/未収金 | 400.00 | |
| 収益 | 400.00 | |
| 前受収益 | 400.00 | |
| 未請求売掛金 | 400.00 |
Oracle Receivablesでは、請求書金額に対して売掛/未収金修正が自動的に作成されます。この修正が約定金額に対して作成されます。したがって、この請求書には未処理金額$400が存在し、約定金額の未処理残高は$600となります。
$400のクレジット・メモが$400の請求書に消し込まれます。会計仕訳について次の表に示します。
| 勘定 | 借方 | 貸方 |
|---|---|---|
| 未収収益 | 400.00 | |
| 前受収益 | 400.00 | |
| 収益 | 400.00 | |
| 売掛/未収金 | 400.00 |
最初の会計仕訳により、前のステップで入力した修正が戻し処理されます。2つ目の会計仕訳により、前のステップで入力した請求書が戻し処理されます。
このケースでは、請求書の前受/預り金に対する消込時に作成され、請求書金額が前受/預り金より多い会計仕訳を示します。また、請求書に一部クレジット・メモを消し込む際に作成される仕訳も示します。
$100について前受/預り金が入力されます。会計仕訳について次の表に示します。
| 勘定 | 借方 | 貸方 |
|---|---|---|
| 売掛/未収金(前受/預り金) | 100.00 | |
| 収益 | 100.00 |
$220の請求書がこの前受/預り金に対して入力されます。会計仕訳について次の表に示します。
| 勘定 | 借方 | 貸方 |
|---|---|---|
| 売掛/未収金(請求書) | 220.00 | |
| 収益 | 220.00 | |
| 収益 | 100.00 | |
| 売掛/未収金(請求書) | 100.00 |
請求書の現在の未処理残高は、$120です。
$150のクレジット・メモが請求書に消し込まれます。会計仕訳について次の表に示します。
| 勘定 | 借方 | 貸方 |
|---|---|---|
| 売掛/未収金(請求書) | 30.00 | |
| 収益 | 30.00 | |
| 収益 | 150.00 | |
| 売掛/未収金(請求書) | 150.00 |
Oracle Receivablesでは、請求書に対して$30の売掛/未収金修正が自動的に作成され、未処理残高が$150に増加します。2つ目の会計仕訳は$150のクレジット・メモに対するものであり、前受/預り金残高は$30のままとなります。
このケースでは、ユーザーが請求書を約定金額に消し込み、請求書金額が約定金額より多い場合に作成される会計仕訳を示します。また、請求書に一部クレジット・メモを消し込む際に作成される仕訳も示します。
$100について約定金額が入力されます。会計仕訳について次の表に示します。
| 勘定 | 借方 | 貸方 |
|---|---|---|
| 未請求売掛金 | 100.00 | |
| 前受収益 | 100.00 |
$220の請求書がこの約定金額に対して入力されます。会計仕訳について次の表に示します。
| 勘定 | 借方 | 貸方 |
|---|---|---|
| 売掛/未収金 | 220.00 | |
| 収益 | 220.00 | |
| 前受収益 | 100.00 | |
| 未請求売掛金 | 100.00 |
請求書の現在の未処理残高は、$220のままです。
$150のクレジット・メモが請求書に消し込まれます。会計仕訳について次の表に示します。
| 勘定 | 借方 | 貸方 |
|---|---|---|
| 収益 | 150.00 | |
| 売掛/未収金(請求書) | 150.00 | |
| 前受収益 | 30.00 | |
| 未請求売掛金 | 30.00 |
Oracle Receivablesでは、約定金額に対して$30の売掛/未収金修正が自動的に作成され、未処理残高が$30に増加します。請求書の現在の未処理残高は$70です。
回収可能性分析中の請求書をクレジットするとOracle Receivablesで作成される会計仕訳の例を次に示します。
詳細は、「イベント基準の収益管理」を参照してください。
$750に対して請求書がインポートされます。
請求書には3つの明細があり、明細1は$200、明細2は$450、明細3は$100です。明細1は非標準の90日払戻ポリシーに関連付けられ、明細3は120日の取消規定に関連付けられています。
さらに、拡張支払条件を顧客に付与し、「クレジット・メモに請求書会計を使用」プロファイル・オプションを「Yes」に設定済です。
会計仕訳について次の表に示します。
| 勘定 | 借方 | 貸方 |
|---|---|---|
| 売掛/未収金 | 750.00 | |
| 前受収益 | 750.00 |
請求書日付の45日後に、請求書に対して$300の入金を消し込みます。
Oracle Receivablesでは、加重平均算式に基づいて、明細1に$80、明細2に$180、明細3に$40が消し込まれます。
Oracle Receivablesでは、関連する偶発により、明細1または明細3の収益を認識できません。Oracle Receivablesでは、後日収益認識保留の金額として明細1および明細3への支払が記録されます。
Oracle Receivablesでは、明細2についてのみ収益を認識できます。
会計仕訳について次の表に示します。
| 勘定 | 借方 | 貸方 |
|---|---|---|
| 現預金 | 300.00 | |
| 売掛/未収金 | 300.00 | |
| 前受収益 | 180.00 | |
| 実現収益 | 180.00 |
この請求書の未払額合計は現在$450です。この請求書の前受収益金額は$570です。
続いて、この請求書に対して$200のクレジット・メモを消し込みます。
この請求書には、支払基準の偶発および時間基準の偶発の組合せが存在します。したがって、クレジット・メモの残高は前受収益勘定および収益勘定の間で按分されません。かわりに、Oracle Receivablesでは、クレジット・メモの全額に対して売掛/未収金勘定が貸方記入され、前受収益勘定が借方記入されます。
会計仕訳について次の表に示します。
| 勘定 | 借方 | 貸方 |
|---|---|---|
| 前受収益 | 200.00 | |
| 売掛/未収金 | 200.00 |
この請求書の未払額合計は現在$250です。この請求書の前受収益金額は$370です。
90日経過後、偶発収益アナライザが実行され、払戻ポリシーが失効済であることが識別されます。偶発収益アナライザでは、前に明細1に消し込んだ入金額について収益認識が開始されます。
会計仕訳について次の表に示します。
| 勘定 | 借方 | 貸方 |
|---|---|---|
| 前受収益 | 80.00 | |
| 実現収益 | 80.00 |
この請求書の未払額合計はまだ$250です。ただし、この請求書の前受収益金額は$290です。
後で、この請求書に対して$150のクレジット・メモを消し込みます。
この請求書には依然として、支払基準の偶発および時間基準の偶発の組合せが存在します。したがって、Oracle Receivablesでは、クレジット・メモの全額について、売掛/未収金勘定が貸方記入され、前受収益勘定が借方記入されます。
会計仕訳について次の表に示します。
| 勘定 | 借方 | 貸方 |
|---|---|---|
| 前受収益 | 150.00 | |
| 売掛/未収金 | 150.00 |
この請求書の未払額合計は現在$100です。この請求書の前受収益金額は$140です。
120日経過後、偶発収益アナライザが実行され、取消ポリシーが失効済であることが識別されます。偶発収益アナライザでは、前に明細3に消し込んだ入金額について収益認識が開始されます。
会計仕訳について次の表に示します。
| 勘定 | 借方 | 貸方 |
|---|---|---|
| 前受収益 | 40.00 | |
| 実現収益 | 40.00 |
この請求書の未払額合計はまだ$100です。ただし、この請求書の前受収益金額は$100です。
最後に、請求書に対して$100の入金を消し込みます。
Oracle Receivablesでは、加重平均算式に基づいて、明細1に$27、明細2に$60、明細3に$13が消し込まれます。この時点で、すべての時間基準の偶発が失効しています。
会計仕訳について次の表に示します。
| 勘定 | 借方 | 貸方 |
|---|---|---|
| 現預金 | 100.00 | |
| 売掛/未収金 | 100.00 | |
| 前受収益 | 100.00 | |
| 実現収益 | 100.00 |
請求書はこれで全額支払済となり、この請求書にはもう前受収益は存在しません。
関連項目
AMEクレジット・メモ要求ワークフローは、承認のためにクレジット・メモ要求を経路指定する事前定義済ワークフロー・プロセスです。
このワークフローではOracle Approvals Management(AME)が使用されます。AMEは、Webベースのセルフ・サービス・アプリケーションであり、Oracle Applicationsの取引承認プロセスを制御するために企業が定義するビジネス・ルールが採用されます。
AMEなしのワークフローのかわりにこのワークフローを使用するのは、承認プロセスを制御するAMEルールでは、複数通貨の操作がより簡単にサポートされ、承認チェーンが綿密に作成されているためです。関連項目: Oracle Approvals Managementを使用する理由
重要: AMEワークフローを使用するには、「AR: クレジット・メモ・ワークフローでOracle Approvals Managementを使用」プロファイル・オプションを「Yes」に設定し、AMEルールを定義します。関連項目: AMEクレジット・メモ要求ワークフローの設定
AMEクレジット・メモ要求ワークフローは、iReceivablesまたはOracle Collectionsから開始できます。
iReceivablesは、Webベースのセルフ・サービス・アプリケーションであり、登録済のユーザーが標準Webブラウザを使用して自分のOracle Receivablesアカウント情報にアクセスできます。iReceivablesユーザーが「係争請求」機能を選択すると、Oracle Receivablesで指定の係争金額が設定され、承認のために要求を経路指定するAMEクレジット・メモ要求プロセスが開始されます。
Oracle Collectionsは、フォーム・ベース・アプリケーションであり、コール・センター、クレジット部門および回収部門において延滞顧客から回収できます。回収担当は、顧客の代理でクレジットを要求することで請求書を係争中として指定できます。
クレジット・メモ要求を受け取ると、AMEクレジット・メモ要求ワークフローは適切な回収担当に連絡します。回収担当は要求を承認し、要求の承認パスを示します。
クレジット・メモ要求は2つの承認パスのいずれかを使用できます。
「制限専用」パス: 次の承認者を検索するために、特定の承認限度ルールを使用します。
「HR階層制限」パス: 次の承認者の検索に組織の内部管理階層を使用します。
各承認パスの承認者は、企業が定義するAMEルールによって決定されます。承認要求は、Eメールまたは「ワークフロー通知ビューワ」ウィンドウの通知によって発生します。
承認者に十分な承認権限がない場合、このプロセスでは、AMEルールに基づいて要求が次の承認者に転送されます。
要求が承認された場合、ワークフローによって係争から金額が削除され、申請者、回収担当および営業担当責任者に通知されます。要求が拒否された場合、ワークフローにより係争から金額が削除され、申請者にのみ通知されます。
ワークフローによりクレジット要求が処理される際に係争取引に自動的に挿入されたノートを表示するには、係争中請求書レポートを使用します。関連項目: 係争中請求書レポート
AMEクレジット・メモ要求ワークフローを使用するのは、AMEにより柔軟性が高まるためです。
たとえば、人事管理部門は、従業員の退職および新規採用従業員の入社の両方を記録します。こうした組織的な変更が発生した場合、AMEでは承認ルールを手動で修正する必要はありません。そのかわり、AMEでは人事管理システムに記録された組織的な変更が自動的に反映されます。
AMEにはその他の様々な利点があります。AMEの詳細を学べば、AMEを有効に使用する最適な方法がわかります。
AMEは次のものを提供します。
様々な方法により人事管理階層で上方向に作用するルール
特定の承認者または特定のタイプの取引に適用できる例外
標準化されたルールを複数のビジネス・シナリオで使用できるようにするための、機能通貨への自動通貨換算
ユーザー固有の営業方法に応じてルールを拡張するためのSQL文を簡単に挿入する機能
関連項目
この項では、AMEクレジット・メモ要求ワークフローを実装するための必須およびオプションのステップの概要を示します。
次に示す設定ステップは、基本的なクレジット・メモ要求機能を提供します。Oracle Approvals Management(AME)の機能をフルに活用するには、『Oracle Approvals Managementインプリメンテーション・ガイド』を参照してください。
次に示す設定ステップは、次のOracleアプリケーションにおよびます。
Oracle HRMSで、次の手順を実行します。
回収担当、営業担当、承認者およびOracle Receivablesユーザーが、Oracle HRMSで従業員として定義されていることを確認します。
関連項目: 『Oracle Human Resources Management Systems要員の調達、配属およびタレント・マネジメント・ガイド』の「個人検索」ウィンドウを使用した個人の検索に関する項
Oracle Receivablesユーザーとは、その承認でクレジット・メモの作成が開始される従業員のことを指します。
関連項目: 「売掛金の承認」サブプロセスの要約
AMEクレジット・メモ要求ワークフローをAMEのないクレジット・メモ・ワークフローと同様に動作させる場合、次の操作を実行できます。
承認権限レベルを使用して、「HR階層制限」パス内に承認者用の役職を作成します。
関連項目: 『Oracle HRMS Enterprise and Workforce Management Guide』の役職の定義に関する項
「HR階層制限」パスで承認者となる各従業員に役職を割り当てます。
関連項目: 『Oracle Human Resources Management Systems要員の調達、配属およびタレント・マネジメント・ガイド』の割当の入力に関する項
AMEルールの定義時に、承認権限レベルを条件として使用します。
Oracle System Administratorで、次の手順を実行します。
すべての回収担当、営業担当、承認者およびOracle Receivablesユーザーが、適切な職責を持つユーザーとして定義されていることを確認します。
重要: 「ユーザー」ウィンドウでユーザーを定義する場合、「個人」フィールドに従業員名を入力します。これは、ユーザーが従業員でもあり、ワークフロー通知を受け取ることができることを示します。
注意: ワークフロー通知を受け取る必要があるすべてのユーザーに、「ワークフロー・ユーザー」職責を割り当ててください。
関連項目: 『Oracle Applicationsシステム管理者ガイド - セキュリティ』の職責の定義に関する項
「AR: クレジット・メモ・ワークフローでOracle Approvals Managementを使用」プロファイル・オプションを「Yes」に設定します。
デフォルト値は「No」です。
関連項目: 『Oracle Receivablesインプリメンテーション・ガイド』のOracle Receivablesユーザー・プロファイル・オプションの概要に関する項
Oracle Receivablesで、次の手順を実行します。
回収担当が設定されていることを確認します。
関連項目: 『Oracle Receivablesインプリメンテーション・ガイド』の回収担当に関する項
(オプション)CREDIT_MEMO_REASON参照タイプを使用して、追加のクレジット・メモ作成事由コードを作成します。
「タグ」フィールドを「Yes」に設定し、各事由コードをiReceivablesに公開します。クレジット・メモ要求を発行する際に、申請者はシステムで定義された任意の事由コードを選択できます。
関連項目: 『Oracle Receivablesインプリメンテーション・ガイド』の売掛/未収金参照の定義に関する項
(オプション)このワークフローで使用するクレジット・メモ・バッチ・ソースを定義します。
注意: AMEワークフローで生成されたすべてのクレジット・メモで同じバッチ・ソースを使用させる場合のみ、このバッチ・ソースを定義してください。関連項目: Oracle Workflowの設定
ただし、AMEワークフローで生成されたクレジット・メモでクレジット取引のバッチ・ソースからクレジット・メモ・バッチ・ソースを取得させる場合、このステップはスキップします。
関連項目: 『Oracle Receivablesインプリメンテーション・ガイド』の取引バッチ・ソースに関する項
Oracle Workflowを設定する手順は、次のとおりです。
データベース表に基づいてビューを作成することで、Oracle Workflowのディレクトリ・サービスを、組織のディレクトリ・リポジトリで現在定義されているユーザーおよびロールにマップします。通知システムではこれらのビューを使用して、アクティビティで指定された承認者に通知が送付されます。Oracle Workflowは、ユーザーが変更および再ロードできるサンプル・ディレクトリ・サービス・ビューを提供します。
ユーザーのロールには、個々のユーザーまたはユーザー・グループのいずれかを指定できます。ユーザーまたはユーザー・グループがリアルタイムで導出される場合、ここでマップする必要はありません。このステップは、既知の定数であるユーザーまたはグループに対してのみ実行します。たとえば、リアルタイムで導出される回収担当をマップする必要はありません。
Oracle Workflowで、次のワークフロー・ロールをロードします。
Oracle Workflow管理者。このロールは、すべてのOracle Workflowユーザーおよび職責を定義し、Oracle Workflow管理機能へのアクセスを可能にします。関連項目: 『Oracle Workflow管理者ガイド』のWorkflow管理ロールの識別に関する項
システム管理者。SYSADMINロールがまだロードされていない場合、これをロードします。
デフォルトでは、シード済の「システム管理者」職責は、システムまたは設定の問題をシステム管理者に通知するすべての通知に存在します。
これらの通知を別のユーザーに送付する必要がある場合、タイトルにシステム管理者に通知が含まれる各ノードについて通知を変更できます。
そのためには、Oracle Workflowで「ノード・プロパティ」をオープンし、リストから別の実行者を選択します(前のステップでマップしたユーザーまたはグループから選択できます)。
(オプション)企業のOracle Receivablesユーザーのロールを評価します。Oracle Receivablesユーザーのクレジット要求の承認により、クレジット・メモの作成が開始されます。
ユーザーが「売掛管理クレジット・メモ売掛/未収金」取引タイプを使用して定義したAMEルールにより、Oracle Receivablesユーザーが決定されます。Oracle Receivablesユーザーを変更する必要がある場合、AMEルールを変更します。関連項目: Oracle Approvals Managementの設定
ただし、異なるユーザーに複数のOracle Receivablesユーザー機能を設定する場合、次のロールを更新してAMEルールを上書きします。
Oracle Receivables担当者。Oracle Receivablesで承認済要求のクレジット・メモの作成に失敗した場合に連絡するユーザーを定義します。「クレジット・メモ要求」プロセスにより、このロールに割り当てられた個人に対して、訂正および再発行するか、クレジット・メモの手動入力を要求するように通知されます。
このOracle Receivablesユーザーは、「クレジット・メモ作成問題 - 売掛金ユーザーに通知」ノードにおいて、AMEの「クレジット・メモの作成」プロセスで使用されます。
Oracle Receivables手動入力。手動入力で要求が出された際に連絡するユーザーを定義します。このOracle Receivablesユーザーは、「手動入力の要求 - 売掛金ユーザーに通知」ノードにおいて、AMEの「クレジット・メモの作成」プロセスで使用されます。
前述のロールを更新するには、ノードのプロパティをオープンし、実行者タイプを「定数」に更新し、選択したユーザーを割り当て、変更を適用します。
関連項目: 『Oracle Workflow開発者ガイド』のロールに関する項
(オプション)Oracle Receivablesで作成したクレジット・メモ・バッチ・ソースを、品目属性「バッチ・ソース名」に割り当てます。
Oracle Workflow Builderを使用して、品目タイプ「AMEを使用するARクレジット・メモ」をロードします。品目属性「バッチ・ソース名」の「プロパティ」シートをオープンし、「デフォルト値」フィールドに、前に定義したクレジット・メモ・ワークフロー・バッチ・ソース名を入力します。
この操作は、このワークフローで生成されたすべてのクレジット・メモでこのバッチ・ソースを使用する必要がある場合のみ実行します。それ以外の場合は、ここで値を入力しないでください。
詳細は、『Oracle Workflow開発者ガイド』のOracle Workflow Builderのオブジェクトの変更に関する項を参照してください。
インストールで定義した言語を識別する、WF_LANGUAGESと呼ばれるビューを作成します。Oracle Workflowでは、このビューを使用して、インストール済の言語ごとの未変換ベース表で見つかった行にマップされる、変換表内の行が作成されます。
環境変数WF_RESOURCESを定義します。この変数を定義する必要があるのは、Oracle Applicationsに埋め込まれたバージョンのOracle Workflowを使用していない場合にかぎります。
「クレジット・メモ要求」プロセスで使用するOracle Web Agentを識別します。このステップでは、WebコンポーネントにアクセスするためにOracle Workflowで使用するOracle Web Agentを識別します。
ユーザーのサイトでOracle Workflow Webページおよびワークフロー・モニターを使用するには、Oracle WebServerをインストールします。詳細は、『Oracle Workflow管理者ガイド』およびOracle WebServerマニュアルを参照してください。
Oracle WebServer認証機能を使用して、ワークフロー・データベース接続記述子(DCD)を保護します。このステップでは、承認済ユーザーのみがワークフロー・プロセスにアクセスできることが保証されます。
ユーザーがEメールで通知を受け取るようにするには、「通知メーラー」プログラムを設定します。Eメール通知のテンプレートを変更し、ワークフロー通知Webページに表示されるロゴおよび説明テキストをカスタマイズできます。
システムにおける主要ワークフロー・エンジンの負荷およびスループットを制御するには、バックグラウンド・ワークフロー・エンジンを設定します。主要エンジンおよびバックグラウンド・エンジンの取得価額しきいレベルを指定して、エンジンが処理するアクティビティおよびエンジンが遅延するアクティビティを決定できます。
アクティビティのデフォルト・ワークフロー・タイムアウト期間を変更します。デフォルトのタイムアウト期間は3日です。
関連項目: 『Oracle Workflow開発者ガイド』のアクティビティに関する項
AMEクレジット・メモ要求ワークフローでは、AMEで定義したビジネス・ルールに従って、クレジット・メモ要求が経路指定されます。
AMEでルールを定義するには、属性および条件を使用します。Oracle Receivablesでは事前定義済属性の選択肢が用意されていますが、追加属性を定義できます。関連項目: AMEクレジット・メモ要求ワークフローのAME属性
AMEワークフローは、AMEで取引タイプとして知られている3つの段階で構成されます。AMEワークフローを実装するには、次の3つの取引タイプを設定する必要があります。
次の項では、このワークフローの実装に必要なルール例を含む基本設定について説明します。ただし、AMEを使用して、このワークフローの各段階に必要な数だけルールを作成できます。
ワークフローの1つ目の段階では、AMEルールを定義し、要求が承認チェーンで処理される前に要求を評価する必要がある回収担当を識別します。
動的処理リストが含まれる承認グループを作成します。「問合せ」ボックスに、次のSQL文を示されているとおりに挿入します。
SELECT
ar_ame_cm_attributes_api.get_collector_id
(:transactionId) FROM DUAL
この文は、顧客アカウントまたは請求先サイトに割り当てられた回収担当を特定します。
「制限専用」および「HR階層制限」の両方のパスで、この承認グループ(1回のみ設定)が使用されます。このグループは、AMEなしの元のワークフローと同じ「回収担当の検索」機能を提供します。
顧客アカウントまたは請求先サイト別に回収担当を割り当てない顧客は、回収担当を検索するために新規パッケージを作成する必要があります。このためには、承認グループのSELECT文を変更します。
新規パッケージは、回収担当がAR_COLLECTORS表に存在することを確認する機能を指す必要があります。回収担当が存在する場合、その機能を使用して従業員IDをAMEワークフローに戻す必要があります。この機能がない場合、新規パッケージは検証に失敗します。
ヒント: AR_COLLECTORS表の付加フレックスフィールドは、コスト・センターまたはリージョンなど、新機能でコールできるその他の属性を格納できます。
回収担当の割当についてルールを作成します。たとえば、次の表は、前のステップで作成された承認グループを使用するルールの設定例を示します。
| ルール設定 | 値 |
|---|---|
| ルール・タイプ | リスト前承認グループ・ルール |
| 承認タイプ | 権限のチェーン前のグループ承認 |
| 承認 | <事前定義済の回収担当承認グループ>からの前承認必須 |
| 一般条件属性 | ALWAYS_TRUE |
| 一般条件 | ALWAYS_TRUEはTRUE |
次のワークフロー段階では、AMEルールを定義して、このクレジット・メモ要求の承認チェーンで承認者を識別します。
回収担当が要求を承認した後、ワークフローではこれらのルールを使用して、承認チェーン内の次の承認者を検索します。
承認チェーンは、「制限専用」パスまたは「HR階層制限」パスのいずれかを辿ることができます。使用予定のパスごとにルール・セットを定義します。
重要: AMEで、既存のすべてのルールがビジネス・ニーズに当てはまることを確認します。外部ルールが存在する場合、取引承認プロセスに失敗する可能性があります。
「制限専用」パスについて次のステップを実行します。
承認グループを作成し、メンバーを割り当てます。
次に、各グループに承認者を追加します。複数の承認者を1つのグループに追加する場合、各承認者に連番を割り当てます。
例:
John Smithが含まれる1つの承認グループを作成します。John Smithは、$1,000以下のすべての要求を承認できます。
$1,000より大きいすべての要求について、John SmithおよびJane Doeを含む別の承認グループを作成します。このグループでは、Johnは初回承認者であり、Janeは2番目の承認者です。
条件を作成します。シード済条件は、ビジネス・ニーズを満たす場合に使用します。そうでない場合は、独自の条件を作成します。
TRANSACTION_AMOUNT属性の制限について、一般条件を作成します。
前のステップの例を使用すると、金額が$0から$1,000の範囲内であるすべての取引について1つの条件を作成し、$1,001から$100,000の範囲内であるすべての取引について1つの条件を作成します。
重要: 最も高い上限を使用して条件を作成する場合、必要となる上限を上回る上限を使用します。そうしないと、クレジット・メモ要求が$200,000に対するものであり、かつ上限を$100,000に設定した場合、AMEでは$200,000の要求がすべての条件を満たすと誤って仮定されます。
今定義した条件が含まれる「制限専用」ルールを作成します。
次の表では、作成できるルールの設定例を示します。企業で必要とされる条件すべてをカバーするには、複数のルールを作成する必要があります。
| ルール設定 | 値 |
|---|---|
| ルール・タイプ | リスト前承認グループ・ルール |
| 承認タイプ | 権限のチェーン前のグループ承認 |
| 承認 | <事前定義済の「制限専用」承認グループ>からの前承認必須 |
| 一般条件属性 | APPROVAL_PATH、AR_REASON_CODE、TRANSACTION_AMOUNT |
| 一般条件 | {LIMITS}のAPPROVAL_PATH、{DAMAGED PRODUCT}のAR_REASON_CODE、$1,001 < TRANSACTION_AMOUNT <= $100,000 USD |
注意: 承認のために取引を評価する場合、ルールで通貨を指定していないかぎり、AMEでは外貨取引金額が機能通貨へ自動換算されます。
「HR階層制限」パスについて次のステップを実行します。
条件を作成します。シード済条件は、ビジネス・ニーズを満たす場合に使用します。そうでない場合は、独自の条件を作成します。
今定義した条件を含む「HR階層制限」ルールを作成します。
重要: Oracle Receivablesでは、サンプル・ルールである「HR階層制限」がシードされます。このルールを使用しない場合は削除してください。
ルールには承認タイプも含まれます。たとえば、次の要素を参照するルールを定義できます。
管理レベルまたは役職レベル
管理レベルとは、階層内で上方向に存在する管理者の数を示します。役職レベルとは、階層内で上方向に存在する役職レベルを示します。関連項目: 『Oracle Approvals Managementインプリメンテーション・ガイド』
管理レベルまたは役職レベルおよび承認限度の両方
後者のタイプのルールを作成するには、HRMSで役職レベルを作成し、それらを承認者に割り当てます。次に、AMEで、役職レベルおよび取引金額制限の両方を使用するルールを定義できます。
例として、この表では、こうしたルールについての設定を示します。
| ルール設定 | 値 |
|---|---|
| ルール・タイプ | リスト作成ルール |
| 承認タイプ | 絶対的な役職レベルに基づく権限のチェーン |
| 承認 | 少なくともレベル2までの承認必須 |
| 一般条件属性 | APPROVAL_PATH、AR_REASON_CODE、TRANSACTION_AMOUNT |
| 一般条件 | {HR}のAPPROVAL_PATH、{DAMAGED PRODUCT}のAR_REASON_CODE、0 < TRANSACTION_AMOUNT <= $200 USD |
前の表に示したルールは、$0から$200の要求について、少なくともレベル2の役職レベルを持つ従業員には承認が必須であることを示します。
両方のパスで、次のオプション・ステップを実行します。
(オプション)ALLOW_REQUESTER_APPROVAL属性を「FALSE」に設定します。
この属性を「FALSE」に設定するのは、申請者が独自のクレジット・メモ要求を承認しないようにする場合にかぎります。
(オプション)CREDIT_MEMO_REASON参照タイプに対して定義した参照コードを使用して、AR_REASON_CODE属性の一般条件を作成します。関連項目: Oracle Receivablesの設定
注意: 「コード」フィールドで定義したとおりに参照コードを入力してください。
このステップを実行するのは、AMEルールの一部として事由コードを使用する場合にかぎります。
ワークフローの最後の段階では、AMEルールを定義して、クレジット・メモの作成を開始する承認を行うOracle Receivablesユーザーを識別します。
Oracle Receivablesユーザーの承認グループを作成し、単一メンバーを割り当てます。
「制限専用」および「HR階層制限」の両方のパスでこのグループが使用されます。1回設定するこのグループには、1つのメンバーのみを含める必要があります。
Oracle Receivablesユーザーのルールを作成します。
たとえば、Oracle Receivablesユーザーをクレジット・メモ作成前の最後の承認者とする場合は、次の表で示す設定を使用します。
| ルール設定 | 値 |
|---|---|
| ルール・タイプ | リスト後承認グループ・ルール |
| 承認タイプ | 権限のチェーン後のグループ承認 |
| 承認 | <事前定義済の承認グループ>からの後承認必須 |
| 一般条件属性 | ALWAYS_TRUE |
| 一般条件 | ALWAYS_TRUEはTRUE |
関連項目
『Oracle Workflow開発者ガイド』の品目タイプに関する項
『Oracle Workflow管理者ガイド』のバックグラウンドのWorkflow Engineの設定に関する項
『Oracle Approvals Managementインプリメンテーション・ガイド』の条件に関する項
『Oracle Approvals Managementインプリメンテーション・ガイド』のルールに関する項
オプションで、必須でない属性を使用し、AMEで条件およびルールを作成できます。
次の表では、「売掛管理クレジット・メモ回収担当」取引タイプで使用できる必須でない属性について説明します。
| 属性 | 値 | 必要とする承認タイプ |
|---|---|---|
| ALWAYS_TRUE | TRUE値 | なし |
| AR_COLLECTOR_ID | AR回収担当ID | なし |
次の表では、「売掛管理クレジット・メモ承認チェーン」取引タイプで使用できる必須でない属性について説明します。
| 属性 | 値 | 必要とする承認タイプ |
|---|---|---|
| ALWAYS_TRUE | TRUE値 | なし |
| APPROVAL_PATH | 承認パス | なし |
| APPROVER_ID | 承認者ID | なし |
| APPROVER_USER_NAME | 承認者のユーザー名 | なし |
| AR_BATCH_SOURCE_NAME | ARバッチ・ソース名 | なし |
| AR_BILL_TO_USE_ID | AR請求先使用ID | なし |
| AR_COLLECTOR_ID | AR回収担当ID | なし |
| AR_CUSTOMER_ID | 顧客ID | なし |
| AR_CUSTOMER_NAME | AR顧客名 | なし |
| AR_CUSTOMER_TRX_ID | AR顧客取引ID | なし |
| AR_ORIG_TRX_NUMBER | AR当初取引番号 | なし |
| AR_REASON_CODE | AR事由コード | なし |
| BILL_TO_CUSTOMER_NAME | 請求先顧客名 | なし |
| BILL_TO_CUSTOMER_NUMBER | 請求先顧客番号 | なし |
| COLLECTOR_EMPLOYEE_ID | 回収担当の従業員ID | なし |
| COLLECTOR_NAME | 回収担当者名 | なし |
| COLLECTOR_USER_NAME | 回収担当のユーザー名 | なし |
| CURRENCY_CODE | 通貨コード | なし |
| INCLUDE_ALL_JOB_LEVEL_APPROVERS | 指定した役職レベルの全承認者を含むか | 絶対役職レベル、権限のデュアル・チェーン、マネージャ、続いて最終承認者、相対役職レベル |
| JOB_LEVEL_NON_DEFAULT_STARTING_POINT_PERSON_ID | 役職レベル権限承認タイプのデフォルトでない最初の承認者のPerson ID | 絶対役職レベル、最終承認者のみ、マネージャ、続いて最終承認者、相対役職レベル |
| REQUESTOR_ID | 申請者ID | なし |
| REQUESTOR_USER_NAME | 申請者ユーザー名 | なし |
| SHIP_TO_CUSTOMER_NAME | 出荷先顧客名 | なし |
| SHIP_TO_CUSTOMER_NUMBER | 出荷先顧客番号 | なし |
| TAX_EX_CERT_NUM | 免税証明書番号 | なし |
| TOP_SUPERVISOR_PERSON_ID | HR管理階層の最上位者のPerson ID | 管理レベル |
| TRANSACTION_AMOUNT | 取引の通貨金額合計 | なし |
次の表では、「売掛管理クレジット・メモ売掛/未収金」取引タイプで使用できる必須でない属性について説明します。
| 属性 | 値 | 必要とする承認タイプ |
|---|---|---|
| ALWAYS_TRUE | TRUE値 | なし |
AMEクレジット・メモ要求ワークフローは、「AMEを使用するARクレジット・メモ」品目タイプで構成されます。この品目タイプには、すべての要求承認ワークフロー・プロセスが含まれます。
現在、「AMEを使用するARクレジット・メモ」品目タイプには、「ARクレジット・メモ要求の承認」、「回収担当の承認」、「クレジット・メモの作成」、「制限専用の承認」、「HR階層の承認」および「売掛金の承認」という6つのワークフロー・プロセスが含まれます。
この表では、「AMEを使用するARクレジット・メモ」品目タイプのすべての属性をリストしています。ワークフローをカスタマイズする場合は、この項を使用します。
| 表示名 | 摘要 | タイプ |
|---|---|---|
| 承認パス | 承認パス | 参照 |
| 承認者の表示名 | 承認者の表示名 | テキスト |
| 承認者ID | 承認者ID番号 | 番号 |
| 承認者ノート | 承認者ノート | テキスト |
| 承認者のユーザー名 | 承認者のユーザー名 | テキスト |
| バッチ・ソース名 | クレジット・メモに割り当てるバッチ・ソース名 | テキスト |
| 請求先顧客名 | この取引の請求先顧客名 | テキスト |
| 請求先顧客番号 | この取引の請求先顧客番号 | 番号 |
| 請求先サイト使用ID | 請求先サイト使用の識別子 | 番号 |
| 回収担当の表示名 | 回収担当の表示名 | テキスト |
| 回収担当の従業員ID | 回収担当の従業員ID | 番号 |
| 回収担当者ID | 回収担当の一意の識別子 | 番号 |
| 回収担当者名 | 回収担当の名前 | テキスト |
| 回収担当のユーザー名 | 回収担当のユーザー名 | テキスト |
| 注釈 | 申請者が入力する注釈 | テキスト |
| クレジット・メモ作成エラー | クレジット・メモを作成できなかったことを示すエラー・メッセージ | テキスト |
| 会計基準のクレジット方法 | 係争中取引で会計基準が使用される場合に使用するクレジット方法(「LIFO」、「按分」、「単位」) | テキスト |
| クレジット方法賦払基準 | 係争中取引に複数の賦払いが含まれる場合に使用するクレジット方法(「LIFO」、「FIFO」、「按分」) | テキスト |
| 通貨コード | 係争中取引の通貨 | テキスト |
| 現行ハブ | 現行ハブ | テキスト |
| 顧客ID | この取引の顧客の番号 | 番号 |
| 顧客名 | この取引の顧客の名前 | テキスト |
| 顧客取引ID | 係争中取引の一意の識別子 | 番号 |
| 入力済金額の表示 | 係争中の取引の金額 | 数値 |
| エスカレーション・カウント | 要求がエスカレートされた回数 | 数値 |
| 承認者の数の検索 | プロセス内の承認者数 | 数値 |
| 転送元表示名 | 要求を転送した個人の表示名 | テキスト |
| 転送元ユーザー名 | 要求を転送した個人のユーザー名 | テキスト |
| 転送先表示名 | 要求の転送先である個人の表示名 | テキスト |
| 転送先ユーザー名 | 要求の転送先である個人のユーザー名 | テキスト |
| 無効なルール・メッセージ | 無効な請求ルールまたは会計基準が入力された場合に表示されるエラー・メッセージ | テキスト |
| 無効なルール値 | 指定したルールが無効 | テキスト |
| マネージャ表示名 | HR表で指定された承認者のマネージャの表示名 | テキスト |
| マネージャID | HR表で指定された承認者のマネージャのID番号 | 番号 |
| マネージャのユーザー名 | HR表で指定された承認者のマネージャのユーザー名 | テキスト |
| ノート | 係争中取引について記録された、回収担当、マネージャまたは承認者が入力した情報 | テキスト |
| 当初運送費 | 係争中取引の当初運送費 | 数値 |
| 当初明細金額 | 係争中取引の当初明細金額 | 数値 |
| 当初税額 | 係争中取引の当初税額 | 数値 |
| 当初合計 | 係争中取引の合計金額 | 数値 |
| 事由 | この要求の事由 | テキスト |
| 売掛金ユーザー | 「売掛金の承認」サブプロセスに定義されたユーザー | ロール |
| 要求URL | 要求の発生元であるWebアドレス | URL |
| 申請者の表示名 | 申請者の表示名 | テキスト |
| 申請者ID | 申請者ID番号 | 番号 |
| 申請者ユーザー名 | 申請者のユーザー名 | テキスト |
| ロール | 特定のアクティビティへのアクセスを許可する、ワークフロー内の実行者に割り当てられたロール | ロール |
| 営業担当ユーザー名 | 営業担当のユーザー名 | テキスト |
| 出荷先顧客名 | この取引の出荷先顧客名 | テキスト |
| 出荷先顧客番号 | この取引の出荷先顧客番号 | 番号 |
| HR階層の開始ポイント | HR階層の昇進開始ポイント | 番号 |
| クレジット合計対運送費 | 係争中の運送費合計金額 | 数値 |
| クレジット合計対請求額 | 係争中の取引合計金額 | 数値 |
| クレジット合計対明細 | 係争中の取引明細金額 | 数値 |
| クレジット合計対税 | 係争中の税額 | 数値 |
| 取引番号 | (Oracle Receivablesで一度承認および作成された)クレジット・メモの番号 | 番号 |
| ワークフロー文書ID | ワークフロー文書の一意の識別子 | 番号 |
関連項目
『Oracle Workflow開発者ガイド』の品目タイプに関する項
AMEクレジット・メモ・ワークフローでは、新規要求が作成されたとき、さらに承認者が要求を承認または拒否するたびに、通知が自動的に送付されます。
内部承認者は通知をEメール・メッセージで受け取るか、「ワークフロー通知ビューワ」ウィンドウで検討できます。外部ユーザーは「ワークフロー通知」Webページで通知を検討できます。
「通知要約」ウィンドウで通知レコードを選択すると表示される「通知」ウィンドウには、その通知の詳細がリストされます。「通知」ウィンドウでは次の操作を実行できます。
別のユーザーへ通知を再割当します。
通知に応答するか、応答が不要な場合は通知をクローズします。
通知に関連付けられた別のOracle Applicationsウィンドウにドリルダウンします(アイコンが「参照」リージョンに存在する場合)。
「通知結果」タイプには、アクティビティから戻される可能性のある結果がリストされます。ワークフロー・ダイアグラムは、完了済アクティビティから戻される値に応じて分岐する場合があります。結果タイプ<なし>は、応答を必要としない通知に使用する必要があります。
注意: 要求が明細レベル・クレジットに対するものである場合、Oracle Receivablesによってクレジット・メモが作成されるまで税額は計算されません。その結果、税額は通知に表示されません。
関連項目
『Oracle Workflowユーザーズ・ガイド』の通知処理の概要に関する項
『Oracle Workflow管理者ガイド』のOracle Workflowディレクトリ・サービスの設定に関する項
Oracle Workflow Builderを使用して、プロセス・ウィンドウで事前定義済の「AMEを使用するARクレジット・メモ」ワークフロー・プロセスを表示できます。
「ファイル」メニューから「オープン」を選択して、データベースに接続します。
あるいは、Oracle Applicationsサーバーの製品ディレクトリ・ツリーにあるワークフロー定義ファイルaramecm.wftに接続できます。
データ・ソースを展開し、そのデータ・ソース内の「項目タイプ」ブランチを展開します。
品目タイプ内の「プロセス」ブランチを展開し、プロセス・アクティビティをダブルクリックして「プロセス」ウィンドウにプロセスの図を表示します。
「AMEを使用するARクレジット・メモ」プロセスは提供された状態で使用できますが、企業固有のニーズに応じてプロセスをカスタマイズできます。
たとえば、次の操作を行うことができます。
電子メール通知のテンプレートを変更します。詳細は、『Oracle Workflow管理者ガイド』のメッセージ・テンプレートの変更に関する項およびOracle Workflowのカスタム・アイコンの追加に関する項を参照してください。
Oracle Workflowの標準アイコンにアイコンを追加し、ワークフロー・プロセスの表示をカスタマイズします。
ワークフロー通知のタイムアウト値を変更します。AMEクレジット・メモ要求タイムアウト通知のデフォルト値は3日ですが、ビジネス・ニーズに応じて、通知ごとに時間数を変更できます。このためには、通知のプロパティ・ウィンドウを表示し、「ノード」タブ・リージョンに新規タイムアウト値を入力します。
注意: カスタマイズの参考として、このプロセスのコンポーネントについて説明している項を参照してください。これによって、事前定義済の属性およびプロセスの要件であるアクティビティを把握できます。
関連項目
「ARクレジット・メモ要求の承認」プロセスのプロパティを表示するには、ナビゲータ・ツリーでプロセスを選択し、「編集」メニューから「プロパティ」を選択します。「ARクレジット・メモ要求の承認」プロセスの結果タイプはブールであり、これはプロセスがいつ完了するかを示します。結果タイプはTRUEまたはFALSEです。
このプロセスを開始するには、次の操作によってクレジット・メモを要求します。
iReceivablesで「係争請求」機能を選択します。
Oracle Collectionsで「係争」機能を選択します。
クレジット・メモ承認および作成APIを有効にします。関連項目: 『Oracle Receivables Reference Guide』のクレジット・メモ承認および作成APIユーザー・ノートに関する項
プロセス・アクティビティのプロパティ・ページの「詳細」リージョンでは、「要求の承認」プロセスにDEFAULT_ERRORと呼ばれるエラー・プロセスが含まれることを示しています。このエラー・プロセスは、標準プロセスで処理されないエラーが発生した場合のみ開始されます。このプロセスの大部分のエラーでは、システム管理者に解決を求める通知が送付されます(たとえば、承認者がOracle HRMSで従業員として定義されていない場合)。
DEFAULT_ERRORプロセスでは、エラーに関連付けられた情報を提供するため、標準のデフォルト・エラー通知アクティビティが実行されます。ニーズに応じてプロセスをさらにカスタマイズできます。詳細は、『Oracle Workflow開発者ガイド』のデフォルト・エラー・プロセスに関する項を参照してください。
「ARクレジット・メモ要求の承認」プロセスの「プロセス」ウィンドウを次に示しています。このプロセスは16個の一意のアクティビティで構成され、そのうちのいくつかはワークフロー・ダイアグラムに表示される22個のアクティビティ・ノードを構成するために再使用されています。プロセスのアクティビティを詳細に調査するため、簡単に参照できるよう下の各ノードに番号を振っています。番号自体はプロセス・ダイアグラムの一部ではありません。
「ARクレジット・メモ要求の承認」プロセス、第1部

「ARクレジット・メモ要求の承認」プロセス、第2部

AMEクレジット・メモ要求プロセスの各アクティビティの詳細は、「「ARクレジット・メモ要求の承認」プロセス・アクティビティ」を参照してください。
ワークフローは開始アクティビティのあるノード1から開始されます。これは、顧客がiReceivablesから「係争請求」オプションを選択した場合、または回収担当がOracle Collectionsから「係争オプションを選択した場合に開始されます。
ノード2および3では、プロセスにより、係争中取引の取引情報および顧客情報がOracle Receivablesから検索されます。
ノード4では、プロセスにより要求済金額が係争中に指定され、係争中取引のノートが更新されます。続いて、取引の請求先サイトに割り当てられた回収担当に要求が転送されます。請求先サイトに回収担当が割り当てられておらず、シード済ルーチンが使用されている場合、顧客に割り当てられた回収担当に要求が転送されます。
注意: シード済ルーチンを使用するかわりに、独自のSQLを作成してシード値を置き換えることができます。たとえば、顧客のコスト・センターに割り当てられた回収担当に要求を転送できます。関連項目: AMEクレジット・メモ要求ワークフローの設定
ノード5では、回収担当が要求を拒否するか、承認のために要求を転送します。要求が拒否された場合、プロセスによって金額が係争から削除され、取引ノートが更新され、さらにプロセスがノード12で終了します。
承認のために要求を転送する際、回収担当はデフォルト・パスを受け入れるか、または「HR階層制限」パスを選択して初回承認者を入力できます。
回収担当がデフォルトの承認者を選択した場合、要求はノード7の「制限専用の承認」サブプロセスに進みます。
回収担当が要求を別の承認者に転送した場合、要求はノード8の「HR階層制限」サブプロセスに進みます。
要求が「制限専用の承認」または「HR階層制限」サブプロセスから必要な承認を受け取った後、要求はノード13の「売掛金の承認」サブプロセスに進みます。
要求が「売掛金の承認」サブプロセスから承認を受け取った場合、ノード14の「クレジット・メモの作成」サブプロセスによって、Oracle Receivablesにクレジット・メモが作成されます。このプロセスはノード22で終了します。
この項では、「ARクレジット・メモ要求の承認」プロセス内の各アクティビティを表示名別にリストして説明します。
AMEクレジット・メモ・ワークフローで使用されるPL/SQLストアド・プロシージャの命名規則は次のとおりです。
AR_AME_CMWF_API.<PROCEDURE>
AR_AME_CMWF_APIは、AMEクレジット・メモ要求プロセスで使用されるすべてのプロシージャをグループ化するパッケージの名前です。<PROCEDURE>は、PL/SQLストアド・プロシージャの名前を表します。
注意: Oracle Workflowでは、プロセスの制御に使用できる複数の一般アクティビティが提供されています。例としては、And/Orアクティビティや開始および終了アクティビティがあります。詳細は、『Oracle Workflow開発者ガイド』の標準アクティビティに関する項を参照してください。
これはプロセスの開始を単にマークする標準関数アクティビティです。
| 変数 | 摘要 |
|---|---|
| 関数 | WF_STANDARD.NOOP |
| 結果タイプ | なし |
| 前提のアクティビティ | なし |
この関数アクティビティでは、Oracle ReceivablesのRA_CM_REQUESTS表から係争中取引に関する情報が検索されます。
| 変数 | 摘要 |
|---|---|
| 関数 | AR_AME_CMWF_API.FindTrx |
| 結果タイプ | なし |
| 必須 | Yes |
| 前提のアクティビティ | なし |
この関数アクティビティでは、Oracle ReceivablesのRA_CM_REQUESTS表から係争中取引に関する顧客情報が検索されます。
| 変数 | 摘要 |
|---|---|
| 関数 | AR_AME_CMWF_API.FindCustomer |
| 結果タイプ | なし |
| 必須 | Yes |
| 前提のアクティビティ | 要求取引の検索 |
この関数アクティビティでは、係争中取引のノートが挿入されます。
係争中取引に関連付けられた情報には、要求の要求ID、申請者名、金額および事由が含まれます。
係争中の金額はOracle Receivablesの年齢調べレポートに表示され、Oracle Receivablesによる取引明細書および督促状における顧客の未回収残高の計算方法に影響する可能性があります。
注意: Oracle Receivablesユーザーは、「取引」ウィンドウで取引ノートを表示できます。
| 変数 | 摘要 |
|---|---|
| 関数 | AR_AME_CMWF_API.InsertSubmissionNotes |
| 結果タイプ | なし |
| 必須 | Yes |
| 前提のアクティビティ | 要求取引の検索 |
このアクティビティは、係争中取引の請求先サイトに割り当てられた回収担当を識別するサブプロセスです。請求先サイトに回収担当が割り当てられていない場合、プロセスでは顧客に割り当てられた回収担当が使用されます。
回収担当が要求を拒否した場合、このアクティビティにより取引ノートが更新され、拒否されたことが申請者に通知されます。回収担当が要求を承認した場合、このアクティビティではクレジット方法情報の有無がチェックされ(取引で請求ルールまたは会計基準が使用される場合)、係争中取引のノートが更新されます。
承認者が指定の時間内に応答しない場合、プロセスによって督促通知が承認者に送付されます。
サブプロセスを表示するには、ナビゲータ・ツリーの「プロセス」ブランチの下にある「回収担当の承認」をダブルクリックします。関連項目: 「回収担当の承認」サブプロセスの要約
| 変数 | 摘要 |
|---|---|
| 結果タイプ | ブール |
| 必須 | Yes |
| 前提のアクティビティ | 要求取引の顧客を検索 |
この関数アクティビティでは、回収担当の承認処理を確認して、この要求の次の承認者が決定されます。回収担当が「制限専用」を選択した場合、要求は「制限専用の承認」サブプロセスに進みます。
回収担当が「HR階層制限」と初回承認者を選択した場合、このアクティビティでは要求がその個人に転送され、要求は「HR階層の承認」サブプロセスに進みます。
| 変数 | 摘要 |
|---|---|
| 関数 | AR_AME_CMWF_API.CheckPrimaryApprover |
| 結果タイプ | なし |
| 必須 | Yes |
| 前提のアクティビティ | 回収担当の承認 |
このアクティビティは、要求の承認または拒否のために処理が必要であることを承認者に通知するサブプロセスです。このサブプロセスでは、「制限専用」パスを使用してAMEルールによって決定されたとおりに、通知が承認者に送付されます。承認者が指定の時間内に応答しない場合、プロセスによって督促通知が承認者に送付されます。
サブプロセスを表示するには、ナビゲータ・ツリーの「プロセス」ブランチの下にある「制限専用の承認」をダブルクリックします。関連項目: 「主承認」サブプロセスの要約
| 変数 | 摘要 |
|---|---|
| 結果タイプ | なし |
| 必須 | Yes |
| 前提のアクティビティ | 回収担当の承認 |
このアクティビティは、要求の承認または拒否のために処理が必要であることを承認者に通知するサブプロセスです。このサブプロセスでは、「HR階層制限」パスを使用してAMEルールによって決定されたとおりに、組織の人事管理部門で定義された承認者に通知されます。承認者が指定の時間内に応答しない場合、プロセスによって督促通知が承認者に送付されます。
サブプロセスを表示するには、ナビゲータ・ツリーの「プロセス」ブランチの下にある「HR階層の承認」をダブルクリックします。関連項目: 「HR階層の承認」サブプロセスの要約
| 変数 | 摘要 |
|---|---|
| 結果タイプ | なし |
| 必須 | Yes |
| 前提のアクティビティ | 回収担当の承認 |
この関数アクティビティでは、金額がすでに係争中でないことを示すことで、Oracle Receivablesの係争中取引のステータスが更新されます。
| 変数 | 摘要 |
|---|---|
| 関数 | AR_AME_CMWF_API.RemoveFromDispute |
| 結果タイプ | なし |
| 前提のアクティビティ | 制限専用の承認またはHR階層の承認 |
このアクティビティは、要求の承認または拒否に処理が必要であることをOracle Receivablesユーザーに通知するサブプロセスです。承認者が指定の時間内に応答しない場合、プロセスによって督促通知が承認者に送付されます。
サブプロセスを表示するには、ナビゲータ・ツリーの「プロセス」ブランチの下にある「売掛金の承認」をダブルクリックします。関連項目: 「売掛金の承認」サブプロセスの要約
| 変数 | 摘要 |
|---|---|
| 結果タイプ | なし |
| 必須 | Yes |
| 前提のアクティビティ | 制限専用の承認またはHR階層の承認 |
このアクティビティは、Oracle Receivablesでクレジット・メモを作成するサブプロセスです。APIでクレジット・メモの作成に失敗した場合、このプロセスによってOracle Receivablesユーザーに問題が通知されます。Oracle Receivablesユーザーは問題の解決を試行し、要求を再発行します。問題を解決できない場合、クレジット・メモを手動で作成する必要があることがプロセスによってOracle Receivablesユーザーに通知されます。
関連項目: 「クレジット・メモの作成」サブプロセスの要約
| 変数 | 摘要 |
|---|---|
| 結果タイプ | なし |
| 必須 | Yes |
| 前提のアクティビティ | 売掛金の承認 |
この関数アクティビティでは、クレジット・メモが必要な承認を受け取り、作成のために転送されたことを示す、係争中取引に関する基本情報が挿入されます。
| 変数 | 摘要 |
|---|---|
| 関数 | AR_AME_CMWF_API.InsertSuccessfulApiNotes |
| 結果タイプ | なし |
| 必須 | Yes |
| 前提のアクティビティ | 売掛金の承認 |
この関数アクティビティでは、クレジット・メモが必要な承認を受け取り、作成のために転送されたことを示す、係争中取引に関する基本情報が挿入されます。
| 変数 | 摘要 |
|---|---|
| 関数 | AR_AME_CMWF_API.RemoveFromDispute |
| 結果タイプ | なし |
| 必須 | Yes |
| 前提のアクティビティ | クレジット・メモ作成ノートの挿入 |
このアクティビティでは、要求が承認され、クレジット・メモが作成されたことが申請者、営業担当および回収担当に通知されます。メッセージには、請求先および出荷先顧客、取引番号、クレジット済の明細、税金、運送費の合計金額を表示する「送付」属性が含まれます。
| 変数 | 摘要 |
|---|---|
| メッセージ | クレジット・メモは承認および作成済 |
| 結果タイプ | なし |
| 前提のアクティビティ | クレジット・メモの作成 |
このアクティビティでは、回収担当が申請者でない場合、Oracle Receivablesでクレジット・メモが承認および作成済であることが回収担当に通知されます。回収担当が申請者である場合、回収担当は通知を受け取りません。
| 変数 | 摘要 |
|---|---|
| 関数 | AR_AME_CMWF_API.InformCollector |
| 結果タイプ | Yes/No |
| 必須 | Yes |
| 前提のアクティビティ | クレジット・メモは承認および作成済 - 申請者に通知 |
このアクティビティでは、営業担当が申請者でない場合、Oracle Receivablesでクレジット・メモが承認および作成済であることが営業担当に通知されます。営業担当が申請者である場合、回収担当は通知を受け取りません。
| 変数 | 摘要 |
|---|---|
| 関数 | AR_AME_CMWF_API.FindPrimarySalesrep |
| 結果タイプ | Yes/No |
| 必須 | Yes |
| 前提のアクティビティ | 回収担当に通知 |
この関数アクティビティでは、プロセスの終了がマークされます。アクティビティ自体には結果タイプはありませんが、プロセス内にあるこのアクティビティの各ノードには、プロセス結果が割り当てられる必要があります。
プロセスの結果はアクティビティ・ノードのプロパティ・ページで割り当てられます。「クレジット・メモ要求」プロセス・アクティビティの結果タイプはブールであるため、各終了アクティビティ・ノードには、ブール参照タイプ内のいずれかの参照コードと一致するプロセス・タイプ結果が必要です。
| 変数 | 摘要 |
|---|---|
| 関数 | WF_STANDARD.NOOP |
| 結果タイプ | なし |
| 前提のアクティビティ | 開始 |
「回収担当の承認」サブプロセスのプロパティを表示するには、ナビゲータ・ツリーでプロセス・アクティビティを選択してから、「編集」メニューで「プロパティ」を選択します。
「回収担当の承認」サブプロセスの結果タイプはブールです。これは、サブプロセスが完了した際に、結果がTRUEまたはFALSEとなることを示します。
このサブプロセスは実行する最上位レベル・プロセスとして開始できません。別の上位レベルのプロセスによってコールされた場合に、サブプロセスとしてのみ実行できます。
「回収担当の承認」サブプロセスについて「プロセス」ウィンドウを表示すると、このサブプロセスが22個の一意のアクティビティで構成され(そのうちの1つは再使用されている)、下に示すワークフロー・ダイアグラム内で23個のアクティビティ・ノードを構成していることがわかります。
プロセス・アクティビティ・ノードには、続く説明を参照する際に役立つよう番号が振られています。番号自体はプロセス・ダイアグラムの一部ではありません。
「回収担当の承認」サブプロセス

「回収担当の承認」サブプロセス内の各アクティビティの詳細は、「「回収担当の承認」サブプロセス・アクティビティ」を参照してください。
このサブプロセスは、開始アクティビティを含むノード1から始まります。ノード6では、プロセスによって回収担当に対し、指定時間内に要求を承認するよう通知されます。
要求が必要な承認を受け取った場合、サブプロセスはノード12で終了し、最上位レベルの「要求の承認」プロセスに結果「TRUE」が戻されます。要求が拒否された場合、サブプロセスはノード19で終了し、結果「FALSE」が戻されます。
回収担当が期日までに応答しない場合、サブプロセスではノード16への<タイムアウト>トランジションが適用され、回収担当へ要求を承認するよう督促が送付されます。回収担当が再度指定時間内に応答しない場合、サブプロセスでは次の<タイムアウト>トランジションが適用され、ノード23で回収担当のマネージャに問題がエスカレートされます。回収担当のマネージャは要求を承認または拒否し、ワークフローはそれぞれノード7または17に進みます。
ここでは、「回収担当の承認」サブプロセスの各アクティビティを、アクティビティの表示名順にリストします。
これは標準の関数アクティビティで、単にサブプロセスの開始をマークします。
| 変数 | 摘要 |
|---|---|
| 関数 | WF_STANDARD.NOOP |
| 結果タイプ | なし |
| 前提のアクティビティ | なし |
このアクティビティでは、シード済ルーチンが使用される場合の顧客および請求先サイト情報に基づいて、回収担当が決定されます。
注意: シード済ルーチンを使用するかわりに、独自のSQLを作成してシード値を置き換えることができます。たとえば、コスト・センターに基づいて回収担当を割り当てることができます。
回収担当が見つかった場合、このプロシージャではTRUEを表す値「T」が戻され、見つからない場合はFALSEを表す値「F」が戻されます。
| 変数 | 摘要 |
|---|---|
| 関数 | AR_AME_CMWF_API.FindCollector |
| 結果タイプ | ブール |
| 必須 | Yes |
| 前提のアクティビティ | 発行ノートの挿入 |
このアクティビティでは、回収担当が顧客または顧客請求先サイトに割り当てられていない、または特定のAME条件が満たされていなかったため、回収担当を決定できなかったことがシステム管理者に通知されます。
回収担当が顧客に割り当てられた後、システム管理者は「問題解決済」という応答で通知に応答し、ワークフロー・プロセスは続行されます。
| 変数 | 摘要 |
|---|---|
| メッセージ | 有効な回収担当が見つかりません |
| 結果タイプ | ARが承認者不在の問題を解決 |
| 前提のアクティビティ | 回収担当の検索 |
この関数アクティビティでは、要求IDおよび回収担当の名前を含む、係争中取引に関する基本要求情報が挿入されます。
| 変数 | 摘要 |
|---|---|
| 関数 | AR_AME_CMWF_API.InsertRequestApprovalNotes |
| 結果タイプ | なし |
| 前提のアクティビティ | 回収担当を承認者として記録 |
この関数アクティビティでは、係争中取引の請求ルールおよび会計基準の有無がチェックされます。
| 変数 | 摘要 |
|---|---|
| 関数 | AR_AME_CMWF_API.AMECheckrule |
| 結果タイプ | なし |
| 前提のアクティビティ | 要求承認ノートの挿入 |
このアクティビティでは、要求の承認または拒否のために処理が必要であることが回収担当に通知されます。このアクティビティは指定の時間内に完了する必要があり、完了しない場合はタイムアウトとなり、督促通知が送付されます。
メッセージには、要求番号、摘要、金額および申請者名を表示する「送付」属性が含まれます。また、メッセージには承認者に応答を促す6つの「応答」属性が含まれます。これらの属性には、「処理」、「ノート」、「賦払いルール」、「収益ルール」、「パス」および「送信先」があります(「パス」 = 「HR階層制限」の場合)。
「処理」属性は、「承認」参照タイプの値「承認」または「拒否」を承認者に提供します。「処理」の内部名は「結果」であり、これは、承認者が選択する値(「承認」または「拒否」)が、ワークフロー・エンジン・トランジションを次に分岐処理するアクティビティを決定する結果となることを示します。「ノート」属性は、承認者に対し、この要求への通知応答に含める追加注釈の入力を促します。
賦払いルールおよび収益ルールは、基準付き請求書と賦払いの請求書に適用されます。基準付き請求書に対する有効な方法には、「LIFO」、「按分」または「単位」があります。賦払いの請求書に対する有効な方法には、「LIFO」、「FIFO」または「按分」があります。基準のない請求書または賦払いのない請求書に対する唯一の有効な方法は「NULL」(値なし)です。
承認者は通知で指定されたクレジット方法を更新できます。デフォルトでは、クレジット方法はNULLです。
このアクティビティ・ノードのプロパティ・ページを表示すると、「転送先ユーザー名」と呼ばれる項目タイプ属性に名前が格納された実行者にアクティビティが割り当てられていることがわかります。
| 変数 | 摘要 |
|---|---|
| メッセージ | 要求回収担当の承認 |
| 結果タイプ | クレジット・メモ要求に対するAR応答 |
| 前提のアクティビティ | ルールの検証 |
このアクティビティでは、ワークフロー通知の「送信先」フィールドに回収担当が入力した初回承認者が確認されます。
| 変数 | 摘要 |
|---|---|
| 関数 | AR_AME_CMWF_API.CheckFirstApprover |
| 結果タイプ | 回収担当者応答検証エラー |
| 必須 | Yes |
| 前提のアクティビティ | 回収担当の承認 - 回収担当に通知 |
このアクティビティでは、基準付き請求書および賦払いの請求書に指定されたクレジット方法が有効かどうかが判別されます。
| 変数 | 摘要 |
|---|---|
| 関数 | AR_AME_CMWF_API.CheckCreditMethods |
| 結果タイプ | ブール |
| 前提のアクティビティ | 初回承認者を確認 |
この関数アクティビティでは、要求IDおよび承認者の名前を含む、係争中取引に関する基本要求情報が挿入されます。
| 変数 | 摘要 |
|---|---|
| 関数 | AR_AME_CMWF_API.InsertApprovedResponseNotes |
| 結果タイプ | なし |
| 必須 | Yes |
| 前提のアクティビティ | クレジット方法を確認 |
この関数アクティビティでは、加承認のために要求を転送した個人として回収担当の名前が追記録されます。
| 変数 | 摘要 |
|---|---|
| 関数 | AR_AME_CMWF_API. RecordCollectorAsForwardFrom |
| 結果タイプ | なし |
| 必須 | Yes |
| 前提のアクティビティ | クレジット方法を確認 |
この「標準」関数アクティビティでは、すべてのブランチ内のアクティビティが完了した際に、フロー内の2つ以上のパラレル・ブランチがマージされます。
| 変数 | 摘要 |
|---|---|
| 関数 | WF_STANDARD.ANDJOIN |
| 結果タイプ | なし |
| 前提のアクティビティ | それぞれがこのアクティビティに移行する2つ以上の独立したアクティビティが必要です。 |
この通知により、回収担当が「HR階層制限」パスを選択したにもかかわらず、初回承認者を入力していないことが本人に警告されます。
| 変数 | 摘要 |
|---|---|
| メッセージ | 初回承認者が見つかりません |
| 結果タイプ | クレジット・メモ要求に対するAR応答 |
| 前提のアクティビティ | 初回承認者を確認 |
この通知により、回収担当が「制限専用」パスを選択し、初回承認者を不必要に入力したことが本人に警告されます。
| 変数 | 摘要 |
|---|---|
| メッセージ | 初回承認者は不要 |
| 結果タイプ | クレジット・メモ要求に対するAR応答 |
| 前提のアクティビティ | 初回承認者を確認 |
この関数アクティビティでは、元の通知に応答するよう回収担当に督促通知が送付される際に、係争中取引に関する基本情報が挿入されます。
| 変数 | 摘要 |
|---|---|
| 関数 | AR_AME_CMWF_API.InsertApprovalReminderNotes |
| 結果タイプ | なし |
| 前提のアクティビティ | 回収担当の承認 - 回収担当に通知 |
このアクティビティは、「要求回収担当の承認」アクティビティが完了前にタイムアウトになった場合のみ発生します。このアクティビティでは、要求を承認または拒否する必要があるという督促通知が承認者に送付されます。
このメッセージの内容の詳細は、「回収担当の承認」サブプロセスの「回収担当の承認 - 回収担当に通知(ノード6)」を参照してください。このメッセージには、前の承認者名を表示する追加の「送付」属性が含まれます。
| 変数 | 摘要 |
|---|---|
| メッセージ | 催促 - 承認要 - 承認者に要求を通知 |
| 結果タイプ | クレジット・メモ要求に対するAR応答 |
| 前提のアクティビティ | 回収担当の承認 - 回収担当に通知 |
この関数アクティビティでは、要求が拒否された際に係争中取引に関する基本情報が挿入され、取引が係争から削除されます。
| 変数 | 摘要 |
|---|---|
| 関数 | AR_AME_CMWF_API.InsertRejectedResponseNotes |
| 結果タイプ | なし |
| 前提のアクティビティ | 回収担当の承認 - 回収担当に通知 |
このアクティビティでは、要求が拒否されたことが申請者に通知されます。メッセージには、要求番号、摘要および金額を表示する「送付」属性が含まれます。
このアクティビティのプロパティ・ページを表示すると、申請者ユーザー名と呼ばれる項目タイプ属性に名前が格納された実行者にアクティビティが割り当てられていることがわかります。
| 変数 | 摘要 |
|---|---|
| メッセージ | クレジット・メモ要求は拒否されました |
| 結果タイプ | なし |
| 前提のアクティビティ | 回収担当の承認 - 回収担当に通知 |
このアクティビティでは、回収担当のマネージャが識別され、回収担当が指定時間内に督促通知に応答する前にタイムアウトが発生した場合のみ実行されます。
| 変数 | 摘要 |
|---|---|
| 関数 | AR_AME_CMWF_API.FindManager |
| 結果タイプ | ブール |
| 前提のアクティビティ | 回収担当の承認 - 回収担当に催促 |
このアクティビティでは、「マネージャの検索」アクティビティで回収担当のマネージャを検索できない場合にシステム管理者に通知されます。システム管理者は問題を解決した後、ステータスが「問題解決済」である通知に応答し、プロセスが再開されます。
| 変数 | 摘要 |
|---|---|
| メッセージ | HRにマネージャが見つかりません |
| 結果タイプ | ARが承認なしの問題を解決 |
| 前提のアクティビティ | マネージャの検索 |
この関数アクティビティでは、要求が承認のために回収担当のマネージャに転送されたことを示す係争中取引に関する基本情報が挿入されます。
| 変数 | 摘要 |
|---|---|
| 関数 | AR_AME_CMWF_API.InsertEscalationNotes |
| 結果タイプ | なし |
| 前提のアクティビティ | マネージャの検索 |
このアクティビティでは、回収担当のマネージャに対し、回収担当が要求に応答しなかったことを示す通知が行われます。プロセスを続行するには、回収担当のマネージャが要求を承認または拒否する必要があります。
| 変数 | 摘要 |
|---|---|
| メッセージ | 応答エスカレーションなし |
| 結果タイプ | クレジット・メモ要求に対するAR応答 |
| 前提のアクティビティ | 回収担当の承認 - 回収担当に催促 |
この関数アクティビティでは、プロセスの終了がマークされます。アクティビティ自体には結果タイプはありませんが、プロセス内にあるこのアクティビティの各ノードには、プロセス結果が割り当てられる必要があります。
プロセスの結果はアクティビティ・ノードのプロパティ・ページで割り当てられます。「クレジット・メモ要求」プロセス・アクティビティの結果タイプはブールであるため、各終了アクティビティ・ノードには、ブール参照タイプ内のいずれかの参照コードと一致するプロセス・タイプ結果が必要です。
| 変数 | 摘要 |
|---|---|
| 関数 | WF_STANDARD.NOOP |
| 結果タイプ | なし |
| 前提のアクティビティ | 開始 |
「制限専用」サブプロセスでは、AMEで「制限専用」パスに対して定義したルールに従ってクレジット・メモ要求が経路指定されます。
「制限専用」サブプロセスの結果タイプはブールです。これは、サブプロセスが完了した際に、結果がTRUEまたはFALSEとなることを示します。
このサブプロセスは実行する最上位レベル・プロセスとして開始できません。別の上位レベルのプロセスによってコールされた場合に、サブプロセスとしてのみ実行できます。
「制限専用」サブプロセスのプロパティを表示するには、ナビゲータ・ツリーでプロセス・アクティビティを選択してから、「編集」メニューで「プロパティ」を選択します。こうすると、このサブプロセスが21個の一意のアクティビティで構成され、そのうちのいくつかは、下に示すワークフロー・ダイアグラム内で23個のアクティビティ・ノードを構成するために再使用されていることがわかります。プロセス・アクティビティ・ノードには、続く説明を参照する際に役立つよう番号が振られています。番号自体はプロセス・ダイアグラムの一部ではありません。
「制限専用」サブプロセス、第1部

「制限専用」サブプロセス、第2部

「制限専用」サブプロセス内の各アクティビティの詳細は、「「制限専用」サブプロセス・アクティビティ」を参照してください。
このサブプロセスは、開始アクティビティを含むノード1から始まります。ノード8では、プロセスによって承認者に対し、指定時間内に要求を承認するよう通知されます。
承認者が要求を承認した場合、サブプロセスはノード14で終了し、最上位レベルの「要求の承認」プロセスに結果「TRUE」が戻されます。同様に、承認者が要求を拒否した場合、サブプロセスはノード19で終了し、結果「FALSE」が戻されます。
承認者が通知に応答しない場合、サブプロセスではノード16への<タイムアウト>トランジションが適用され、承認者へ要求に応答するよう督促が行われます。承認者が再度指定時間内に応答しない場合、サブプロセスでは次の<タイムアウト>トランジションが適用され、ノード23で承認者のマネージャに連絡することで問題がエスカレートされます。
承認者のマネージャは、ノード9または17でそれぞれ要求を承認または拒否します。
ここでは、「制限専用」サブプロセスの各アクティビティを、アクティビティの表示名順にリストします。
これは標準の関数アクティビティで、単にサブプロセスの開始をマークします。
| 変数 | 摘要 |
|---|---|
| 関数 | WF_STANDARD.NOOP |
| 結果タイプ | なし |
| 前提のアクティビティ | なし |
この関数アクティビティでは、このパスに対して作成されたAMEルールをチェックすることで、要求の最初の「制限専用」承認者が識別されます。また、このアクティビティでは申請者名および要求の金額と事由が保存されます。
承認者が見つかった場合、このアクティビティではTRUEを表す値「T」が戻され、見つからない場合はFALSEを表す値「F」が戻されます。
| 変数 | 摘要 |
|---|---|
| 関数 | AR_AME_CMWF_API.FindPrimaryApprover |
| 結果タイプ | ブール |
| 前提のアクティビティ | 開始 |
このアクティビティでは、Oracle Receivablesで初回承認者が見つからなかったことがシステム管理者に通知されます。システム管理者は問題を解決した後、ステータスが「問題解決済」である通知に応答し、プロセスが再開されます。
| 変数 | 摘要 |
|---|---|
| メッセージ | 制限専用承認者がありません |
| 結果タイプ | ARが承認者不在の問題を解決 |
| 前提のアクティビティ | 制限専用承認者を検索 |
このアクティビティはプレース・ホルダの役割を持ち、処理は実行されません。単にPL/SQLプロシージャWF_STANDARD.NOOPがコールされます。
| 変数 | 摘要 |
|---|---|
| 結果タイプ | なし |
| 前提のアクティビティ | なし |
この関数アクティビティでは、要求が承認のために転送されたことを示す係争中取引に関する基本情報と、次の承認者のユーザーIDが挿入されます。
| 変数 | 摘要 |
|---|---|
| 関数 | AR_AME_CMWF_API.InsertRequestApprovalNotes |
| 結果タイプ | なし |
| 前提のアクティビティ | 制限専用承認者を検索 |
この関数アクティビティでは、「制限専用」承認者の名前が記録されます。
| 変数 | 摘要 |
|---|---|
| 関数 | AR_AME_CMWF_API.RecordForwardToUserInfo |
| 結果タイプ | なし |
| 前提のアクティビティ | 制限専用承認者を検索 |
この「標準」関数アクティビティでは、すべてのブランチ内のアクティビティが完了した際に、フロー内の2つ以上のパラレル・ブランチがマージされます。
| 変数 | 摘要 |
|---|---|
| 関数 | WF_STANDARD.ANDJOIN |
| 結果タイプ | なし |
| 前提のアクティビティ | それぞれがこのアクティビティに移行する2つ以上の独立したアクティビティが必要です。 |
このアクティビティでは、要求の承認または拒否が必要であることが承認者に通知されます。
このメッセージの内容の詳細は、「回収担当の承認」サブプロセスの「「要求回収担当の承認 - 回収担当に通知」ノード(ノード6)」を参照してください。このメッセージには、前の承認者名を表示する追加の「送付」属性が含まれます。
| 変数 | 摘要 |
|---|---|
| メッセージ | 要求の承認 |
| 結果タイプ | クレジット・メモ要求に対するAR応答 |
| 前提のアクティビティ | AND |
このアクティビティでは、基準付き請求書および賦払いの請求書に指定されたクレジット方法が有効かどうかが判別されます。
| 変数 | 摘要 |
|---|---|
| 関数 | AR_AME_CMWF_API.CheckCreditMethods |
| 結果タイプ | ブール |
| 必須 | Yes |
| 前提のアクティビティ | 要求の承認 - 承認者に通知 |
この関数アクティビティでは、要求が承認されたことを示す係争中取引に関する基本情報と、承認者のユーザーIDが挿入されます。
| 変数 | 摘要 |
|---|---|
| 関数 | AR_AME_CMWF_API.InsertApprovedResponseNotes |
| 結果タイプ | なし |
| 前提のアクティビティ | クレジット方法を確認 |
この関数アクティビティでは、要求の承認者名が記録されます。
| 変数 | 摘要 |
|---|---|
| 関数 | AR_AME_CMWF_API. RecordApproverAsForwardFrom |
| 結果タイプ | なし |
| 前提のアクティビティ | クレジット方法を確認 |
この関数アクティビティでは、この承認者がこの要求の最終承認を提供できるかどうかが判別されます。
要求額がこの承認者の承認限度内である場合、このアクティビティによって要求が「売掛金の承認」サブプロセスに転送されます。それ以外の場合、このアクティビティによって再度制限専用承認者を検索アクティビティ(ノード2)がコールされ、企業が定義したAMEルールに従って次の承認者が識別されます。
| 変数 | 摘要 |
|---|---|
| 関数 | AR_AME_CMWF_API.AMEFindPrimaryApprover |
| 結果タイプ | Yes/No |
| 前提のアクティビティ | AND |
この関数アクティビティでは、要求に応答するよう承認者に督促通知が送付されたことを示す、係争中取引に関する基本情報が挿入されます。
| 変数 | 摘要 |
|---|---|
| 関数 | AR_AME_CMWF_API.InsertApprovalReminderNotes |
| 結果タイプ | なし |
| 前提のアクティビティ | 要求の承認 - 承認者に通知 |
このアクティビティでは、要求の承認または拒否が必要であるという督促通知が承認者に送付されます。このアクティビティは、要求の承認 - 承認者に通知アクティビティが完了前にタイムアウトになった場合のみ発生します。
このメッセージの内容の詳細は、「回収担当の承認」サブプロセスの「回収担当の承認 - 回収担当に通知(ノード6)」を参照してください。このメッセージには、前の承認者名を表示する追加の「送付」属性が含まれます。
| 変数 | 摘要 |
|---|---|
| メッセージ | 催促-承認が必要 |
| 結果タイプ | クレジット・メモ要求に対するAR回収担当応答 |
| 前提のアクティビティ | 要求の承認 - 承認者に通知 |
この関数アクティビティでは、要求が拒否された際に係争中取引に関する基本情報が挿入され、取引が係争から削除されます。
| 変数 | 摘要 |
|---|---|
| 関数 | AR_AME_CMWF_API.InsertRejectedResponseNotes |
| 結果タイプ | なし |
| 前提のアクティビティ | 要求の承認 - 承認者に通知 |
このアクティビティでは、要求が拒否されたことが申請者に通知されます。メッセージには、要求番号、摘要および金額を表示する「送付」属性が含まれます。
このアクティビティのプロパティ・ページを表示すると、申請者ユーザー名と呼ばれる項目タイプ属性に名前が格納された実行者にアクティビティが割り当てられていることがわかります。
| 変数 | 摘要 |
|---|---|
| メッセージ | クレジット・メモ要求は拒否されました |
| 結果タイプ | なし |
| 前提のアクティビティ | 要求の承認 - 承認者に通知 |
このアクティビティでは、最終承認者のマネージャが識別され、最終承認者が指定時間内に通知に応答する前にタイムアウトが発生した場合のみ実行されます。
| 変数 | 摘要 |
|---|---|
| 関数 | AR_AME_CMWF_API.FindManager |
| 結果タイプ | ブール |
| 前提のアクティビティ | 要求の承認 - 承認者に催促 |
このアクティビティでは、マネージャの検索アクティビティで承認者のマネージャを検索できない場合にシステム管理者に通知されます。システム管理者は問題を解決した後、ステータスが「問題解決済」である通知に応答し、プロセスが再開されます。
| 変数 | 摘要 |
|---|---|
| メッセージ | HRにマネージャが見つかりません |
| 結果タイプ | ARが承認なしの問題を解決 |
| 前提のアクティビティ | マネージャの検索 |
この関数アクティビティでは、要求が承認のために承認者のマネージャに転送されたことを示す係争中取引に関する基本情報が挿入されます。
| 変数 | 摘要 |
|---|---|
| 関数 | AR_AME_CMWF_API.InsertEscalationNotes |
| 結果タイプ | なし |
| 前提のアクティビティ | マネージャの検索 |
このアクティビティでは、承認者が督促通知への応答に失敗したことが最終承認者のマネージャに通知されます。
| 変数 | 摘要 |
|---|---|
| メッセージ | 応答エスカレーションなし |
| 結果タイプ | クレジット・メモ要求に対するAR応答 |
| 前提のアクティビティ | マネージャの検索 |
この関数アクティビティでは、プロセスの終了がマークされます。アクティビティ自体には結果タイプはありませんが、プロセス内にあるこのアクティビティの各ノードには、プロセス結果が割り当てられる必要があります。
プロセスの結果はアクティビティ・ノードのプロパティ・ページで割り当てられます。「クレジット・メモ要求」プロセス・アクティビティの結果タイプはブールであるため、各終了アクティビティ・ノードには、ブール参照タイプ内のいずれかの参照コードと一致するプロセス・タイプ結果が必要です。
| 変数 | 摘要 |
|---|---|
| 関数 | WF_STANDARD.NOOP |
| 結果タイプ | なし |
| 前提のアクティビティ | 開始 |
「HR階層の承認」サブプロセスにより、「人事」表で定義した管理体系およびユーザーが作成した「HR階層制限」パスを使用するAMEルールに従って、要求が経路指定されます。
たとえば、回収担当が部門マネージャにレポートし、部門マネージャが部門マネージャにレポートするとします。この例では、プロセスによって要求がまず回収担当に転送され、次に回収担当のマネージャ、続いて部門マネージャへ最終承認のために転送されます。
「HR階層の承認」サブプロセスの結果タイプはブールです。これは、サブプロセスが完了した際に、結果がTRUEまたはFALSEとなることを示します。
このサブプロセスは実行する最上位レベル・プロセスとして開始できません。別の上位レベルのプロセスによってコールされた場合に、サブプロセスとしてのみ実行できます。
「HR階層の承認」サブプロセスのプロパティを表示するには、ナビゲータ・ツリーでプロセス・アクティビティを選択してから、「編集」メニューで「プロパティ」を選択します。こうすると、このサブプロセスが22個の一意のアクティビティで構成され、そのうちのいくつかは、下に示すワークフロー・ダイアグラム内で24個のアクティビティ・ノードを構成するために再使用されていることがわかります。プロセス・アクティビティ・ノードには、続く説明を参照する際に役立つよう番号が振られています。番号自体はプロセス・ダイアグラムの一部ではありません。
「HR階層の承認」サブプロセス、第1部

「HR階層の承認」サブプロセス、第2部

「HR階層の承認」サブプロセス内の各アクティビティの詳細は、「「HR階層の承認」サブプロセス・アクティビティ」を参照してください。
このサブプロセスは、開始アクティビティを含むノード1から始まります。ノード9では、プロセスによって承認者に対し、指定時間内に要求を承認するよう通知されます。
承認者が要求を承認した場合、サブプロセスはノード15で終了し、最上位レベルの「要求の承認」プロセスに結果「TRUE」が戻されます。同様に、承認者が要求を拒否した場合、サブプロセスはノード24で終了し、結果「FALSE」が戻されます。
承認者が応答しない場合、サブプロセスではノード17への<タイムアウト>トランジションが適用され、承認者へ要求を承認するよう督促が送付されます。承認者が再度指定時間内に応答しない場合、サブプロセスでは次の<タイムアウト>トランジションが適用され、ノード21で承認者のマネージャに連絡することで問題がエスカレートされます。
このループは、承認者がノード10または22でそれぞれ要求を承認または拒否するまで続きます。
ここでは、「HR階層の承認」サブプロセスの各アクティビティを、アクティビティの表示名順にリストします。
これは標準の関数アクティビティで、単にサブプロセスの開始をマークします。
| 変数 | 摘要 |
|---|---|
| 関数 | WF_STANDARD.NOOP |
| 結果タイプ | なし |
| 前提のアクティビティ | なし |
この関数アクティビティでは、回収担当が選択した「HR階層の承認」パス内の初回承認者が識別されます。
| 変数 | 摘要 |
|---|---|
| 関数 | AR_AME_CMWF_API.AMESetNonPrimaryApprover |
| 結果タイプ | なし |
| 前提のアクティビティ | 開始 |
この関数アクティビティでは、HRデータベースで定義された管理階層をチェックして、要求の次の承認者が識別されます。また、このアクティビティでは申請者名および要求の金額と事由が保存されます。承認者が見つかった場合、このアクティビティではTRUEを表す値「T」が戻され、見つからない場合はFALSEを表す値「F」が戻されます。
| 変数 | 摘要 |
|---|---|
| 関数 | AR_AME_CMWF_API.AMEFindNonPrimary Approver |
| 結果タイプ | ブール |
| 前提のアクティビティ | 初回承認者の取得 |
このアクティビティでは、HR階層承認者を検索アクティビティで承認者を識別できない場合にシステム管理者に通知されます。システム管理者は問題を解決した後、ステータスが「問題解決済」である通知に応答し、プロセスが再開されます。
| 変数 | 摘要 |
|---|---|
| メッセージ | 送信先がHRに存在しません |
| 結果タイプ | ARが承認者不在の問題を解決 |
| 前提のアクティビティ | HR階層承認者を検索 |
このアクティビティはプレース・ホルダの役割を持ち、処理は実行されません。単にPL/SQLプロシージャWF_STANDARD.NOOPがコールされます。
| 変数 | 摘要 |
|---|---|
| 結果タイプ | なし |
| 前提のアクティビティ | なし |
この関数アクティビティでは、要求が承認のために転送されたことを示す係争中取引に関する基本情報が挿入されます。
| 変数 | 摘要 |
|---|---|
| 関数 | AR_AME_CMWF_API.InsertRequestApprovalNotes |
| 結果タイプ | なし |
| 前提のアクティビティ | HR階層承認者を検索 |
この関数アクティビティでは、承認者に関する情報が記録されます。
| 変数 | 摘要 |
|---|---|
| 関数 | AR_AME_CMWF_API.RecordForwardToUserInfo |
| 結果タイプ | なし |
| 前提のアクティビティ | HR階層承認者を検索 |
この「標準」関数アクティビティでは、すべてのブランチ内のアクティビティが完了した際に、フロー内の2つ以上のパラレル・ブランチがマージされます。
| 変数 | 摘要 |
|---|---|
| 関数 | WF_STANDARD.ANDJOIN |
| 結果タイプ | なし |
| 前提のアクティビティ | それぞれがこのアクティビティに移行する2つ以上の独立したアクティビティが必要です。 |
このアクティビティでは、要求に応答するよう承認者に通知されます。
このメッセージの内容の詳細は、「回収担当の承認」サブプロセスの「回収担当の承認 - 回収担当に通知(ノード6)」を参照してください。このメッセージには、前の承認者名を表示する追加の「送付」属性が含まれます。
| 変数 | 摘要 |
|---|---|
| メッセージ | 要求の承認 |
| 結果タイプ | クレジット・メモ要求に対するAR応答 |
| 前提のアクティビティ | AND |
このアクティビティでは、基準付き請求書および賦払いの請求書に指定されたクレジット方法が有効かどうかが判別されます。
| 変数 | 摘要 |
|---|---|
| 関数 | AR_AME_CMWF_API.CheckCreditMethods |
| 結果タイプ | ブール |
| 必須 | Yes |
| 前提のアクティビティ | 要求の承認 - 承認者に通知 |
この関数アクティビティでは、要求が承認されたことを示す係争中取引に関する基本情報が挿入されます。
| 変数 | 摘要 |
|---|---|
| 関数 | AR_AME_CMWF_API.InsertApprovedResponseNotes |
| 結果タイプ | なし |
| 前提のアクティビティ | クレジット方法を確認 |
この関数アクティビティでは、要求の承認者名が記録されます。
| 変数 | 摘要 |
|---|---|
| 関数 | AR_AME_CMWF_API. RecordApproverAsForwardFrom |
| 結果タイプ | なし |
| 前提のアクティビティ | クレジット方法を確認 |
この関数アクティビティでは、「HR階層制限」パスを使用するAMEルールをチェックすることで、要求の次の「HR階層制限」承認者が識別されます。また、このアクティビティでは申請者名および要求の金額と事由が保存されます。
承認者が見つかった場合、このアクティビティではTRUEを表す値「T」が戻され、見つからない場合はFALSEを表す「F」が戻されます。
| 変数 | 摘要 |
|---|---|
| 関数 | AR_AME_CMWF_API. AMEFindNonPrimaryApprover |
| 結果タイプ | Yes/No |
| 前提のアクティビティ | AND |
この関数アクティビティでは、要求に応答するよう承認者に督促通知が送付されたことを示す、係争中取引に関する基本情報が挿入されます。
| 変数 | 摘要 |
|---|---|
| 関数 | AR_AME_CMWF_API.InsertApprovalReminderNotes |
| 結果タイプ | なし |
| 前提のアクティビティ | 要求の承認 - 承認者に通知 |
このアクティビティでは、要求の承認または拒否が必要であるという督促通知が承認者に送付されます。このアクティビティは、要求の承認 - 承認者に通知アクティビティが完了前にタイムアウトになった場合のみ発生します。
このメッセージの内容の詳細は、「回収担当の承認」サブプロセスの「回収担当の承認 - 回収担当に通知(ノード6)」を参照してください。このメッセージには、前の承認者名を表示する追加の「送付」属性が含まれます。
| 変数 | 摘要 |
|---|---|
| メッセージ | 催促-承認が必要 |
| 結果タイプ | クレジット・メモ要求に対するAR応答 |
| 前提のアクティビティ | 要求の承認 - 承認者に通知 |
このアクティビティでは、最終承認者のマネージャが識別され、最終承認者が指定時間内に通知に応答する前にタイムアウトが発生した場合のみ実行されます。
| 変数 | 摘要 |
|---|---|
| 関数 | AR_AME_CMWF_API.FindManager |
| 結果タイプ | ブール |
| 前提のアクティビティ | 要求の承認 - 承認者に催促 |
このアクティビティでは、人事管理データベースで承認者に対してマネージャが定義されていないことがシステム管理者に通知されます。システム管理者は問題を解決した後、ステータスが「問題解決済」である通知に応答し、プロセスが再開されます。
| 変数 | 摘要 |
|---|---|
| メッセージ | HRにマネージャが見つかりません |
| 結果タイプ | ARが承認なしの問題を解決 |
| 前提のアクティビティ | マネージャの検索 |
この関数アクティビティでは、要求が承認のために承認者のマネージャに転送されたことを示す係争中取引に関する基本情報が挿入されます。
| 変数 | 摘要 |
|---|---|
| 関数 | AR_AME_CMWF_API.InsertEscalationNotes |
| 結果タイプ | なし |
| 前提のアクティビティ | マネージャの検索 |
このアクティビティでは、承認者が指定時間内に督促通知への応答に失敗したことが承認者のマネージャに通知されます。
| 変数 | 摘要 |
|---|---|
| メッセージ | 応答エスカレーションなし |
| 結果タイプ | クレジット・メモ要求に対するAR応答 |
| 前提のアクティビティ | マネージャの検索 |
この関数アクティビティでは、要求が拒否された際に係争中取引に関する基本情報が挿入され、取引が係争から削除されます。
| 変数 | 摘要 |
|---|---|
| 関数 | AR_AME_CMWF_API.InsertRejectedResponseNotes |
| 結果タイプ | なし |
| 前提のアクティビティ | 要求の承認 - 承認者に通知 |
このアクティビティでは、要求が拒否されたことが申請者に通知されます。メッセージには、要求番号、摘要および金額を表示する「送付」属性が含まれます。
このアクティビティのプロパティ・ページを表示すると、申請者ユーザー名と呼ばれる項目タイプ属性に名前が格納された実行者にアクティビティが割り当てられていることがわかります。
| 変数 | 摘要 |
|---|---|
| メッセージ | クレジット・メモ要求は拒否されました |
| 結果タイプ | なし |
| 前提のアクティビティ | 否認応答ノートおよび更新ステータスの挿入 |
この関数アクティビティでは、プロセスの終了がマークされます。アクティビティ自体には結果タイプはありませんが、プロセス内にあるこのアクティビティの各ノードには、プロセス結果が割り当てられる必要があります。
プロセスの結果はアクティビティ・ノードのプロパティ・ページで割り当てられます。「クレジット・メモ要求」プロセス・アクティビティの結果タイプはブールであるため、各終了アクティビティ・ノードには、ブール参照タイプ内のいずれかの参照コードと一致するプロセス・タイプ結果が必要です。
| 変数 | 摘要 |
|---|---|
| 関数 | WF_STANDARD.NOOP |
| 結果タイプ | なし |
| 前提のアクティビティ | 開始 |
「売掛金の承認」サブプロセスでは、要求が最終承認のためにOracle Receivablesユーザーに経路指定されます。
「売掛金の承認」サブプロセスの結果タイプはブールです。これは、サブプロセスが完了した際に、結果がTRUEまたはFALSEとなることを示します。
このサブプロセスは実行する最上位レベル・プロセスとして開始できません。別の上位レベルのプロセスによってコールされた場合に、サブプロセスとしてのみ実行できます。
「売掛金の承認」サブプロセスのプロパティを表示するには、ナビゲータ・ツリーでプロセス・アクティビティを選択してから、「編集」メニューで「プロパティ」を選択します。こうすると、このサブプロセスが19個の一意のアクティビティで構成され(そのうちの1つは再使用されている)、下に示すワークフロー・ダイアグラム内で20個のアクティビティ・ノードを構成していることがわかります。
プロセス・アクティビティ・ノードには、続く説明を参照する際に役立つよう番号が振られています。番号自体はプロセス・ダイアグラムの一部ではありません。
「売掛金の承認」サブプロセス

「売掛金の承認」サブプロセスの詳細は、「「売掛金の承認」サブプロセス・アクティビティ」を参照してください。
このサブプロセスは、開始アクティビティを含むノード1から始まります。ノード7では、プロセスによって売掛管理ロールに対し、指定時間内に要求を承認するよう通知されます。
承認者が要求を承認した場合、サブプロセスはノード11で終了し、最上位レベルの「要求の承認」プロセスに結果「TRUE」が戻されます。同様に、承認者が要求を拒否した場合、サブプロセスはノード20で終了し、結果「FALSE」が戻されます。
承認者が指定時間内に応答しない場合、サブプロセスではノード13への<タイムアウト>トランジションが適用され、売掛管理ロールへ要求を承認するよう督促が送付されます。このループは、承認者がノード8または18でそれぞれ要求を承認または拒否するまで続きます。
ここでは、「売掛金の承認」サブプロセスの各アクティビティを、アクティビティの表示名順にリストします。
これは標準の関数アクティビティで、単にサブプロセスの開始をマークします。
| 変数 | 摘要 |
|---|---|
| 関数 | WF_STANDARD.NOOP |
| 結果タイプ | なし |
| 前提のアクティビティ | なし |
この関数アクティビティでは、「売掛管理クレジット・メモ売掛/未収金」取引タイプのAMEルールで定義されたOracle Receivablesユーザーをチェックして、要求の承認者が判別されます。
このアクティビティでは、申請者名および要求の金額と事由が保存されます。
承認者が見つかった場合、このアクティビティではTRUEを表す値「T」が戻され、見つからない場合はFALSEを表す値「F」が戻されます。
| 変数 | 摘要 |
|---|---|
| 関数 | AR_AME_CMWF_API.FindReceivableApprover |
| 結果タイプ | ブール |
| 前提のアクティビティ | 開始 |
このアクティビティでは、売掛金の承認者が見つからなかったことがシステム管理者に通知されます。システム管理者は問題を解決した後、ステータスが「問題解決済」である通知に応答し、プロセスが再開されます。
| 変数 | 摘要 |
|---|---|
| メッセージ | 売掛金ユーザーが見つかりません |
| 結果タイプ | ARが承認者不在の問題を解決 |
| 前提のアクティビティ | 売掛金の承認者を検索 |
この関数アクティビティでは、要求が承認のために転送されたことを示す係争中取引に関する基本情報が挿入されます。
| 変数 | 摘要 |
|---|---|
| 関数 | AR_AME_CMWF_API.InsertRequestApprovalNotes |
| 結果タイプ | なし |
| 前提のアクティビティ | 売掛金の承認者を検索 |
この関数アクティビティでは、承認者に関する情報が記録されます。
| 変数 | 摘要 |
|---|---|
| 関数 | AR_AME_CMWF_API.RecordForwardToUserInfo |
| 結果タイプ | なし |
| 前提のアクティビティ | 売掛金の承認者を検索 |
この「標準」関数アクティビティでは、すべてのブランチ内のアクティビティが完了した際に、フロー内の2つ以上のパラレル・ブランチがマージされます。
| 変数 | 摘要 |
|---|---|
| 関数 | WF_STANDARD.ANDJOIN |
| 結果タイプ | なし |
| 前提のアクティビティ | それぞれがこのアクティビティに移行する2つ以上の独立したアクティビティが必要です。 |
このアクティビティでは、要求の承認または拒否が必要であることが承認者に通知されます。
このメッセージの内容の詳細は、「回収担当の承認」サブプロセスの「回収担当の承認 - 回収担当に通知(ノード6)」を参照してください。このメッセージには、前の承認者名を表示する追加の「送付」属性が含まれます。
| 変数 | 摘要 |
|---|---|
| メッセージ | 要求の承認 |
| 結果タイプ | クレジット・メモ要求に対するAR応答 |
| 前提のアクティビティ | 売掛金の承認者を検索 |
このアクティビティでは、基準付き請求書および賦払いの請求書に指定されたクレジット方法が有効かどうかが判別されます。
| 変数 | 摘要 |
|---|---|
| 関数 | AR_AME_CMWF_API.CheckCreditMethods |
| 結果タイプ | ブール |
| 必須 | Yes |
| 前提のアクティビティ | 売掛金承認の要求 - 売掛金ユーザーに通知 |
この関数アクティビティでは、要求が承認されたことを示す係争中取引に関する基本情報が挿入されます。
| 変数 | 摘要 |
|---|---|
| 関数 | AR_AME_CMWF_API.InsertApprovedResponseNotes |
| 結果タイプ | なし |
| 前提のアクティビティ | クレジット方法を確認 |
この関数アクティビティでは、要求の承認者名が記録されます。
| 変数 | 摘要 |
|---|---|
| 関数 | AR_AME_CMWF_API. RecordApproverAsForwardFrom |
| 結果タイプ | なし |
| 前提のアクティビティ | クレジット方法を確認 |
この関数アクティビティでは、要求に応答するよう承認者に督促通知が送付されたことを示す、係争中取引に関する基本情報が挿入されます。
| 変数 | 摘要 |
|---|---|
| 関数 | AR_AME_CMWF_API.InsertApprovalReminderNotes |
| 結果タイプ | なし |
| 前提のアクティビティ | 売掛金承認の要求 - 売掛金ユーザーに通知 |
このアクティビティでは、要求の承認または拒否が必要であるという督促通知が承認者に送付されます。このアクティビティは、要求の承認 - 承認者に通知アクティビティが完了前にタイムアウトになった場合のみ発生します。
このメッセージの内容の詳細は、「回収担当の承認」サブプロセスの「回収担当の承認 - 回収担当に通知(ノード6)」を参照してください。このメッセージには、前の承認者名を表示する追加の「送付」属性が含まれます。
| 変数 | 摘要 |
|---|---|
| メッセージ | 催促-承認が必要 |
| 結果タイプ | クレジット・メモ要求に対するAR応答 |
| 前提のアクティビティ | 売掛金承認の要求 - 売掛金ユーザーに通知 |
このアクティビティでは、最終承認者のマネージャが識別され、最終承認者が指定時間内に通知に応答する前にタイムアウトが発生した場合のみ実行されます。
| 変数 | 摘要 |
|---|---|
| 関数 | AR_AME_CMWF_API.AMEFindManager |
| 結果タイプ | ブール |
| 前提のアクティビティ | 要求の承認 - 承認者に催促 |
このアクティビティでは、マネージャの検索アクティビティで承認者のマネージャを検索できない場合にシステム管理者に通知されます。システム管理者は問題を解決した後、ステータスが「問題解決済」である通知に応答し、プロセスが再開されます。
| 変数 | 摘要 |
|---|---|
| メッセージ | HRにマネージャが見つかりません |
| 結果タイプ | ARが承認なしの問題を解決 |
| 前提のアクティビティ | マネージャの検索 |
この関数アクティビティでは、要求が承認のために承認者のマネージャに転送されたことを示す係争中取引に関する基本情報が挿入されます。
| 変数 | 摘要 |
|---|---|
| 関数 | AR_AME_CMWF_API.InsertApprovalReminderNotes |
| 結果タイプ | なし |
| 前提のアクティビティ | マネージャの検索 |
このアクティビティでは、承認者が督促通知への応答に失敗したことが最終承認者のマネージャに通知されます。
| 変数 | 摘要 |
|---|---|
| メッセージ | 応答エスカレーションなし |
| 結果タイプ | クレジット・メモ要求に対するAR応答 |
| 前提のアクティビティ | マネージャの検索 |
この関数アクティビティでは、要求が拒否された際に係争中取引に関する基本情報が挿入され、取引が係争から削除されます。
| 変数 | 摘要 |
|---|---|
| 関数 | AR_AME_CMWF_API.InsertRejectedResponseNotes |
| 結果タイプ | なし |
| 前提のアクティビティ | 売掛金承認の要求 - 売掛金ユーザーに通知 |
このアクティビティでは、要求が拒否されたことが申請者に通知されます。メッセージには、要求番号、摘要および金額を表示する「送付」属性が含まれます。
このアクティビティのプロパティ・ページを表示すると、申請者ユーザー名と呼ばれる項目タイプ属性に名前が格納された実行者にアクティビティが割り当てられていることがわかります。
| 変数 | 摘要 |
|---|---|
| メッセージ | クレジット・メモ要求は拒否されました |
| 結果タイプ | なし |
| 前提のアクティビティ | 否認応答ノートおよび更新ステータスの挿入 |
この関数アクティビティでは、プロセスの終了がマークされます。アクティビティ自体には結果タイプはありませんが、プロセス内にあるこのアクティビティの各ノードには、プロセス結果が割り当てられる必要があります。
プロセスの結果はアクティビティ・ノードのプロパティ・ページで割り当てられます。「クレジット・メモ要求」プロセス・アクティビティの結果タイプはブールであるため、各終了アクティビティ・ノードには、ブール参照タイプ内のいずれかの参照コードと一致するプロセス・タイプ結果が必要です。
| 変数 | 摘要 |
|---|---|
| 関数 | WF_STANDARD.NOOP |
| 結果タイプ | なし |
| 前提のアクティビティ | 開始 |
「クレジット・メモの作成」サブプロセスでは、要求が必要なすべての承認を受け取った後、Oracle Receivablesでクレジット・メモが作成されます。
このサブプロセスは実行する最上位レベル・プロセスとして開始できません。別の上位レベルのプロセスによってコールされた場合に、サブプロセスとしてのみ実行できます。
「クレジット・メモの作成」サブプロセスのプロパティを表示するには、ナビゲータ・ツリーでプロセス・アクティビティを選択してから、「編集」メニューで「プロパティ」を選択します。こうすると、このサブプロセスが7個の一意のアクティビティで構成され(そのうちの1つは再使用されている)、下に示すワークフロー・ダイアグラム内で8個のアクティビティ・ノードを構成していることがわかります。プロセス・アクティビティ・ノードには、続く説明を参照する際に役立つよう番号が振られています。番号自体はプロセス・ダイアグラムの一部ではありません。
「クレジット・メモの作成」サブプロセス

「クレジット・メモの作成」サブプロセスの詳細は、「「クレジット・メモの作成」サブプロセス・アクティビティ」を参照してください。
このサブプロセスは、開始アクティビティを含むノード1から始まります。ノード2でプロセスにより内部APIがコールされ、Oracle Receivablesの係争中の金額に対してクレジット・メモの作成が試行されます。
Oracle Receivablesでクレジット・メモを作成できない場合、このサブプロセスはノード4に移行し、Oracle Receivablesユーザーに対し、エラーが発生してクレジット・メモを作成できなかったことが通知されます。Oracle Receivablesユーザーはクレジット・メモを手動で作成し、クレジット・メモ番号で通知を更新できます。プロセスはノード8で終了します。
ここでは、「クレジット・メモの作成」サブプロセスの各アクティビティを、アクティビティの表示名順にリストします。
これは標準の関数アクティビティで、単にサブプロセスの開始をマークします。
| 変数 | 摘要 |
|---|---|
| 関数 | WF_STANDARD.NOOP |
| 結果タイプ | なし |
| 前提のアクティビティ | なし |
この関数アクティビティでは、Oracle Receivablesの要求済金額についてクレジット・メモが作成されます。
| 変数 | 摘要 |
|---|---|
| 関数 | AR_AME_CMWF_API.CallTrxApi |
| 結果タイプ | ブール |
| 前提のアクティビティ | 開始 |
このアクティビティは、Oracle Receivablesでクレジット・メモの作成に失敗した場合のみ発生します。このプロセスでは、このロールに対して定義されたOracle Receivablesユーザーに、クレジット・メモを作成できなかった事由に関する情報が通知されます。APIが失敗する事由には、設定ステップの欠落または係争中取引の未回収残高の不足などがあります。
| 変数 | 摘要 |
|---|---|
| メッセージ | 売掛金ユーザーに通知 - クレジット・メモ作成問題 |
| 結果タイプ | ARクレジット・メモ作成問題 |
| 前提のアクティビティ | クレジット・メモを作成 |
この関数アクティビティでは、手動クレジット・メモを作成するための要求がOracle Receivablesユーザーに転送されたことを示す係争中取引に関する基本情報が挿入されます。
| 変数 | 摘要 |
|---|---|
| 関数 | AR_AME_CMWF_AP.InsertRequestManualNotes |
| 結果タイプ | なし |
| 前提のアクティビティ | クレジット・メモ作成問題 - 売掛金ユーザーに通知 |
このアクティビティでは、クレジット・メモを作成できなかったため手動で入力する必要があることがOracle Receivablesユーザーに通知されます。
クレジット・メモを作成した後、ユーザーはクレジット・メモ番号を通知に入力し、「発行」をクリックします。
| 変数 | 摘要 |
|---|---|
| メッセージ | 売掛金ユーザーに通知 - 手動入力の要求 |
| 関数 | AR_AME_CMWF_API.FindResponder |
| 結果タイプ | ARが手動入力を要求 |
| 前提のアクティビティ | クレジット・メモ作成問題 - 売掛金ユーザーに通知 |
この関数アクティビティでは、クレジット・メモが正常に作成されたことを示す係争中取引に関する基本情報が挿入されます。
| 変数 | 摘要 |
|---|---|
| 関数 | AR_AME_CMWF_API.InsertCompletedManualNotes |
| 結果タイプ | ARが手動入力を要求 |
| 前提のアクティビティ | 手動入力の要求 - 売掛金ユーザーに通知 |
この関数アクティビティでは、プロセスの終了がマークされます。アクティビティ自体には結果タイプはありませんが、プロセス内にあるこのアクティビティの各ノードには、プロセス結果が割り当てられる必要があります。
プロセスの結果はアクティビティ・ノードのプロパティ・ページで割り当てられます。「クレジット・メモ要求」プロセス・アクティビティの結果タイプはブールであるため、各終了アクティビティ・ノードには、ブール参照タイプ内のいずれかの参照コードと一致するプロセス・タイプ結果が必要です。
| 変数 | 摘要 |
|---|---|
| 関数 | WF_STANDARD.NOOP |
| 結果タイプ | なし |
| 前提のアクティビティ | 開始 |
自動インボイス・インポート・プログラムまたは自動インボイス・マスター・プログラムを実行して、取引を他のシステムからOracle Receivablesに転送します。自動インボイスを使って、請求書、クレジット・メモ、デビット・メモ、および対顧客勘定クレジットをインポートできます。Oracle Receivablesでは、インポートするデータが正確で有効であることが確認されます。
関連項目: 自動インボイスを使用した取引情報のインポート
注意: Oracle Receivablesでは、自動インボイスを使用して既存の請求書を更新できません。ただし、請求書がオープンのままである場合(またはその取引タイプに対して、「超過消込の許可」チェック・ボックスがチェックされている場合)は、クレジット・メモを作成して、それを既存の請求書に消し込むことができます。
自動インボイス・インポート・プログラム、自動インボイス・マスター・プログラムおよび自動インボイス・パージ・プログラムは「要求の発行」ウィンドウから発行できます。ただし、「自動インボイスの実行」ウィンドウからは、自動インボイス・マスターおよび自動インボイス・パージのプログラムしか発行できません。マスター・プログラムでは、自動インボイスの複数インスタンスを実行してシステム・パフォーマンスを向上し、取引をより迅速にインポートすることができます。
ヒント: 自動インボイス・マスター・プログラムの発行を取り消すには、子プログラムをそれぞれ個別に取り消す必要があります。マスター・プログラム自体を取り消さないでください。
自動インボイス・インポート・プログラムにより処理され正常に転送されたインタフェース明細を削除するには、自動インボイス・パージ・プログラムを実行します。「システム・オプション」ウィンドウの「インタフェース表のパージ」オプションを「Yes」に設定している場合、このプログラムを実行する必要はありません。この場合、ユーザーが自動インボイスを実行した後、Oracle Receivablesではインタフェース明細が自動的に削除されます。関連項目: 『Oracle Receivablesインプリメンテーション・ガイド』のOracle Receivablesシステム・オプションの定義に関する項
注意: 請求書は、Oracle e-Commerce Gatewayを使用してエクスポートすることもできます。Oracle e-Commerce Gatewayでは、合意済の標準書式を使用して、情報を電子的な方法で事業パートナと交換できます。詳細は、『Oracle e-Commerce Gatewayユーザーズ・ガイド』を参照してください。
前提条件
『Oracle Receivablesインプリメンテーション・ガイド』の設定データの定義に関する項
「自動インボイスの実行」ウィンドウにナビゲートします。
自動インボイス・マスター・プログラムの要求名を入力します。
発行するインスタンス数を入力します。
インスタンスとは、自動インボイスが取引をグループ化して処理する方法のことです。発行するインスタンスの数が多いほど、Oracle Receivablesに取引を速くインポートできます。最高15個までのインスタンスを発行できます。
ヒント: 使用可能なCPUの数に基づいてインスタンスの数を入力します。次の算式を使用して、入力するインスタンスの数を決定してください。
(使用可能なCPUの数) - 1 = インスタンス数
たとえば、CPUが5つある場合は、自動インボイス・マスター・プログラムのインスタンスを4つ発行します。
この発行の「取引ソース」と「デフォルト日付」を入力します。これらのパラメータは必須です。「デフォルト日付」はオープンまたは先日付の入力可能な期間内である必要があります。
自動インボイスでは、GL記帳日が指定されていない場合や、提供された日付がクローズ期間内の場合、取引バッチ・ソースがどのように定義されているか、および請求書でルールが使用されるかどうかに基づいて「デフォルト日付」が使用されます。関連項目: 日付の決定
自動インボイスでインポートする取引を制限するには、選択基準を入力します。たとえば、取引タイプ、請求先顧客名の範囲、GL記帳日、出荷日または取引番号を入力すると、選択基準を満たす取引のみがインポートされます。基準に一致する取引に発行を限定しない場合は、フィールドを空白のままにします。「取引フレックスフィールド」パラメータを使用して、インポートする明細を指定します。
取引日に基づいて支払期日を設定するかどうかを選択します。
「Yes」を入力した場合、自動インボイスでは取引日に基づいて各取引の支払期日が導出されます。
「No」を入力した場合、自動インボイスではこの取引のバッチ・ソースの「導出日付」オプションの設定を調べて、支払期日を導出します。
「導出日付」が「No」の場合、自動インボイスではルール開始日付、取引日付またはこの発行用に指定した「デフォルト日付」を使用します。
「導出日付」が「Yes」の場合、自動インボイスではGL記帳日を決定するときに使用する導出ロジックを使用します。関連項目: 日付の決定
「支払期日修正日数」の日数を入力します(オプション)。
「取引日を基準に支払日計算」が「Yes」の場合、自動インボイスではこのパラメータが無視されます。
「取引日を基準に支払日計算」が「No」の場合、自動インボイスでは取引日付およびここに入力する日数を加えた日付に対して、前のステップで導出された支払期日を比較します。遅い方の日付が最終支払期日として使用されます。
修正日数を入力しないと、前のステップで導出された支払期日が使用されます。
「OK」を選択します。
この発行の結果を印刷するには、印刷オプションを入力します。印刷部数、印刷スタイルおよび使用プリンタを入力します。
出力をファイルに保存するには、「出力の保存」チェック・ボックスを選択します。
「発行」を選択します。この発行のコンカレント要求IDが表示され、「自動インボイス実行レポート」が作成されます。検証に失敗した明細がある場合、自動インボイスでは「自動インボイス検証レポート」も作成されます。このレポートを使用して、自動インボイス発行の結果を検討します。関連項目: 自動インボイス・レポート
要求のステータスは、「要求」ウィンドウ内に表示できます。
「自動インボイスの実行」ウィンドウにナビゲートします。
自動インボイス・パージ・プログラムの要求名を入力します。
この発行の結果を印刷するには、印刷オプションを入力します。印刷部数、印刷スタイルおよび使用プリンタを入力します。
出力をファイルに保存するには、「出力の保存」チェック・ボックスを選択します。
このレポートを2回以上実行するには、「実行オプション」を入力します。再発行間隔、再発行の開始日と時刻、および反復を終了する日付を入力できます。
「発行」を選択します。この発行のコンカレント要求IDが表示されます。この番号を使用すると、「コンカレント要求の要約」ウィンドウでユーザーの要求のステータスを確認できます。
関連項目
『Oracle Applicationsユーザーズ・ガイド』の要求の監視に関する項
「自動インボイス実行レポート」を使用して、「自動インボイス」要求の結果を検討します。このレポートには、収益とクレジット・メモ取引の選択数、承認数、拒否数の要約情報が通貨ごとに示されます。自動インボイス実行レポートには、処理済全取引の取引タイプ別請求金額合計も示されます。
このレポートには、方針に従って処理された入金のみでなく、払戻が不可能なために対顧客勘定に入れられた入金も含まれます。関連項目: クレジットのための自動入金処理
自動インボイスでは、自動インボイスを実行するたびにこのレポートが自動的に生成されます。
このレポートは、Oracle Receivablesの収益とクレジット・メモ取引数を他の財務処理システムからの数と照合するのに使用します。「自動インボイス実行レポート」は、取引台帳のような他のOracle Receivablesレポートとの消込にも使用できます。関連項目: 取引台帳
注意: 「自動インボイス」で税金計算を行うと、「自動インボイス実行レポート」と取引台帳の請求書合計は同額にはなりません。これは、自動インボイス実行レポートではRA_INTERFACE_LINESからインポートされた税金のみが示されるためです。関連項目: 税金明細のインポート
異なる段階の検証に失敗した明細、およびその明細に関連するエラー・メッセージを検討するには、「自動インボイス検証レポート」を使用します。このレポートは、自動インボイスを実行して検証に失敗した明細がある場合のみ生成されます。正常にインポートされたレコードを検討するには、「自動インボイス実行レポート」を参照します。
重要: 「インタフェース明細」ウィンドウを使用して、「自動インボイス」検証に失敗したレコードを変更できます。関連項目: 自動インボイス例外の訂正
「自動インボイス」は事前グループ化、グループ化、振替の3つの主要段階に分けられます。
事前グループ化: この段階において、正常なグループ化に依存しないすべての明細レベル・データおよびその他のデータすべてが「自動インボイス」により検証されます。たとえば、取引タイプが有効であるか、振り替えした各運送費明細に1つの運送費勘定のみが存在するかなどが検証されます。
グループ化: この段階において、明細がグループ化ルールに基づいて「自動インボイス」によりグループ化され、また明細のグループ化方法に依存するヘッダー・レベル・データが検証されます。検証例として、バッチ・ソースに指定した超過消込基準の検証、取引約定に基づく請求書のGL記帳日が、取引約定のGL記帳日より前ではないことの検証などがあります。自動インボイスで取引が間違ってグループ化された場合は、使用中のグループ化ルールをチェックして、取引がグループ化ルールに適切に準拠していることを確認します。詳細は、「取引を作成するためのグループ化ルール使用方法」を参照してください。
振替: この段階において、税金デフォルトおよび「自動会計」データなど、Oracle Receivables表に存在する情報が「自動インボイス」により検証されます。
「自動インボイス」では、各明細についてエラーが起きた場合、その明細が置かれていた段階についてのエラー・メッセージのみ表示されます。たとえば、明細処理が事前グループ化段階で検証に失敗すると、「自動インボイス」では、事前グループ化段階で起きたすべてのエラーについてのメッセージが表示されます。さらに、明細がすでに振替段階にあって処理に失敗すると、「自動インボイス」では、振替段階で起きたすべてのエラー・メッセージが表示されます。販売実績または配分エラーが起きると、「自動インボイス」では、それらのエラーは各明細下の別の部分に印刷されます。また「自動インボイス」では、「取引拒否要約」項がレポートの最後に印刷されます。
自動インボイス実行レポートおよび検証レポートをオンラインで表示するには、「要求」ウィンドウに移動し、表示するレポートを選択した後、「出力の保存」を選択します。
関連項目
「インタフェース例外」ウィンドウを使用して、自動インボイス検証に失敗したすべてのレコードを表示します。これらの失敗したレコードは「インタフェース明細」ウィンドウを使用して更新します。
検証にパスしたレコードはOracle Receivables表に転送されます。検証に失敗したレコードは例外と呼ばれます。これらのレコードは「自動インボイス」インタフェース表に残ります。自動インボイスでこれらのレコードを検証してOracle Receivables内に取引を作成できるようにするには、無効なデータを訂正してから自動インボイスを再発行する必要があります。
「自動インボイス」を実行するたびに、検証に失敗したレコードの情報が「自動インボイス検証レポート」に印刷されます。「インタフェース例外」ウィンドウでこのレポートを使用して、検証に失敗した取引とその理由を確認します。次に、「インタフェース例外」ウィンドウとその関連ドリルダウン・ウィンドウを使用して、エラーが発生したレコードを修正します。「インタフェース明細」ウィンドウとその関連ドリルダウン・ウィンドウを使用しても、レコードを修正できます。無効なデータを訂正した後、「自動インボイス」を再発行してデータをOracle Receivables表にインポートします。
「インタフェース例外」ウィンドウには、各エラーに関連するインタフェースID、例外タイプ、エラー・メッセージおよび無効な値が表示されます。このウィンドウのデータは編集できませんが、レコードを選択して「詳細」ボタンを選択すれば、ドリルダウン・ウィンドウでデータを編集できます。
注意: インタフェースIDは、この明細のinterface_line_id、interface_distribution_idまたはinterface_salescredit_idです。
「インタフェース明細」ウィンドウには、インタフェース表に存在する「明細」または「手数料」タイプのレコードが表示され、どのレコードにエラーがあるかが示されます。また、各レコードの一般情報も表示されます。このウィンドウでは、ドリルダウンして各レコードの詳細情報を表示できるだけでなく、データの編集も可能です。
注意: 1つ以上の請求書明細でエラーが発生した場合に「自動インボイス」で取引を拒否するか、部分的に作成するかは、取引バッチ・ソースによって決まります。
検証に失敗したレコードには、例外タイプが関連付けられているため、無効なデータの識別と修正に役立ちます。「インタフェース例外」ウィンドウには、各レコードの例外タイプが表示されます。
有効な例外タイプには、「手数料」、「運送費」、「運送費配分」、「明細」、「明細配分」、「偶発収益」、「販売実績」、「税金」、「税金配分」があります。
「インタフェース明細」ウィンドウにナビゲートします。
インタフェース表にすべてのレコードを表示するには、「問合せ」メニューから「実行」を選択します。「エラーあり」チェック・ボックスには、レコードに1つ以上の例外が含まれるかどうかが示されます。
エラーのあるレコードのみをインタフェース表に表示するには、「エラーあり」ボックスをチェックし、「問合せ」メニューから「実行」を選択します。
表示するレコードを選択してから、「エラー」ボタンを選択します。
「明細エラー」ウィンドウが表示されます。Oracle Receivablesでは、「明細エラー」ウィンドウにこのレコードに関連するすべてのエラーが表示されます。
このレコードのエラーを検討し、修正するエラーを決定します。エラー・タイプ、メッセージ・テキストおよび無効な値(ある場合)に注意してください。
注意: 1つのレコードに対し、エラーが1つしかなくても、エラー・タイプが異なるエラーが多数存在する場合があります。
「インタフェース明細」ウィンドウに戻ります。修正するエラーのエラー・タイプが「明細」または「手数料」の場合は、このウィンドウで適切な情報を入力または更新し、ステップ8に進みます。
ヒント: 「インタフェース明細」ウィンドウでは、ほとんどのフィールドについて値リストを使用してデータを入力できます。また、任意のフォルダ・リージョンのフィールドにカーソルを置いて、「フォルダ」メニューの「フィールドの表示」を選択してから表示するフィールドを選択すると、追加情報を表示することもできます。
エラー・タイプが「明細」でも「手数料」でもない場合は、エラー・タイプに対応するボタンを選択します。たとえば、エラー・タイプが「販売実績」の場合は、「販売実績」ボタンを選択します。エラー・タイプが「明細配分」、「運送費配分」または「税金配分」の場合は、「会計」ボタンを選択します。
「会計配分」ウィンドウで不適切な値を更新するか、「エラー」ボタンを選択してこの配分明細のエラーすべてを表示します。
注意: 「配分エラー」ウィンドウではデータを編集できません。配分明細のエラーを修正するには、「会計配分」ウィンドウに戻る必要があります。
各エラーについてステップ3から8までを繰り返します。「自動インボイス」インタフェース表ですべてのエラーを修正した後、自動インボイスを再発行します。
注意: インタフェース表のすべてのレコードが検証にパスするまで、データの修正と「自動インボイス」の発行を何度も繰り返さなければならないことがあります。
「インタフェース例外」ウィンドウにナビゲートします。
「問合せ」メニューから「実行」を選択します。すべてのレコードとそのエラー・タイプが表示されます。
編集するレコードを選択してから、「詳細」を選択します。
注意: 選択したレコードの「明細タイプ」によって、表示されるウィンドウが決まります。たとえば、「明細タイプ」が「税金」の場合、Oracle Receivablesでは「インタフェース税金明細」ウィンドウが表示され、「販売実績」の場合は「販売実績」ウィンドウが表示され、「明細」の場合は「インタフェース明細」ウィンドウが表示されるという具合です。
このレコードに不足している情報を入力するか、無効なデータを更新します。このレコードに関連付けられたすべてのエラーを表示するには、「エラー」ボタンを押します。
このレコードのエラーを検討し、前のウィンドウに戻って変更を加えます。
たとえば、レコードの明細タイプが「販売実績」の場合は、「販売実績」ウィンドウに戻って、レコードを更新します。
作業内容を保存します。
他のエラーを修正するには、「インタフェース例外」ウィンドウに戻って、ステップ3から5までを繰り返します。
関連項目
自動インボイスは、他の財務システムから取引データをインポートおよび検証し、Oracle Receivablesで請求書、デビット・メモ、クレジット・メモおよび対顧客勘定クレジットを作成するための強力でフレキシブルなツールです。カスタム・フィーダ・プログラムを使用して、外部システムから「自動インボイス」インタフェース表に取引データを転送します。次に自動インボイスでは、インタフェース表からデータが選択され、Oracle Receivables内に取引が作成されます。Oracle Receivablesでは、データの整合性を確保するため、無効な情報を持つ取引が拒否されます。
自動インボイスでは、支払請求書に対するクレジットをインポートするときに入金処理も開始できます。
自動インボイスでは、「顧客インタフェース」を同時に、または別個に実行することができます。
注意: 請求ワークフロー・アクティビティでは、取引情報がOracle Order ManagementからOracle Receivablesの「自動インボイス」表に転送されます。詳細は、『Oracle Order Managementユーザーズ・ガイド』の請求処理に関する項を参照してください。
関連項目
次の図は、どのように取引情報がOracle Receivables表にインポートされるかを示したものです。
自動インボイスを使用した取引情報のインポート

この図の説明は、「自動インボイス概要図の説明」を参照してください。
関連項目
自動インボイスのためのOracle Receivablesの準備
『Oracle Receivables Reference Guide』の自動インボイス表と列の摘要に関する項
「自動インボイス」プログラムを確実に正しく作動させるため、インポートするすべての新規データに対してOracle Receivablesを準備する必要があります。当初システムにおいて、Oracle Receivablesで未定義の設定データが使用される場合、「自動インボイス」を使用する前にそのデータをOracle Receivablesで定義する必要があります。次の設定データに特に注意してください。
当初システムにOracle Receivablesで未定義の顧客データが含まれている場合は、顧客を追加またはインポートします。
当初システムにおいてOracle Receivablesで未定義の通貨が使用されている場合、Oracle Receivablesに通貨を追加します。
Oracle Receivablesで定義されていない税金コードへの割当税率を追加または更新します。
特定所在地に出荷される製品の税率を追加または更新します。
顧客と品目の完全または一部免税を、追加または更新します。
当初システムにおいてOracle Receivablesで未定義のFOBポイント・コードが使用されている場合、Oracle ReceivablesにFOBコードを追加します。Oracle Receivablesの「参照」ウィンドウで、参照タイプがFOBのFOBポイント・コードを定義します。
当初システムにおいてOracle Receivablesで未定義の運送業者が使用される場合、運送業者コードをOracle Receivablesに追加します。
当初システムにおいてOracle Receivablesで未定義の支払条件が使用される場合、Oracle Receivablesに支払条件タイプを追加します。
当初システムにおいてOracle Receivablesで未定義の取引タイプが使用される場合、Oracle Receivablesに取引タイプを追加します。
当初システムにおいて、Oracle Receivablesで未定義のバッチ・ソースが使用される場合、Oracle Receivablesにバッチ・ソースを追加します。
当初システムにおいて、Oracle Receivablesで未定義の営業担当が使用される場合、Oracle Receivablesに営業担当を追加します。
当初システムにおいてOracle Receivablesで未定義の会計基準が使用される場合、Oracle Receivablesに会計基準を追加します。
当初システムにおいてOracle Receivablesで未定義の単位が使用される場合、Oracle Receivablesに単位を追加します。
「自動インボイス」の効率を上げる必要があり、このときGL_CODE_COMBINATIONS表に索引がすでに存在する場合、索引に指定した値を「会計フレックスフィールド」調整セグメントとして使用します。連結索引を定義した場合は、連結索引の最初の列を使用します。
GL_CODE_COMBINATIONS表に索引が存在しない場合、「会計フレックスフィールド」調整セグメントに最も適した値でセグメントを入力します。「システム・オプション」ウィンドウで、「会計フレックスフィールド」調整セグメントを定義します。
「自動インボイス」の効率を上げる必要があり、このときMTL_SYSTEM_ITEMS表に索引がすでに存在する場合、索引に指定した値を「システム品目フレックスフィールド」調整セグメントとして使用します。連結索引を定義した場合は、連結索引の最初の列を使用します。
MTL_SYSTEM_ITEMS表に索引が存在しない場合、「システム品目フレックスフィールド」調整セグメントに最も適した値でセグメントを入力します。「システム・オプション」ウィンドウで、「システム品目フレックスフィールド」調整セグメントを定義します。
「自動インボイス」の効率を上げる必要があり、このときRA_TERRITORIES表に索引がすでに存在する場合、索引に指定した値を「地域フレックスフィールド」調整セグメントとして使用します。連結索引を定義した場合は、連結索引の最初の列を使用します。
RA_TERRITORIES表の索引が存在しない場合、「地域フレックスフィールド」調整セグメントに最も適した値でセグメントを入力します。「システム・オプション」ウィンドウで、「地域フレックスフィールド」調整セグメントを定義します。
「システム・オプション」ウィンドウで、「自動インボイス」に対してSQLトレースを起動するかどうか指定します。SQLトレースは、「自動インボイス」の実行速度が遅い場合、トラブルシューティングに使用できます。
「システム・オプション」ウィンドウで、「自動インボイス」の完了後にOracle Receivablesによって自動的に「自動インボイス・パージ・プログラム」を実行するかどうかを指定します。パージ・プログラムでは、Oracle Receivables表に正常に転送された一時インタフェース表からのレコードのみが削除されます。「インタフェース表のパージ」システム・オプションが「No」に設定されている場合、レコードを削除するには「自動インボイスの実行」ウィンドウから「自動インボイス・パージ・プログラム」を発行する必要があります。
「システム・オプション」ウィンドウには、検証用に「自動インボイス」を配賦する最大メモリー量を入力できます。デフォルトは65535バイトです。「自動インボイス」を実行すると、「scratch_memoryのメモリ配分が失敗しました。」というメッセージが表示された場合は、小さい方の数を入力します。「指定した部分のメモリが不足しているので、1行も格納できません」というメッセージが表示された場合は、大きい方の数を入力します。
「システム・オプション」ウィンドウで、「自動インボイス」ログ・ファイルに表示する詳細の度合いを示す0から3までの数字を入力します。日々のビジネス・ニーズへの対応とパフォーマンス向上を目的とする場合は、レベルを0に設定します。自動インボイスの実行時にエラーが発生する場合は、メッセージ・レベルを3に設定して、ログにエラーの詳細を表示します。自動会計固有の情報を表示するには、10を入力します。
メッセージ・レベル0では、ログ・ファイルの次の入力が表示されます。
製品バージョン
プログラム名
自動インボイス開始時刻
自動インボイス・コンカレント要求引数
エラーおよび警告メッセージ
自動インボイス終了時刻
自動インボイス論理手順
メッセージ・レベル1では、上記の入力すべてに加えて、次が表示されます。
時刻スタンプ機能ラベル
メッセージ・レベル2では、上記の入力すべてに加えて、次が表示されます。
配賦済み配列のサイズ
動的SQL文
更新、挿入および削除された行数
メッセージ・レベル3では、上記の入力すべてに加えて、次が表示されます。
方法IV SQL配列値
メッセージ・レベル10では、上記の入力すべてに加えて、次が表示されます。
自動会計デバッグ情報
当初システムにおいてOracle Receivablesで未定義の値が使用される場合、「会計フレックスフィールド」セグメント値をOracle Receivablesに追加します。値を追加する「会計フレックスフィールド」セグメント名と、セグメント値そのものを入力します。セグメント値を使用可能にします。
Oracle Receivablesでは、「取引フレックスフィールド」によって、ユーザーが「自動インボイス」でインポートする各取引と取引明細が識別されます。 「取引フレックスフィールド」は、取引明細への照会やリンクにも使用されます。
明細レベル「取引フレックスフィールド」を定義するには、「付加フレックスフィールド・セグメント」ウィンドウの「タイトル」フィールドで明細レベル「取引フレックスフィールド」を問い合わせ、この「取引フレックスフィールド」のコンテキストとセグメントを入力します。ヘッダー・レベルで「取引フレックスフィールド」を定義するには、「請求書取引フレックスフィールド」を問い合わせ、この「取引フレックスフィールド」のコンテキストとセグメントを入力します。ヘッダー情報を参照する明細レベル「取引フレックスフィールド」のすべてのセグメントは、ヘッダーレベル「取引フレックスフィールド」にも存在しなければなりません。たとえば、明細レベル「取引フレックスフィールド」を4つのセグメントで定義し、最後の2つのセグメントのみが明細レベル情報を参照する場合、ヘッダー「取引フレックスフィールド」を最初の2つのセグメントを使用して定義します。明細レベルとヘッダー・レベル両方の「取引フレックスフィールド」を定義しなければなりません。
「参照」および「取引フレックスフィールドへのリンク」を作成していない場合、Oracle Receivablesでは「明細取引フレックスフィールド」体系を使用して、異なる明細がリンクおよび参照されます。この場合、「参照」および「リンク先」取引を別々に定義する必要はありません。
ただし、カスタム・フォームを作成して、「参照」および「取引フレックスフィールドへのリンク」を表示するインタフェース・データを入力する予定がある場合は、「付加フレックスフィールド・セグメント」ウィンドウで取引フレックスフィールドを定義する必要があります。これらのフレックスフィールドには、明細レベルの取引フレックスフィールドと同じフレックスフィールド体系が必要です。関連項目: 取引フレックスフィールド
地域を使用する場合、「自動インボイス」を使用する前に、地域フレックスフィールド体系を作成します。関連項目: 『Oracle Receivablesインプリメンテーション・ガイド』の地域フレックスフィールドに関する項
「自動インボイス」で使用するソート・ルールを定義して、取引明細のソート順を決定します。明細ソート・ルールを定義しないと、「自動インボイス」では取引の明細が無作為にソートされます。関連項目: 『Oracle Receivablesインプリメンテーション・ガイド』の自動インボイス明細ソート・ルールに関する項
追加グループ化ルールを定義するか、またはOracle Receivablesのデフォルトのグループ化ルールを更新します。「自動インボイス」では、グループ化ルールを使用して、どのように取引を作成するかが決定されます。「自動インボイス」を使用する場合、グループ化ルールは必須です。
「自動インボイス」では、使用するグループ化ルールを決定する場合、次の階層が使用されます。
取引バッチ・ソース
顧客請求先サイト・レベル
顧客プロファイル・レベル
「システム・オプション」ウィンドウ
関連項目: 『Oracle Receivablesインプリメンテーション・ガイド』のグループ化ルールに関する項および取引を作成するためのグループ化ルール使用方法
重要: ヘッダー「取引フレックスフィールド」に渡す情報を使用可能にするには、使用するヘッダー「取引フレックスフィールド」を構成するセグメントでグループ化する必要があります。
「自動インボイス」を実行する前に、Oracle Receivablesの「自動会計」機能を設定する必要があります。「自動会計」では、請求書に対してデフォルトの収益、売掛/未収金、運送費、税金、未請求、期限外、仮勘定が決定されます。関連項目: 『Oracle Receivablesインプリメンテーション・ガイド』の自動会計に関する項
当初システムにおいて、Oracle Receivablesで未定義の営業担当が使用される場合、Oracle Receivablesに営業担当を追加します。関連項目: 『Oracle Receivablesインプリメンテーション・ガイド』の営業担当に関する項
自動インボイス・マスター・プログラムを発行すると、自動インボイスではインタフェース表(RA_INTERFACE_LINES_ALL、RA_INTERFACE_DISTRIBUTIONS_ALLおよびRA_INTERFACE SALESCREDITS_ALL)を最初に分析して、取引インポートの最善の実行方法を決定するために統計を自動的に収集できます。
自動インボイスで統計を自動的に収集する場合は、このプロファイル・オプションを「Yes」に設定します。
注意: インポートするレコード数およびワーカー・プロセス数が以前の自動インボイス発行時の数とほぼ同じである場合は、このプロファイル・オプションを「No」に設定してこの分析をスキップできます。
自動インボイスで入金処理のためにインポート済クレジットを自動的に評価する場合は、企業の与信ポリシーに従って、自動インボイス取引バッチ・ソースに「クレジットの入金処理」オプションを設定します。
関連項目: 『Oracle Receivablesインプリメンテーション・ガイド』の取引バッチ・ソースに関する項
関連項目
現場スタッフまたはOracleコンサルタントは、当初システムからOracle Receivablesの「自動インボイス」 インタフェース表に取引データを転送するカスタム・フィーダ・プログラムを最初に記述する必要があります。フィーダ・プログラムでは、当初システムから自動インボイスで読込可能な標準データ書式にデータを変換する必要があります。自動インボイスでは、インポート済データを、Oracle Receivablesの請求書、クレジット・メモ、対顧客勘定クレジットおよびデビット・メモに変換できます。
データの転送元の環境タイプにより、記述する必要があるフィーダ・プログラムのタイプが決まります。たとえば、取引データを非Oracleシステムから転送するフィーダ・プログラムを記述するには、SQL*Loader、SQL*Report、PL/SQLまたはPro*Cを使用できます。あるいは、前の会計処理システムから履歴データを転送する変換プログラムを記述できます。
SQL*LoaderおよびSQL*Reportは、あらゆるインポート・ニーズに対応できる強力かつ使いやすいツールです。ただし、インポート・プログラムの複雑さによっては、Pro*C、Pro*CobolおよびPro*Fortranなど、OracleのPro*言語製品を使用してプログラムを記述できます。
Oracle Receivablesでは、次の各表を使用して、他のシステムから転送したデータを一時的に格納します。
AR_INTERFACE_CONTS_ALL
RA_INTERFACE_LINES_ALL
RA_INTERFACE_SALESCREDITS_ALL
RA_INTERFACE_DISTRIBUTIONS_ALL
自動インボイスでは、5つ目の表であるRA_INTERFACE_ERRORS_ALLを使用して、検証に失敗したインタフェース・データに関する情報を格納します。これらの表の詳細は、『Oracle Receivables Reference Guide』の自動インボイス表と列の摘要に関する項を参照してください。
関連項目
自動インボイスでは、Oracle Receivablesとの互換性についてデータが検証されます。Oracle Receivablesのインタフェース表内の列がOracle Receivablesの適切な値および列を参照していることが確認されます。自動インボイス表の各列について自動インボイスで実行される検証の詳細は、『Oracle Receivables Reference Guide』の自動インボイス表と列の摘要に関する項を参照してください。
一部の列について、自動インボイスでは、Oracle Receivablesまたは他のOracleアプリケーションで値がすでに定義されていることが確認されます。
取引をOracle Receivablesにインポートする際に、タイプが「インポート済」である取引バッチ・ソースを使用します。関連項目: 『Oracle Receivablesインプリメンテーション・ガイド』の取引バッチ・ソースに関する項
「取引ソース」ウィンドウで参照されているすべてのフィールドの値をOracle Receivablesに渡す必要はありません。自動インボイスで特定のバッチ・ソースについて特定のデータをOracle Receivablesに渡さないようにするには、「取引ソース」ウィンドウで関連フィールドを「なし」に設定できます。
注意: この情報をOracle Receivables表にインポートしないようにバッチ・ソース上のフィールドを「なし」に設定しても、自動インボイスでデータが検証される可能性があり、データが無効な場合はそれを含む明細が拒否される可能性があります。
自動インボイスでは、指定した請求書番号が指定のバッチ・ソース内で一意であり、指定した文書番号が関連付けられた連番タイプ内で一意であることが確認されます。
また、自動インボイスでは、指定した取引フレックスフィールドが一意であることも確認されます。詳細は、「取引フレックスフィールド」を参照してください。
精度は、通常の通貨取引で使用される小数点以下の桁数です。自動インボイスでは、指定した金額および計上金額が指定の通貨について適正な精度を持つことが確認されます。
自動インボイスでは、特定の列値が相互に一致することが確認されます。これらの値は、単一のインタフェース表または複数のインタフェース表に含めることができます。
たとえば、会計基準を使用しないことをバッチ・ソースで指定した場合、自動インボイスでは、請求ルール、会計基準および会計基準期間について指定した値が無視されます。ただし、会計基準を使用する取引をインポートした場合、自動インボイスでは、これらの取引に請求ルールも含める必要があります。
次の場合、自動インボイスでは、日付の検証に加えて明細も検証および拒否されます。
会計基準の期間が重複している場合
会計基準の期間について一部の会計期間が存在しない場合
詳細は、「基準付き請求書のインポート」を参照してください。
無効な明細、非照合税率またはクローズ期間のGL記帳日が含まれる取引を、自動インボイスで拒否するか、部分的に作成するかを指定できます。たとえば、3つの請求書明細が含まれる請求書をインポートし、1つの明細が無効であるとします。このバッチ・ソースの「非照合明細」オプションの値が「請求書の作成」に設定されている場合、自動インボイスでは、2つの有効な明細のみが含まれる請求書が作成されます。続いて「取引」ウィンドウを使用して、拒否された明細を追加できます。「非照合明細」が「請求書の拒否」に設定されている場合、自動インボイスでは、この取引も取引の明細もインタフェース表にインポートされなくなります。検証に失敗した取引は、「自動インボイス検証レポート」に表示されます。
「取引ソース」ウィンドウの「自動インボイス処理オプション」タブ・リージョンに入力した値によって、無効なデータが含まれる取引の自動インボイスにおける処理方法が決定されます。関連項目: 『Oracle Receivablesインプリメンテーション・ガイド』の取引バッチ・ソースに関する項
自動インボイスでは、発行の取引バッチ・ソースにおける自動入金処理設定を確認して、クレジット・メモが検証されます。
自動入金処理を使用可能にした場合、自動インボイスによって各クレジット・メモおよび関連付けられた請求書が自動的に確認され、入金処理に対する適格性が判別されます。関連項目: クレジットの自動入金処理
自動入金処理を使用可能にしない場合、自動インボイスでは、標準請求書検証を使用してクレジット・メモが評価されます。
請求書の取引タイプで「超過消込不可」が許可されている場合、自動インボイスによってクレジット・メモが拒否されます。
クレジット請求書からの入金の消込を取り消し、自動インボイスを再実行してクレジット・メモを正常にインポートする必要があります。
関連項目: 自動インボイス例外の訂正
請求書の取引タイプで「超過消込」が許可されている場合、自動インボイスによってクレジット・メモがインポートされ、クレジット請求書からの入金を未消込とするまで、請求書は超過消込となります。
関連項目: 取引をクレジット中の現金未消込
関連項目: 『Oracle Receivablesインプリメンテーション・ガイド』の取引タイプに関する項
関連項目
データが検証され、Oracle Receivablesに転送された後、自動インボイス・インタフェース表で削除するかどうかを選択できます。自動インボイスで自動的にデータを削除する場合は、「システム・オプション」ウィンドウの「インタフェース表のパージ」チェック・ボックスをチェックします。データを後で自動インボイス・インタフェース表から削除する場合は、このチェック・ボックスをチェックしないでください。自動インボイス・パージ・プログラムは、いつでも「自動インボイスの実行」ウィンドウから実行できます。
自動インボイス・パージ・プログラムおよび「インタフェース表のパージ」システム・オプションでは、検証され、Oracle Receivablesに正常に振り替られたデータのみが削除されます。
自動インボイスは、付加価値税(VAT)など、売上税および他の課税要項を満たすために必要な機能性を備えています。税金コード明細、免税明細を振り替えるか、あるいは税金計算フローチャートによって決定される階層によって自動インボイスで税率を自動的に決定できます。自動インボイスでは、顧客または品目免税、または品目税例外をすべて考慮して、税率が決定されます。
クローズ済会計期間の取引を振り替えるには自動インボイスを使用します。Receivablesでは、勘定科目配分の決定に、次のオープン会計期間の第1日目がデフォルト日付として自動的に使用されます。関連項目: GL記帳日の修正
自動インボイスでは、ユーザーが指定するグループ化および請求書明細ソート・ルールを使って、請求書、デビット・メモ、クレジットメモ、および対顧客勘定クレジットが作成されます。自動インボイスでは、Oracle Receivablesに取引を作成する前に、データが有効であることが確認されます。
自動インボイスでは、取引の請求書と計上日の決定方法を選択できます。ユーザーのフィーダ・プログラムによって、これらの日付を直接インタフェース表にロードするか、またはこの「日付」フィールドを空白のままにして、Oracle Receivablesの単純なアルゴリズムによって請求書と計上日を決定します。関連項目: 日付の決定
自動インボイスでは、手動で入力した請求書と同様に、取引約定に対して請求書を作成できます。
「自動インボイスの実行」ウィンドウを使用して自動インボイスを発行します。自動インボイスによって取引データが必要なデータ書式に変換され、すべてのデータがReceivablesの検証に合格した場合は、自動インボイスを1ステップで実行できます。
ただし、フィーダ・プログラムで無効なデータを含むインタフェース表がロードされると、自動インボイス実行レポートおよび自動インボイス検証レポートの両方で検証エラーが示されます。この場合は、インタフェース表のデータを変更することでエラーを訂正した後、訂正済のデータに対して自動インボイスを再実行する必要があります。
関連項目: 自動インボイスの実行
自動インボイスは、事前グループ化、グループ化、および振替の3つの主な段階に分けられます。
自動インボイスでは、事前グループ化の段階で明細レベルのすべてのデータ、およびグループ化に関係しないその他のあらゆるデータが検証されます。例として、取引タイプが有効であるか、振り替えした各運送費明細に1つの運送費勘定のみが存在するかなどが検証されます。
グループ化の段階では、自動インボイスで明細がグループ化ルールに基づいてグループ化され、また明細のグループ化方法に依存するヘッダー・レベル・データが検証されます。検証例として、バッチ・ソースに指定した超過消込基準の検証、取引約定に基づく請求書のGL記帳日が、取引約定のGL記帳日より前ではないことの検証などがあります。自動インボイスで取引が間違ってグループ化された場合は、使用中のグループ化ルールをチェックして、このルールに含まれる必須属性とオプション属性に特に注意してください。詳細は、「取引を作成するためのグループ化ルール使用方法」を参照してください。
振替段階において、自動インボイスでは税金のデフォルトや自動会計データなどのOracle Receivables表中に存在する情報が検証されます。
自動インボイス実行レポートは、取引要約情報の検討に使用します。このレポートは、自動インボイスを実行するたびに自動的に作成されます。自動インボイス実行レポートには、インポートに成功または失敗した取引、販売実績および配分明細の合計数が一覧表示されます。関連項目: 自動インボイス検証
自動インボイス実行レポートには、自動的に処理された入金の詳細リストも含まれています。このリストには、ポリシーに従って処理された入金、および払戻が不可能であったために対顧客勘定に記録された入金が表示されます。関連項目: クレジットのための自動入金処理
注意: 無事処理された明細の数が、選択数より小さく、検証に失敗した明細が何もないことがあります。これは、請求書のクレジット・メモと請求書が、同じバッチに投入され、そのクレジットメモが先に選択された場合に起こります。請求書はまだ処理されていないので、インポート中はクレジットメモが未処理となりますが、失敗にはなりません。未処理のクレジット・メモは、インタフェース表に残り、自動インボイスを次回発行する時に処理されます。この例では、実行レポートの「インタフェース明細」部分が次のように表示されます。
選択: 9
処理完了: 8
失敗した検証: 0
検証に失敗したレコードがある場合は、自動インボイス検証レポートも自動的に生成されます。このレポートには、検証に失敗した取引、販売実績、配分明細のそれぞれに関連付けられたエラー・メッセージのすべてが表示されます。このレポートには、Receivablesが入金処理対象として選択できなかった請求書とその事由も表示されます。
この情報を使用すると、変更が必要なレコードを識別できます。次の項の「エラー訂正」を参照してください。
自動インボイスでは、各明細について、エラーが起きたときその明細が置かれていた段階についてのエラー・メッセージしか表示されません。たとえば、明細処理が事前グループ化段階で検証に失敗すると、自動インボイスでは、事前グループ化段階で起こったすべてのエラーについてのメッセージが表示されます。同様に、明細がすでに振替段階にあって処理に失敗すると、自動インボイスでは、振替段階で起こったすべてのエラー・メッセージが表示されます。
販売実績または配分エラーが生じると、自動インボイスでは、それらのエラーは別の部分に印刷されます。これらの部分は各行の下に表示されます。
この部分には、無効な営業グループIDを含む失敗した取引明細もレポートされます。
このレポートの最後には、「却下取引の合計」部分が出力されます。関連項目: 自動インボイス・レポート
「自動インボイス検証レポート」および「インタフェース例外」ウィンドウを使用して、自動インボイス検証に失敗したレコードを検討します。エラーによっては、Oracle Receivables、フィーダ・プログラム、またはインタフェース表にインポートされたレコードを変更する必要があります。たとえば、請求書に指定された営業担当がOracle Receivables内に存在していないという旨のエラー・メッセージを受け取った場合は、Oracle Receivablesに営業担当を追加するか、またはOracle Receivablesが認識する営業担当のみを転送するようにフィーダ・プログラムを変更することができます。インタフェース表内の無効なレコードを変更するには、「インタフェース明細」ウィンドウを使用します。関連項目: 自動インボイス例外の訂正
自動インボイスでは、Oracle Receivablesにインポートする各取引が確実に識別されます。「取引フレックスフィールド」を使うと、Oracle Receivablesの取引を、元々発生したシステムに戻って調査するための情報をたどることができます。
自動インボイスでは、ユーザーが以前に処理した取引を参照できるように、各取引フレックスフィールドが一意であることが確認されます。たとえば、クレジットメモをインポートしている場合は、クレジットメモの取引フレックスフィールドを使用して、貸方記入されている取引を参照します。また、取引フレックスフィールドを使用して、他の取引明細および税金と運送費の明細に取引明細をリンクできます。関連項目: 取引フレックスフィールド
関連項目
この項で親顧客情報に関して言及しているすべての内容は、請求先顧客の親が1つのみであり、関連が相互でない場合にのみ適用されます。たとえば、明細の請求先顧客に複数の親がある場合、その下の明細1および2は適用されません。
引き渡す入金方法が手動なのか自動なのかに関係なく、自動インボイスで、入金方法が請求先顧客/サイトに属するか、請求先顧客/サイトの親(存在する場合)に属するかが検証されます。さらに、入金方法に取引通貨の銀行口座を少なくとも1つ含めるか、その複数通貨入金フラグを「Yes」に設定する必要があります。
入金方法を渡さない場合、自動インボイスでは、次の階層を使用して入金方法がデフォルト設定されます。
親の主要サイトに割り当てられた主要入金方法
親顧客に割り当てられた主要入金方法
明細の請求先サイトに割り当てられた主要入金方法
明細の請求先顧客に割り当てられた主要入金方法
顧客銀行口座を渡しており、取引に関連付けられた入金方法が自動である場合、自動インボイスでは、顧客銀行口座が次のいずれかに属するかどうかが検証され、属さない場合は明細が拒否されます。
親の主要サイトに割り当てられた銀行口座
親顧客に割り当てられた銀行口座
明細の請求先サイトに割り当てられた銀行口座
明細の請求先顧客に割り当てられた銀行口座
顧客銀行口座を渡しておらず、取引に関連付けられた入金方法が自動である場合、自動インボイスでは、次の階層を使用して顧客銀行口座がデフォルト設定されます。
親の主要サイトに割り当てられた主要銀行口座
親顧客に割り当てられた主要銀行口座
明細の請求先サイトに割り当てられた主要銀行口座
明細の請求先顧客に割り当てられた主要銀行口座
自動インボイスで顧客銀行口座をデフォルト設定できない場合、明細は拒否されます。
自動インボイスは、顧客銀行口座を使用して、支払顧客が親なのか請求先顧客なのかを判別します。支払顧客が請求先顧客である場合、支払サイトは請求先サイトです。支払顧客が親である場合、支払サイトは親の主要請求先サイトです。顧客銀行口座は手動入金方法には使用されません。
関連項目
『Oracle Receivablesインプリメンテーション・ガイド』の入金方法に関する項
自動インボイスでは、運送費明細を個別の取引として、または他の取引への参照として振り替えることができます。RA_INTERFACE_LINES_ALLの列LINK_TO_LINE_ATTRIBUTE1-15およびLINK_TO_LINE_CONTEXTによって、運送費明細が個別の運送費のみの取引となるか、別の取引の一部となるかが決定されます。
別の取引明細を参照する運送費明細を振り替えるには、この運送費明細に参照させる取引の明細取引フレックスフィールドを入力します。運送費明細を振り替えるには、RA_INTERFACE_LINES.LINE_TYPEが「FREIGHT」に設定される必要があります。
運送費のみの明細を振り替えるには、ダミーの明細を参照する明細取引フレックスフィールドを入力します。このダミー明細のRA_INTERFACE_LINES.MEMO_LINE_IDまたはRA_INTERFACE_LINES.MEMO_LINE_NAMEには値が必要であり、メモ明細にAR_MEMO_LINES.LINE_TYPE = 'FREIGHT'が含まれる必要があります。さらに、この明細の「数量」、「単価」および「金額」フィールドはNULLまたはゼロである必要があります。
運送費に対する自動会計が標準明細に基づいている場合、ヘッダー・レベル運送費が含まれる請求書はインポートできません。この場合の運送費明細はすべて、自動会計で勘定科目が決定されるように、標準明細に関連付けられる必要があります。取引の明細タイプが「LINE」であり、在庫品目が運送費(FRT)である場合、自動会計では収益タイプ勘定ではなく運送費タイプ勘定に対して会計基準が使用されます。
自動インボイスでは、インポート済の請求書について最大で1つの運送費明細か、取引明細ごとに最大で1つの運送費明細が設定可能であり、その両方は設定されないようになっています。1つの請求書に適用済の複数ヘッダー運送費明細がインポートされると、自動インボイスでは、すべての運送費明細が同じ運送費勘定に適用されるかどうかが検証され、1つの明細に連結されます。この連結された運送費明細は、コア売掛/未収金表に振り替えられるこの請求書に対する唯一の運送費明細となります。すべての運送費明細が同じ運送費勘定に適用されない場合、自動インボイスによって請求書が拒否されます。
自動インボイスで生成されるログ・ファイルには、監査目的で次の運送費属性がリストされます。
customer_trx_id
連結用に選択された運送費明細のinterface_line_id
運送費合計
Oracle Order Managementで作成された受注の運送費に対する税金を計算する場合、プロファイル・オプション「税金: 運送用在庫品目」を「Yes」に設定します。このようにすると、Oracle Order Managementで運送費の請求書にタイプ「明細」の明細品目が作成されるため(「出荷確認」ウィンドウ)、課税できるようになります。Oracle Receivablesから請求書を印刷する場合、税額は最後の請求書明細として摘要「運送費」とともに表示されます。
「税金: 運送用在庫品目」を「Yes」に設定した場合、プロファイル・オプション「税金: 売上としての運送費請求」も「Yes」に設定します。このプロファイル・オプションにより、運送費に適用される税率を制御できます。このためには、ユーザー・タイプが「運送業者」の在庫品目を定義し、このオプションを新規在庫品目に設定します。Oracle Order Managementでこの在庫品目が識別されると、運送サービスで適用可能な税率および会計を制御するために、この在庫品目に割り当てられた税金コードまたは品目例外が使用されます。印刷済請求書では、Oracle Receivablesにより、ユーザーが定義した在庫品目から、デフォルト摘要「運送費」ではなく運送費明細の摘要が導出されます。
関連項目
『Oracle Receivablesインプリメンテーション・ガイド』の自動会計に関する項
『Oracle Receivablesインプリメンテーション・ガイド』の運送業者に関する項
自動インボイスを使用すると、課税上のあらゆるニーズに対応する柔軟性が得られます。課税方法が「VAT」の場合、自動インボイス・インタフェース表で税金明細を振り替えるか、Oracle Receivablesで税金明細を自動計算できます。課税方法が「売上税」である場合、Oracle Receivablesでは常に税金が自動計算されます。ただし、タイプ「VAT」、「売上税」または「事業所」の税金コードを持つ追加税金明細の振替えを選択できます。
自動インボイスでは、税金明細を個別の取引として、または他の取引への参照として振り替えることができます。税金明細を振り替える場合、タイプ「VAT」、「売上税」または「事業所」の税金コードに関連付けられた税金明細のみ振り替えることができます。RA_INTERFACE_LINES.LINK_TO_LINE_ATTRIBUTE1-15列およびRA_INTERFACE_LINES.LINK_TO_LINE_CONTEXT列によって、税金明細が個別税のみの取引となるか、別の取引の一部となるかが決定されます。
別の取引明細を参照する税金明細を振り替えるには、この税金明細が参照する取引の明細取引フレックスフィールドを入力します。税金明細を振り替えるには、RA_INTERFACE_LINES.LINE_TYPEが「TAX」に設定される必要があります。
税金のみの明細を振り替える場合、ダミーの明細を参照する明細取引フレックスフィールドを入力します。このダミー明細のRA_INTERFACE_LINES.MEMO_LINE_IDまたはRA_INTERFACE_LINES.MEMO_LINE_NAMEには値が必要であり、メモ明細にAR_MEMO_LINES.LINE_TYPE = 'TAX'が含まれる必要があります。さらに、この明細の「数量」、「単価」および「金額」フィールドはNULLまたはゼロである必要があります。
優先番号がある税金明細は、TAX_PRECEDENCE列に値を指定すると、自動インボイスから渡すことができます。次の表では、1つの請求書明細に関連付けられた5つの税金明細を示しています。1つ目の明細は優先されておらず、次の2つの明細は優先度1、残りの2つの明細は優先度2です。「明細タイプ」、「税金コード」および「税金優先度」列に対するインタフェース表の値は、次のようになります。
| LINE_TYPE | TAX_CODE | TAX_PRECEDENCE |
|---|---|---|
| TAX | CODE1 | NULL |
| TAX | CODE2 | 1 |
| TAX | CODE3 | 1 |
| TAX | CODE4 | 2 |
| TAX | CODE5 | 2 |
自動インボイスで税金を計算する前に、特定の基準を満たす必要があります。
次の表では、予想される結果ごとに、インタフェース表に渡す必要がある税金情報を示しています。
| 必要とされる結果 | 明細タイプ | 税金コード | 税率/税額 | 免税 フラグ | 免税番号 | 免税事由 コード または 内容 | 注釈 |
|---|---|---|---|---|---|---|---|
| Oracle Receivablesでは、標準税金ロジックに基づいて税金を計算する必要があります。 | 明細 - この明細に税金明細が関連付けられていません | NULL | NULL | NULLまたは「S」 | NULL | NULLまたは「S」 | 税金明細を請求書明細とともに振り替えておらず、免税フラグがNULLまたは「S」の場合、Oracle Receivablesによって税金が自動計算されます。 |
| Oracle Receivablesで売上税を計算し、かつ追加税金コードを渡します。 | 税金 | 「VAT」または「売上税」タイプでは、一時的である必要があります。あるいは、「事業所」タイプでは、Oracle Lease Managementから請求書をインポートする場合にのみ、このような税金明細が許可されます。 | 税率または税額を渡す必要があります。 | NULLまたは「S」 | NULL | NULL | 請求書明細には2つの税金明細が作成されます。1つ目はOracle Receivablesで計算される事業所ベースの税金です。2つ目は自動インボイスから渡される税金明細です。 |
| 請求書明細の税金を免除し、システム・オプション「顧客免税使用」を「Yes」に設定します。 | 明細 | NULL | NULL | 「E」 | 免税番号の引渡し | 免税事由の引渡し | 免税番号がファイルに存在しない場合、Oracle Receivablesによって未承認の免税が作成されます。この請求書明細では税金は計算されません。 |
| 免税がファイルに存在する場合でも、請求書明細に課税が必要であるとします。 | 明細 | NULL | NULL | 「R」 | NULL | NULL | Oracle Receivablesによって標準ロジックどおりに税金が計算され、免税は無視されます。 |
売上税は、出荷先所在地に関連付けられた税率を使用して自動インボイスにより計算されます。売上税は、「システム・オプション」ウィンドウの「デフォルト国」フィールドで定義された国にある出荷先所在地についてのみ計算されます。Oracle Receivablesでは、顧客または品目の例外レートおよび免税を振り替えることができます。「売上税」明細は自動インボイス表に振り替えることはできません。
自動インボイスでは、税率の導出時に次の階層が使用されます。
出荷先/請求先所在地に割り当てられた税金コード
顧客レベルで定義された税金コード
品目レベルで定義された税金コード
「システム・オプション」ウィンドウで定義された税金コード(課税方法が「VAT」である場合)
自動インボイスで事業所に基づいて税金を計算しない場合は、line_type = 'Tax'を含む明細で税金コードを渡すことができます。税金コードはタイプ「VAT」または「売上税」が可能であり、一時的である必要があります。さらに、税金コードはタイプ「事業所」が可能ですが、こうした税金明細はOracle Lease Managementから請求書をインポートする場合のみ許可されます。
税金コードが一時的でない場合、「取引ソース」ウィンドウの「自動インボイス・オプション」タブ・リージョンにある「非照合税率」フィールドを「訂正」に設定する必要があります。また、税率または税額もコードとともに渡す必要があります。免税がある場合は、税率または税額に含めて計算する必要があります。
関連項目
会計処理基準が「発生主義」である場合、自動インボイスを使用して、会計基準および請求ルール付き請求書をインポートします。現金主義会計では支払の入金時のみ収益を認識するため、会計処理基準が「現金主義」の場合、自動インボイスでは基準付き請求書がすべて拒否されます。したがって、基準付き請求書は支払入金前の複数の期間にわたって収益を配分するよう設計されているため、「現金主義」方法に適用できません。
会計基準により、請求書明細の収益配分が記録される会計期間が決定されます。請求ルールにより、売掛/未収金額が記録される会計期間が決定されます。
Oracle Receivablesでは、前受請求および未収請求の2つの請求ルールが提供されます。会計配分および各勘定に配賦されたパーセントが含まれるモデル勘定を自動インボイスに指定します。Oracle Receivablesで会計仕訳を作成するには、「収益認識」プログラムを実行する必要があります。自動インボイスによる会計基準および請求ルールの使用の影響については、次の例を参照してください。会計期間ごとに「収益認識」プログラムをすでに実行していると仮定しています。
請求書 #101
取引金額: $300
(RA_INTERFACE_LINES.QUANTITY (3)*
RA_INTERFACE_LINES.UNIT_SELLING_PRICE ($100))
会計基準: 月次
(RA_INTERFACE_LINES.ACCOUNTING_RULE_ID)
請求ルール: 前受請求
(RA_INTERFACE_LINES.INVOICING_RULE_ID)
期間(期間数): 3
(RA_INTERFACE_LINES.ACCOUNTING_RULE_DURATION)
基準開始日: 1/1/XX
(RA_INTERFACE_LINES.RULE_START_DATE)
支払条件: 30日以内全額支払
(RA_INTERFACE_LINES.TERM_ID)
Oracle Receivablesでは、この表に示すように次の会計仕訳が作成されます。
| 期間 | 勘定科目 | 借方 | 貸方 |
|---|---|---|---|
| 1/1/XX | 売掛/未収金 | 300 | |
| 1/1/XX | 前受収益 | 200 | |
| 1/1/XX | 収益 | 100 | |
| 2/1/XX | 前受収益 | 100 | |
| 2/1/XX | 収益 | 100 | |
| 3/1/XX | 前受収益 | 100 | |
| 3/1/XX | 収益 | 100 |
上の例では、この請求書の取引日は1/1/XXであり、支払期日は1/31/XXです。請求ルール「未収請求」を選択した場合、上の例の取引日は3/1/XXであり、支払期日は3/31/XXです。
Oracle Receivablesで基準付き請求書のインポート時にGL記帳日が決定される方法の詳細は、「日付の決定」を参照してください。
次の場合、自動インボイスでは、日付の検証に加えて明細も検証および拒否されます。
会計基準の期間が重複している場合
会計基準の期間について一部の会計期間が存在しない場合
関連項目
Oracle Receivablesでは、自動インボイスを使用してレガシー・システムから取引データをインポートして検証し、クレジット・メモを作成できます。Oracle Receivablesでは、次のものをインポートできます。
対顧客勘定クレジット・メモ(請求書にリンクしていないクレジット・メモ)
基準付き請求書に対するクレジット・メモ
基準のない請求書に対するクレジット・メモ
注意: 自動インボイスを使用してクレジット・メモをチャージバックに適用することはできません。
すでに支払済の請求書に対してクレジット・メモをインポートできます。支払済取引に対してクレジット・メモをインポートする場合、自動インボイスではこれらのクレジットを自動入金処理について評価できます。関連項目: クレジットのための自動入金処理
ただし、請求書の取引タイプで超過消込が許可されておらず、「クレジットの入金処理」機能が使用可能にされていない場合、入金から請求書を未消込にするまで、自動インボイスによって関連クレジット・メモがインタフェース表に残されます。関連項目: 『Oracle Receivablesインプリメンテーション・ガイド』の取引タイプに関する項および自動インボイス検証
取引データをOracle Receivablesにインポートする際に必須またはオプションとなるフィールドを決定するには、自動インボイス表および列の摘要を使用します。インタフェース表内の値が必要な列には特に注意してください。関連項目: 『Oracle Receivables Reference Guide』の自動インボイス表と列の摘要に関する項
詳細は、「取引フレックスフィールド」を参照してください。
対顧客勘定クレジット・メモ(請求書にリンクされていない)を作成するには、RA_INTERFACE_LINES_ALL表のREFERENCE_LINE_ATTRIBUTE1-15列、REFERENCE_LINE_CONTEXT列またはREFERENCE_LINE_ID列に移入しないでください。
次に示す2つの方法のいずれかによって、クレジット・メモを請求書にリンクできます。
請求書のCUSTOMER_TRX_LINE_IDをRA_INTERFACE_LINES_ALL表のREFERENCE_LINE_ID列に移入します。
RA_INTERFACE_LINES_ALL表で、請求書のINTERFACE_LINE_ATTRIBUTE1-15列をREFERENCE_LINE_ATTRIBUTE1-15列に移入します。INTERFACE_LINE_ATTRIBUTE1-15列はRA_CUSTOMER_TRX_LINES_ALL表に格納されます。
さらに、請求書のINTERFACE_LINE_CONTEXT列をREFERENCE_LINE_CONTEXT列に移入する必要があります。INTERFACE_LINE_CONTEXT列はRA_CUSTOMER_TRX_LINES_ALL表に格納されます。
取引に対してクレジット・メモをインポートする場合、インポート対象クレジット・メモの「未回収売掛金」フラグが、クレジット対象取引の「未回収売掛金」フラグと一致することが、自動インボイスで確認されます。
基準付き請求書に対してクレジット・メモをインポートすると、自動インボイスでは、RA_INTERFACE_LINES_ALL.CREDIT_METHOD_FOR_ACCT_RULEに入力済の方法が使用され、元の請求書用に作成された会計仕訳の戻し処理方法が決定されます。「LIFO」、「PRORATE」または「UNIT」のいずれかを入力できます。「LIFO」を選択した場合、自動インボイスによって前期間から始まる会計仕訳が戻し処理されます。「PRORATE」を選択した場合、自動インボイスでは会計期間全体にクレジット金額が按分されます。「UNIT」を選択した場合、自動インボイスでは、RA_INTERFACE_LINES_ALL.LAST_PERIOD_TO_CREDIT列で指定された期間から開始して過去に溯り、特定の数量をクレジットできます。
基準のない請求書に対するクレジット・メモをインポートすると、自動インボイスでは、まずインタフェース表のGL記帳日がクレジット・メモのGL記帳日として使用されます。GL記帳日を渡さない場合、自動インボイスでは、「自動インボイスの実行」ウィンドウで指定したデフォルト日付が使用されます。クレジット・メモ明細には、クレジット・メモと同じGL記帳日が必ず必要です。
クレジット・メモのGL記帳日は、クレジット対象の請求書のGL記帳日以降にする必要があります。また、クレジット・メモのGL記帳日はオープン期間または先日付期間に含める必要があります。
自動インボイスによってインポートされた基準のない請求書に対するクレジット・メモは、「クレジット・メモ」ウィンドウで手動入力したクレジット・メモと同様に動作します。たとえば、ユーザーがクレジット対象金額を渡すと、Oracle Receivablesですべての会計戻し処理仕訳が自動作成されます。また、Oracle Receivablesでは営業担当に割り当てられた販売実績および非収益実績が自動的に戻し処理されます。
クレジット・メモをインポートすると、自動インボイスでは、ユーザーが税金および運送費明細を超過消込しないことが確認されます。
関連項目
自動インボイスでは、延滞手数料明細付きデビット・メモおよび延滞手数料明細付きデビット・メモに対するクレジット・メモが処理されます。
LINE_TYPE = 'CHARGES'の場合、自動インボイスでは、この明細の税金、運送費または販売実績は計算されません。また、RA_INTERFACE_DISTRIBUTIONS_ALLで延滞手数料の配分を振り替える場合、ACCOUNT_CLASSは「CHARGES」である必要があります。
自動インボイスで延滞手数料明細を振り替えるには、RA_INTERFACE_LINES_ALLに次の列の値を入力しないでください。
INVOICING_RULE_ID
INVOICING_RULE_NAME
ACCOUNTING_RULE_ID
ACCOUNTING_RULE_NAME
ACCOUNTING_RULE_DURATION
RULE_START_DATE
UOM_CODE
UOM_NAME
AMOUNT
デビット・メモの延滞手数料明細を振り替える場合、RA_INTERFACE_LINES.QUANTITYは1である必要があります。延滞手数料明細付きデビット・メモに対してクレジット・メモを振り替える場合、RA_INTERFACE_LINES.QUANTITYは-1または1である必要があります。
関連項目
自動インボイスでは、自動インボイスでインポートする取引にGL勘定科目を割り当てる方法を決定できます。自動インボイス・インタフェース表で勘定科目を振り替えるか、自動会計で勘定科目を決定できます。勘定科目のいくつかを振り替え、自動会計で残りを決定することもできます。
勘定科目の引渡しを選択した場合、自動インボイスではバッチ・ソースが参照され、会計フレックスフィールド・セグメント値またはIDが必要かどうかが決定されます(「会計情報」タブ・リージョンの「取引ソース」ウィンドウでこの情報を指定します)。
セグメント値を渡す場合、RA_INTERFACE_DISTRIBUTIONS.SEGMENT1-30に値を割り当てる必要があります。有効セグメントにのみ値を割り当てます。たとえば、6つの会計フレックスフィールド・セグメントを使用可能にした場合、SEGMENT1-6で値を割り当てる必要があります。
IDを渡す場合、RA_INTERFACE_DISTRIBUTIONS_ALL.のCODE_COMBINATION_IDに会計フレックスフィールドのコード組合せIDを入力する必要があります。
重要: コード組合せを動的に挿入する自動インボイスのオプションが必要な場合は、セグメントを渡す必要があります。
イベント基準の収益管理を使用してインポート済取引の収益を自動的に遅延または認識し、これらの取引明細のIDをOracle Receivablesに渡す場合は、RA_INTERFACE_LINES_ALL.OVERRIDE_AUTO_ACCOUNTING_FLAGがYであることを確認します。
自動会計でGL勘定科目を決定する必要がある場合、RA_INTERFACE_DISTRIBUTIONS_ALLに値を入力しないでください。自動インボイスでは、各明細について渡す情報を使用して、すべての勘定科目が決定されます。収益、売掛/未収金、税金、運送費、決済、未請求売掛金および前受収益勘定を定義するには、「自動会計」ウィンドウを使用します。
注意: 運送費の自動会計が標準明細に基づいている場合、ヘッダー・レベル運送費が含まれる請求書はインポートできません。取引の明細タイプが「LINE」であり、在庫品目が運送費「FRT」である場合、自動会計では収益タイプ勘定ではなく運送費タイプ勘定に対して会計基準が使用されます。
注意: 自動会計が営業担当からセグメントを導出するよう設定されている場合、RA_INTERFACE_LINES_ALLの各請求書明細について、RA_INTERFACE_SALESCREDITS_ALLの行を渡す必要があります。これは、システム・オプション「営業担当必須」が「No」に設定されていても当てはまります。
関連項目
『Oracle Receivablesインプリメンテーション・ガイド』の自動会計に関する項
取引フレックスフィールドは、自動インボイスで取引および取引明細の識別に使用される付加フレックスフィールドです。Oracle Receivablesでは、取引フレックスフィールド体系の構築方法および取得できる情報を決定できます。
取引フレックスフィールドには、次の4つのタイプがあります。
明細取引フレックスフィールド
参照取引フレックスフィールド
リンク先取引フレックスフィールド
請求書取引フレックスフィールド
自動インボイスを使用する場合、明細取引フレックスフィールドを定義する必要があります。明細取引フレックスフィールドは取引明細ごとに一意であるため、明細取引フレックスフィールドを使用して他の明細を参照およびリンクできます。自動インボイスでは、請求書のインポート時には常にリンク先および参照情報の両方に対して明細取引フレックスフィールド体系が使用されます。リンク先、参照および請求書取引フレックスフィールド体系を明示的に定義する必要があるのは、この情報がカスタム・ウィンドウに表示される場合にかぎります。
Oracle Receivablesでは、請求書値リストの「参照」列に請求書取引フレックスフィールド情報を表示するオプションがあります。表示する請求書取引フレックスフィールド・セグメントを選択するには、「取引ソース」ウィンドウの「参照フィールド・デフォルト値」フィールドを使用します。たとえば、請求書値リストの使用時にインポート済請求書の受注番号を参照可能にする場合は、「取引ソース」ウィンドウの「参照フィールド・デフォルト値」フィールドで、受注番号を保持する取引フレックスフィールド・セグメントを割り当てる必要があります。これで受注番号が請求書値リストの「参照」列に表示されるようになります。
明細取引フレックスフィールドを定義するには、列INTERFACE_LINE_ATTRIBUTE1-15およびINTERFACE_LINE_CONTEXTを使用します。明細取引フレックスフィールドはインタフェース表内のレコードごとに一意であるため、レコード識別子として使用できます。
RA_INTERFACE_LINES_ALL表のINTERFACE_LINE_CONTEXT列で指定するコンテキストにより、自動インボイスによってINTERFACE_LINE_ATTRIBUTE1-15列に格納される情報が決定されます。Oracle Receivablesでは、自動インボイスで使用する他のOracleアプリケーション(Order Managementなど)のコンテキストが提供されます。自動インボイスを使用してレガシー・システムから取引をインポートする場合、明細取引フレックスフィールドに対して新しいコンテキストを定義し、これらの取引をOracleアプリケーションで発生した取引と区別できます。
参照取引フレックスフィールドの体系は、明細取引フレックスフィールドと同じです。
参照取引フレックスフィールドは、請求書にクレジット・メモを適用したり、特定の取引約定に請求書を関連付ける際に使用されます。たとえば、クレジット・メモに特定の請求書を参照させるには、クレジット・メモのREFERENCE_LINE_ATTRIBUTE1-15列およびREFERENCE_LINE_CONTEXT列を使用して、請求書の明細取引フレックスフィールドを入力します。請求書に特定の取引約定を参照させるには、請求書のREFERENCE_LINE_ATTRIBUTE1-15列およびREFERENCE_LINE_CONTEXT列を使用して、取引約定の明細取引フレックスフィールドを入力します。
リンク先取引フレックスフィールドの体系も、明細取引フレックスフィールドと同じです。
インタフェース表内の取引明細をまとめてリンクするには、リンク先取引フレックスフィールドを使用します。たとえば、特定の取引明細に関連付けられた税金および運送費をインポートする必要があるとします。特定の税金明細を特定の取引明細に関連付ける場合、税金明細のLINK_TO_LINE_ATTRIBUTE1-15列およびLINK_TO_LINE_CONTEXT列を使用して、請求書の明細取引フレックスフィールドを入力します。
明細取引フレックスフィールドと類似した体系を持つ新規フレックスフィールドを作成しますが、ヘッダー・レベル・セグメントのみを含めます。たとえば、明細取引フレックスフィールド体系に4つのセグメントがあり、最後の2つのセグメントに明細レベル情報が含まれる場合、最初の2つのセグメントのみを使用して請求書取引フレックスフィールドを定義します。請求書取引フレックスフィールドに含まれるセグメントは、自動インボイス・グループ化ルールに含める必要があります。
この例では、明細取引フレックスフィールドで記述されたレコードが「リンク先取引フレックスフィールド」または「参照取引フレックスフィールド」列を使用してインタフェース表にリンクされる方法を示しています。
2つの明細レコード、1つのヘッダー運送費レコード、1つの税金レコードという計4つのレコードを持つ取引約定に対する請求書を検討します。請求書のレコードに対する取引タイプはINVです。
次の表では、この4つの請求書レコードがインタフェース表でどのように表されるかを示しています。明細取引フレックスフィールドのOM(Order Management)コンテキストに対して、2つのセグメントが使用可能にされています。コンテキストと2つのセグメントの組合せは、各レコードについて一意です。請求書は既存の取引約定に対するものであるため、2つの明細レコードのReference_line_id(参照ID)列には、取引約定の一意の識別子(customer_trx_line_id)が移入されます。
この表では、明細TFは明細取引フレックスフィールドを、リンク先TFはリンク先取引フレックスフィールドを、さらに参照TFは参照取引フレックスフィールドを意味します。また、Cont.はコンテキスト、Seg.はセグメント、さらにRefは参照を意味します。
| 明細 タイプ | 明細TFコンテキスト | 明細TFセグメント1 | 明細TFセグメント2 | リンク先TFコンテキスト | リンク先TFセグメント1 | リンク先TFセグメント2 | 参照TFコンテキスト | 参照TFセグメント1 | 参照TFセグメント2 | 参照 ID |
|---|---|---|---|---|---|---|---|---|---|---|
| 明細 | OM | A | 1 | C1 | ||||||
| 明細 | OM | A | 2 | C1 | ||||||
| 運送費 | OM | A | T1 | |||||||
| 税金 | OM | A | 3 | OM | A | 1 |
注意: 参照取引フレックスフィールドを使用して、取引約定に請求書をリンクすることもできます。
注意: 異なるコンテキストが含まれるレコードをまとめて1つの請求書にグループ化できます。関連項目: 取引を作成するためのグループ化ルール使用方法
税金レコードは、リンク先取引フレックスフィールドによって最初の明細レコードにリンクされます。運送費レコードはヘッダー・レベルであるため、明細レコードにはリンクされません。
ここで、前の請求書の運送費および最初の明細をクレジットするクレジット・メモについて検討します。クレジット・メモの取引タイプはCMです。次の表では、クレジット・メモを請求書にリンクする際に参照取引フレックスフィールドがどのように使用されるかを示しています。
この表では、明細TFは明細取引フレックスフィールドを、リンク先TFはリンク先取引フレックスフィールドを、さらに参照TFは参照取引フレックスフィールドを意味します。また、Cont.はコンテキスト、Seg.はセグメント、さらにRefは参照を意味します。
| 明細 タイプ | 明細TFコンテキスト | 明細TFセグメント1 | 明細TFセグメント2 | リンク先TFコンテキスト | リンク先TFセグメント1 | リンク先TFセグメント2 | 参照TFコンテキスト | 参照TFセグメント1 | 参照TFセグメント2 | 参照 ID |
|---|---|---|---|---|---|---|---|---|---|---|
| 運送費 | OM | A | T2 | OM | A | T1 | ||||
| 明細 | OM | A | T3 | OM | A | 1 |
注意: reference_line_id(「参照ID」列)を使用してクレジット・メモを請求書にリンクすることもできます。
自動インボイスでは、参照取引フレックスフィールドまたはreference_line_id(「参照ID」列)に値がないかぎり、取引タイプがCMであるすべてのレコードが対顧客勘定クレジットであると仮定しています。次の表では、明細取引フレックスフィールドで対顧客勘定クレジットがどのように表されるかを示しています。
この表では、明細TFは明細取引フレックスフィールドを、リンク先TFはリンク先取引フレックスフィールドを、さらに参照TFは参照取引フレックスフィールドを意味します。また、Cont.はコンテキスト、Seg.はセグメント、さらにRefは参照を意味します。
| 明細 タイプ | 明細TFコンテキスト | 明細TFセグメント1 | 明細TFセグメント2 | リンク先TFコンテキスト | リンク先TFセグメント1 | リンク先TFセグメント2 | 参照TFコンテキスト | 参照TFセグメント1 | 参照TFセグメント2 | 参照 ID |
|---|---|---|---|---|---|---|---|---|---|---|
| 明細 | OM | B | 1 |
請求書ヘッダーおよび明細の取引フレックスフィールド情報を問い合せる場合、「取引フレックスフィールド」列に索引を作成することをお薦めします。また、索引がないと自動インボイス・プログラムの検証部分の速度が低下する可能性があります。取引フレックスフィールドのヘッダーおよび明細情報に使用する表および列に対して、一意でない連結索引を定義する必要があります。表および列については次の表に示しています。
| 表 | 列 |
|---|---|
| RA_CUSTOMER_TRX_LINES_ALL | interface_line_attribute1-15 |
| RA_CUSTOMER_TRX_ALL | interface_header_ attribute1-15 |
| RA_INTERFACE_LINES_ALL | interface_line_attribute1-15 |
| RA_INTERFACE_DISTRIBUTIONS_ALL | interface_line_attribute1-15 |
| RA_INTERFACE_SALESCREDITS_ALL | interface_line_attribute1-15 |
作成する必要がある索引を判別するには、「付加フレックスフィールド・セグメント」ウィンドウにナビゲートしてから、明細取引フレックスフィールドを問い合せます。このフレックスフィールドの各コンテキストをメモし、各コンテキストについて、RA_INTERFACE_LINES_ALL表からインタフェース明細属性列を使用して使用可能にされているセグメントをメモします。
続いて、RA_CUSTOMER_TRX_LINES_ALL表およびRA_INTERFACE_LINES_ALL表の同じインタフェース明細属性列と、RA_CUSTOMER_TRX_ALL表の同じインタフェース・ヘッダー属性列について、一意でない連結索引を作成する必要があります。
次に、販売実績および会計情報をインポートする場合、RA_INTERFACE_SALESCREDITS_ALL表およびRA_INTERFACE_DISTRIBUTIONS_ALL表の同じインタフェース明細属性列について索引を作成します。販売実績および会計情報のインポートにこれらの表を使用する場合のみ、これらの索引を作成します。
たとえば、INTERFACE_LINE_ATTRIBUTE1-3を使用する取引フレックスフィールド・コンテキストを設定したとします。さらに、RA_INTERFACE_SALESCREDITS_ALL表に販売実績を移入しています。
最適なパフォーマンスを実現するには、次の各表について索引を作成する必要があります。
RA_CUSTOMER_TRX_ALL
RA_CUSTOMER_TRX_LINES_ALL
RA_INTERFACE_LINES_ALL
RA_INTERFACE_SALESCREDITS_ALL
作成する索引では、使用可能なセグメントを3つ参照する必要があります。たとえば、RA_CUSTOMER_TRX_LINES_ALL表について作成する索引は、次のようになります。
CREATE UNIQUE INDEX index_name ON RA_CUSTOMER_TRX_LINES_ALL
(INTERFACE_LINE_CONTEXT, INTERFACE_LINE_ATTRIBUTE1,
INTERFACE_LINE_ATTRIBUTE2,
INTERFACE_LINE_ATTRIBUTE3);
ヒント: 索引にコンテキスト列を含めるかどうかはオプションです。ただし、複数の有効なコンテキスト(3つ以上)を使用する場合、パフォーマンスを向上させるために、索引内の最初の列としてコンテキスト列を含める必要があります。
コンテキストを1つのみ定義すると、前述の各表について索引を1つ作成するだけで済みます。ただし、複数のコンテキストを定義した場合は、表ごとに複数の索引を作成できます。索引の設定方法を決定する際には、次の例を参考にしてください。
次の表では、3つのコンテキストが含まれる明細取引フレックスフィールドを示しています。Context1には2つの属性列、Context2には3つの属性列、Context3には2つの属性列が含まれます。Context1およびContext2は2つの属性列を共有しています。
| フレックスフィールド・コンテキスト | 使用可能なセグメントに割り当てられた属性列 |
|---|---|
| Context1 | Interface_line_attribute1 |
| Context1 | Interface_line_attribute2 |
| Context2 | Interface_line_attribute1 |
| Context2 | Interface_line_attribute2 |
| Context2 | Interface_line_attribute3 |
| Context3 | Interface_line_attribute3 |
| Context3 | Interface_line_attribute9 |
最もニーズを満たす索引の組合せを定義します。前述の例では、表ごとに3つの索引を作成するか、各コンテキストに1つの索引を作成するか、または2つの索引のみ(Context3およびContext1に1つずつ)を作成できます。後者の場合、Context1およびContext2では最初の2つの属性列が同じであるため、Context2ではContext1と同じ索引が使用されます。
つまり、2つ以上のコンテキストに対して同じまたは類似した属性列を使用する場合、オプションで、コンテキストごとに索引を作成するかわりに、単一の索引を作成できます。
索引の作成文には次の構文を使用します。
$ sqlplus <AR username>/<AR password>
SQL> CREATE [UNIQUE] INDEX index ON
{Table (column1, column2, ...)
|CLUSTER cluster}
|INITRANS n] [MAXTRANS n]
[TABLESPACE tablespace]
[STORAGE storage]
[PCTFREE n]
[NOSORT];
関連項目
自動インボイスでは、グループ化ルールを使用して、請求書、デビット・メモおよびクレジット・メモに含める品目が決定されます。グループ化ルールには、同一取引上の全品目で同じにする必要がある取引属性が含まれます。たとえば、取引番号(TRX_NUMBER)はすべてのグループ化ルールの必須属性です。取引番号が異なるインタフェース表に2つのレコードが含まれる場合、自動インボイスではレコードごとに独立した取引が作成されます。
Oracle Receivablesでは、必須およびオプションの2種類の取引属性が提供されています。グループ化ルールから必須属性を削除することはできませんが、必須属性にオプション属性を追加して新規グループ化ルールを作成できます。
RA_INTERFACE_LINES_ALL表の必須属性およびオプション属性のリストを次に示します。
必須属性
AGREEMENT_ID
COMMENTS
CONS_BILLING_NUMBER
CONVERSION_DATE
CONVERSION_RATE
CONVERSION_TYPE
CREDIT_METHOD_FOR_ACCT_RULE
CREDIT_METHOD_FOR_INSTALLMENTS
CURRENCY_CODE
CUSTOMER_BANK_ACCOUNT_ID
CUST_TRX_TYPE_ID
DOCUMENT_NUMBER
DOCUMENT_NUMBER_SEQUENCE_ID
GL_DATE
HEADER_ATTRIBUTE1-15
HEADER_ATTRIBUTE_CATEGORY
HEADER_GDF_ATTRIBUTE1-30
INITIAL_CUSTOMER_TRX_ID
INTERNAL_NOTES
INVOICING_RULE_ID
ORIG_SYSTEM_BILL_ADDRESS_ID
ORIG_SYSTEM_BILL_CONTACT_ID
ORIG_SYSTEM_BILL_CUSTOMER_ID
ORIG_SYSTEM_SHIP_CONTACT_ID
ORIG_SYSTEM_SHIP_CUSTOMER_ID
ORIG_SYSTEM_SOLD_CUSTOMER_ID
ORIG_SYSTEM_BATCH_NAME
PAYMENT_SERVER_ORDER_ID
PAYMENT_SET_ID
PREVIOUS_CUSTOMER_TRX_ID
PRIMARY_SALESREP_ID
PRINTING_OPTION
PURCHASE_ORDER
PURCHASE_ORDER_DATE
PURCHASE_ORDER_REVISION
REASON_CODE
RECEIPT_METHOD_ID
RELATED_CUSTOMER_TRX_ID
SET_OF_BOOKS_ID
TERM_ID
TERRITORY_ID
TRX_DATE
TRX_NUMBER
オプション属性
ACCOUNTING_RULE_DURATION
ACCOUNTING_RULE_ID
ATTRIBUTE1-15
ATTRIBUTE_CATEGORY
INTERFACE_LINE_ATTRIBUTE1-15
INTERFACE_LINE_CONTEXT
INVENTORY_ITEM_ID
REFERENCE_LINE_ID
RULE_START_DATE
SALES_ORDER
SALES_ORDER_DATE
SALES_ORDER_LINE
SALES_ORDER_REVISION
SALES_ORDER_SOURCE
TAX_CODE
TAX_RATE
検証に失敗した取引がある場合、Oracle Receivablesでは、取引バッチ・ソースの「非照合明細」フィールドに入力した値が参照され、取引のグループ化が決定されます(このフィールドは「取引ソース」ウィンドウの「自動インボイス処理オプション」タブ・リージョンにあります)。「請求書の拒否」を入力すると、自動インボイスでは、取引のいずれかが無効な場合に1つの請求書を構成する全取引が拒否されます。たとえば、3つの取引を1つの請求書として作成する必要があるとグループ化ルールで指定した場合、取引の1つにエラーが含まれていると、自動インボイスでは3つすべての取引が拒否され、請求書は作成されません。
ただし、「請求書の作成」を入力した場合、自動インボイスでは1つの無効な取引が拒否され、残りの2つの有効な取引から請求書が作成されます。
Oracle Receivablesでは、グループ化の完了後に、取引番号および文書番号がバッチ内で一意であるかどうかが検証されます。特定のケースでは、自動インボイスにより同一グループ内に取引番号または文書番号が同じである複数の請求書が作成されます。グループ化が完了すると、自動インボイスでは取引番号および文書番号の重複がチェックされ、検証に失敗した明細がレポートされます。
たとえば、取引番号が同じ2つの明細がインポートされますが、通貨コードが異なるとします。これらの明細は、通貨コードが異なるため、グループ化の際に2つの独立した請求書に分割されます。グループ化が完了すると、両方の請求書で取引番号が同一であるため、検証に失敗します。
関連項目
『Oracle Receivablesインプリメンテーション・ガイド』のグループ化ルールに関する項
自動インボイスでは、明細ソート・ルールを使用して、取引が請求書、デビット・メモおよびクレジット・メモにグループ化された後に各明細をソートおよび採番する方法が決定されます。グループ化ルールごとに明細ソート・ルールを指定できます。明細ソート・ルールを使用して、請求書明細の最大金額が最初にリストされるようにできます。この場合、取引属性が金額であり、ソート・タイプが降順である明細ソート・ルールを定義します。
Oracle Receivablesでは次の取引属性が提供されており、(RA_INTERFACE_LINES_ALL表の)明細ソート・ルールで使用できます。
ACCOUNTING_RULE_DURATION
ACCOUNTING_RULE_ID
ACCOUNTING_RULE_NAME
AMOUNT
ATTRIBUTE_CATEGORY
ATTRIBUTE1-15
FOB_POINT
INTERFACE_LINE_ATTRIBUTE1-15
INTERFACE_LINE_CONTEXT
ORIG_SYSTEM_SHIP_ADDRESS_ID
QUANTITY
QUANTITY_ORDERED
REASON_CODE
REASON_CODE_MEANING
REFERENCE_LINE_ATTRIBUTE1-15
REFERENCE_LINE_CONTEXT
REFERENCE_LINE_ID
SALES_ORDER
SALES_ORDER_DATE
SALES_ORDER_LINE
SALES_ORDER_SOURCE
SHIP_DATE_ACTUAL
SHIP_VIA
TAX_CODE
UNIT_SELLING_PRICE
UNIT_STANDARD_PRICE
UOM_CODE
UOM_NAME
WAYBILL_NUMBER
関連項目
『Oracle Receivablesインプリメンテーション・ガイド』の自動インボイス明細ソート・ルールに関する項
自動インボイスでは、次の基準を使用して請求書のGL記帳日が決定されます。
インタフェース表にこの請求書のGL記帳日が存在するか。
請求書で基準が使用されているか。
この取引バッチ・ソースの「導出日付」オプションの設定はどうなっているか(「Yes」または「No」)。
この取引バッチ・ソースの「クローズ期間のGL記帳日」オプションの設定はどうなっているか(「修正」または「拒否」)。関連項目: GL記帳日の修正
請求書で基準を使用しない場合、自動インボイスでは次のプロセスを使用してGL記帳日が決定されます。
GL記帳日が存在し、オープンまたは先日付の入力可能期間内にある場合、自動インボイスではインタフェース表にGL記帳日が使用されます。
GL記帳日を渡しておらず、「導出日付」が「No」に設定されている場合、自動インボイスではこの自動インボイス発行用の「デフォルト日付」パラメータの値が使用されます。
GL記帳日を渡しておらず、「導出日付」が「Yes」に設定されている場合、自動インボイスではインタフェース表に出荷日が使用されます。出荷日が存在しない場合、自動インボイスでは受注日が使用されます。受注日が存在しない場合、自動インボイスではこの自動インボイス発行用の「デフォルト日付」パラメータの値が使用されます。
次の図ではこのプロセスを示しています。
基準のない請求書のGL記帳日の導出

請求書で請求ルールとして前受請求が使用される場合、自動インボイスでは、インタフェース表に提供されたGL記帳日が請求書GL記帳日として使用されます。GL記帳日がインタフェース表に提供されていない場合、自動インボイスでは最も早い会計基準の開始日が請求書GL記帳日として使用されます。
請求書で請求ルールとして未収請求が使用されており、請求書明細に「固定予定」タイプの会計基準と「特定日付」の期間がある場合、自動インボイスでは最新の会計基準日付を使用して終了日付が計算されます。
他のすべての会計基準について、自動インボイスで会計基準、会計基準開始日および期間に基づいて各請求書明細の終了日付が計算されます。自動インボイスで取引の各明細の終了日付が計算された後、最新日付が取得され、請求書GL記帳日として使用されます。
タイプが「固定予定」で期間が「特定日付」の会計基準が請求書で使用されていない場合、または基準開始日の導出を選択していなかった場合、Oracle Receivablesでは、「自動インボイスの実行」ウィンドウで指定した日付が使用されます。
請求書に、タイプが「固定予定」で期間が「特定日付」の会計基準がある場合、自動インボイスによって基準開始日として最早の会計基準日付が使用されます。たとえば, 会計基準日付が10-JUN-93、10-JUL-93、10-AUG-93であれば、自動インボイスでは、10-JUN-93が基準開始日となります。
ルール開始日を導出するように選択すると、「自動インボイス」では、インタフェース表にある出荷日が最初に使用されます。「自動インボイス」では、出荷日が存在しないと、受注日が使用されます。受注日が存在しない場合は、「自動インボイスの実行」ウィンドウにユーザーが入力した日付が使用されます。
次の図ではこのプロセスを示しています。
基準開始の導出

クレジット・メモについて取引日が渡された場合、自動インボイスでは次の階層を使用してクレジット・メモ日付が決定されます。
クレジット・メモのGL記帳日
請求書の売掛/未収金配分のGL記帳日または「自動インボイスの実行」ウィンドウの「デフォルト日付」の遅い方の日付
GL記帳日が渡されない場合、自動インボイスでは、請求書の売掛/未収金配分のGL記帳日または「自動インボイスの実行」ウィンドウの「デフォルト日付」の遅い方の日付が使用されます。
請求書またはデビット・メモの取引日が渡されない場合、自動インボイスではGL記帳日が使用されます。
ヒント: 受注出荷にOracle InventoryおよびOracle Order Managementを使用する場合、日付の導出と、請求書GL記帳日の出荷日の使用を選択する必要があります。このようにして、収益および原価を同じ会計期間に記帳したことを確認できます。
同一期間内の収益と原価を一致させていない場合、GAAPの基本原則に違反して利益を歪める可能性があります。さらに、重要なマージン分析レポートを実行できません。このレポートでは、収益取引および売却品原価取引が品目および顧客受注別に要約され、取引日の範囲が指定されます。取引が不正な期間内に記帳されている場合、マージン分析レポートにはこうした不正な取引が反映されます。
関連項目
自動インボイスでは、ユーザーが渡すか自動インボイスで決定されたGL開始日および基準開始日の検証時に、次のロジックが使用されます。日付を入力する際にタイム・スタンプ(例: 31-Jul-92 23:59:00)を使用すると、検証前に自動インボイスでタイム・スタンプが削除されます。
次の場合、自動インボイスでは明細が拒否されます。
GL記帳日の会計期間が定義されていない場合
GL記帳日が「クローズ」、「クローズ済保留」または「未オープン」期間内にあり、バッチ・ソースの「クローズ期間のGL記帳日」フィールドが「拒否」に設定されている場合(「未収請求」ルールを使用する請求書の場合、自動インボイスではGL記帳日が「クローズ」期間内にある明細のみが拒否されます)
クレジット・メモのGL記帳日が請求書のGL記帳日より前であるか、クレジット・メモ日付が請求書日付より前である(あるいはその両方)場合
次の場合、自動インボイスでは明細が拒否されます。
前受請求ルールを使用する明細の基準開始日が「クローズ」または「未オープン」期間内にあり、バッチ・ソースの「クローズ期間のGL記帳日」フィールドが「拒否」に設定されているか、または基準開始日の会計期間が定義されていない場合
未収請求ルールを使用する明細の基準開始日により、GL記帳日が「クローズ」期間内となり、バッチ・ソースの「クローズ期間のGL記帳日」フィールドが「拒否」に設定されているか、またはGL記帳日の会計期間が定義されていない場合
基準開始日が、会計基準に指定された最早日付ではなく、タイプが「固定予定」で期間が「特定日付」である会計基準を渡す場合
関連項目
バッチ・ソースの「クローズ期間のGL記帳日」フィールドが「拒否」に設定された状態で、「クローズ」または「未オープン」期間内のGL記帳日を渡した場合、自動インボイスによって明細が拒否されます。
バッチ・ソースの「クローズ期間のGL記帳日」フィールドが「修正」に設定された状態で、「クローズ」または「未オープン」期間内のGL記帳日を渡した場合、自動インボイスによって日付がオープンまたは先日付の入力可能期間に変更されます。請求書に基準が使用されていない場合、自動インボイスでは「日付の決定」で説明しているロジックを使用してGL記帳日が入力されます。
請求書に前受請求または未収請求ルールのいずれかが使用されている場合、自動インボイスでは次の基準をリストされた順に使用してGL記帳日が修正されます。
自動インボイスでは、前期間の最終日が使用されます(この期間のステータスが「オープン」である場合)。
ステータスが「オープン」の前期間が存在しない場合、自動インボイスではステータスが「オープン」の後続期間の初日が使用されます。ただし、ステータスが「オープン」の後続期間が複数存在する場合、自動インボイスではGL記帳日を修正できず、明細は拒否されます。
「オープン」期間が存在しない場合、自動インボイスではステータスが「先日付」である最初の後続期間の初日が使用されます。ステータスが「先日付」の後続期間が複数存在する場合、または先日付期間が見つからない場合、自動インボイスではGL記帳日を修正できず、明細は拒否されます。
関連項目
取引に換算レートが使用される場合、自動インボイスでは換算日の換算レートが使用されます(指定されている場合)。指定されていない場合、自動インボイスでは取引日を使用して換算レートが決定されます。換算タイプが「ユーザー」の場合、自動インボイスではユーザーが指定したレートが使用されます(この場合はレートを指定する必要があります)。
自動インボイスでは、インタフェース表AR_INTERFACE_CONTS_ALL、RA_INTERFACE_DISTRIBUTIONS_ALL、RA_INTERFACE_LINES_ALLおよびRA_INTERFACE_SALESCREDITS_ALLから次のOracle Receivables表に取引データが転送されます。
RA_BATCHES_ALL
RA_CUSTOMER_TRX _ALL
RA_CUSTOMER_TRX_LINES _ALL
RA_CUST_TRX_LINE_GL_DIST_ALL
RA_CUST_TRX_LINE_SALESREPS_ALL
AR_PAYMENT_SCHEDULES_ALL
AR_RECEIVABLE_APPLICATIONS_ALL
AR_ADJUSTMENTS_ALL
関連項目
『Oracle Receivables Reference Guide』の自動インボイス表と列の摘要に関する項
Oracle ExchangeからOracle Receivablesへ新規請求書およびクレジット・メモとしてExchange手数料データをインポートするには、Oracle Exchange請求書インポート要求セットを使用します。
Oracle Exchange請求書インポート要求セットは、登録済パーティに対してExchangeオペレータが賦課した手数料に関する情報をReceivablesのインタフェース表に移入します。インポート・データがインタフェース表にロードされると、要求セットは自動インボイスを自動的に発行して、Oracle Receivablesで請求書およびクレジット・メモを作成します。
Oracle Exchange請求書インポート要求セットには、次のプログラムが含まれます。
Oracle Exchange請求書データ・フィーダ・プログラム(AREXINVP) - Oracle Exchangeからデータを抽出し、Oracle Receivablesのインタフェース表に格納するフィーダ・プログラム
Oracle Receivables自動インボイス・プログラム
前提条件
この要求セットを実行する前に、Oracle Exchange顧客インポート要求セットを発行して、Exchange内のすべての顧客がOracle Receivablesにインポートされていることを確認します。関連項目: Oracle Exchange顧客インポート要求セット
Oracle Exchange BillingとOracle Receivablesの統合の詳細は、『Oracle Exchange and Oracle Sourcing System Operator Implementation Guide』を参照してください。
請求書は、「取引」ウィンドウを使用するか、または「自動インボイス」で請求書をインポートして、前受/預り金および約定金額に対して入力できます。「取引」ウィンドウの「取引約定」フィールドにナビゲートして、既存または関連する顧客/預り金か取引約定に対して請求書を入力できます。参照する取引約定番号を入力すると、Oracle Receivablesにより調整会計仕訳が自動的に作成されます。取引約定活動は、「取引約定残高レポート」を使用して検討できます。
関連項目: 取引の入力
顧客の取引約定残高を超える受注または請求書の入力を選択できます。たとえば、顧客の前受/預り金残高が$500あって$600の注文を入れた場合、まだその前受/預り金を参照できます。Oracle Receivablesでは、売掛金に$500の売掛/未収金の調整が自動的に作成され、取引約定残高がゼロになるので、請求書の支払金額は$100となります。
元の前受/預り金より多い金額を使用することはできません。さらに、前受/預り金金額を増やすこともできません。
また、完了済で一部支払済またはクレジットされた請求書に前受/預り金を追加することもできます。「取引」ワークベンチで、「処理」メニューから「預入の消込」を選択します。
重要: 「順次採番」プロファイル・オプションを「常に使用」に設定した場合は、取引約定に対して請求書を正しく入力できるように、「約定修正」文書カテゴリに文書連番を割り当てる必要があります。関連項目: 『Oracle Receivablesインプリメンテーション・ガイド』の文書採番の設定に関する項
以下の詳細は、次の各項を参照してください。
関連項目: 取引約定の設定と会計処理
顧客の取引約定残高は、Oracle Receivablesの範囲内の数箇所で使用でき、またOracle Order Managementを使用中の場合にも使用できます。特定の取引約定残高は、受注(Oracle Order Managementを使っている場合)、手動請求書、または取引約定に対するクレジット・メモを入力しているときに、あるいは「取引約定残高レポート」を実行すると、確認することができます。取引約定、または取引約定を参照する請求書を参照するすべての取引は、その取引約定の残高に影響を及ぼします。ある時点での取引約定の残高を計算する一般算式は次のとおりです。
取引約定の当初金額: $10,000
マイナス: 取引約定に対する請求書: $500
マイナス: 取引約定を参照する請求書を参照するクレジット・メモ: <$250>
プラス: 取引約定自体に対するクレジット・メモ: <$100>
取引約定残高の結果: $9,650
注意: 取引約定残高は、Oracle Order Managementの「OM: 取引約定順序」プロファイル・オプションが「Yes」に設定されている場合は、Oracle Order Managementで作成された予約も反映します。関連項目: 『Oracle Receivablesインプリメンテーション・ガイド』のOracle Order Managementのプロファイル・オプションに関する項
受注の入力時に、顧客は既存の前受/預り金の一部を受注の支払用に予約できます。Oracle Order Managementでは、受注の運送費に予約金額を入力できます。
受注の請求書が自動インボイスによって作成される場合、Oracle Order Managementや別のフィーダ・システムでは、予約金額がOracle Receivablesに渡されます。予約金額が格納される「自動インボイス」列の説明は、『Oracle Receivables Reference Guide』の自動インボイス表と列の摘要に関する項を参照してください。
Oracle Receivablesでは、請求書を修正し、取引約定残高から、予約金額、取引約定残高または請求書の未払残高のうち最も小さい金額を減額します。前受/預り金の取引タイプに応じて、取引に対して前受/預り金を消し込む場合に税金と運送費を含めることができます。関連項目: 『Oracle Receivablesインプリメンテーション・ガイド』の取引タイプに関する項
Oracle Receivablesには、取引タイプに基づいて顧客の取引約定に対する請求活動を反映する調整会計仕訳が自動的に作成されます。Oracle Receivablesでは次の取引約定取引タイプがあります。
| 変数 | 摘要 |
|---|---|
| 前受/預り金 | 会計戻し処理をするには、「売掛/未収金」で請求書明細の合計額に対する請求書について売掛/未収金の調整を作成します。この調整によって、請求書の支払スケジュールが請求済品目の金額分削減され(税金および運送費が前受/預り金残高から差し引かれる可能性があります)、会計仕訳戻し処理を作成します。ただし、請求書の金額が取引約定残高を超えている場合、Oracle Receivablesでは、取引約定残高に対してのみ売掛/未収金調整が作成されます。 |
| 約定金額 | 会計戻し処理をするには、「売掛/未収金」で請求書明細の合計額に対する約定金額について、売掛/未収金の調整を作成します。この調整によって、約定金額の支払スケジュールを請求済品目の金額分削減し(税金および運送費は取引約定残高から差し引かれません)、会計仕訳戻し処理を作成します。ただし、請求書の金額が取引約定残高を超えている場合、Oracle Receivablesでは、取引約定残高に対してだけ売掛/未収金調整が作成されます。 |
レポート作成中の取引約定を区分かグループに分けるには、「預入」または「約定金額」のどちらかの区分を使用すると、複数の取引タイプが定義できます。また、取引約定の取引タイプは、会計処理管理、印刷管理、他のデフォルトなどの追加管理機能も提供されます。取引タイプは「取引タイプ」ウィンドウで定義できます。関連項目: 『Oracle Receivablesインプリメンテーション・ガイド』の取引タイプに関する項
取引約定の取引タイプを定義する場合、前受/預り金と約定金額の両方を定義できます。取引タイプの区分によって、「預入」または「約定金額」タイプのどちらであるかが定義されます。
| 変数 | 摘要 |
|---|---|
| 区分 | 区分は、取引タイプを区別するために使用されます。取引約定タイプを定義する場合は、「預入」または「約定金額」のいずれかの区分を使用します。 |
| 「未回収売掛金」および「GL転記」 | これらのフィールドにより、General Ledgerへの転記および顧客残高の更新を制御します。取引約定の取引タイプを定義すると、Oracle Receivablesによりこれらのフィールドは「Yes」に設定されます。 |
| 運送費入力許可 | このフィールドは、運送費を管理するために使用されます。取引約定用の取引タイプを定義すると、Oracle Receivablesによりこのフィールドが「No」に設定されます。 |
| 税金計算 | このフィールドは税金を管理します。取引約定用の取引タイプを定義すると、Oracle Receivablesによりこのフィールドが「No」に設定されます。 |
| 「符号」 | このフィールドは、ユーザー取引の符号を指定するために使用されます。取引約定の取引タイプを定義すると、Oracle Receivablesではこのフィールドが正符号に設定されます。 |
| 超過消込不可 | このフィールドは、支払を消し込むときに取引残高の方向を制限したいかどうか決めるために使用します。たとえば、「普通消込」を呼び出して$300の支払金額が残っている請求書がある場合、この金額をゼロへ近付けるように減らす消込のみを実行できます。取引約定の取引タイプを定義すると、このフィールドが「Yes」に設定されます。 |
| 超過消込の許可 | このフィールドは、この取引タイプの品目に超過消込を許可するかどうかを決めます。取引約定の取引タイプを定義すると、このフィールドが「No」に設定されます。 |
| 売掛/未収金勘定と収益勘定 | これらは「取引」ウィンドウで使用されるデフォルトの勘定科目です。取引約定の入力時にこれらのデフォルト勘定科目を使用するか、または別の勘定科目を入力できます。約定金額の場合は、「売掛/未収金勘定」フィールドに未請求売掛金勘定を入力し、「収益勘定」フィールドに前受収益勘定を入力します。前受/預り金の場合は、「前受/預り金」タブ・リージョンの「相殺勘定」フィールドを使用して、この前受/預り金の相殺勘定を記録します。 |
| 請求書タイプ | これは取引約定を参照する請求書に使用される取引タイプです。前受/預り金を作成すると、その前受/預り金を参照するすべての請求書が、この請求書タイプに割り当てられます。「GL転記」および「未回収売掛金」が「Yes」に設定されている請求書タイプを選択する必要があります。「GL転記」または「未回収売掛金」が「No」に設定されている請求書タイプを選択すると、Oracle Receivablesでは警告メッセージが表示されます。 |
| クレジット・メモ・タイプ | これは取引約定を参照するクレジット・メモに使用される取引タイプです。前受/預り金を作成すると、その前受/預り金を参照するすべてのクレジット・メモがこのクレジット・メモ・タイプに割り当てられます。「GL転記」および「未回収売掛金」が「Yes」に設定されているクレジット・メモ・タイプを選択する必要があります。「GL転記」または「未回収売掛金」が「No」に設定されているクレジット・メモ・タイプを選択すると、Oracle Receivablesでは警告メッセージが表示されます。 |
前受/預り金およびその前受/預り金に対する請求書を記録した場合に、Oracle Receivablesで作成される会計処理取引の例を、次に示します。
ABC会社の前受/預り金$10,000を入力します。前受/預り金を記録するとき、借方勘定として「AR取引」、貸方勘定として「前受収益」(または相殺勘定)を入力します。Oracle Receivablesでは、下の表に示すように、次の会計仕訳が自動的に作成されます。
| 勘定科目 | 借方 | 貸方 |
|---|---|---|
| AR取引(前受/預り金) | $10,000 | |
| 前受収益(または相殺勘定) | $10,000 |
前受/預り金請求書を印刷し、支払いをする顧客に郵送できます。ABC会社は請求書を受け取り、前受/預り金額を支払います。
ABC会社は$500の発注をし、この注文の取引約定に基づき手形を振り出すことを希望しています。ABC会社に対する$500の請求書を入力し、$10,000の前受/預り金を参照します。Oracle Receivablesでは、下の表に示すように、次の会計仕訳が自動的に作成されます。
| 勘定科目 | 借方 | 貸方 |
|---|---|---|
| AR取引(請求書) | $500 | |
| 収益 | $500 |
ここで、Oracle Receivablesにより、請求書に対して請求済金額の売掛/未収金の修正が自動的に作成されます。その結果、売掛/未収金の未払額が$0となります(注意: 例の$500の請求書には、税金および運送費は含まれません)。請求書を印刷して顧客へ送付し、取引約定に基づく活動の記録を提供することができます。Oracle Receivablesではこの修正を反映するために、下の表に示すように、次の会計仕訳が作成されます。
| 勘定科目 | 借方 | 貸方 |
|---|---|---|
| 前受収益 | $500 | |
| AR取引(請求書) | $500 |
したがって、ABC会社の$500請求書の未回収残高はゼロで、使用できる取引約定残高は$9,500です。
約定金額およびその約定金額に対する請求書を記録した場合に、Oracle Receivablesで作成される会計処理取引の例を次に示します。
ABC会社に対する約定金額を入力します。ABC会社はユーザーから特定金額の製品を購入することに合意しており、ユーザーはこの約定金額に対する進行状況を追跡し、自社の一般会計に記録しようと考えています。約定金額は$10,000です。約定金額を記録するとき、借方勘定として「未収収益」、貸方勘定として「前受収益」を入力できます。Oracle Receivablesでは、下の表に示すように、次の会計仕訳が作成されます。
| 勘定科目 | 借方 | 貸方 |
|---|---|---|
| 未請求売掛金 | $10,000 | |
| 前受収益 | $10,000 |
希望に応じて、約定金額は請求書の書式で印刷できます。
ABC会社は$500の発注をし、この注文の取引約定に基づき手形を振り出すことを希望しています。ABC会社に対する$500の請求書を入力し、$10,000の約定金額を参照します。Oracle Receivablesでは、下の表に示すように、次の会計仕訳が自動的に作成されます。
| 勘定科目 | 借方 | 貸方 |
|---|---|---|
| AR取引 | $500 | |
| 収益 | $500 |
Oracle Receivablesでは、約定金額に対する請求金額の売掛/未収金修正が自動的に作成されます。したがって、ABC会社は請求書によって$500の支払義務を負い、未処理の取引約定残高が$9500になります。Oracle Receivablesでは、この調整を反映するために、下の表に示すように、次の会計仕訳が作成されます。
| 勘定科目 | 借方 | 貸方 |
|---|---|---|
| 前受収益 | $500 | |
| 未請求売掛金 | $500 |
関連項目
「請求書の印刷」ウィンドウでは、顧客に送付する請求書、デビット・メモ、取引約定、チャージバック、クレジット・メモおよび修正を生成できます。
印刷する取引をプレビューするには、「請求書印刷プレビュー」プログラムを選択します。
注意: 「繰越残高請求」を使用すると、特定期間にわたる顧客の全活動を要約した単一の文書を作成することもできます。詳細は、「繰越残高請求」を参照してください。
システム・オプションの「印刷済取引の変更の許可」によって、取引が印刷された後もその取引を更新できるかどうかが決まります。ただし、取引に対する活動がある場合は、このオプションの設定内容にかかわらず、取引を更新できません。活動の例として、支払、クレジット・メモ、修正、繰越残高請求書への取引の追加などがあります。
「取引」ウィンドウ内の「印刷日」フィールドには、取引が最後に印刷された日時が表示されます。
Oracle Bill Presentment Architecture(BPA)を使用する場合は、BPAアイコンを使用して完了した取引をオンラインでプレビューできます。関連項目: 『Oracle Bill Presentment Architecture User Guide』のオンライン請求書の表示に関する項
前提条件
「請求書の印刷」ウィンドウにナビゲートします。
印刷プログラムの名称を入力するか、値リストから選択します。次から選択します。
請求書印刷: 新規請求書: これまでに印刷されたことがなく、印刷ステータスが「印刷」であるすべての取引を印刷します。
請求書印刷: 選択した請求書: すでに印刷したことがあるかどうかにかかわらず、特定の取引を印刷します。日付範囲、取引番号、特定取引タイプ、取引区分、顧客区分、賦払番号そして特定顧客を入力して、印刷出力を制限できます。オープンの請求書だけを印刷する選択もできます。Oracle Receivablesでは、印刷ステータスが「印刷しない」の取引は、一切含まれません。
請求書印刷: 請求書バッチ: すでに印刷したことがあるかどうかにかかわらず、取引の単一バッチを印刷します。「パラメータ」ウィンドウに印刷するバッチを指定します。Oracle Receivablesでは、印刷ステータスが「印刷しない」の取引は含まれません。
価格修正の印刷: これまでに印刷したことがなく、印刷ステータスが「印刷」である取引に加えられた特定修正を印刷します。Oracle Receivablesでは、印刷ステータスが「印刷しない」の取引は含まれません。
請求書印刷: プレビュー・レポート: 請求書バッチ、新規請求書、または特定請求書の印刷を選択した場合、印刷される取引をプレビューします。このレポートでは、各ケースで印刷される取引がリストされます。
印刷パラメータを入力します。たとえば、ソート・キーとして取引番号、顧客または郵便番号を選択し、取引区分またはタイプを入力します。次に、未回収請求書のみを印刷するか、または取引番号範囲を入力してその基準に一致する取引のみを印刷するかを選択します。基準に一致する取引のみに印刷出力を制限しない場合は、フィールドを空白のままにしておきます。
ヒント: クレジット・メモを印刷するには、「未回収請求書のみ」を「No」に設定してください。
「OK」を選択します。
デフォルトの印刷オプションを変更するには、印刷部数、印刷スタイルおよび使用プリンタを入力します。
この発行の出力をファイルに保存するには、「出力の保存」チェック・ボックスを選択します。
この印刷プログラムを2回以上発行するには、「実行オプション」を入力します。再発行間隔、再発行の開始日と時刻、および反復を終了する日付を入力できます。
「発行」を選択します。この要求の要求IDが表示されます。この番号を使用すると、「コンカレント要求の表示」ウィンドウにユーザーの要求のステータスを表示できます。
関連項目
Oracle Receivablesの請求書の印刷プログラムによって、顧客に発送する請求書およびデビット・メモ、取引約定、チャージバック、クレジットメモ、修正を生成できます。レポート・パラメータの値を指定することにより、Oracle Receivablesに生成させる取引タイプを管理できます。たとえば、特定の顧客の取引だけを生成する場合、顧客名をレポート・パラメータの1つとして指定できます。
請求書の印刷時に、各新規文書グループ用の書式ページが印刷されます。これらのページは、プリンタを設定する際役にたちます。請求書印刷プログラムで書式ページが印刷されないようにするには、各請求書印刷プログラムの「デフォルト値」フィールドを再設定する必要があります。請求書印刷プログラムには「整列したページの番号」パラメータがあり、これにより印刷するヘッダーのページ数が決定されます。デフォルトを変更するには、「アプリケーション開発者」の職責を使い、「コンカレント・プログラムの定義」ウィンドウにナビゲートし、次のプログラムを問い合せます。
RAXINV_SEL
RAXINV_NEW
RAXINV_BATCH
RAXINV_ADJ
各プログラムに対し、パラメータを選択します。デフォルト値を「0」に変更した後、この変更を保存します。各プログラムのデフォルト値を変更する必要があります。
印刷する請求書日の範囲を決定するとき、次の事項を考慮します。
印刷する請求書に「発行逆算日数」が「0」の支払条件がある場合、Oracle Receivablesでは取引がユーザー指定の「開始日」と「終了日」の範囲に該当するかどうかを判断するために、取引日が使用されます。
印刷中の請求書に、「発行逆算日数」が0より大きい支払条件がある場合、Oracle Receivablesでは取引がユーザー指定の「開始日」と「終了日」の範囲内に該当するかどうかを判断するために、「支払期日-発行逆算日数」の算式が使用されます。
Oracle Receivablesでは、受注数量および出荷数量、単価、拡張金額が各請求書に対して表示されます。
Oracle Receivablesでは、各請求書明細の摘要全体が印刷されます。テキストは次の行に続きます。
Oracle Receivablesでは、明細および税金、運送費の合計金額が印刷された請求書の本文中に表示されます。
賦払に対しては、Oracle Receivablesにより、各賦払用の合計額が表示される、また「小計」フィールドに明細および税金、運送費が表示されます。
各クレジットメモに対しては、Oracle Receivablesにより、貸方勘定に記帳する各請求書明細、税金、または運送費用の明細が表示されます。
クレジットメモ金額は負の数として表示されます。
Oracle Receivablesにより、貸方勘定に記帳する取引に消し込まれたクレジットメモの割合が表示されます。
各前受/預り金に対しては、Oracle Receivablesにより、単価および拡張金額、また受注数量および出荷数量の列に「1」が印刷されます。単価と拡張金額は常に同一です。
Oracle Receivablesにより、「税金」列に「N」が印刷されますが、税金および運送費は前受/預り金の一部ではないため印刷されません。
入力されている場合は、有効開始日および有効終了日が、Oracle Receivablesにより印刷されます。
各約定金額に対しては、Oracle Receivablesにより、単価および拡張金額、また受注数量および出荷数量列に「1」が印刷されます。単価と拡張金額は常に同一です。
Oracle Receivablesにより、「税金」列に「N」が印刷されますが、税金および運送費は約定金額の一部ではないため印刷されません。
入力されている場合は、有効開始日および有効終了日が、Oracle Receivablesにより印刷されます。
Oracle Receivablesにより、約定金額の本文中にこの文書が支払の要求ではない旨を説明するメッセージが印刷されます。
Oracle Receivablesにより、各請求書明細に対し1行が印刷されます。明細に税金が含まれている場合は、Oracle Receivablesにより「税金」列に「Y」が表示されます。Oracle Receivablesにより、前受/預り金から差し引かれた金額も印刷されます。この金額は負の数として表示されます。
Oracle Receivablesにより、ユーザーの前受/預り金から活動を差し引いた当初残高が表示されます。活動には、以前の取引すべておよび現在の請求書が含まれます。Oracle Receivablesにより、現在の前受/預り金残高が計算されて表示されます。前受/預り金残高には税金および運送費は含まれません。税金および運送費は請求書のそれぞれの列の一番下に印刷され、集計されなければなりません。
Oracle Receivablesにより、各請求書明細に対し1行が印刷されます。明細に税金が含まれている場合は、Oracle Receivablesにより「税金」列に「Y」が表示されます。
Oracle Receivablesにより、ユーザーの約定金額から活動を差し引いた当初残高が表示されます。活動には、以前の取引すべておよび現在の請求書が含まれます。Oracle Receivablesにより、現在約定金額残高が計算されて表示されます。約定金額残高には税金または運送費は含まれません。税金および運送費は、請求書のそれぞれの列の一番下に印刷され、明細金額の他に集計されなければなりません。
Oracle Receivablesにより、顧客のプロファイル区分に割り当てられた「税金印刷」オプションの入力値に基づいて、請求書およびデビット・メモに税金が印刷されます(関連項目: 『Oracle Receivablesインプリメンテーション・ガイド』の顧客プロファイル区分の定義に関する項)。「税金印刷」オプションを顧客プロファイル区分に入力しなかった場合、Oracle Receivablesでは「システム・オプション」ウィンドウに入力した値が使用されます。
Oracle Receivablesの「税金印刷」オプションの詳細は、『Oracle Receivablesインプリメンテーション・ガイド』の取引および顧客のシステム・オプションに関する項を参照してください。
関連項目
「繰越残高請求」を使用して、請求期間中の顧客の全取引と、前の請求期間から繰り越された残高を含む単一請求書を印刷します。これにより、顧客に対して取引ごとに個別の請求書を送付するかわりに、単一の連結請求書を送付できます。
繰越残高請求書には、次の項目が含まれます。
期首残高、または最終請求期間から繰り越された残高
要約または詳細形式による現行の手数料および活動(請求書、クレジット・メモ、デビット・メモ、修正など)の項目別リスト
重要: 繰越残高請求書に含まれる取引は、システム・オプション「印刷済取引の変更の許可」の設定に関係なく更新できません。Oracle Receivablesでは、繰越残高請求書の内容は活動とみなされ、活動が発生した取引は更新できません。
最終請求期間に入金済の支払
現行の未処理残高合計
繰越残高請求書は、週次、月次、隔月、四半期ごと、年次または日次ベースでも生成できます。請求頻度を指定するには、請求サイクルを定義します。あるいは、Oracle Receivables以外で保守する外部請求サイクルを使用します。関連項目: 『Oracle Receivablesインプリメンテーション・ガイド』の繰越残高請求サイクルに関する項
顧客アカウントまたはサイト・レベルで連結された請求書を生成できます。
アカウント・レベルの繰越残高請求: アカウントの主要請求先サイト宛てに、アカウントの営業単位ごとに1件の請求書を生成できます。
サイト・レベルの繰越残高請求: 複数の請求先サイトを持つ顧客の請求先サイトごとに繰越残高請求書を生成できます。
繰越残高請求書からは、1つ以上のサイトまたは1つ以上の取引を除外できます。
関連項目: 『Oracle Receivablesインプリメンテーション・ガイド』の繰越残高請求の設定に関する項
取引明細書と繰越残高請求書は似ていますが、その目的が異なります。次の表に、取引明細書と繰越残高請求書の相違点を示します。
| 取引明細書 | 繰越残高請求書 |
|---|---|
| 顧客アカウント・レベルで生成。 | アカウントまたはサイト・レベルで生成。 |
| 顧客は情報目的として使用。 | 顧客は請求書から支払う。 |
| 取引明細書送付サイクルに基づいて顧客が選択。 | 請求サイクルと通貨に基づいて顧客が選択。 |
重要: あるいは、繰越残高請求のかわりに、「インポート済請求番号」機能を使用してインポート済請求書を連結します。関連項目: インポート済請求番号
繰越残高請求書の暫定または最終版を印刷する場合、Oracle Receivablesでは一意の繰越残高請求書番号が生成され、請求対象の各取引に割り当てられます。
注意: 繰越残高請求書番号は、データベース連番で自動的に生成されます。手動では作成できません。
請求書番号を使用して次の操作を実行します。
繰越残高請求書に含まれた取引の問合せ
最終繰越残高請求書の受入
暫定または最終繰越残高請求書の再印刷(オプション)
繰越残高請求書に対する支払の消込
重要: 「繰越残高請求番号」フィールドは、常に「取引番号」フィールドの左に表示されます。
繰越残高請求書番号は、次のOracle Receivablesのレポートとウィンドウに表示されます。
ウィンドウ
クレジット・メモ取引
入金
取引
取引概要
レポート
勘定ステータス
年齢調べレポート
請求/入金履歴
係争中請求書
支払遅延請求書
勘定科目別売上仕訳
取引詳細
Receivablesでは、Bill Presentment Architecture(BPA)を使用して、繰越残高請求書がオンライン・ビューに表示されます。
繰越残高請求書をプレビューするには、「取引」ウィンドウのBPAアイコンを使用します。これらの繰越残高請求書は、顧客がOracle iReceivablesを使用して参照するものと同じです。
BPAでは、Receivablesによる請求書の当初生成方法に基づいて、繰越残高請求書が要約形式または詳細形式で表示されます。「繰越残高請求書」ウィンドウから個別請求書にドリルダウンできます。関連項目: 『Oracle Bill Presentment Architecture User Guide』のオンライン請求書の表示に関する項
オプションで、必要に応じて請求書テンプレートまたは情報を変更し、請求書を再印刷できます。関連項目: 『Oracle Bill Presentment Architecture User Guide』のテンプレート管理に関する項
関連項目
『Oracle Receivablesインプリメンテーション・ガイド』の繰越残高請求の設定に関する項
Oracle Receivablesによる繰越残高請求用の取引の選択方法
『Oracle Bill Presentment Architecture User Guide』のBill Presentment Architectureの使用方法に関する項
繰越残高請求書を生成するには、「繰越残高請求書の生成」プログラムを発行します。関連項目: 繰越残高請求書の作成
次のダイアグラムに、「繰越残高請求書の生成」プログラムによる繰越残高請求用の取引の選択方法を示します。
繰越残高請求書の生成および印刷処理フロー

「繰越残高請求書の生成」プログラムでは、次のステップを実行することで、繰越残高請求書に含める取引が選択されます。
「繰越残高請求書の生成」プログラムを発行する際に、請求サイクルおよび請求日などのパラメータを入力します。
次に、このプログラムにより、繰越残高請求の支払条件に一致する請求サイクルがある繰越残高請求顧客がすべて収集されます。
注意: 繰越残高請求支払条件が設定されていない取引、または「インポート済」請求タイプの取引は、繰越残高請求書に含まれません。
Oracle Receivablesでは、アカウント・レベルの繰越残高請求に使用可能な顧客についてはアカウント・プロファイルの支払条件がチェックされ、サイト・レベル繰越残高請求に使用可能な顧客についてはサイト・プロファイル(または支払条件がサイトで指定されていない場合はアカウント・プロファイル)の支払条件がチェックされます。
重要: 「繰越残高請求」プログラムでは、顧客またはアカウント関連で関連付けられている顧客からは取引が選択されません。
次の条件と一致する繰越残高請求顧客に対する取引がすべて選択されます。
繰越残高請求支払条件が設定されていること。
前の繰越残高請求書に含まれていないこと。
重要: 「取引」ウィンドウの「詳細」タブで「印刷しない」オプションを選択した取引は、「繰越残高請求書の生成」プログラムで処理対象として選択されません。
新規請求書の期首残高として使用する、前請求期間の期末残高が取得されます。繰越残高請求処理を初めて実行するときには、期首残高は0(ゼロ)です。
前の残高、新規取引、および請求サイクル中に発生する活動を考慮して、新規請求書の期末残高が計算されます。
入力したパラメータに応じて請求書に「草案」または「確定」印刷ステータスが割り当てられ、一意の繰越残高請求書番号が割り当てられます。
最後に、入力したパラメータに応じてBPA繰越残高請求印刷プログラムがコールされ、請求書が印刷されます。
注意: 「繰越残高請求書の生成」プログラムでは、請求サイクル中に活動がない場合でも請求書が生成されます。このような繰越残高請求書には、前残高、現行請求金額0(ゼロ)および期末残高が表示されます。
顧客のプロファイルに割り当てられた支払条件を変更することで、顧客の請求サイクルを変更できます。
先日付取引は新規支払条件を継承します。Oracle Receivablesにより、旧支払条件を持つ既存の取引が「繰越残高請求書の生成」プログラムの次回発行に含められます。
活動のない取引は、新規支払条件、請求日および支払期日を継承します。
活動がある取引は、既存の支払条件、請求日および支払期日を保持します。
注意: これらの取引の支払期日は、請求書の他の取引と異なる可能性があるため、年齢調べの相違が発生することがあります。
取引には、事前定義済の外部請求サイクルであるOracle Receivablesを割り当てることができます。この外部請求サイクルは、Receivables外部で保守される請求サイクルに使用します。
Receivablesにインポートされる外部請求サイクルを持つ取引には、自動インボイスで取引期日を計算できるように既存の請求日が必要です。請求日のない取引は、Receivablesに正常にインポートされません。ただし、適切なタイミングで収益が認識されるように、この種の取引を請求日前にインポートできます。
関連項目
『Oracle Receivablesインプリメンテーション・ガイド』の繰越残高請求の設定に関する項
繰越残高請求書を作成する手順は、次のとおりです。
必要に応じて、繰越残高請求書をオプションで再印刷できます。関連項目: 繰越残高請求書の再印刷
繰越残高請求書の生成と印刷には、「繰越残高請求書の生成」プログラムを使用します。「繰越残高請求書の生成」プログラムでは、入力したパラメータと一致する取引が繰越残高請求書に追加され、BPA繰越残高印刷プログラムがコールされて請求書が印刷されます。
このプログラムは、外部システムからも起動できます。
必須パラメータ
印刷オプション: 「暫定繰越残高請求書の印刷」または「最終繰越残高請求書の印刷」を選択します。
Oracle Receivablesにより、暫定繰越残高請求書には「草案」印刷ステータスが割り当てられ、ユーザーは請求書を受け入れるか拒否できます。最終繰越残高請求書には「最終」印刷ステータスが割り当てられます。
請求サイクル: 繰越残高請求書を生成する請求サイクルを指定します。Receivablesから「繰越残高請求書の生成」プログラムを発行する場合、「請求サイクル」値リストには定義済の請求サイクルがすべて表示されます。このプログラムを外部システムから起動する場合、使用できる請求サイクルは「外部」のみです。
印刷出力: 請求書の表示可能な出力を取得するには「Yes」を選択します。「No」を選択した場合、Oracle Receivablesでは請求書が作成されますが、コンカレント要求からは請求書を表示できません。請求書を表示するには、取引ワークベンチで請求書を問い合せて、BPAアイコンを選択する必要があります。
通貨コード: Oracle Receivablesにより、選択した通貨コードと一致する顧客の繰越残高請求書が生成されます。
オプション・パラメータ
営業単位: 特定の営業単位の繰越残高請求書を生成するには、その営業単位を値リストから選択します。このフィールドを空白のままにすると、該当する各営業単位の繰越残高請求書が生成されます。
請求日(「外部」請求サイクルの場合必須): 請求実行の請求日を指定します。
「繰越残高請求書の生成」プログラムにより、同じ請求日またはこれより前の日付を共有する取引のみが請求書に含められます。
顧客名および顧客番号 自/顧客番号:至: 特定の顧客または一定範囲の顧客の繰越残高請求書を生成するには、値リストから選択します。値リストには、繰越残高請求書が使用可能な顧客のみが含まれます。
該当する全顧客の繰越残高請求書を生成するには、このフィールドを空白のままにします。
請求先サイト: 自請求先サイト: 至: 「顧客名」または「顧客番号」値リストから顧客を選択し、この顧客がサイト・レベル請求に使用可能である場合、特定の請求先サイトを選択できます。繰越残高請求書を受入れ可能なすべてのサイトについて繰越残高請求書を印刷するには、このフィールドを空白のままにします。
支払条件: 値リストには、指定したサイクルを持つすべての繰越残高請求支払条件が含まれます。顧客または請求先サイトを指定した場合、値リストには、その顧客または請求先サイトに固有の支払条件のみが含められます。
指定したサイクルを持つ繰越残高請求支払条件がある適格な取引すべてを含めるには、このフィールドを空白のままにします。
関連項目
「繰越残高請求の確認」プログラムを使用して、為替手形を受け入れるか拒否します。「繰越残高請求の確認」プログラムでは、請求書は再印刷されません。請求書を再印刷するには、BPA繰越残高印刷プログラムを発行します。
「繰越残高請求の確認」プログラムは、外部システムからも起動できます。
必須パラメータ
オプションの確認: 「暫定繰越残高請求書の受入」または「暫定繰越残高請求書の拒否」を選択します。
暫定繰越残高請求書を受け入れると、請求書印刷ステータスが「草案」から「受入済」に変わります。暫定繰越残高請求書を拒否すると、請求書印刷ステータスが「草案」から「拒否済」に変わります。
オプション・パラメータ
営業単位: 特定の営業単位の繰越残高請求書を生成するには、その営業単位を選択します。このフィールドを空白のままにすると、該当する各営業単位の繰越残高請求書が生成されます。
顧客番号:自/顧客番号:至(手形番号またはコンカレント要求IDを指定しない場合は必須): アカウント・レベルの繰越残高請求書を1つ以上確認します。値リストには、すべての繰越残高請求書の顧客が含まれます。
請求先サイト: 自/請求先サイト: 至: サイト・レベルの繰越残高請求書を1つ以上確認します。値リストには、選択した顧客の請求先事業所のみが含められます。
請求日:自/請求日:至: 請求日の範囲を入力します。指定アカウントまたはサイトのすべての請求書を印刷するには、範囲を指定しないでください。
手形番号:自/手形番号:至(顧客番号またはコンカレント要求IDを指定しない場合は必須): 繰越残高請求書を1つ以上確認します。
コンカレント要求ID(他のパラメータを指定しない場合は必須): 繰越残高請求書のバッチを受け入れるか拒否するための「繰越残高請求書の生成」プログラムのコンカレント要求IDを選択します。
関連項目
暫定または最終繰越残高請求書を再印刷するには、BPA繰越残高印刷プログラムを使用します。
このプログラムは、外部システムからも起動できます。
営業単位: 特定の営業単位の繰越残高請求書を印刷するには、その営業単位を選択します。適格な営業単位ごとに繰越残高請求書を再印刷するには、営業単位を選択しないでください。
顧客番号:自/顧客番号:至(手形番号またはコンカレント要求IDを指定しない場合は必須): アカウント・レベルの繰越残高請求書を1つ以上再印刷します。値リストには、すべての繰越残高請求書の顧客が含まれます。
請求先サイト: 自/請求先サイト: 至: サイト・レベルの繰越残高請求書を1つ以上再印刷するには、請求先サイトの範囲を入力します。値リストには、選択した顧客の請求先事業所のみが表示されます。
請求日:自/請求日:至: 請求日の範囲を入力します。指定アカウントまたはサイトのすべての請求書を印刷するには、範囲を指定しないでください。
手形番号:自/手形番号:至(顧客番号またはコンカレント要求IDを指定しない場合は必須): 特定の繰越残高請求書を1つ以上再印刷するには、請求書番号の範囲を入力します。
コンカレント要求ID(他のパラメータを指定しない場合は必須): 繰越残高請求書のバッチを再印刷するための「繰越残高請求書の生成」プログラムのコンカレント要求IDを選択します。
テンプレートの印刷: BPAルール・エンジンによって割り当てられた、最初に選択した書式を使用して請求書を再印刷するには、テンプレートの印刷を指定しないでください。最初に割り当てられた印刷書式を上書きするには、テンプレートを選択します。
ヒント: テンプレートを選択すると、最初に割り当てられたテンプレートが再印刷目的にのみ上書きされます。請求書をオンラインで表示する場合、BPAではBPAルール・エンジンに従ってテンプレートが導出されます。印刷書式を永続的に変更するには、BPAルール・エンジンを更新してください。
関連項目
インポート済請求番号機能には、請求を一括提示するために、インポート済の請求書をサイト・レベルでグループ化する別の方法が用意されています。請求番号の値を指定し、独自のカスタム一括請求書式を作成します。
自動インボイスは、ユーザーがこの方法を使用したときに、請求番号を受け入れるように機能強化されています。この請求番号を使用して顧客と支払を照合するために、既存の入金消込機能を使用できます。
インポート済請求番号機能が有効になると、自動インボイスは、1つの請求に対してインポートされたすべての請求書を検証します。1つの請求にまとめられた個々の請求書について、自動インボイスは次の事項を確認します。
すべての請求書で顧客請求先所在地が同じであること(これに違反する請求書が1つでもグループ内にある場合には、この請求に属するすべての請求書が拒否されます。)
インポート済請求番号が、1つの営業単位内で一意であること。
繰越残高請求を使用できるように顧客プロファイルを設定します。書式として「インポート済」を選択します。
重要: 「インポート済」書式は、「請求書レベル」としてサイトを選択した場合のみ使用可能です。
自動インボイスを実行して、RA_INTERFACE_LINES表のCONS_BILLING_NUMBER列を移入します。
注意: 請求書の宛先が同じ顧客の請求先所在地になっているかぎり、支払条件、入金方法、支払詳細、発注番号または請求ルールが異なる場合でも、請求書を1つの請求にまとめることができます。
顧客の請求書を生成します。
関連項目