Instalación de un estante de discos DE2-24P
Realice el siguiente procedimiento para instalar Oracle Storage Drive Enclosure DE2-24P, que requiere dos unidades de rack de montaje estándar (2RU), o seis orificios de rack, de espacio vertical en el armario.
Antes de empezar
-
Revise Requisitos previos para la instalación y Descripción general de los estantes de discos.
-
Para evitar que el armario vuelque, cargue siempre los equipos más pesados, que son los estantes de discos, y comience por la parte inferior del armario.
-
La mejor forma de preparación para conectar los cables de los estantes de discos a los controladores, ahora y en el futuro, es montar los controladores en el medio del armario.
-
No se proporcionan los tornillos para la instalación en un armario con orificios roscados de tamaño M6.
 | Precaución -
Este procedimiento requiere un mínimo de dos personas o un elevador mecánico debido al peso del chasis. Si este procedimiento es realizado por una sola persona, se pueden producir daños en el equipo o lesiones personales. No levante el chasis con las manillas de la fuente de alimentación.
|
-
Despliegue todos los dispositivos antivolcado y de estabilización de la parte inferior del rack.
-
Ubique la altura adecuada de la unidad de rack (RU), que es de seis orificios, comenzando desde la parte inferior del armario. Si utiliza un armario universal de 19 in no roscado o Sun Rack II:
-
Coloque los tornillos de fijación de la guía delantera dentro de los orificios correspondientes en la parte frontal del rack.
La pestaña de la guía debe estar dentro de la pestaña del armario, y la etiqueta de la guía debe mirar hacia el interior del armario.
-
Inserte y ajuste un tornillo en el orificio superior de las guías a través de la parte frontal del rack.
-
Ajuste la longitud de las guías para que encajen y coloque los tornillos de fijación de la parte posterior de la guía en los orificios correspondientes de la parte trasera del rack.
-
Inserte y ajuste un tornillo en la parte posterior de las guías de las guías a través de la parte trasera del rack.
-
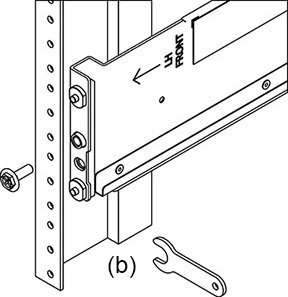
Si utiliza un rack universal de 19 in roscado:
-
Utilice el destornillador Torx T20 para quitar los tornillos de fijación de la parte frontal y posterior de las guías.
-
Utilice la llave inglesa suministrada para insertar dos clavijas en cada extremo de las guías, en la misma ubicación en que se quitaron los tornillos de fijación.
-
Coloque la parte frontal de las guías dentro del armario, con la pestaña de la guía dentro de la pestaña del armario, y la etiqueta de la guía mirando hacia el interior del armario.
Las clavijas deben estar completamente encajadas en los orificios del rack.
-
Inserte y ajuste un tornillo en el orificio superior de las guías a través de la parte frontal del rack.
-
Ajuste la longitud de las guías para que encajen y ubique las clavijas de la parte posterior en los orificios correspondientes de la parte posterior del rack.
-
Inserte y ajuste un tornillo en la parte posterior de las guías de las guías a través de la parte trasera del rack.
-
Con la ayuda de un dispositivo de elevación mecánico o de dos personas, una en cada lado del estante de discos, levante con cuidado el estante y apóyelo en el reborde inferior de las guías izquierda y derecha. No lo levante con las manillas de la fuente de alimentación con módulo de ventiladores.
-
Deslice cuidadosamente el estante en las guías hasta que esté firmemente encajado dentro del armario. El observador debe utilizar una linterna para asegurarse de que el estante esté completamente encajado en las guías. Si desea retirar el estante para volver a colocarlo, sosténgalo en todo momento.
-
Instale un tornillo de interconexión largo en cada guía para fijar la parte trasera del estante a la parte posterior del rack. Si no se puede insertar el tornillo, es posible que el estante no esté completamente encajado en las guías.
-
Quite los topes de los laterales de la parte delantera, instale un tornillo en cada lateral y vuelva a colocar los topes.