DE2-24P ディスクシェルフの設置
キャビネット内の垂直方向スペースの 2 つの標準マウントラックユニット (2RU)、または 6 個のラックの穴を必要とする Oracle Storage Drive Enclosure DE2-24P を取り付けるには、次の手順を使用します。
始める前に
-
設置の前提条件および ディスクシェルフの概要を確認します。
-
キャビネットの転倒を防ぐために、もっとも重い装置であるディスクシェルフの積載を、常にキャビネットの下部から開始します。
-
現在および将来において、ディスクシェルフをコントローラに配線するための最適な準備は、コントローラをキャビネットの中央にマウントすることです。
-
M6 サイズのねじ穴付きのキャビネットに設置するためのねじは提供されていません。
 | 注意 -
この手順には、シャーシの重さのため最低 2 人またはリフティング用機械が必要です。この手順を 1 人で実行すると、機器が損傷したり、けがをする可能性があります。電源装置のハンドルを使用してシャーシを持ち上げないでください。
|
-
ラックの下からすべての転倒防止デバイスおよび安定デバイスを引き出します。
-
適切なラックユニット (RU) の高さを決定します。高さはキャビネットの下からラック穴 6 個分です。使用するラックがねじなしの汎用の 19 インチキャビネットまたは Sun Rack II キャビネットである場合:
-
前面のレール位置杭をラック前面の適切な穴の内側に完全に押し込みます。
レールの縁をキャビネットの縁の内側に合わせ、レールのラベルがキャビネット内側に向くようにしてください。
-
ねじ 1 個をラックの前面からレールのいちばん上の穴に通して締めます。
-
レールの長さを調整し、後面のレール位置杭を対応するラック背面の穴に押し込みます。
-
ねじ 1 個をラックの背面からレールの後側に通して締めます。
-
使用するラックがねじ式の汎用の 19 インチキャビネットである場合:
-
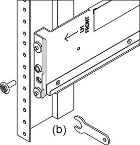
T20 Torx ドライバを使用して、レールの前面および後面からレール位置杭を取り外します。
-
付属のレンチを使用して、2 つのピンをレールの両端の位置杭が付いていた場所に挿入します。
-
レールの縁をキャビネットの縁の内側に合わせ、レールのラベルをキャビネット内側に向けて、キャビネット内でレールの前側の位置を決めます。
ピンがラックの穴に完全に収まるようにしてください。
-
ねじ 1 個をラックの前面からレールのいちばん上の穴に通して締めます。
-
レールの長さを調整し、後面のピンを対応するラック背面の穴に押し込みます。
-
ねじ 1 個をラックの背面からレールの後側に通して締めます。
-
リフティング用機械を使用するか、2 人の作業員をディスクシェルフの両側に配置し、シェルフを慎重に持ち上げて、左右のレールの下部にある突起に乗せます。ファンモジュール付き電源装置のハンドルを使用して持ち上げないでください。
-
シェルフがキャビネット内に完全に固定されるまで、注意深くレール内にスライドさせて押し込みます。確認役の人は、フラッシュライトを使ってシェルフがレール内に完全に固定されたことを確認してください。シェルフを固定し直す場合は、いつでもシェルフを持ち上げるようにして動かします。
-
長い固定用当て部付きのねじをレールごとに 1 つ取り付けて、シェルフの背面をラックの背面に固定します。ねじを挿入できない場合、シェルフがレール内に完全に固定されていない可能性があります。
-
前面のキャップを取り外し、ねじを 1 個ずつ前面に取り付けて、キャップを元どおりに取り付けます。