Go to main content

SPARC M7 시리즈 서버 설치 설명서

인쇄 보기 종료

업데이트 날짜: 2016년 10월
 
 

설치 및 서비스 영역 치수

서버를 설치하기 전 서버 설치 및 서비스를 위해 충분한 공간을 제공하는 서비스 영역을 준비합니다.


Caution

주의  -  서버에 대해 다음과 같은 서비스 영역을 제공해야 합니다. 이보다 작은 서비스 영역에서는 서버를 작동하지 마십시오.


다음 그림에서 서버 전면은 왼쪽이고 서버 후면은 오른쪽입니다.

image:설치 및 서비스 영역 치수를 보여주는 그림입니다.
번호
인치
미터
1
86.8인치
2204mm
2
25.1인치
638mm
3
43.78인치
1112mm
4
23.2인치
590mm
5
36인치
914mm

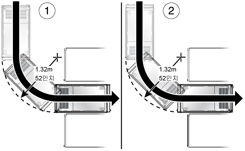
서버를 회전할 때는 설치 현장의 전면 및 후면에서 최소 복도 너비 외에도 일시적으로 추가 공간을 준비합니다. 서버를 회전하려면 최소 1.32m(52인치)의 공간이 필요합니다.

image:랙의 회전 반경을 보여주는 그림입니다.
번호
설명
1
설치 현장에서 서버 전면이 앞으로 오도록 서버를 회전합니다.
2
설치 현장에서 서버 전면이 뒤로 오도록 서버를 회전합니다.

관련 정보